| Скачать .docx |
Реферат: Технічне обслуговування екскаваторів ЭО-5123
Тема: Технічне обслуговування екскаваторів ЭО-5123
Зміст
1. Призначення та технічні характеристики
2. Загальна будова
3. Технічне обслуговування
Перелік використаної літератури
1. Призначення та технічні характеристики
Гідравлічні екскаватори мають конструктивні, технологічні й економічні переваги в порівнянні з екскаваторами з механічним приводом. Конструктивні й технологічні переваги визначаються головним чином застосуванням гідравлічного об'ємного привода для передачі потужності від двигуна робочим механізмам машини.
Гідравлічний привід дозволяє реалізувати більші передаточні числа від провідної ланки джерела енергії до робочих механізмів і органів машини без застосування громіздких і складних по кінематиці пристроїв; спрощується кінематика робочого устаткування за рахунок виключення канатних передач, що значно розширює номенклатуру робочого устаткування (телескопічне устаткування, напірний грейфер, розпушувач, планувальник, різноманітні захвати, кранове устаткування для монтажних робіт і ін). Розташування робочих механізмів не залежить від силової установки, що обумовлює можливість їхнього найкращого компонування.
Гідропривід також дозволяє застосувати автоматичне й напівавтоматичне керування, що поліпшує умови праці машиніста й підвищує якість виконуваних робіт; уніфікувати й нормалізувати конструкцію складальних одиниць і елементів гідроприводу для машин різних типорозмірів, обмеживши їхню номенклатуру; майже повністю виключити із силових передач фрикційні муфти й гальма (використовувані при механічній трансмісії), які піддаються інтенсивному зношуванню, а також істотно зменшити число точок змащування, а значить скоротити час на технічне обслуговування машин.
Одноковшові екскаватори ЭО-5123 (Рис.1.1, а, табл.1) і ЭО-6122 (Рис.1.1, б ) і їхніх модифікацій ставляться до універсальних будівельних екскаваторів 5-ї і 6-ї розмірних груп з багатомоторним гідравлічним приводом. Вони призначені для розробки ґрунтів I-IV категорій (ДЕРЖСТАНДАРТ 17343-83) або I-IV груп по труднощам розробки, а також для навантаження дроблених скельних порід зі шматками розміром до 1/3 ширини ковша.
Експлуатація екскаваторів можлива при температурі від +40 до - 40°С. Екскаватори ЭО-5123 випускають також у північному кліматичному виконанні для роботи при температурі до - 60°С. Обидва типи машин оснащені більшим набором змінного робочого устаткування й робочих органів.
Таблиця 1. Технічна характеристика екскаваторів ЭО-512
Дизель: марка ………………………………………………… ЯМЗ-238Г
потужність, кВт ……………………………………………….125
Найбільша швидкість пересування, км/год………………….2,2
Найбільший кут підйому, град……………………….……....20
| Показники | Моделі | |||
| ЭО-5123 | ЭО-5123-2 | ЭО-5123-3 | ЭО-5123ХЛ | |
Експлуатаційна маса з обладнанням зворотньої лопати, т Питомий тиск на грунт, МПа. Мінімальна дія. Робочого цикла зворотньої лопати, с |
37,0 0,081 25 |
38,2 0,084 25 |
39,0 0,098 26 |
38,9 0,098 26 |
Місткість ковшів зворотньої лопати, м3 Максимальна продуктивність зворотньої лопати з ковшами різної ємності м3 /г Змінне робоче обладнання |
1,25 180; 230; 288 Зворотня лопата з моноблочною та уніфікованою стрілами, пряма лопата, навантажувальне, грейфер, гідромолот, розпушувач, захватно-клещеве |
1,6; 2,0 180; 230; 288 Зворотня лопата з моноблочною стрілою, розпушувач |
1,0; 1,2; 1,6; (Драглайн) 138; 166; 222 Драглайн, кран, копрове обладнання |
1,0; 1,25; 1,6; 138; 173; 222 Зворотня лопата з моноблочною та уніфікованою стрілами, пряма лопата, навантажувальне, грейфер, розпушувач |
Екскаватор ЭО-5123-3 призначений для роботи зі змінними видами робочого устаткування, що мають гнучку (на канатах) підвіску. Крім устаткування драглайна, крана й копра передбачається освоїти виробництво экскаваційного й перевантажувального грейферів, зворотньої лопати з поворотним ковшем і навісним устаткуванням до ґратчастої стріли для ущільнення земляних поверхонь.
На гідравлічних екскаваторах одночасно зі зміною ємності ковша того або іншого виду робочого устаткування часто змінюються й робочі розміри, у першу чергу найбільші глибина, радіус і висота копання (табл.2-6).


Рис.1.1 Екскаватор ЭО-5123 з устаткуванням зворотньої лопати (а) і екскаватор ЭО-6122А с устаткуванням прямої лопати (б)
1 - поворотна платформа з механізмами й робочим обладнанням,
2 - гусеничний візок, 3 - противага, 4 - капоти, 5 - кабіна, 6 - стріла, 7, 8, 11 - гідроциліндри рукояті, ковша й стріли, 9 - рукоять, 10 - ковш

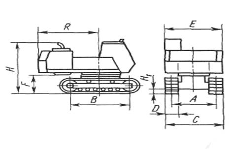
Таблиця 2. Розміри екскаваторів ЭО-5123 і ЭО-6122А без робочого устаткування
| Показники | Позначення на ескізі | ЭО-5123 | ЭО-6122А |
Колія екскаваторів, м База екскаватора, м Ширина, м: гусеничного хода гусеничної стрічки поворотної платформи Просвіт під поворотною платформою Висота випускної труби дизеля, м Просвіт під ходовою рамою (клиренс), м Радіус описаний хвостовою частиною поворотної платформи, м Експлуатаційна маса, т |
А В С D E F H H1 R |
2,51 3,12 3,14 0,63 3,0 1,084 2,835 0,46 3,25 30,3 |
2,9 3,7 3,6 0,7 3,18 1,26 0,44 3,8 58,1 |

Таблиця 3. Робочі розміри екскаваторів ЭО-5123 і ЭО-6122А з устаткуванням зворотної лопати
| Показники | Позначення на ескізі | ЭО-5123 | ЭО-6122А | ||||
Місткість ковша, м |
1,25 | 1,6 | 2,0 | 1,6 | 2,5 | 3,2 | |
Найбільші: Кінематична глибина копання, м Радіус копання на рівні стоянки, м Висота розвантаження в транспорт Радіус, м, розвантаження у транспорт при висоті розвантаження, м: 3,6 4,3 Дія робочого циклу при роботі у відвал з поворотом на 900 та середніх параметрах забою на грунтах ІІІ категорії, с Експлуатаційна маса, т |
Hк R к. с Hв Rв |
7,7 11,2 5,7 9,4 27 37,2 |
6,9 10,4 5,5 8,6 26 37….37,8 |
8,4 12,4 6,7 10,12 58,4 |
6,9 10,9 6,1 8,55 |
||
29 59,1 |
60,5 |
||||||

Таблиця 4. Робочі розміри екскаваторів ЭО-5123 і ЭО-6122А с устаткуванням прямого копання
| Показники | Позначення на ескізі | ЭО-5123 | ЭО-6122А | ||||
Місткість ковша, м3 Прямої лопати Завантажувача Найбільші: |
2,0 |
2,5 |
- 2,8 |
3,0 |
3,6 |
- 5,0 |
|
| Кінематична висота копання, м | Hк | 9,65 | 9,65 | 9,65 | 10,7 | 10,7 | 10,65 |
| Радіус копання на рівні стоянки, м | R к. с |
8,93 |
- | 8,7 | 10,2 | - | 9,8 |
| Висота розвантаження, м | Hв | 5,1 | 5,1 | 5,1 | 5,3 | - | 5,5 |
| Довжина плануючого майданчика завантажувачем на рівні стоянки, м | L |
- | 4,0 | - | - | - | 4,0 |
| Дія робочого циклу при роботі у відвал з поворотом на 900 , с | 20 | - | 25 | 23 | - | 28 | |
| Експлуатаційна маса, т | - | 37,1 | 0 | 36,9 | 58,1 | 58,3 | 58,5 |
2. Загальна будова
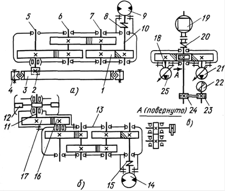
Екскаватори ЭО-5123 і ЭО-6122А складаються із трьох основних частин: поворотної платформи з механізмами, робочого устаткування й ходового пристрою. На поворотних платформах розміщені силові установки, гідрообладнання (Рис.2.1), механізми повороту, кабіни машиністів, гідросистеми керування, допоміжне устаткування (баки, радіатори, трубопроводи й ін), противаги.
Гідрообладнання екскаватора ЭО-5123 складається з гідробака 7 (Рис.1.2, а), двох аксиально-поршневих насосів 9, реверсивних аксиально-поршневих гідромоторів (один для повороту платформи, два для пересування екскаватора), гідроциліндрів (по два для повороту стріли й рукояті й один для повороту ковша), гідророзподільників (1 і 3 для керування гідромоторами, гідроциліндрами й 5 регулюючий), центрального колектора 4, бака 6 фільтрів, оливоохолоджувача 8, трубопроводів і системи гідрокерування, що забезпечує необхідне функціонування силового гідрообладнання.
Механізми пересування екскаватора й повороту платформи, а також насоси силової установки приводяться через окремі редуктори із циліндричними зубчастими передачами.
В екскаваторів ЭО-5123 механізм повороту (Рис.2.2, а) приводиться від низькомоментного гідромотора 9, що через муфту 8 з'єднаний із ведучим валом 10 триступінчастого редуктора. Жорстко закріплені на валах 5-7, 10 шестерні редуктора передають обертання вихідному валу 5 і потім шестерні 2, також жорстко закріпленої на консольній частині вала 5. При обертанні шестірня 2 оббігає зубчастий вінець 3 опорно-поворотні кола 4, завдяки чому платформа повертається щодо ходового візка екскаватора.
Напрямок обертання вихідного вала гідромотора 9 залежить від того, у який канал гідромотора подається під тиском робоча рідина. При цьому відбувається обертання платформи за годинниковою або проти годинникової стрілки на необмежений кут.


Рис. 2.1 Розміщення складальних одиниць на поворотній платформі екскаваторів ЭО-5123 (а) і ЭО-6122А (б)
1,3,5 - гідророзподільники, 2 - гідромотор механізма повороту, 4 - центральний колектор, 6 - бак фільтрів, 7 - гідробак, 8 - оливоохолоджувач, 9 - насоси, 10 - противага, 11-дизель, 12-поворотна платформа, 13 - електродвигуни силової установки, 14 - трубопроводи, 15 - носос системи керування, 16-гідроциліндр стріли, 17 - установка радіатора

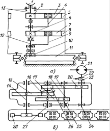
Рис.2.2 Кинематична схема привода механизмів зкскаватора ЭО-5123
а - механизму повороту, б - механизму пересування, в - насосів силової установки; 1 - редуктор механизму повороту, 2 - шестерня, 3 - зубчастий венець, 4 - опорно-поворотне коло, 5-7, 10 - вали редуктора, 8, 15,20 - з’єднувальні муфти редуктора, 9 - гідромотор механизму поворота, 11 - вал ведучого колеса гусеничної стрічки, 12 - ведуче колесо, 13 - редуктор механизму пересування, 14 - гидромотор механизму пересування, 16, 17 - шестерня бортової передачи, 18 - раздатковий редуктор,19 - дизель, 21, 25 - насоси силової установки, 22 - вентилятор оливоохолоджувача, 23, 24 - шківи клинопасової передачі.
Кожна гусенична стрічка механізму пересування приводиться від окремого низькомоментного гідромотора 14 ( Рис.2.2 б), з'єднаного через муфту 15 з ведучим валом триступінчастого редуктора 13. Через шестерні й вали редуктора обертання передається бортовій передачі, що складається із двох шестерень 16 і 17, і далі валу 11 на ведуче колесо 12 привода гусеничної стрічки. Гальмування ходового візка під час роботи або стоянки здійснюється як гідромоторами механізму пересування, так і двома нормально замкнутими гальмами дискового типу. Для розвороту екскаватора включають або один з гідромоторів механізму пересування, або обидва гідромотори, але в різні сторони.
Привод насосів 21 і 25 ( Рис.2.2, в) силові установки, а також вентилятора 22 оливоохолоджувача виробляється від дизеля 19 через сполучну муфту 20 і роздавальний редуктор 18, а також через клинопасову передачу 24 -23.

Рис.2.3 Кінематична схема привода механізмів екскаватора ЭО-6122А
а - механізму повороту, б - механізму пересування;
1 - гідромотор механізму повороту, 2, 3, 5 -8 - шестерні редуктора механізму повороту, 4, 9, 12, 13 - вали редуктора механізму повороту, 10 - шестірня,
11 - зубчастий вінець, 14, 24, 25, 27 - вали редуктора механізму пересування,
15 -20 - шестерні редуктора механізму пересування, 21 - гідромотор механізму пересування, 22 - гальмо, 23 - сполучна муфта, 26 - шестірня із крильчаткою,
28 - ведуче колесо.
Елементи робочого устаткування (стріла, рукоять і ковш прямої й зворотньої лопат) приводяться за допомогою гідроциліндрів. Керують всіма механізмами екскаватора з кабіни машиніста за допомогою сервокерування. У екскаватора ЭО-6122А (Рис.2.3) механізм повороту приводиться від низькомоментного гідромотора 1 через планетарний двоступінчастий редуктор із шестірнями 2, 3, 5 -8 і валами 13, 4, 9, 12, що опираються на підшипники кочення. Шестірня 10 перебуває в постійному зачепленні із зубчастим вінцем 11 опорно-поворотного кола. При включенні гідромотора 1 обертання шестерень і валів редуктора передається шестерні 10, а через неї - поворотній платформі (поворот у ту або іншу сторону).
Приводи гусеничної стрічки екскаваторів ЭО-6122А и ЭО-5123 аналогічні. Від низькомоментного гідромотора 21, з'єднаного через муфту 23 із ведучим валом 24 редуктора механізму пересування, обертання через три пари шестерень 15 -20 і вали 24, 25, 27 і 14 передається ведучому колесу 28 привода гусеничної стрічки.
Гальмують ходовий візок як за допомогою гідромоторів механізму пересування, так і двома нормально замкнутими гальмами 22 колодкового типу.
Для змащування деталей редуктора механізму пересування на валу 27 вільно встановлена шестірня 26 із крильчаткою, при обертанні вона розприскує оливу, залиту в корпус редуктора. [5].
3. Технічне обслуговування
Надійну роботу екскаватора, а також тривалий строк його служби забезпечують своєчасним проведенням технічного обслуговування. Основним його призначенням є зниження інтенсивності зношування деталей, виявлення й попередження відмов і ушкоджень шляхом своєчасного виконання мастильних, кріпильних, регулювальних і інших робіт.
Роботи з технічного обслуговування є профілактичними, тому їх варто виконувати в суворо встановлені інструкцією для експлуатації строки.
Строки технічного обслуговування відповідно до зазначеної періодичності визначають за показниками лічильника мотогодин двигуна.
Система технічного обслуговування заснована на обов'язковому плануванні, підготовці й проведенні відповідних видів технічного обслуговування кожної машини, що перебуває в експлуатації, із заданою послідовністю й періодичністю.
Експлуатація екскаватора, що не пройшов технічне обслуговування у встановлений термін, не допускається.
При технічному обслуговуванні екскаватора керуються технічним описом і інструкцією для експлуатації екскаватора, інструкцією для експлуатації двигуна й інструкціями (паспортами) на складальні одиниці, що поставляються до екскаватора із заводів-виготовлювачів.
При проведенні технічного обслуговування охороняють гідросистему від забруднення.
Щозмінне технічне обслуговування (ЩО) виконують регулярно перед початком зміни, під час перерв або по закінченні роботи екскаватора.
Періодичні технічні обслуговування виконують після встановленого числа мотогодин роботи екскаватора, вони розрізняються обсягом і составом робіт. Перше технічне обслуговування (ТО-1) проводять через кожні 50 мото-г роботи екскаваторів, ТО-2 - через кожні 250 мото-г.
Два рази в рік, при підготовці екскаваторів до експлуатації в зимових і літніх умовах, проводять сезонне технічне обслуговування, що пристосовують до ТО-2 або ТО-1.
Як правило, технічні обслуговування проводять без розбирання складальних одиниць і заміни деталей. Скорочення обсягу обов'язкового технічного обслуговування для виробництва ремонтних і інших робіт не допускається.
ЩО й ТО-1 проводять, як правило, безпосередньо на місці експлуатації машини, використовуючи пересувні засоби, які повинні бути укомплектовані відповідним технологічним устаткуванням і оснащенням, ТО-2 - у закритому приміщенні або в інших умовах, що забезпечують захист місць, що обслуговуються, від запилювання й атмосферних опадів.
Перед проведенням технічного обслуговування місця, що підлягають обслуговуванню, очищають від бруду.
Состав робіт, що підлягають виконанню при технічному обслуговуванні, виявляється при огляді екскаватора й коректується з урахуванням умов роботи (температури, вологості повітря, категорії ґрунту, запилюваності).
Паливну апаратуру двигуна й запобіжні клапани гідроприводу регулюють кваліфіковані фахівці, при цьому використовують засоби технологічного оснащення. Результати регулювання із вказівкою дати й підпису відповідальних осіб заносять відповідно у формуляр двигуна й формуляр екскаватора.
Не рекомендується:
працювати на екскаваторі при виявленні яких-небудь несправностей;
до витікання гарантійного строку розкривати пломби запобіжних клапанів, насосів і іншого встаткування без представника заводу-виготовлювача.
До складу робіт з технічного обслуговування екскаватора входять: очищення, мийка й змазування; огляд і контроль технічного стану складальних одиниць; заправлення машини; перевірка працездатності окремих складальних одиниць, систем, робітника встаткування й машини в цілому.
ЩО.1 . Протирають стекла, прилади освітлення й сигналізації й при необхідності очищають екскаватор від бруду. При цьому штоки гідроциліндрів повинні бути всунуті, ківш опущений, а двигун заглушений.
Для очищення від бруду елементів гусеничної стрічки виконують наступне:
установлюють робоче встаткування поперек гусеничного ходу;
ківш обпирається на ґрунт на рівні стоянки (при слабкому ґрунті ківш установлюють на тверду подкладку);
включають гідроциліндри стріли на опускання в насосному режимі до відриву найближчої до робочого встаткування гусениці від ґрунту на 200-300 мм;
включають рукоятку привода ходу вивішеної (піднятої) гусениці й провертають її в реверсивному режимі 3-5 разів.
Перевіряють комплектність складових частин екскаваторів.
Перевіряють герметичність системи живлення, мастильної й охолодження дизеля, картерів редукторів, гідросистем екскаваторів. Течі не допускаються. При необхідності усувають виявлені підтікання палива, води, оливи, робочої рідини. Перед початком роботи з гідронасосів випускають повітря.
Виконують операції ЩО дизеля відповідно до інструкції.
Перевіряють рівень робочої рідини в гідробаку (повинен бути не нижче 2 /з оглядові стекла) і, при необхідності дозаправляють його насосом накачування.
Відповідно до карти змащення змазують елементи робочого встаткування.
По закінченні робочої зміни відключають "масу" акумуляторної батареї й зливають воду із системи охолодження дизеля при температурі охолодного повітря нижче + 5°C.
Протягом першого місяця роботи на новому екскаваторі щозмінно підтягують болти кріплення опорно-поворотного кола платформи й ходової рами.
ТО-1.1 Очищають і при необхідності миють екскаватор.
Виконують ЩО.
Проводять ТО-1 дизеля відповідно до інструкції.
Перевіряють технічний стан складальних одиниць екскаватора і їхнє зовнішнє кріплення:
при виявленні вм'ятин і здуття трубопроводи негайно заміняють;
кріпильні з'єднання повинні бути надійно застопорені й не мати люфтів;
особливу увагу обертають на кріплення силової установки, гідромоторів, редукторів механізму пересування, гідронасосів, трубопроводів. При необхідності підтягують деталі кріплення.
Перевіряють стан і натяг паса вентилятора оливоохолоджувача. При необхідності регулюють натяг паса, прогин якого повинен перебувати в межах 8-8,5 мм за умови натискання на середину галузі із зусиллям 43 Н для нового паса й 32 Н для приробленого.
Перевіряють і, якщо потрібно, підтягують кріплення опорно-поворотного кола до платформи й ходової рами. Момент затягування болтів динамометричним ключем повинен бути не менш 800 і не більше 850 Нм.
Перевіряють натяг гусеничної стрічки, провисання якої між підтримуючими котками повинне бути 50-60 мм.
Перевіряють стан затискачів, вентиляційних отворів, пробок, рівень електроліту в акумуляторній батареї (висота електроліту над захисними ґратами повинна бути 10-15 мм). При необхідності очищають поверхню батареї й виводи, що окислилися, і наконечники проводів від пилу й бруду. Поверхню батареї протирають чистою ганчіркою, змоченою в 10% -ному розчині водяного розчину аміаку або соди. Змазують затискачі й наконечники технічним вазеліном, очищають вентиляційні отвори, доливають дистильовану воду.
У холодну пору року щоб уникнути замерзання воду наливають безпосередньо перед запуском двигуна для швидкого перемішування її з електролітом.
Змазують механізми екскаватора відповідно до таблиці й картою змащення. Опорно-поворотний пристрій змащують шприцюванням через чотири прес-маслянки до появи змащення між напівобоймами й вінцем по всьому периметрі. Кількість змащення, що подається у внутрішню порожнину опори, повинне бути не менш 1,2 кг.
Перевіряють рівень оливи в редукторах механізмів повороту, пересування, роздавальному редукторі й при необхідності доливають оливу. Рівень оливи повинен доходити до контрольних пробок, у редукторі повороту - його перевіряють по щупу.
Перевіряють фіксацію пальців гусеничних стрічок, кріплення осей опорних і підтримуючих котків і інших елементів гусеничного ходу.
Перевіряють механізми керування муфтою й частоту обертання вала двигуна й при необхідності регулюють їх.
Перевіряють кріплення зубів ковша, при необхідності закріплюють їх.
Перевіряють стопоріння осей робочого встаткування й затягування кріплення вушок гідроциліндрів.
Перевіряють, чи немає підтікання охолодної рідини в з'єднаннях трубопроводів і шлангів пускового підігрівника й підсмоктування повітря в паливну систему. З'єднання паливопроводів повинні бути герметичними, не допускається підсмоктування повітря в паливну систему підігрівника. Наявність підсмоктування повітря й течі в паливній системі підігрівника приведе до ненадійної роботи й довільної зупинки підігрівника.
Оглядають гайки й болти кріплення підігрівника й насосного агрегату й очищають всі прилади від пилу й бруду.
Перевіряють кріплення редуктора повороту до платформи. При ослабленні затягування болтів і клинів їх закріплюють.
Через кожні 100 мото-г беруть пробу 0,5-1 л робочої рідини з гідробака, при необхідності заміняють робочу рідину в гідросистемі.
Через 250 мото-г заміняють фільтруючі елементи в установці фільтрів гідросистеми.
ТО-2.1 Проводять ЩО, ТО-1 і ТО-2 дизеля відповідно до інструкції.
Очищають від пилу, бруду й миють екскаватор.
Знімають акумуляторну батарею, протирають і оглядають. Перевіряють щільність електроліту й ступінь розрядки елементів батареї. Якщо потрібно, батарею заряджають.
Перевіряють напругу на кожному елементі акумуляторної батареї протягом 5 с (повинне бути не нижче 1,7 В). Допускається різниця в напрузі елементів до 0,17 В
Перевіряють стан поворотної платформи й елементів конструкції гусеничного візка.
При необхідності центрують муфту дизеля й редуктора.
У редукторі механізму повороту відвертають зливальні й заправну пробки, зливають оливу, загортають зливальні пробки, заливають чисте дизельне паливо. Промивають корпус шестерень і підшипники редуктора механізму повороту. Заливають чисту оливу. Змащують нижній підшипник вихідного вала редуктора.
Заміняють через кожні 1000 мото-г олива в редукторах привода гусениць. Корпус і шестерні промивають при пересуванні екскаватора на щільній горизонтальній ділянці на відстань 50-100 м.
Перевіряють стан і роботу складових частин підігрівника. При необхідності очищають форсунки підігрівника, фільтри й форсунки електромагнітного клапана. Для цього відвертають паливну трубку, вивертають і розбирають форсунку, промивають фільтри, прочищають канали в камері згоряння й отвір розпилювача, продувають їхнім стисненим повітрям. Промивають деталі форсунки в бензині або ацетоні.
Перевіряють стан ріжучої кромки ковшів, при необхідності заміняють зуби або наплавляють їхнім зносостійким матеріалом.
Перевіряють стан стоянкових гальм і при необхідності регулюють їх. Для цього від'єднують і заглушають трубку гідророзмикачів. Упором ковша по черзі піднімають кожну гусеницю й короткочасно включають її. Ведуче колесо не повинно обертатися.
Через 1000 мото-г роботи екскаватора перевіряють настроювання клапанів гідророзподільників. Тиск настроювання клапанів повинен бути 23-24 Мпа для регулюючого гідророзподільника й 14,7-15,6 Мпа для гідророзподільника гідромоторів. При необхідності роблять регулювання.
СО. Операції сезонного технічного обслуговування виконують як додаткові роботи при черговому технічному обслуговуванні ТО-1 або ТО-2, що збігається за часом з перекладом машини на відповідний сезонний режим експлуатації:
1. Проводять ТО-1 або ТО-2 відповідно до графіка проведення технічного обслуговування.
2. Оглядають системи охолодження дизеля й гідроприводу. Виявлені несправності усувають. Течі не допускаються.
3. Промивають паливний бак дизеля.
4. Заміняють оливу в редукторах і картерах на відповідну сезону відповідно до карти змащення екскаватора. Оливу заміняють відповідно до рекомендацій ТО-2.
5. Перевіряють роботу підігрівника й проводять його технічне обслуговування відповідно до інструкції по експлуатації. При переході на літній період підігрівник демонтують і консервують.
6. Заміняють робочу рідину в гідросистемі на відповідну сезону.
7. Перевіряють справність акумуляторної батареї й доводять щільність електроліту в акумуляторній батареї до норми, що відповідає сезону.
8. Перевіряють роботу вентилятора кабіни при переході на літній режим експлуатації й роботу системи опалення кабіни при переході на зимовий режим. [5].
Перелік використаної літератури
1. Беркман И.Л. Одноковшовые строительные экскаваторы: Уч. для сред. ПТУ - 3 изд М.: Высш. шк., 1986. - 272 с.: ил
2. Лауш П.В. Техническое обслуживание и ремонт машин. - К.: Высшая школа, 1989. - 350с.
3. Полянський С.К. Будівельно-дорожні та вантажопідіймальні машини. - К.: Техніка, 2001. - 624с.
4. Раннев А.В. Одноковшовые гидравлические экскаваторы ЭО-5123 и ЭО-6122А