| Скачать .docx |
Реферат: Рельсовые цепи с изолирующими стыками
РЕЛЬСОВЫЕ ЦЕПИ С ИЗОЛИРУЮЩИМИ СТЫКАМИ
Содержание
1. Общие сведения. 3
2. Рельсовая цепь с путевыми реле ДСШ-2. 5
3. Разновидности рельсовых цепей с централизованным размещением аппаратуры.. 9
4. Регулировка. 15
5. Способы отыскания неисправностей. 18
1. Общие сведения
Для определения местонахождения поезда на линии ее делят стыками на изолированные участки. Каждый такой участок пути (до 500 м) оснащается рельсовой цепью. Длина изолированных участков колеблется в зависимости от требуемой пропускной способности участка. В этой связи на подходе к станции и на самой станции, где скорости движения и расстояние между поездами меньше, рельсовые цепи короче, чем на перегоне.
На линиях метрополитена в качестве сигнального тока для РЦ, ограниченных изолирующими стыками, используется ток промышленной частоты, т.е.50 Гц.
Задача по одновременному использованию рельсовой линии для пропуска сигнального тока РЦ и обратного тягового тока в условиях установки изолирующих стыков решена установкой путевых дросселей. Они устанавливаются попарно у изолирующих стыков, причем средние выводы обмоток соединены между собой, а крайние выводы подключаются к рельсам. Первый путевой дроссель подключается с одной стороны изолирующих стыков, а второй с другой.
Путевой дроссель представляет собой большую реактивную катушку с малым сопротивлением постоянному току и достаточно большим для переменного тока. Таким образом, снижаются потери при прохождении постоянного тягового тока через обмотку дросселя и уменьшается шунтирующее воздействие на РЦ.
В обобщенной схеме рельсовых цепей, разделенных изолирующими стыками, с подключенной системой энергоснабжения подвижного состава (рис.2.1) тяговый ток поступает от подстанции на контактный рельс, откуда через токосъемник вагонов попадает на тяговые двигатели поезда и вспомогательное оборудование. После этого тяговый ток протекает через колесные пары и рельсы вновь к подстанции. Цепь тягового тока становится замкнутой.
Обратный тяговый ток протекает по обеим нитям рельсовой линии, поэтому эти РЦ называются двухниточными.

Рис.2.1 Схема рельсовых цепей с подключенной системой электроснабжения подвижного состава 1 – контактный рельс; 2 – колесная пара; 3 – рельсовая нить; 4 – путевой дроссель.
Влияние смежных РЦ друг на друга исключается их взаимным изолированием стыками. Однако при неисправности изолирующего стыка возможно проникновение сигнального тока одной РЦ в другую и его воздействие на путевое реле смежной рельсовой цепи. Сигнальный ток, проникающий через неисправный (пробитый) изолирующий стык, может вызвать ложное возбуждение путевого реле смежной РЦ при нахождении на ней поезда.
Для исключения возможных опасных последствий отказа сигнальные токи смежных рельсовых цепей должны отличаться друг от друга по фазе на угол 180°, тогда проникающий сигнальный ток в смежную занятую рельсовую цепь не приводит к ложному возбуждению путевого реле. Кроме того, при пробое изолирующих стыков происходит взаимное вычитание токов и, как следствие, обесточивание хотя бы одного путевого реле смежных РЦ.
2. Рельсовая цепь с путевыми реле ДСШ-2
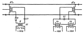
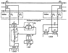
Подключение аппаратуры питающего и релейного концов к рельсовой линии осуществляется с помощью дроссель-трансформаторов ДТМ-0,17 (рис.2.6). Аппаратура размещается в релейном шкафу и кабелем подключается к дополнительной обмотке дроссель-трансформатора.

Рис.2.6 Схема рельсовой цепи с путевыми реле ДСШ-2.
Питание рельсовой цепи осуществляется от сетевых проводов через питающий трансформатор СОБС-3А. В цепь вторичной обмотки трансформатора ПТ включен конденсатор С1, который выполняет роль емкостного ограничителя сигнального тока РЦ и создает последовательный резонанс напряжений на элементах контура питающего конца. Кроме того, он обеспечивает требуемое фазовое соотношение на обмотках путевых реле.
Конденсатор С2 на релейном конце создает необходимые фазовые соотношения, а также обеспечивает требуемое по условиям шунтового режима сопротивление приемного (релейного) конца. Реле ДСШ-2, разработанные специально для линий метрополитена, обладают низкой чувствительностью и поэтому устойчиво работают в условиях больших тяговых токов.
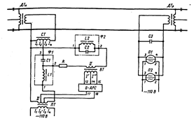
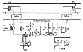
Схема подключения передающей аппаратуры АРС для подачи кодовых сигналов АРС в рельсовую линию с питающего конца РЦ приведена на рис.2.7

Рис.2.7 Схема рельсовой цепи с путевыми реле ДСШ-2 с наложением сигналов АРС на питающем конце.
Питающий конец рельсовой цепи в этом случае имеет два параллельно включенных источника: сеть переменного тока промышленной частоты 50 Гц для работы путевых реле и генератор частот АРС типа ГАЛСМ-66. Для уменьшения взаимного влияния источников сигналов РЦ и АРС в цепь контура питающего конца рельсовой цепи введен дроссель (реактор) L1, имеющий большое сопротивление для высокой частоты кодового сигнала АРС. В цепь выходного контура генератора сигналов АРС введен режекторный фильтр L2C2, настроенный на частоту 50 Гц. Этот фильтр имеет большое Сопротивление на резонансной частоте 50 Гц и ограничивает утечку сигнального тока РЦ.
В качестве питающего трансформатора рельсовой цепи используется трансформатор ПОБС-5А. Для обеспечения нормативного сопротивления питающего конца РЦ и необходимого фазового соотношения в обмотках путевых реле в контур питающего конца введен согласующий трансформатор ПОБС-2А. Он включается по схеме автотрансформатора с коэффициентом трансформации 2, при этом используется только первичная обмотка.
Так как контур питающего конца рельсовой цепи должен быть настроен в последовательный резонанс напряжений на частоте 50 Гц, то введение дополнительного дросселя L1 (РОБС-ЗА) и согласующего трансформатора в цепь контура ведет к изменению емкости трансформатора С1 до 30 мкФ.
Параллельное включение путевых обмоток реле ДСШ-2 связано с необходимостью уменьшить вибрацию секторов реле от воздействия сигнального тока АРС и, прежде всего, частотой 75 Гц. В некоторых случаях для защиты путевых обмоток реле в цепь приемного конца РЦ устанавливается фильтр-”пробка”, настроенный на частоту 75 Гц и имеющий на этой частоте высокое сопротивление.
На рельсовых цепях, где предусматривается двухстороннее движение поездов (станционные пути, оборотные тупики и т.п.), используются схемы с наложением сигналов АРС с обоих концов (рис.2.8, 2.9).
В зависимости от состояния реле направления РН кодирование осуществляется с релейного или питающего конца рельсовой цепи.

Рис.2.8 Схема рельсовой цепи с путевыми реле ДСШ-2 при двухстороннем кодировании и параллельном подключении аппаратуры АРС на релейном конце.

Рис.2.9 Схема рельсовой цепи с путевыми реле ДСШ-2 при двухстороннем кодировании и последовательном подключении аппаратуры АРС на релейном конце.
Подключение генератора частот АРС к приемному концу осуществляется через компенсирующий конденсатор С4 (см. рис.2.8) и согласующий трансформатор СТ2 (ПОБС-5А или ПОБС-2А). Емкость компенсирующего конденсатора выбирается исходя из требования частичной настройки релейного конца рельсовой цепи в резонанс на частотах АРС.
Выходной контур путевого генератора частот АРС включается параллельно путевым обмоткам реле ДСШ-2. Согласующий трансформатор СТ2 уменьшает степень шунтирования путевых реле, поскольку позволяет повысить сопротивление контура генератора АРС в п2 раз (где п - коэффициент трансформации, равный 2) на частоте 50 Гц. Переменные резисторы R1 и R2 дают возможность регулировать сигнальный ток АРС в зависимости от длины РЦ.
Особенностью схемы рельсовой цепи (рис.2.8) является также включение параллельно обмоткам путевых реле последовательного контура. Параметры контура выбраны таким образом, чтобы на частоте 50 Гц его сопротивление было бы эквивалентно сопротивлению конденсатора емкостью 16 мкФ. При этом сохраняются идеальные фазовые соотношения в обмотках реле. В то же время этот контур на повышенных частотах АРС при кодировании с релейного конца имеет высокое сопротивление и не шунтирует сигнальный ток АРС, как это имело бы место в случае использования конденсатора 16 мкФ.
Особенностью схемы, приведенной на рис.2.9, является не параллельное, а последовательное по отношению к обмоткам путевых реле подключение выходного контура путевого генератора частот АРС. В этом случае не требуется установки специального контура, а используется существующий конденсатор С3 приемного конца рельсовой цепи, функцией которого становится также пропуск сигнального тока АРС.
Для организации последовательного подключения выходного контура путевого генератора АРС используется дополнительный дроссель (реактор) L3 типа РОБС-ЗА, сопротивление которого на частотах АРС значительно, что и обуславливает поступление сигнального тока АРС в рельсовую цепь.
3. Разновидности рельсовых цепей с централизованным размещением аппаратуры
В устройствах автоблокировки и АРС, построенных до 70-х годов, аппаратура размещалась в шкафах, которые устанавливались у светофоров и в разрезных точках тоннеля. Совершенствование систем интервального регулирования, проводившееся для увеличения пропускной способности, повышения безопасности движения поездов метрополитена и надежности работы устройств, осуществлялось внедрением целого комплекса технических решений, в том числе сокращением длины РЦ (до 37,5 м). Это значительно увеличило количество аппаратуры и оборудования, приходящееся на 1 км пути. На линиях с высокой интенсивностью движения, особенно в зоне станций, тоннели достаточно плотно заполняли конструкциями и оборудованием СЦБ.
Рассредоточение аппаратуры и оборудования вдоль тоннеля имеет ряд негативных особенностей, оказывающих влияние на качество строительства и эксплуатационного обслуживания устройств. Ограничивается возможность применения индустриальных методов, что увеличивает сроки монтажа устройств при строительстве новых линий метрополитена и особенно сдерживает темпы реконструкции на действующих линиях, когда работы выполняют лишь только во время непродолжительного ночного технологического окна. Кроме того, затрудняется использование средств резервирования и телемеханического контроля за работой устройств. В условиях ограниченных размеров тоннеля и высокой интенсивности движения снижается оперативность устранения неисправностей.
Для устранения указанных недостатков была создана централизованная система интервального регулирования движения поездов метрополитена которая предусматривает вынос аппаратуры из тоннеля и ее централизованное размещение на станции. Сосредоточение аппаратуры на станции позволяет применять более прогрессивные и экономичные методы строительства и обслуживания устройств, решить ряд технических, экономических и социальных задач.
При проектировании строящихся линий метрополитена и реконструкции действующих линий во всех случаях применяется централизованное размещение аппаратуры.
Для улучшения технического обслуживания в каждом релейном помещении устанавливается контрольное табло, предназначенное для электромехаников СЦБ. На табло установлены сигнальные лампы, индицирующие состояние рельсовых цепей, огней светофоров, линейных реле автоблокировки и различных контрольных реле, что значительно облегчает и сокращает время обнаружения неисправности в устройствах СЦБ.
Сосредоточение аппаратуры на станциях облегчает эксплуатационное обслуживание устройств, сокращает время пребывания обслуживающего персонала в тоннеле во время движения поездов.
Для контроля рельсовой линии при централизованном размещении аппаратуры было разработано несколько типов рельсовых цепей. Пропуск тягового тока в обход изолирующих стыков для всех типов РЦ с централизованным размещением аппаратуры выполнен с помощью дроссель-трансформаторов ДТМ-0,17. Дроссель-трансформаторы устанавливаются на питающем и релейном концах, а аппаратура РЦ подключается к дополнительной обмотке кабельной линией.
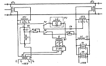
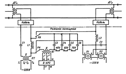
В схеме РЦ с централизованным размещением аппаратуры и путевыми приемниками типа ДСШ-2 (рис.2.10) кабельная линия представлена в виде резисторов R*кп и R**кп на питающем конце и R*кр R**кр на релейном.

Рис.2.10 Схема рельсовой цепи при централизованном размещении аппаратуры.
Рельсовая цепь получает питание от трансформатора ПТ типа ПОБС-5А. На его первичную обмотку подается напряжение 220 В. В цепь вторичной обмотки включены дроссель L1 и конденсатор С1. Дроссель L1 типа РОБС-3А уменьшает степень утечки токов АРС через обмотку питающего трансформатора, а конденсатор С1 емкостью 30 мкФ обеспечивает настройку питающего конца в резонанс на частоте 50 Гц.
Для обеспечения требуемого сопротивления питающего конца применен согласующий трансформатор СТ типа ПОБС-2А, включаемый в цепь первичной обмоткой по схеме автотрансформатора. В качестве путевого приемника используются два путевых реле ДСШ-2. Отличительной особенностью РЦ является то, что путевые элементы реле соединены параллельно, а местные последовательно, поскольку на них подается напряжение 220 В.
Рассмотренная схема при длине РЦ до 300 м позволяет установить аппаратуру питающего и релейного концов на расстоянии до 2400 м от места подключения к рельсам без дублирования жил кабеля.
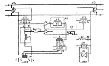
Отличительной особенностью схемы РЦ, изображенной на рис.2.11, является включение резонансного контура в выходной цепи путевого генератора сигналов АРС, настраиваемого в резонанс на каждую из сигнальных частот. Благодаря этой отличительной особенности данная РЦ называется резонансной рельсовой цепью (тип Ш-33/ЦУ).
Рельсовая цепь питается от трансформатора ПТ типа ПОБС-3А. Конденсатор С1 емкостью 10 - 12 мкФ служит ограничителем сигнального тока РЦ, и с его помощью питающий конец настраивается в резонанс на частоте 50 Гц. В качестве путевого приемника используются два реле ДСШ-2, путевые обмотки которых включены параллельно. Конденсатор С4 емкостью 4 - 16 мкФ предназначен для получения необходимого фазового угла между током в путевой обмотке и напряжением на местной обмотке путевого реле.

Рис.2.11 Схема резонансной рельсовой цепи при централизованном размещении аппаратуры.
Фильтр-пробка на частоту 50 Гц в выходной контур генератора АРС не устанавливается, поскольку сопротивление этого контура на промышленной частоте относительно велико из-за наличия емкостей в его составе.
При передаче кодового сигнала АРС частотой 75 Гц в цепь резонансного контура включается фильтр-”пробка”, настроенный на третью гармонику этой частоты (225 Гц), который состоит из реактора L2 и конденсатора С2.
Для уменьшения влияния сигнала АРС частотой 75 Гц на работу путевых реле, приводящего к зуммированию их секторов, на приемном конце включен режекторный фильтр-пробка на эту частоту, образованный из параллельно включенных конденсатора С3 емкостью 30 мкФ и реактора РОБС-3А.
На рис.2.12 представлена схема резонансной РЦ с двухсторонним кодированием.

Рис.2.12. Схема рельсовой цепи при централизованном размещении аппаратуры и двухстороннем кодировании.
В этой схеме резонансной РЦ двухсторонняя посылка кодовых сигналов АРС с питающего и релейного концов осуществляется, как правило, на участках, расположенных в пределах станций с путевым развитием, где максимальная скорость не реализуется и кодовый сигнал АРС частотой 75 Гц в рельсы не передается. Поэтому на схеме отсутствует фильтр-”пробка’ на релейном конце. Переключение выходного контура путевого генератора АРС в зависимости от направления движения поезда осуществляется контактами реле направления РН.
Для нужд метрополитена налажен выпуск серийной аппаратуры для передачи сигналов АРС, в том числе и блока ФП-АЛСМ, представляющего собой набор катушек индуктивности и конденсаторов для создания резонансного контура на частотах АРС (рис.2.13).

Рис.2.13. Схема рельсовой цепи при централизованном размещении аппаратуры и одночастотном кодировании с помощью типового блока ФП-АЛСМ.
Для проверки отпускания якорей управляющих реле системы АРС смежной РЦ их тыловые контакты включены в цепь питания местных обмоток путевых реле. Управляющие реле предыдущей по ходу движения поезда РЦ отпускают якоря при занятии данной РЦ и тыловыми контактами создают цепь возбуждения путевых реле П1 и П2 после освобождения РЦ. Когда путевые реле встают под ток, то цепь возбуждения дублируется через собственный фронтовой контакт одного из реле. После этого возбуждение управляющих реле не приведет к обесточиванию путевых. Если же после прохода поезда по неисправности какое-либо управляющее реле остается возбужденными, то это легко определяется по отсутствию тока в путевом приемнике данной РЦ.
Для линий с рельсовыми цепями переменного тока частотой 50 Гц с изолирующими стыками была разработана система дублирующих автономных устройств (ДАУ-АРС). В этой системе для резервирования используется комплект поездных устройств АРС хвостового вагона. При отказе устройств в головном вагоне машинист специальным переключателем переходит в режим ДАУ, в котором сигнализация и воздействие на внутреннюю автоматику поезда осуществляются от комплекта АРС хвостового вагона. В нормальном режиме работают оба комплекта поездных устройств АРС.

Рис.2.14. Схема рельсовой цепи с наложением кодовых сигналов АРС по системе ДАУ-АРС.
Сигналы АРС в системе ДАУ-АРС посылаются в рельсовую линию навстречу и в хвост поезда (рис.2.14). При этом благодаря пространственному разделению в системе ДАУ-АРС для кодирования в голову и в хвост используются те же сигнальные частоты 75, 125, 175, 225 и 275 Гц.
В хвост поезда передаются кодовые сигналы, соответствующие допустимой скорости на впередилежащей рельсовой цепи. Это позволяет обеспечивать в нормальном режиме основную и предупредительную сигнализацию, т.е. сигнализацию о допустимой скорости на данной и последующей рельсовых цепях.
Для передачи кодовых сигналов системы ДАУ-АРС в хвост поезду применяется дополнительный комплект путевой аппаратуры АРС или комплект передающей аппаратуры АРС впередилежащей рельсовой цепи (см. рис.2.14). Передача кодовых сигналов АРС в хвост поезда обуславливает необходимость также посылки специального кодового сигнала об установленном (правильном) направлении движения для исключения возможности движения в неправильном направлении по сигналам АРС. Для этого в рельсовую линию в определенных местах в хвост поезда передается сигнал частотой 325 Гц, который не воспринимается головным комплектом поездных устройств АРС.
Система ДАУ-АРС получила ограниченное применение на линиях метрополитенов в связи с тем, что рельсовые цепи переменного тока частотой 50 Гц при новом проектировании и реконструкции линий метрополитенов заменяются на бесстыковые рельсовые цепи.
4. Регулировка
Регулировка РЦ частотой 50 Гц различной длины заключается в выборе необходимого напряжения питающего трансформатора, установления требуемых фазовых соотношений на путевом реле, а также в обеспечении чередования мгновенных полярностей сигнальных токов смежных рельсовых цепей.
После настройки РЦ проверяется ее шунтовая чувствительность на питающем и релейном концах.
Регулировка РЦ с путевыми реле ДСШ-2 и путевыми дроссель-трансформаторами ДТМ-0,17 сводится к получению необходимого угла сдвига фаз (20 +/-15) ° и установлению требуемого напряжения на путевом элементе. Независимо от типа включения (путевые элементы последовательно или параллельно, местные элементы последовательно или параллельно) это напряжение равно 50-65 В, а при включенном генераторе АРС - 55-70 В.
Угол сдвига фаз регулируют, изменяя емкость конденсатора на питающем или релейном конце РЦ. Напряжение на путевом элементе реле устанавливают, изменяя коэффициент трансформации питающего трансформатора.
После проведения регулировки всех видов РЦ метрополитена в нормальном режиме проверяется их шунтовая чувствительность. Для этого на питающий и релейный конец РЦ накладывается типовой шунт сопротивлением 0,06 Ом. Сектор путевого реле должен оказаться в нижнем положении, а напряжение на путевом элементе не должно превышать значения 18 В для ДСШ-2.
Регулировка РЦ с параллельным наложением сигналов АРС заключается в установлении нормативных параметров для частоты 50 Гц и нормативных токов в рельсах сигнальной частоты АРС.
Напряжение на путевом элементе регулируется изменением коэффициента трансформации питающего трансформатора ПОБС-5А. Цепь утечки тока РЦ в контур генератора АРС сохраняется, один из проводов, идущих от трансформатора ВТ, отключается и подключается накоротко к другому проводу. Во избежание ошибок питание генератора АРС рекомендуется отключить.
При регулировке проверяется напряжение на элементах контура питающего конца рельсовой цепи. В случае правильной регулировки РЦ напряжение на первичной обмотке согласующего трансформатора (выводы I1-I4) и напряжение на реакторе в сумме должны быть больше напряжения на конденсаторном блоке примерно на 20%. Причем напряжение, снимаемое со вторичной обмотки питающего трансформатора, как правило, в 2 раза меньше напряжения на первичной обмотке согласующего трансформатора ПОБС-2А (выводы I1-I2).
Примерные значения напряжений для РЦ длиной 200 м с путевыми реле типа дСШ-2 и параллельным включением аппаратуры АРС:
напряжение, В
на путевой обмотке реле 55
на местной обмотке реле 118
на конденсаторе питающего конца 130
на реакторе РОБС-3А 66
на выводах трансформатора СТ (ПОБС-2А):
I1-I2 65
I1-I4 130
питания РЦ (на обмотке II ПТ) 30
После регулировки напряжения и фазового соотношения на путевом реле проверяется шунтовая чувствительность РЦ.
Регулировка сигнального тока АРС в рельсах осуществляется изменением коэффициента трансформации выходного трансформатора путевого генератора АРС, при этом должна сохраняться цепь утечки тока в контур питающего конца РЦ через реактор РОБС-3А. для этого один из проводов контура РЦ отключается от вывода питающего трансформатора и подключается накоротко к другому проводу.
После регулировки схема собирается полностью, и проверяется работа путевого реле при параллельном наложении сигнального тока АРС. Сектор путевого реле при включенном генераторе АРС не должен иметь вибрации, заметной для глаза.
В процесс регулировки РЦ, кроме перечисленного выше, входит проверка правильности чередования мгновенных полярностей сигнальных токов смежных рельсовых цепей в результате замыкания одного, а затем и двух изолирующих стыков, разделяющих смежные РЦ. Сектор путевого реле должен в обоих случаях отпускаться, что указывает на правильную, т.е. чередующуюся полярность. Если путевое реле в возбужденном состоянии при замыкании изолирующего стыка, то следует поменять местами выводы согласующего или питающего трансформатора одной из смежных РЦ.
5. Способы отыскания неисправностей
Неисправностью рельсовой цепи называется ее нештатное состояние в том или ином рабочем режиме, т.е. нарушение правильности функционирования. Нештатными состояниями в работе РЦ являются:
индикация занятости при свободности контролируемого участка пути, т.е. нарушение нормального режима (ложная занятость);
индикация свободности при занятости контролируемого участка пути поездом, т.е. нарушение шунтового режима (ложная свободность);
индикация свободности при обрыве рельсовой линии, т.е. нарушение контрольного режима;
отсутствие приема сигналов АРС поездными устройствами, т.е. нарушение режима АРС.
Существует несколько способов поиска неисправности технической системы, основными из которых являются следующие;
метод последовательного поиска, когда проверяются на исправность все элементы системы последовательно, без каких-либо приоритетов, до выявления отказавшего;
метод последовательного поиска с приоритетом, когда проверяются на исправность все элементы системы, но в определенной последовательности. Обычно первыми проверяются элементы с наибольшей степенью вероятности отказа или те, на проверку которых требуется меньше времени, чем для проверки остальных;
метод секционирования неисправности (определения зоны неисправности), при котором система делится на части, проверяется исправность работы каждой из них и выявляется неисправная. Затем выявленная часть системы может быть поделена еще на несколько частей и т.д., пока не будет выявлен элемент, вызвавший неисправную работу системы.
Исправность элемента системы или ее части можно контролировать, измеряя контрольные параметры или методом замены элемента или части системы на достоверно исправный элемент или часть системы.
В зависимости от конкретной ситуации необходимо применять определенный способ отыскания неисправности или комбинацию нескольких способов. Основным критерием выбора метода устранения неисправности в РЦ метрополитена является минимизация времени восстановления работоспособного состояния РЦ, для чего разрабатываются различные методики и рекомендации по поиску неисправностей в РЦ метрополитена.
Наибольшее распространение получило описание действий электромеханика в виде алгоритмов. Под алгоритмом понимается описание последовательности действий, которые необходимо осуществить в зависимости от результата предыдущего действия.
Перед началом работы по поиску неисправности в РЦ всегда необходимо проанализировать ситуацию: установить, какие работы проводились на данной РЦ; определить причину отказа; охарактеризовать признаки возникшей неисправности. К характерным признакам неисправностей можно отнести, например, обесточивание путевых реле сразу двух смежных РЦ, что возможно при пробое изолирующего стыка или появлении на нем токопроводящей пленки.
Если по характерным признакам место отказа выявить не удается, то измеряется напряжение на местном и путевом элементах путевого реле. Если напряжение на местной обмотке отсутствует, то необходимо проверить исправность предохранителей цепи питания. После этого следует проверить всю цепь питания, в которую могут входить контакты линейного реле, реле красного огня, управляющих реле системы АЛС-АРС, самого путевого реле или его повторителей.
Проверку следует проводить, кратковременно замыкая соответствующие контакты реле при свободной от поездного шунта рельсовой цепи. При соединении местных обмоток путевых реле последовательно неисправность может быть в отсутствии контакта в розетке для установки реле. Для выявления этой неисправности необходимо измерить полное напряжение, подаваемое сразу на обе местные обмотки. Оно должно соответствовать нормативному значению.
Если напряжение на местном элементе находится в допустимых пределах, то измеряется напряжение на путевом элементе. При наличии и достаточном значении напряжения на реле наибольшая вероятность в отказе самого реле, которое надо заменить. При двух путевых реле в составе РЦ одновременный выход из строя обоих реле - явление редкое, и наиболее вероятна неисправность только одного, которое и должно быть заменено.
Когда замена реле на исправное не дала результатов, необходимо измерить угол сдвига фаз и отрегулировать его в соответствии с нормативным значением. Значительное отклонение угла сдвига фаз могло быть вызвано, например, обрывом конденсатора в контуре приемного конца или пробоем части витков путевого дросселя.
Если напряжение на путевых элементах реле отсутствует (меньше нормы), в первую очередь изымается (отключается) конденсаторный блок релейного конца. Если в результате этого напряжение на реле появилось, то неисправностью является пробой конденсаторов, и необходима их замена на исправные. Когда напряжение на путевых реле продолжает отсутствовать, цепь конденсаторного блока восстанавливается и измеряется напряжение на приемном конце РЦ. Если оно равно нормативному, то делается вывод о неисправности в контуре приемного конца. Возможен обрыв в контактах крепления аппаратуры, обрыв в обмотке выходного дросселя сигналов АРС при его последовательном включении (отключить питание генератора АРС и замкнуть дроссель). Возможно также отсутствие контакта в штепсель - ной розетке при последовательном соединении путевых элементов; в этом случае необходимо измерить полное напряжение, подводимое к обеим путевых обмоткам. Если напряжение на приемном конце отсутствует (меньше нормы), поиск неисправности продолжается на питающем конце, а при децентрализованном размещении аппаратуры поиск продолжается на рельсовой линии.
Рассмотрим сначала порядок поиска неисправности при децентрализованном размещении аппаратуры.
После выявления неисправности приемного (релейного) конца рельсовой цепи измеряется напряжение на основной обмотке путевого дроссель-трансформатора (вторичной обмотке СТ). Если значение напряжения равно нормативному, то делается вывод о неисправности дроссель-трансформатора или согласующего путевого трансформатора. В первом случае переходят с двухниточной РЦ на однониточную с установкой дополнительных согласующих трансформаторов ПОБС-2А, поскольку замена дроссель-трансформатора в период движения поездов осложнена.
Во втором случае требуется замена согласующего трансформатора на исправный.
Если напряжение на основной обмотке дроссель-трансформатора отсутствует или ниже нормативного, необходимо проверить целостность дроссельных перемычек и надежность их контакта в местах соединения с рельсами.
После этого проверяется исправность изолирующих стыков, а затем поиск неисправности продолжается на рельсовой линии: измеряется напряжение на рельсах через некоторое расстояние по пути следования от релейного конца к питающему. Если обнаружен скачок напряжения, то это означает, что между местом этого и предыдущего измерений имеется обрыв рельсовой линии.
На питающем конце проверяется исправность изолирующих стыков, после чего измеряется напряжение на дополнительной обмотке дроссель-трансформатора или первичной обмотке СТ Если напряжение соответствует нормативному, а напряжение на рельсах ниже нормы, делается вывод о неисправности дроссель-трансформатора СТ или нарушении контакта в месте крепления к рельсам дроссельных перемычек.
В некоторых случаях возможно отклонение напряжения на рельсах из-за частичного межвиткового пробоя в путевом дросселе ДОМБ-1000, тогда замена согласующего трансформатора не приводит к желаемым результатам (необходимо поднять напряжение в РЦ или перейти на схему однониточной РЦ с выключением неисправного дросселя).
Когда исправность дроссель-трансформатора или СТ не вызывает сомнений, переходят к контуру питающего конца. Во-первых, проверяется наличие напряжения на первичной обмотке питающего трансформатора и исправность предохранителей в цепи питания, которые при необходимости надо заменить. Если напряжение на ПТ соответствует нормативному, измеряется напряжение на его вторичной обмотке (при отключенной нагрузке), чем проверяется его исправность. Во-вторых, измеряют напряжения на элементах контура питающего конца. При исправных приборах контура напряжение на емкостном ограничителе на 10-15% меньше суммы напряжений на вторичной обмотке ПТ, реакторе РОБС-3А и первичной обмотке СТ При повреждении соотношение напряжений меняется. Так, при коротком замыкании емкостного ограничителя напряжение на нем становится равным или близким 0. При обрыве в монтаже какого-либо элемента контура все напряжение питания РЦ приложено к этому элементу. Кроме того, из-за неисправности фильтра-”пробки” на частоту 50 Гц в выходном контуре АРС возможна большая утечка сигнального тока РЦ, что приводит к снижению напряжения на реакторе РОБС-3А и расстройке питающего контура.
При централизованном размещении аппаратуры после проверки исправности приемного (релейного) конца сразу переходят к поиску неисправности на питающем конце РЦ. Для быстрого восстановления нормальной работы РЦ возможно использование заведомо исправного резервного питающего конца. Если нормальная работа РЦ не восстановилась, то делается вывод о неисправности соединительного кабеля или дроссель-трансформаторов в рельсовой линии, для проверки которых необходим выход на путь. Дальнейший поиск неисправности проводится аналогично случаю с децентрализованным размещением аппаратуры.