| Скачать .docx |
Реферат: Судовые установки
Вопрос 1 . Характеристики и режимы работы СЭУ. Объясните что такое режим и характеристика роботы двигателя, нарисуйте график изменения скоростой и нагрузочной характеристики двигателя.
Ответ
Для современных судовых двигателей характерен высокий уровень напряженности рабочего процесса. Элементы конструкции, и в первую очередь детали цилиндро-поршневой группы двигателей, испытывают действие больших тепловых и механических нагрузок. Причем разрыв между рабочими уровнями тепловой и механической напряженности двигателей на номинальном режиме и их, предельными значениями, как правило, невелик. Поэтому если режим полного хода соответствует номинальному, то резерв на возможное в эксплуатации превышение мощности или изменение технического состояния двигателя и параметров окружающей среды, которое может вызвать повышение его напряженности, оказывается также небольшим. О наличии малого резерва свидетельствуют участившиеся в последние годы случаи выхода из строя головок поршней, втулок и крышек рабочих цилиндров, появления интенсивных износов цилиндров, возникновения трещин и выкрашивания антифрикционного сплава подшипников.
Режим полного хода, как уже ранее отмечалось, не остается неизменным: нагрузка цилиндров и частота вращения вала меняются в связи с систематически изменяющимися внешними условиями плавания судна.
Увеличение сопротивления движению судна сопровождается «утяжелением» винтовой характеристики.
Таким образом, когда за режим полного хода принимается режим номинальной мощности, то тем самым создаются условия возможных перегрузок двигателя. Поэтому современная практика эксплуатации ориентируется на:
1) облегчение винтовой характеристики путем установки гребного винта, загружающего главный двигатель при номинальной частоте вращения на 85—90% МеН ом',
2) ограничение нагрузок двигателя, особенно при увеличении сопротивления движению судна и снижении частоты вращения путем задания зоны рекомендуемых для длительной работы режимов с помощью ограничительных характеристик.
Ограничительная характеристика (линия /) назначается таким образом, чтобы при работе двигателя на принадлежащих ей режимах обеспечивалось сохранение его тепловой и механической напряженности на уровне, не превышающем уровень напряженности на номинальном режиме.
В эксплуатации важно следить за тем, чтобы режимы работы двигателя находились в пределах зоны, ограниченной этой характеристикой. Как исключение, допускается только кратковременная работа за ее пределами при выполнении судном маневров.
Режимы малых оборотов и нагрузок. Переход главных двигателей на режимы малых оборотов, как и переход вспомогательных на режимы малых нагрузок, связан со значительным сокращением подачи топлива в цилиндры и увеличением избытка воздуха. Одновременно снижаются параметры воздуха в конце сжатия. Особенно заметно изменение рс и Тс в двигателях с газотурбинным наддувом, так как газотурбокомпрессор на малых нагрузках практически не работает и двигатель автоматически переходит на режим работы без наддува. Малые порции сгорающего топлива и большой избыток воздуха снижают температуру в камере сгорания.
Из-за низких температур цикла процесс сгорания топлива протекает вяло, медленно, часть топлива не успевает сгореть и стекает по стенкам цилиндра в картер или уносится с отработавшими газами в выпускную систему.
Ухудшению сгорания топлива способствует также плохое смесеобразование топлива с воздухом, обусловленное снижением давления впрыска топлива при падении нагрузки и снижении частоты вращения. Неравномерный и нестабильный впрыск топлива, а также низкие температуры в цилиндрах вызывают неустойчивую работу двигателя, нередко сопровождающуюся пропусками вспышек и повышенным дымлением.
Нагарообразование протекает особенно интенсивно при использовании в двигателях тяжелых топлив. При работе на малых нагрузках из-за плохого распыливания и относительно низких температур в цилиндре капли тяжелого топлива полностью не выгорают. При нагревании капли легкие фракции постепенно испаряются и сгорают, а в ее ядре остаются исключительно тяжелые высококипящие фракции, основу которых составляют ароматические углеводороды, обладающие наиболее прочной связью между атомами. Поэтому окисление их приводит к образованию промежуточных продуктов — асфальтенов и смол, обладающих высокой липкостью и способных прочно удерживаться на металлических поверхностях.
В силу изложенных обстоятельств при длительной работе двигателей на режимах малых оборотов и нагрузок происходит интенсивное загрязнение цилиндров и особенно выпускного тракта продуктами неполного сгорания топлива и масла. Выпускные каналы крышек рабочих цилиндров и выпускные патрубки покрываются плотным слоем асфальто-смолистых веществ и кокса, нередко на 50—70% уменьшающих их проходное сечение. В выпускной трубе толщина слоя нагара достигает 10— 20мм. Эти отложения при повышении нагрузки на двигатель периодически воспламеняются, вызывая в выпускной системе пожар. Все маслянистые отложения выгорают, а образующиеся при сгорании сухие углекислые вещества выдуваются в атмосферу.
Остановка двигателя. Наряду с режимом прогрева не менее опасным является и переходный режим резкого снижения нагрузки или внезапной остановки двигателя. При резком сбросе нагрузки и особенно при остановке двигателя, до этого работавшего в режиме полного хода, в нем, как и при прогреве, появляются высокие тепловые напряжения. Причина этого заключается в неравномерном остывании деталей цилиндропоршневой группы. Максимум напряжений наблюдается в первый период после остановки двигателя, так как именно для этого периода характерна наибольшая скорость падения температуры нагретых поверхностей.
Для уменьшения напряжений, возникающих при остывании горячего двигателя, необходимо заблаговременно, до полной остановки двигателя, снижать развиваемую им мощность. Мощные малооборотные двигатели рекомендуется переводить на режим среднего, а затем малого хода, по крайней мере, за 30—60 мин до начала маневров.
Нагрузочная характеристика двигателя представляет собой графическую зависимость его основных показателей от нагрузки при постоянном скоростном режиме (п = const). Критерием нагрузки служит среднее эффективное давление ре , которое и принимается в качестве независимого переменного. При построении нагрузочной характеристики значения ре откладывают по оси абсцисс, а параметры, характеризующие работу двигателя, — по оси ординат (рис. 11).
По нагрузочной характеристике работают вспомогательные дизель-генераторы и главные двигатели, когда управление ими осуществляется всережимным регулятором числа оборотов.

Рис. 1. Нагрузочная характеристика двигателя
Внешняя и частичные характеристики. В эксплуатации судовых двигателей часты случаи, когда изменение нагрузки влечет за собой изменение числа оборотов, несмотря на неизменное положение органа управления топливными насосами. Подобным условиям отвечают внешняя или астичные характеристики, под которыми понимается графическая или аналитическая зависимость показателей двигателя от числа боротое при строго фиксированном положении органа управления опливными насосами ТР=const, что обеспечивает сохранение не-13менной величины активного хода плунжера ha =const.
Внешняя номинальная характеристика — кривая TРном =const (рис. 12) — характеристика, соответствуящая работе двигателя в условиях изменяющихся нагрузки и частоты вращения при активном ходе плунжера ha H0M или соответствующем ему положении топливной рейки ТРН0М , обеспечивающем номинальные значения мощности и среднего эффективного давления при номинальном скоростном режиме nном

Рис. 2. Внешние и частичные характеристики
Вопрос 2 . Судовые комбинированные энергетические установки, перечислите какие КЭУ применяются на судах. Дать определение КЭУ: с термодинамической связью двигателей и без связи; начертите схему КЭУ т/х «Капитан Смирнов», описать ее работу.
Ответ
Судовые газотурбинные установки с теплоутилизирующим контуром (ТУК) ГТУ М-25 мощностью 25 000 кВт эксплуатируются на судах типа «Капитан Смирнов».
Головной газотурбоход «Капитан Смирнов» — ролкер водоизмещением 35 000 т. Он предназначен для перевозки пакетированных грузов и контейнеров, имеет две ГТУ суммарной мощностью 36 800 кВт. Скорость судна 27 уз. На газотурбоходе высок уровень автоматизации. В машинном отделении нет постоянной вахты. Контролирует работу оборудования с центрального поста управления энергетической установкой один механик. Главным двигателем управляет с мостика вахтенный штурман. Оттуда же осуществляется управление мощными подруливающими устройствами, расположенными в носу и корме. Благодаря им при швартовных операциях можно обходиться без помощи портовых буксиров.
Установка ГТУ М-25 состоит из газотурбинного двигателя, редуктора и теплоутилизирующего контура, который в свою очередь включает в себя паровой котел с сепаратором пара я арматурой дистанционного управления, паровую турбину с конденсатором и вспомогательное оборудование.
Тепловая схема ГТУ дана на рис. 3. Атмосферный воздух засасывается КНД 6 и последовательно сжимается в КНД и КВД 5. Затем в камере сгорания 4 при постоянном давлении происходит сжигание топлива, и образовавшийся при этом газ расширяется последовательно в ТВД 3, ТНД 2 и турбине винта (ТВ) 1. Отсюда газ поступает утилизационный котел 7, где отдает теплоту питательной воде. Пар из котла направляется в силовую паровую турбину 21, совместно с ТВ вращающую через упругие муфты и редуктор 24 гребной винт. Вся мощность ТВД и ТНД полностью потребляется соответственно КВД и КНД.
Утилизационный котел (расположен над газоотводом ГТД) — водотрубный с многократной принудительной циркуляцией, в сечении имеет прямоугольную форму. Котел состоит из экономайзера, испарителя и пароперегревателя, между которыми предусмотрены пазухи для размещения опорных балок крепления трубных пакетов, осмотра и ремонта поверхности горения. Котел включает в себя также сепаратор пара, служащий для отделения пара от пароводяной смеси, поступающей из испарителя котла.

Рис. 3. Тепловая схема ГТУ с ТУК газотурбохода «Капитан Смирнов» (одного борта)
Паровая турбина состоит из регулировочной ступени в виде двухвенечного колеса и семи ступеней давления. Ее сварнолитой корпус изготавливается с корпусами (стульями) подшипников. На верхней крышке крепится паровпускной быстрозапорный клапан, а на выпускном патрубке — дроссельно-увлажнительная установка.
Ротор паровой турбины составной — с насадными дисками. Упорный гребень выполнен заодно с валом. Турбина имеет два опорных и один упорный подшипники. Опорные подшипники имеют стальные вкладыши, залитые баббитом. Упорный подшипник двусторонний с самоустанавливающими упорными сегментами.
Конденсатор двухпроточный, он одновременно является рамой, на которой располагаются турбина и вспомогательное оборудование. Редуктор позволяет подключить и отключить паровую турбину при работающем и остановленном ГТД, обеспечивает проворачивание валопровода при неработающих ГТД и паровой турбине и стопорение валопровода.
В правой части рис. 3 представлен теплоутилизирующий контур одного борта установки. Питательная вода из теплого ящика 15 электропитательным насосом 14 подается через двухимпульсный регулятор 12 питания в сепаратор 11 питания. Из него насос 13 многократной циркуляции подает воду в экономайзер 8. Из него вода по опускным трубам идет в испаритель 9. Затем пароводяная смесь поступает в сепаратор. Из него влажный пар направляется в пароперегреватель 10 и далее (уже перегретый пар) через главный стопорный клапан 19 - к быстрозапорному клапану 20 паровой турбины. Схемой ТУК предусматривается отбор 6000 кг/ч перегретого пара из главного паропровода на турбогенератор мощностью 1000 кВт и 2000 кг/ч насыщенного пара из сепаратора на общесудовые нужды.
Главный стопорный клапан открывается автоматически при давлении пара 0,4 МПа. При достижении давления в конденсаторе 5—6 КПа открывается быстрозапорный клапан в положение холостого хода, и паровая турбина начинает набирать частоту вращения. Как только паровая турбина сравняется по частоте вращения с турбиной винта, происходят синхронизация и подключение паровой турбины к редуктору. Избыток пара при этом стравливается через редукционное охладительное устройство 22 и дроссельно-увлажнительное устройство 23 в выпускной патрубок турбины на конденсатор 18. Оттуда электрокон-денсатный насос 17 возвращает конденсат в теплый ящик через регулятор уровня конденсата 16. После прогрева паровой турбины на режиме холостого хода в течение 12—15 мин БЗК открывается полностью, и паровая турбина начинает работать в режиме полной мощности.
Газотурбинная установка может устойчиво эксплуатироваться как при работе с ТУК, так и без него. Включение ТУК происходит при подаче питательной воды в котел и может производиться при любом режиме работы ГТД (горячий пуск) и при неработающем ГТД (холодный пуск). Пуск ТУК и управление им осуществляются с центрального поста'управления. Отбор пара на турбогенератор производится вручную.
В установке предусмотрена возможность работы перекрестным путем. В этом случае работает газовая турбина с ТУК одного борта, пар подается на паровую турбину другого борта. При этом газовая турбина этого борта не работает (снимают рессору от ТВ к редуктору), при такой работе подача топлива уменьшается почти в 2 раза (при скорости судна примерно 20 уз).
Ресурс всего агрегата составляет 100 000 ч (примерно 25 лет). В то же время ресурс ГТД до заводского ремонта составляет 25 000 ч. После заводского ремонта ресурс ГТД восстанавливается. Технический ресурс ГТД (до замены) равен 50 000 ч (приблизительно 12,5 года). При наличии запасного ГТД на судне (или обменного фонда ГТД| его замена может быть проведена силами судового экипажа в течение двух суток, т. е. во время погрузочно-разгрузочных работ в порту. Лю-бой из навешенных на ГТД агрегатов может быть заменен в течение 1-2 ч.
Газотурбинный двигатель (рис. 4) изготавливается в морском (корабельном) исполнении. Он состоит из осевых расположенных последовательно компрессоров — семиступенчатого КНД 1 и девятиступенчатого КВД 2 трубчато-кольцевой камеры сгорания 3, в корпусе: которой находятся десять жаровых труб 4 с форсунками и из распо-ложенных последовательно двухступенчатых ТВД 5 и ТНД 6 и четырех-ступенчатой ТВ 7. Корпуса компрессоров, камеры сгорания и трубки соединяются между собой последовательно вертикальными фланцами и образуют единый корпус.

Рис. 4. ГТУ М-25 со схематическим разрезом ГТД
Вопрос 3. Как производится подготовка к работе и пуск двигателя (ДВС)
Ответ
Пуск, равно как и маневрирование, сопряженное с остановками, реверсированием и сменой нагрузок, относится к числу неустановившихся режимов. Эти режимы являются наиболее напряженными, на них приходится наибольшее число аварийных повреждений двигателей.
Напряженность переходных режимов определяемся тем, что в процессе смены режима (нагрузки и частоты вращения) происходят резкие изменения рабочего процесса, меняются условия нагрева и охлаждения цилиндров и поршней.
Величины напряжений, возникающих в деталях цилиндро-поршневой группы и кривошйпно-шатунного механизма, растут с увеличением скорости смены режима и становятся наибольшими при пуске холодного двигателя, резком выведении его на полную нагрузку и при внезапной остановке с полного хода.
В этих условиях элементы конструкции двигателей подвергаются деформации и интенсивным износам, меняются зазоры и натяги в сопряжениях. В деталях, испытывающих действие высоких температур, благодаря смене режимов развиваются термоусталостные явления, с течением времени приводящие к образованию трещин.
При пуске холодного двигателя в цилиндрах создаются неблагоприятные условия для самовоспламенения топлива. Сгорание его сопровождается возникновением чрезмерно высоких давлений и большой скоростью нарастания давления во времени.
Детали цилиндропоршневой группы двигателей — поршень, крышка и втулка цилиндра — в период переходных режимов испытывают высокие тепловые нагрузки, под влиянием которых в них возникают термические напряжения, деформация, а в отдельных случаях, при значительных перегрузках и частых сменах режимов, происходят термоусталостные разрушения.
Температурные условия переходных процессов,, определяющие величину термических напряжений, характеризуются максимальным и минимальным уровнями изменения температуры детали, величиной и характером перепада температур по толщине (температурного градиента), зависящего, в свою очередь, от темпа изменения температур на внутренней и наружной поверхностях.
При пуске и в следующий за ним период разгона и прогрева двигателя происходит интенсивное повышение температуры его деталей, и в первую очередь деталей цилиндров поршневой группы, повышение температуры и снижение вязкости смазочного масла, возрастание температуры охлаждающей воды и изменение зазоров между сопрягаемыми поверхностями. Неравномерность прогрева деталей цилиндропоршневой группы, вызванная наличием на пути потоков тепла термических сопротивлений, обусловливает появление в них высоких температурных градиентов. В поршне в первую очередь прогревается головка, тронк же разогревается вяло, накапливая тепло главным образом в процессе теплопроводности. Поэтому колебания температуры тронка, как и нижней части втулки рабочего цилиндра, с изменением режима работы двигателя, как правило, мало заметны. Независимо от размеров и быстроходности двигателя наиболее интенсивный рост температуры деталей цилиндропоршневой группы отмечается в начальный период их прогрева, особенно в течение 40—60 с после первой вспышки в цилиндре.
Вопрос 4. Перечислите системы, которые обслуживают главный двигатель, объясните их работу и требования к маслянным системам.
Ответ
К системам обслуживающим ГД судна относятся: Система подачи воздуха, система выпускных газов, топливная система, масляная система, система охлаждения, система пуска, реверса и управления.
СИСТЕМА ПОДАЧИ ВОЗДУХА В ЦИЛИНДРЫ
Впускнойтрубопровод, илиресивер, служитдляподводавоздуха вцилиндрыдвигателя. Вчетырехтактныхдвигателяхбезнаддува воздухзасасываетсявресиверизмашинногоотделенияилиможет приниматьсяспалубыпоспециальномутрубопроводу. Вдвигателях снаддувомивдвухтактныхдвигателяхвоздухнагнетаетсявцилиндрывоздухонагнетателями. Дляуменьшенияколебанийдавленияобъемресивераделаютдостаточнобольшим, проходноесечение должнообеспечитьскоростьвоздуханеболее 20 м/с. Внутриресивера вдвигателяхснаддувомустанавливаютвоздухоохладители.
Дляизмерениядавлениявоздуха, поступающеговцилиндр, на ресивереустанавливаютманометры, адляизмерениятемпературы— термометры. Изсистемысмазкинагнетателейвресивервместесвоздухоммогутпопадатьпарымасла. Чтобыснизитьдавлениегазов привзрывепаровмасла, ресиверснабжаютпредохранительными автоматическимиклапанами. Горловины, закрытыекрышками, служатдляочисткиресивера. Ресиверизготовляютизлистовойстали. Дляуменьшенияшумавмашинномотделенииресиверснаружи обшиваютасбестомипокрываютстальнымкожухом.
Вдвигателяхсдвухступенчатымнаддувомресиверможетразделятьсяпродольнойперегородкой (надвеступенидавления) и поперечнымиперегородками (отделяющимиподпоршневыепространстваотдельныхцилиндровилигруппыцилиндров). Наперегородках вырезаныокна, которыеслужатдляустановкипластинчатыхклапанов, автоматическиоткрывающихсяприрасчетномдавлении.
Конструкциявыпускноготрубопроводазависитотсистемынаддува. Вдвигателяхбезнаддувавыпускныегазыотводятсячерезкороткиепатрубкивобщийвыпускнойколлектор, охлаждаемый водой. Отдельныеучасткиколлекторадлявозможностисвободного расширениясоединяютмеждусобойспомощьюгофрированной трубыилителескопическогоуплотнениясчугуннымиразрезными уплотнительнымикольцами.
Вдвигателяхсгазотурбиннымнаддувомстурбинамипостоянногодавлениявыпускныегазыотвсехцилиндровпоступаютвобщий коллектор. Притаком объемедавлениегазовпередтурбинойостаетсяпостоянным. При использованиитурбинспеременнымдавлениемгазапередсоплами общийвыпускнойколлекторотсутствует, авыпускныегазыподводятсяктурбинеотодногоилинесколькихцилиндровпокоротким патрубкаммалогообъема. Используяимпульсгаза, выходящего изцилиндравмоментоткрытиявыпускныхоргановсвысокимдавлениемитемпературой, можноповыситьмощностьтурбины. Выпускнойтрактдвигателейсгазотурбиннымнаддувомпокрытслоемизоляции, поверхкоторойодеткожухизлистовогожелезаилирубашки сводянымохлаждением.
Дляуменьшенияшуманавыпускномтрубопроводезатурбинами устанавливаютглушитель. Вкачествеглушителяможетиспользоватьсяутилизационныйкотел. ПоправиламРегистрасудовая дизельнаяустановкадолжнабытьоборудованаустройствомдля улавливанияигашенияискрввыпускныхгазах.
СИСТЕМА ВЫПУСКА ОТРАБОТАВШИХ ГАЗОВ.
В нашем двигателенапроцессывыпускаотработавших газовинаполненияцилиндравоздухомотводитсявсего 130—150° ПКВ. Этообстоятельствосоздаеттрудностидляхорошейочисткицилиндровот отработавшихгазовинаполненияегосвежимзарядомвоздуха. Крометого, вдвухтактныхДВСотработавшиегазыизцилиндра: выталкиваютсянепоршнем, апродувочнымвоздухом, приэтомнеизбежночастичноеперемешиваниевоздухасгазами.
Процессывыпускаотработавшихгазовинаполненияцилиндра свежимзарядомвдвухтактныхдвигателяхпротекаютвтакойпоследовательности: послеоткрытиявыпускныхокон (клапанов) начинается«свободныйвыпуск»—истечениегазовизцилиндраввыпускнойколлекторзасчетразностидавленийвцилиндреивыпускном коллекторе. Скоростьистечениягазоввпериодсвободноговыпуска 800—600 м/спритемпературегазовоколо 1000 С Свначалевыпуска. Вконцесвободноговыпускадавлениевцилиндрепадает. Вэтовремя Поршеньоткрываетпродувочныеокнаиначинаетсяпродувкацилиндравоздухом. Воздухкокнамподаетсяпродувочнымнасосом поддавлением 0,11—6,13 МПа, вытесняетотработавшиегазыизанимаетосвободившийсяобъем; происходит«принужденныйвыпуск» ипродувка, т. е. наполнениецилиндравоздухом.
Взависимостиотсистемыпродувкиприходепоршнявверхпродувочныеокнамогутзакрыватьсяраньшевыпускных, итогдачерез открытыевыпускныеокна (клапаны) будеттерятьсячастьзарядавоздуха. Еслипродувочныеокназакрываютсяпозжевыпускных, топроисходитдозарядкацилиндравоздухом. Качествоочистки цилиндрадвухтактногодвигателяинаполненияегосвежимзарядом зависитотсовершенствасистемыпродувки, котораядолжнаобеспечиватьнаибольшуюмощностьиэкономичностьдвигателя. Взависимостиотхарактерадвиженияпотоковвоздухавсесуществующиесхемыпродувкиподразделяютнаконтурныеипрямоточные. Вконтурныхсхемахпотокпродувочноговоздуха, поступая черезокнавсреднейчастирабочейвтулки, описываетвнутренний контурцилиндраидвижетсявнизквыпускнымокнам. Впрямоточныхсхемахвоздухдвижетсятолько, водномнаправлении—вдоль осицилиндра. Путьвоздухаиотработавшихгазоввпрямоточных продувкахпримерновдваразакороче, чемвконтурных.
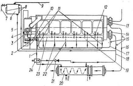
ТОПЛИВНАЯ СИСТЕМА
Топливоподающаясистемаобеспечиваетрегулярныйвпрысквтребуемойпоследовательности строгодозированныхпорцийтопливаподвысоким давлениемвкамерысгоранияцилиндровдизеля.
Топливоизрасходнойемкостишестереннымнасосом 2 (рис. 5) потрубе 3 черездвухсекционныйунифицированный фильтр 4 подаетсяподдавлением, регулируемымредукционнымклапаном /, в главнуюмагистраль 7 ипотрубам 11 в топливныенасосы 5.
Топливныенасосыподвысокимдавлениемподаютпотрубам 9 черезфорсунки 8 вопределенныемоментывременитопливовкамерысгоранияцилиндровдизеля.
Подтекающеетопливоотфорсуноки топливныхнасосовпосливнымтрубам 6 и 12 отводится.всливныеемкости.
Длязаполнениясистемыдизелятопливомвредукционномклапане 1 имеется устройство, позволяющееперепускать топливоизрасходнойемкости, минуя топливоподкачивающийнасос. Воздухпризаполнениисистемытопливомудаляетсячерезпробки, имеющиесянакрышкеунифицированногофильтра итопливныхнасосов, атакжечерезклапан 10.
НатрубопроводемеждуфильтромитопливныминасосамиустановлендатчикдавлениядляподсоединенияманометраМ, расположенногонащите приборов.

Рис. 5. Схематопливоподающейсистемы:
1 —редукционныйклапан;
2—топливоподкачивающийнасос;
3 —труба;
4 — фильтртоплива;
5 —топливныйнасос;
6, 12—сливныетрубы;
7 —главнаямагистраль;
8 —форсунка;
9, 11 —трубы;
10 —клапан;
М—манометр;
/ —наслив,
II - израсходнойемкости.
Форсункапредназначенадляраспыливания топлива, подаваемоговкамерусгораниядизеля.
Форсунказакрытоготипасгидравлическимуправлениемподъемаиглы.
Наиболееответственныедеталифорсунки— корпусраспылителяиигла—являютсяпрецизионнойпарой.
МАСЛЯННАЯ СИСТЕМА
Системасмазкидизелейциркуляционнаясмокрымкартеромидополнительноймаслянойцистерной (баком). Всистемусмазкивходят: приемный масляныйфильтр, двухсекционныймасляныйнасос, фильтрыгрубойочисткимасла, фильтртонкойочисткимасла, холодильникиводыимасла, ручной маслопрокачнойнасос, расходныймасляныйбаки систематрубопроводов.
Вовремяработысистемаобеспечиваетбеспрерывноепоступлениемаслаковсемтрущимсядеталямдизеля.
СИСТЕМА ОХЛАЖДЕНИЯ.
Системаохлаждениядизелядвухконтурная. Дизельохлаждаетсяпреснойводой, циркулирующейпо замкнутомуконтуру. Циркуляционнаяводаимасло охлаждаютсяпроточнойводойвхолодильниках.
Системаобеспечиваетустановленныйтемпературныйрежимдизелявовсемдиапазоненагрузок.
Всистемуохлаждениявходят: насосыциркуляционнойипроточнойводы, регулятортемпературыводы, холодильникиводыимасла, водянойрасширительныйбачокитрубопроводы.
Схемасистемыохлаждения
Насос 14 (рис. 6) циркуляционнойводыподает водувнагнетательнуютрубу 17, оттудапопатрубкам 22 водапоступаетвполостьохлажденияблока цилиндровипотрубе 10 вполостьохлаждениятурбокомпрессора. Охладиввтулкицилиндров, водаиз блокаперетекаетвполостикрышекцилиндров, охлаждаетихипопереливнымраковинам 12 поступаетвполостьохлаждениявыпускногоколлектора 19. Охладивколлектор, водапоступаетвтрубу 1 изатемврегулятор 24 температурыводы.
Надизеле 6ЧН25/34 изполостейохлаждения крышекцилиндровпопереливнымраковинамвода перетекаетвтрубу 23, расположеннуювкожухезакрытиявыпускногоколлектора, аизтурбокомпрессорапотрубе 2 поступаетвтрубу 1 изатемчерезрегулятор 24 —вхолодильник 20, илиминуяего,
Регуляторвзависимостиотустановленнойтемпературыраспределяетпотокводынадвечасти:
одначастьводынаправляетсявхолодильникводы 20, гдеохлаждаетсяпроточнойводой. Изхолодильникаводавозвращаетсяпотрубе 18 в приемныйпатрубокводяногонасоса 14;
другаячастьводыпоступаетвтрубу 18 и, смешиваясьсохлажденнойвхолодильникеводой, входит вводянойнасос. Такимобразом, регулятор 24 путем перераспределенияколичестваводы, направляемой вхолодильникимимонего, поддерживаеттемпературувыходящейиздизеляводывпределах 65—80°С.
Натрубе 18 установленобратныйфланцевый клапан 21.
Воздухипар, скапливающийсявсистеме, отводитсявводянойрасширительныйбачок6потрубкам 11 и 4. Трубки 11 вдвухточкахсоединяютсяс водянойполостьювыпускногоколлектора (илитрубы 23) струбой 2.

Рис. 6. Схемасистемыохлаждения: 1, 2,5, 7, 10, 16, 18, 23 —трубы; 3 —турбокомпрессор; 4, 9, 11 —трубки; 6 —расширительныйбачок; 8 —водомерноестекло; 12 —переливная раковина; 13, 14 —водяныенасосы; 15 —фланцевыйотвод; 17 —нагнетательнаятруба; 19 —выпускнойколлектор; 20 —холодильникводы; 21 —обратныйфланцевыйклапан; 22 —патрубок; 24 —регулятортемпературыводы; / —сливпроточнойводы; II —сливциркуляционной воды
Подпиткаводойконтурациркуляционнойводы происходитизрасширительногобачкапотрубе 5.
Циркуляционныйконтурирасширительныйбачокзаполняютсяпреснойводойчерезтрубу 7. На бачке 6 дляконтролязауровнемводыпоставлены водомерныестекла 5 снанесенныминанихметками. Черезтрубку 9 нарасширительномбачкециркуляционныйконтурводянойсистемысообщаетсясатмосферой.
Расширительныйбачокдолженбытьустановлен так, чтобыднищеегобыловышеверхнейчастивыпускногоколлекторанеменеечемна 400мм.
Проточнаяводавсасываетсянасосом 13 ипопадаетвхолодильникиводыимасла. Сначалаона проходитчерезмаслянуюсекциюхолодильника, затемпоступаетвводяную, охлаждаетмаслоициркуляционнуюводуисливаетсяизхолодильника.
Фланцевыеотводы 15 всистемепредназначены дляподключениярезервныхсредств.
Приобъединеннойсистемеохлаждениянесколькихдизелеймогутбытьиспользованыобщиедля всейустановкиводяныенасосы, холодильникиирасширительныеемкости.
Устройствоиработарегуляторатемпературыводыизложенывинструкциизавода-изготовителя.
К системам смазки двигателя предъявляются следующие общие требования: своевременная подача необходимого количества масла к узлам трения для защиты их поверхностей от износа и коррозии (смазывающее и защитное действие);
· отвод тепла от трущихся поверхностей и деталей (терморегулирующее действие);
· удаление продуктов износа и нагара с поверхностей трения (моющее действие);
· очистка масел.
От того, насколько удовлетворяет отмеченным требованиям система смазки, в значительной степени зависят надежность и долговечность работы двигателя.
Вопрос 5. Системы управления комплексом двигатель-ВРШ: показать и кратко объяснить структурно-функциональные схемы: раздельного управления, системы твердой обработка связью, регулировка мощности, программное регулирование мощности двигателя и программно-экстримальное регулирование.
Ответ
На современных судах управление комплексами ГД — ВФШ и ГД — ВРШ осуществляется из рулевой рубки с помощью систем ДАУ.
Основной целью ДАУ является уменьшение трудозатрат судовой команды по управлению судном и повышение безопасности мореплавания путем повышения безопасной эксплуатации ГД при маневрировании, выполнения операций по управлению ГД в оптимальной последовательности, дающей возможность увеличить точность и скорость выполнения маневров, минимальной загрузки операторов (штурмана) на мостике и освобождения вахтенного механика от постоянного пребывания у поста управления ГД.
Системы ДАУ комплексов ГД — ВРШ имеют ряд специфических особенностей. Существуют системы ДАУ ГД — ВРШ, в которых каждому положению органа управления соответствует определенное сочетание частоты вращения и шага гребного винта. Однако эти установки неэкономичны и их можно считать морально устаревшими. В современных системах положение органа управления определяется сочетанием частоты вращения и нагрузки (крутящего момента) при изменении шага гребного винта. При этом обеспечивается с достаточной точностью требуемая скорость хода судна с наименьшим возможным удельным расходом топлива при различных нагрузках и условиях плавания судна и одновременное снижение возможной перегрузки ГД.
Так как в установках с ВРШ обычно применяются нереверсив-'ные дизельные двигатели, то упрощается схема его системы ДАУ (отсутствует канал управления реверсом). Однако появляется схема управления ВРШ, работающая совместно со схемой управления частотой вращения и нагрузкой ГД.
Принцип работы системы ДАУ пропульсивной установкой с ВРШ будет рассмотрен ниже на примере паротурбинной установки.
Новой ступенью автоматизации управления отечественных турбоходов является ДАУ комплекса двигатель — ВРШ судов типа «Кубань». Упрощенная структурная схема управления представлена на рис. 7. Значение упора ВРШ и его направление зависят от угла и направления разворота лопастей, а также от частоты вращения гребного вала. Разворот лопастей ВРШ осуществляется гидромеханическим механизмом изменения шага МИШ, а управление-воздействием на задатчик шага ЗШ. Заданный скоростной режим I I3A и греО-ного вала поддерживается регулятором частоты вращения нчь, включенным по всережимной схеме и воздействующим через маневровый клапан на подачу пара к ТВД. Воздействие на задатчики МИШ и РЧВ может производиться вручную с местных постов управления либо дистанционно.

Рис. 7. Схема ДАУ комплекса двигатель —ВРШ турбохода «Кубань»
В схеме предусмотрено ДАУ ВРШ и ГТЗА с главного поста управления (ГПУ) рулевой рубки судна или из ЦПУ машинного отделения, а в случае отказа ДАУ или при пуске ГТЗА из холодного состояния — раздельное дистанционное управление ВРШ и ГТЗА с пульта резервного управления ПРУ из ЦПУ.
При работе ДВС на ВРШ установка регулятора, включенного по всережимной схеме, обязательна, так как скоростной режим судна меняется не только изменением частоты вращения ВРШ, но и изменением угла разворота его лопастей. С уменьшением шага винтовые характеристики становятся пологими, нагрузка уменьшается и становится минимальной при нулевом развороте лопастей ВРШ, а регулятор поддерживает заданную частоту вращения в пределах неравномерности АСР.
В АСР дизель-генераторов устанавливают однорежимные регуляторы, обеспечивающие поддержание заданной частоты вращения вала и частоты тока в электрической сети в пределах допускаемой статической неравномерности, а включают их в работу по всережимной схеме.
Видом потребителя механической энергии и требованиями, предъявляемыми к качеству его работы, определяются требования к точности поддержания частоты вращения вала ДВС. Согласно. ГОСТ 10511—72 АСР с регуляторами прямого и непрямого действия делятся по точности на четыре класса.
Первый класс точности АСР обеспечивается однорежимпыми. регуляторами двухимпульсными (ОРД), устанавливаемыми на ДГ переменного тока с повышенными требованиями к качеству регулирования. На транспортных судах ОРД распространения пока не получили.
На ДГ судовых электростанций устанавливаются одноимпульс-ные однорежимные регуляторы непрямого действия (ОРН), обеспечивающие 2-й и 3-й классы точности АСР, либо однорежимные регуляторы прямого действия (ОРП), обеспечивающие 3-й и 4-й класс, точности АСР. Для каждого класса точности АСР установлены предельные значения динамического заброса частоты вращения от начальных значений по на установившемся режиме и длительности переходного процесса Тпп при полном мгновенном сбросе или увеличении нагрузки, а также нестабильности частоты вращения v.
Регуляторы ОРП и ОРН должны обеспечивать возможность установки степени неравномерности АСР в пределах не уже 2—4%.
АСР ГД с всережимными регуляторами непрямого (ВРН) и прямого (ВРП) действия должны обеспечивать динамический заброс частоты вращения не более 18% и длительность переходного процесса не более 10 с при мгновенном сбросе нагрузки. Нестабильность АСР при номинальной уставке задания ВРН или ВРП (т. е. при работе АСР по номинальной регуляторной характеристике) должна отвечать требованиям 3-го и 4-го классов точности, а степень неравномерности АСР не должна превышать 12%. Эти же требования предъявляются к АСР Регистром.
Вопрос 6. Судовые холодильные установки, их классификация по принципу работы и холодильному агенту. Определить холопроизводительность установки.
Ответ
Рассмотрим назначение, холодильных установок на судах различного типа.
Сохранение и обработка пищевых продуктов.
Холодильные машины наиболее широко применяются для сохранения пищевых продуктов при их перевозке на транспортных рефрижераторных судах, грузовые трюмы которых снабжены тепловой изоляцией и охлаждающими устройствами. Имеется также значительное количество судов, на которых только часть грузовых помещений оборудована под рефрижераторные перевозки. Для сохранения пищевых продуктов, предназначенных для питания команды и пассажиров, на всех судах, совершающих продолжительные рейсы, оборудуются специальные провизионные камеры с искусственным охлаждением. На многих судах рыбопромыслового флота холодильные машины используются не только для сохранения продуктов промысла, но и для их охлаждения или замораживания (траулерах, плавбазах, китобазах и т. д.).
Остановимся кратко на консервирующем действии холода и оптимальных условиях перевозки скоропортящихся грузов. Наиболее совершенный вид консервации, пригодный для любого скоропортящегося продукта,— его охлаждение или замораживание. При понижении температуры значительно замедляется развитие микроорганизмов и распад составных частей продуктов: белков, жиров и углеводов. Кроме того, охлажденные или замороженные пищевые продукты наилучшим образом сохраняют свои питательные и вкусовые качества, а также витамины.
При охлаждении пищевые продукты не доводятся до крио-скопической температуры, т. е. температуры замерзания соков, находящихся в их тканях.
При замораживании температура продукта понижается настолько, что все соки или часть их превращаются в кристаллы льда. Замораживание — более эффективный способ консервации, чем охлаждение;- позволяет хранить и перевозить груз в течение продолжительного времени. Это объясняется не только тем, что продукт приобретает более низкую температуру, но и тем, что благодаря превращению соков в кристаллы льда продукт как бы обезвоживается. Эти два обстоятельства в значительной мере препятствуют развитию бактерий.
Однако процесс замораживания продуктов не всегда обратим с процессом оттаивания (дефростацией). Некоторые продукты после дефростации не восстанавливают своих первоначальных качеств. Например, яйца не подвергаются замораживанию и перевозятся только в охлажденном состоянии.
Кроме температуры, на сохранность грузов большое влияние оказывает относительная влажность воздуха в охлаждаемых помещениях. При пониженной влажности воздуха замедляется развитие бактерий, но вместе с тем происходит значительная усушка большинства скоропортящихся грузов. Усушка не только связана с потерей веса, но зачастую приводит к снижению питательных свойств и ухудшению внешнего вида продукта.
Повышенная влажность способствует, даже при весьма низких температурах, развитию бактерий, а также интенсивному образованию плесени на поверхности продуктов и деревянной внутренней зашивке трюмов. Поэтому выбор величины влажности воздуха для охлаждаемых трюмов — весьма существенный вопрос. С плесенью и грибками борются обычно дезинфекцией и вентиляцией охлаждаемых помещений. Вообще искусственная вентиляция грузовых трюмов рефрижераторных судов желательна при перевозке почти всех грузов как один из эффективных методов борьбы с посторонними запахами.
Некоторые грузы подлежат обязательной вентиляции: к ним в первую очередь следует отнести фрукты и овощи, которые при хранении выделяют значительное количество углекислоты.
На сохранность груза влияет также циркуляция воздуха, обеспечивающая более равномерное распределение температуры и влажности воздуха в трюмах и препятствующая образованию зон, в которых может скапливаться затхлый воздух Интенсивность естественной циркуляции воздуха в трюме зависит от многих факторов, например, от высоты трюма, системы охлаждения, размещения охлаждающих батарей и т. д. На интенсивности циркуляции воздуха сказываются также способы укладки груза и погрузочные нормы. При очень высоких погрузочных нормах, или погрузочной плотности, трудно обеспечить нормальную циркуляцию воздуха.
В связи с необходимостью вентиляции охлаждаемых помещении и интенсивной циркуляции воздуха в них применяют воздушные системы охлаждения, обеспечивающие принудительную циркуляцию воздуха.
Выбор температуры и относительной влажности воздуха в грузовых охлаждаемых помещениях, а также кратности вентиляции и циркуляции воздуха в них зависит от рода перевозимого груза и сроков его перевозки.
Изготовление искусственного льда. На некоторых пассажирских судах устанавливают льдогенераторы для приготовления искусственного льда из пресной воды, который используется для бытовых и медицинских целей. Производительность таких льдогенераторов сравнительно невелика и, как правило, не превышает 200кг в сутки. Некоторые типы промысловых судов снабжают льдогенераторами для изготовления из забортной воды снежного и чешуйчатого льда, предназначенного для интенсивного охлаждения и кратковременного хранения улова ряд судов оборудован весьма мощными льдогенераторными устройствами (на некоторых краболовных судах общая суточная производительность льдогенераторов составляет 25г). Имеются также плавучие льдозаводы производительностью до 100г в сутки, снабжающие в море рыболовецкие суда льдом.
На большинстве рыбопромысловых судов для охлаждения рыбы пользуются дробленым естественным льдом. Однако применение льда, заготовляемого в естественных водоемах, мало приемлемо с санитарной и технологической точек зрения. Такой лед зачастую содержит значительное количество микроорганизмов и других вредных примесей. Пересыпка рыбы дробленым льдом, имеющим довольно крупные размеры, не обеспечивает хорошего контакта между льдом и телом рыбы; кроме того, крупные куски льда наносят рыбе механические повреждения. Поэтому наиболее целесообразным и эффективным является охлаждение и хранение рыбы в мелком чешуйчатом или снежном льде, изготовленном на борту судна.
Кондиционирование воздуха осуществляется с целью поддержания в помещениях наиболее благоприятных для человека так называемых комфортных условий. Эти условия в первую очередь определяются температурой и влажностью воздуха в сочетании с его скоростью движения, а также определенным химическим составом воздуха и очисткой его от вредных примесей. Кондиционирование воздуха является развитием техники отопления и вентиляции служебных (машинные отделения, рулевые рубки, камбузы, госпитали и т. д.) и бытовых (каюты, кают-компании, салоны, кинотеатры) помещений. Весьма существенное, а иногда и решающее значение имеет кондиционирование воздуха в помещениях, где расположены различные вычислительные приборы, так как точность результатов вычислений во многом зависит от постоянства температуры и влажности воздуха в этих помещениях. В некоторых приборах осуществляется непосредственное охлаждение отдельных деталей.
При кондиционировании воздуха в зимнее время года производятся его подогрев и увлажнение, а в летнее — охлаждение и осушка. Для этого на судах используются холодильные машины, которые в технике кондиционирования воздуха играют большую роль. Производительность холодильных машин, установленных на некоторых судах для кондиционирования воздуха, превышает 1 млн. ккал/час.
Следует сказать, что использование холодильных машин на судах не ограничивается перечисленными областями их применения. В некоторых случаях холодильные машины используются для охлаждения питьевой воды, грузовых танков бензиновозов и спиртовозов, для создания искусственных катков на крупных пассажирских лайнерах и других целей.
Перспективно использование холодильных машин для опреснения забортной воды путем вымораживания из нее кристаллов пресного льда.
Для получения пресной воды, а также отопления помещений весьма эффективно применение на-некоторых судах холодильных машин, работающих по циклу теплового насоса, так как в этом случае количество тепла, выдаваемого машиной, в несколько раз больше теплового эквивалента затрачиваемой электроэнергии.
В последние годы ведутся исследования по использованию холодильных машин в составе судовых энергетических установок для повышения их мощности и экономичности. Здесь намечаются два пути.
Первый путь — использование отбросного тепла для охлаждения трюмов и получения холода для систем кондиционирования воздуха с помощью так называемых теплоиспользующих холодильных машин, а также для получения дополнительной энергии в прямых циклах, где рабочим делом являются холодильные агенты.
Второй путь — охлаждение воздуха, подаваемого для сжигания топлива в двигателях внутреннего сгорания (ДВС) и газотурбинных установках (ГТУ). Так, испытания дизеля Д-50 показали, что при охлаждении наддувочного воздуха, имеющего давление 2 кГ/см2 , до 5° С мощность повысилась с 1200 до 1800 э. л. с. Эффективность применения холодильных машин для этих целей значительно возрастает, если холодильные машины работают за счет тепла отработавших газов.
Приведенными примерами не исчерпываются все возможности использования холодильных машин на судах. Развивающаяся газовая промышленность требует перевозки сжиженных газов (пропана, бутана, метана и т. д.), что выгоднее осуществлять без избыточного давления в емкостях, а для этого необходимо охлаждение газа до весьма низких температур, примерно до —160° С. В этом случае используют каскадные холодильные машины, которые, несмотря на значительные габариты и вес, оправдывают себя, так как перевозка газа под высоким давлением требует стальных танков с большой толщиной стенок. Кроме того, благодаря искусственному охлаждению значительно сокращаются потери газа.
Судовые холодильные установки, как и энергетические, в отличие от стационарных имеют ряд особенностей в отношении общего расположения охлаждаемых помещений, размещения оборудования и выбора его типа.
При проектировании и постройке стационарных холодильников желательно придавать им форму куба, чтобы при наибольшей емкости получить минимальную величину внешних ограждающих поверхностей. На судах общее расположение охлаждаемых грузовых помещений, соотношение их размеров и форма зависят от соотношения размеров корпуса судна и его формы, которые определяются мореходными качествами судна, необходимой прочностью корпуса, его живучестью, районом плавания и многими другими факторами. И все же при проектировании грузовых рефрижераторных судов следует по возможности стремиться к наиболее выгодному соотношению между объемом грузовых помещений и размерами ограждающих поверхностей.
На судах, где производят термическую обработку груза, расход холода через внешние ограждения по сравнению с расходом холода на охлаждение и особенно замораживание сравнительно мал, поэтому высказанные выше соображения имеют меньшее значение. В этом случае при выборе общего расположения грузовых охлаждаемых помещений следует считаться с поточностью технологического процесса и грузовых операций, производимых на судне.
Холодопроизводительность установки должна обеспечивать все статьи расхода холода на судах, причем наличие отдельных статей и их удельный вес зависят от назначения и типа судна.
Расход холода через изоляцию слагается из расхода холода через отдельные изолированные ограждения и зависит от их размеров, коэффициентов теплопередачи и разности температур между окружающими данную конструкцию средами. Таким образом, эта статья расхода холода может быть найдена из выражения
Q1 = kFt + kлин Pt + qп ккал/час,
гдеk — коэффициент теплопередачи отдельных изоляционных конструкций, ккал/м2 час град;
F — поверхность конструкций, м2 ;
kлин — линейный коэффициент теплопередачи на отдельных участках промежуточных палуб или переборок, ккал/м час град;
P — длина отдельных участков, м;
t — соответствующий этим участкам перепад температур,град.;
qп — теплоприток через один пиллерс, ккал/час.
Температура внутри охлаждаемых помещений tT выбирается в зависимости от рода перевозимого груза. Наружная температура ограждающих поверхностей tн выбирается в зависимости от средней температуры окружающей среды в наиболее теплое для данного района плавания время года. Температура настила второго дна и обшивки подводной части бортов принимается равной температуре забортной воды tw , а внешняя температура конструкций, граничащих с внутренними помещениями судна,— температуре этих помещений.
Несколько иначе обстоит дело с выбором температуры внешней поверхности открытой палубы и надводных бортов, подверженных солнечной радиации. Приближенный учет влияния солнечной радиации на температуру палубы и бортов применительно к рефрижераторным судам был произведен С. Д. Левен-соном и В. С. Мартыновским.
Если пренебречь отводом тепла по обшивке бортов в воду, то баланс тепла, отнесенный к 1м2 палубы,
qs = q1 + q2 ккал/м2 час,
где qs — количество излучаемого тепла на 1м2 ;
q1 — тепло, отдаваемое палубой наружному воздуху;
q2 — тепло, проходящее внутрь трюма. Величины q1 и q2 находят из выражений
q1 = (tп — th ); q2 = k (tп — tт )
где — коэффициент теплоотдачи от поверхности палубы к наружному воздуху, ккал/м2 час град;
k — коэффициент теплопередачи изоляции палубы, ккал/м2 час град;
tп , th и tт — соответственно наружная температура палубы, наружного воздуха и трюма, о C.
Опытные данные о влиянии солнечной радиации на тепло-притоки в трюмы рефрижераторных судов практически отсутствуют. Предварительные наблюдения, проведенные ЛКИ в августе на среднем рыбопромысловом траулере в южной части Каспийского моря, показали, что температура надводного борта при небольшой его высоте (около 1м) практически была равна температуре забортной воды; среднесуточная температура палубы при ширине ее 8 ж была на 50 C выше среднесуточной температуры воздуха.
Расход холода на охлаждение и замораживание груза. При расчете судовых холодильных установок транспортных рефрижераторных судов эту статью расхода холода обычно не учитывают, так как такие суда, как правило, принимают груз, уже охлажденный или замороженный в береговых холодильниках или на специальных судах. Эту статью расхода холода обычно учитывают на судах, где наряду с промыслом производится также переработка продуктов промысла (рыбопромысловые траулеры, боты, китобойные базы и др.). При небольшой продолжительности рейса (5—10 суток) обычно ограничиваются охлаждением, а при более длительных рейсах — замораживанием.
Расход холода на охлаждение или замораживание может быть вычислен по формуле
Q2 = G(iнач – ik )/ ккал/час
где G — вес груза, подлежащего охлаждению или замораживанию, кг;
iнач — начальная энтальпия груза, ккал/кг;
ik — конечная энтальпия груза, ккал/кг;
— время охлаждения или замораживания, час.
При охлаждении и замораживании рыбы на судах tнач принимают равной температуре забортной воды, которой она обычно промывается перед термической обработкой.
При определении расхода холода на охлаждение или замораживание груза, поступающего в таре, следует учитывать также расход холода на ее охлаждение.
Наиболее сложно определить время охлаждения или замораживания т, так как эта величина зависит от многих факторов (формы и размеров груза, его физических констант, способа охлаждения или замораживания, температурного режима и т. д.). Пользуясь теорией теплопередачи, можно вычислить величину т, однако точность такого вычисления весьма невелика. В практике обычно приходится пользоваться опытными данными, а при применении теоретических формул вносить поправки, полученные также из опыта.
Охлаждение или замораживание груза обычно производится в специальных аппаратах, которыми снабжены рыбодобывающие суда и плавучие базы. Однако доохлаждение или домораживание груза может осуществляться и в трюмах транспортных судов. Сколько-нибудь точный учет расхода холода на такую доработку груза произвести затруднительно, так как степень доохлаждения или домораживания зависит от случайных факторов.
Расход холода на вентиляцию охлаждаемых помещений зависит от кратности вентиляции, выбираемой в соответствии с родом перевозимого груза, размерами охлаждаемых помещений, а также температурными и влажностными условиями внутри трюмов и снаружи.
Этот расход может быть определен из выражения
Qs = nV/24v (iн – іт ) ккал/час,
где V — объем охлаждаемых помещений, м3 ;
п — кратность вентиляции в сутки;
iн — энтальпия наружного воздуха, ккал/кг;
іт — энтальпия воздуха в охлаждаемом помещении, ккал/кг;
v — удельный объем наружного воздуха при принятых условиях внутри помещения, м3 /кг.
Расход холода на приготовление льда. На рыбопромысловых судах с собственными льдогенераторами эта статья расхода составляет значительную долю от общего расхода холода. Расход холода на приготовление льда
Q4 = Gq ккал/час,
где G — часовая производительность льдогенераторов, кг;
q — расход холода на приготовление 1 кг льда, ккал/кг;
в зависимости от температуры воды, подлежащей замораживанию, и типа льдогенератора величина q колеблется в пределах 120—160 ккал/кг.
Расход холода, компенсирующий тепловыделения людей и освещения. Обычно в грузовых помещениях транспортных рефрижераторных судов эта статья расхода холода отсутствует, так как во время рейса трюмы закрыты.
При проектировании малых рыбопромысловых судов, в охлаждаемых помещениях которых производится обработка рыбы, а также судов, где совершаются частые погрузки и выгрузки, эту статью расхода холода рекомендуется учитывать. То же самое можно сказать и о провизионных камерах, часто посещаемых людьми. Расход холода определяется из выражения
Q5 = qm + 0,86WCB ккал/час,
где q — тепловыделение одного человека, составляющее в среднем 200 ккал/час;
т — количество работающих людей;
WCB — мощность установленных светильников, вт.
Расход холода, эквивалентный работе механизмов. Эта статья расхода холода слагается из тепловыделений механизмов, установленных внутри охлаждаемых помещений и непосредственно входящих в состав установки. К последним можно отнести рассольные насосы и мешалки, а также вентиляторы, подающие в трюмы охлажденный воздух. В этом случае часовой расход холода
Q6 = 860 (1 — дв ) Nдв ккал/час,
где дв — к. п. д. двигателя;
Nдв — мощность двигателя, кет;
— коэффициент одновременности работы оборудования.
При рассольном охлаждении суммарная мощность рассольных насосов невелика, и поэтому величина Q6 составляет 10— 15% от общего расхода холода. При воздушной системе охлаждения благодаря мощным вентиляторам она достигает 25%. Обычно при проектировании крупных рефрижераторных судов определение величины Q6 производится методом последовательных приближений. Приняв вначале величину Q6 приближенно, вычисляют холодопроизводительность установки как сумму всех статей расхода холода, а затем производят уточнение этой величины.
Прочие статьи расхода холода включают различные неучтенные выше потери, к которым в первую очередь следует отнести расход холода через изоляцию испарителей, воздухоохладителей, трубопроводов и воздухопроводов, расположенных вне охлаждаемых помещений. Утечка холода через всевозможные металлические подвески и кронштейны, а также через неплотности в грузовых люках и дверях учитывается при проектировании увеличением расчетной холодопроизводительности на 20—30%.
Расчетная холодопроизводительность. Все статьи расхода холода на охлаждаемые помещения учитывают по этим помещениям отдельно, и их сумма служит для установления теплопередающей поверхности охлаждающих приборов в каждом помещении.
Холодопроизводительность машины (компрессоров) складывается из суммы тепловых нагрузок по всем охлаждаемым помещениям, тепловых нагрузок, связанных с термообработкой груза, изготовлением льда, а также других нагрузок, вызываемых дополнительным расходом холода на потери через изоляцию испарителей, трубопроводов, воздухопроводов и другого оборудования, расположенного вне охлаждаемых помещений. Эти потери составляют 10—30% от суммарного расчетного расхода холода.
В случае, если объекты охлаждения требуют поддержания различных температур, отдельные статьи расхода холода суммируют по одинаковым или близким' температурам обычно в пределах ±2-:-±3 о С.
Литература
1. И.В.Вознизкий «Судовые двигатели внутреннего сгорания», М., Транспорт, 1979, 413 стр.
2. В.С.Онасенко «Автоматизация судовых энергетических установок», М., Транспорт, 1981,270 стр.
3. А.М.Манькова «Судовые паро-энергетические установки», М., Транспорт, 1989,237 стр.
4. А.П.Добровольский «Судовые холодильные машины и установки», Ленинград, Судостроение,1969,252 стр.
5. Н.Н. Соловьев «Судовые электро-энергетические системы», М., Транспорт, 1987