| Скачать .docx |
Курсовая работа: Расчет грузоподъемных машин
Расчет грузоподъемных машин
ВВЕДЕНИЕ
Грузоподъемные машины являются составной частью каждого производства и играют важную роль в механизации погрузочных работ.
Курсовое проектирование грузоподъемных машин – первая самостоятельная разработка машины в целом с взаимосвязанными механизмами, способствующая дальнейшему развитию у студентов конструкторских навыков. При работе над проектом возникает много вопросов по выбору схемы и параметров механизмов, их компоновки, последовательности расчета и т.д. В методических указаниях приведены необходимые рекомендации и нормативные данные, некоторые справочные материалы и последовательность расчета.
Расчетную часть проекта выполняют в виде пояснительной записки, которая должна содержать: задание на проект; введение; схемы механизмов тележки с описанием их назначения, устройства и особенностей; расчет механизмов, узлов и деталей с приведением расчетных схем и обоснованием принятых параметров и допускаемых напряжений (расчеты сопровождают ссылками на литературу); список использованной литературы; оглавление, содержащее наименование всех основных разделов записки (помещают в конце ее).
Пояснительную записку выполняют на листах писчей бумаги формата А4 (297 . 210) в соответствии с ЕСКД. Текст пишут чернилами, схемы и эскизы выполняют в карандаше под линейку с проставлением всех размеров и обозначений. При использовании стандартных и нормализованных узлов в записке приводят их характеристику.
В аналитических расчетах сначала записывают формулу в буквенных выражениях, а затем подставляют числовые значения и записывают результаты. Промежуточные вычисления не приводят. Все символы, входящие в формулы, должны иметь объяснения в тексте. Ссылки на литературные источники, стандарты и нормали заключают в квадратные скобки, эти ссылки должны соответствовать прилагаемому в конце записки списку литературы.
МЕХАНИЗМ ПОДЪЕМА
Последовательность расчета
1. Принять схему механизма, вычертить его с заданным типом крюковой подвески (приложения, рис П.1), привести его описание.
2. Выбрать канат, блоки, барабан, крюк, упорный подшипник (устанавливается под гайку крюка).
3. Составить эскиз крюковой подвески и рассчитать ее элементы – траверсу, ось блоков, подшипники блоков и серьгу (рис. П.2).
4. Выполнить кинематический и силовой расчет привода механизма: выбрать двигатель, редуктор, тормоз, муфты, проверить двигатель на нагрев по среднеквадратичному моменту с учетом графика загрузки механизма (рис.П.5) и двигателя (рис.П.6).
5. Определить размеры барабана и проверить на прочность его элементы.
Методика расчета
Задано: грузоподъемность
(т), высота подъема
(м), скорость подъема
(м .
с-1
), количество ветвей полиспаста
, режим работы, тип крюковой подвески.
1. Схема механизма[1] (рис.1)
Электродвигатель 4 переменного тока соединяется через вал – вставку 3 с помощью зубчатых муфт с двухступенчатым редуктором 1. Редукторная полумуфта 2 вала вставки используется как тормозной шкив нормально замкнутого колодочного тормоза. Выходной вал редуктора соединятся с барабаном 5 также зубчатой муфтой, у которой одна из полумуфт выполняется как одно целое с валом редуктора, а вторая – крепится непосредственно к барабану. На барабан навивается канат со сдвоенного полиспаста.
2. Канат, блок, крюк, гайка крюка и упорный подшипник
Кратность полиспаста
![]()
где
- количество канатов полиспаста, наматываемых на барабан; для сдвоенного полиспаста
.
КПД полиспаста[2]
,
где
- КПД блока; принимаем
= [1, табл.2.1.].
Максимальное натяжение каната
![]()
Расчетная разрывная сила
,
где
- коэффициент запаса прочности; по правилам[3]
Госгортехнадзора
[1, табл. 2.3] при режиме работы. Выбираем канат [1, табл. ] типа конструкции ГОСТ :диаметр каната
= мм, разрывная сила
= при маркировочной группе .
Условное обозначение: канат [1, с. 56].
Диаметр блока (барабана)
,
где
- коэффициент долговечности каната; принимаем
[1,табл.2.7]при режиме работы.
Выбираем [ , табл. П.1] диаметр блока по дну ручья
, при длине ступицы
мм.
Выбираем[4]
диаметр барабана (по дну канавок)
мм [ ].
Для номинальной грузоподъемности
т и режиме работы выбираем [ , табл.П.2] однорогий крюк
по ГОСТ с размерами:
,
,
,
,
мм, резьба .
Высота гайки крюкаиз
условия прочности на смятие резьбы
=
где
и
- параметры резьбы;
- допускаемое[5]
напряжение; для резьбы
,
,
мм [2, табл.14],
= МПа [];
конструктивных[6]
соображений
=
принимаем
= мм [3]
Наружный диаметр гайки
![]()
принимаем
мм [3]
Расчетная нагрузка на упорный подшипник
,
где
- коэффициент безопасности, принимаем[7]
![]()
Выбираем[8]
[2, табл. 15] шарикоподшипник упорный одинарный ГОСТ 6874-75:
,
,
мм,
кН.
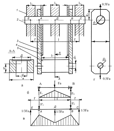
3. Крюковая подвеска[9]
Нормальная подвеска состоит из блоков 2, оси блоков 1, траверсы 4 и серег 3 (рис. 2).
3.1 Конструктивные размеры[10] :
Ширина траверсы
![]()
где
- наружный диаметр упорного подшипника
принимаем
мм [3]
диаметр[11] отверстия
![]()
принимаем
мм
длина[12]
траверсы ![]()
принимаем
= мм
пролет траверсы
,
где
- толщина серьги; принимаем
= мм [табл. П.3]
принимаем
= мм
длина консоли
![]()
принимаем
= мм.
Расстояния
![]()
![]()
принимаем
,
мм
3.2 Траверса
Для изготовления выбираем сталь по ГОСТ :
,
,
МПа (табл.4)
Допускаемое напряжение изгиба при пульсирующем цикле изменения напряжений
,
где К – коэффициент концентрации напряжений;
- запас прочности; принимаем[13]
К= [2, табл. 15],
(табл. П.5)
Реакции опор
![]()
![]()
Изгибающие моменты в сечении
АА ![]()
ББ ![]()
Высота траверсы из расчета на изгиб
![]()
принимаем
мм [3]
Диаметр цапфы из расчета на
изгиб 
смятие
,
где
- допускаемое напряжение; принимаем[14]
= МПа.
принимаем[15]
= мм.
3.3 Ось блоков
Для изготовления применяем[16]
сталь по ГОСТ :
= ,
,
МПа (табл.П.4).
Реакции опор
Н.
Изгибающие моменты[17]
Диаметр[18]
оси 
принимаем
= мм
Подшипники блоков
Радиальная нагрузка на подшипник
,
где
- число блоков подвески;
= .
Эквивалентная нагрузка
![]()
где
- нагрузки, соответствующие времени их действия
за весь срок службы подшипника
; принимаем
,
,
,
(рис. П.2).
Приведенная нагрузка
,
где
- коэффициент радиальной нагрузки,
- кинематический коэффициент вращения,
- температурный коэффициент; принимаем при действии только радиальной нагрузки
, при вращении наружного кольца подшипника
, при температуре ![]()
![]()
Частота[19] вращения блоков
, мин-1
Требуемая[20] динамическая грузоподъемность шарикового однорядного подшипника
,
где
- срок[21]
службы подшипника;
[1, с.19].
Выбираем[22]
шарикоподшипник радиальный однорядный :
,
,
мм, С = кН [2].
3.4 Серьга
Для изготовления серьги выбираем[23]
сталь по ГОСТ :
,
,
МПа (табл. П.4.).
Допускаемое напряжение на растяжение ![]()
Допускаемое напряжение на смятие
МПа
ширина серьги
;
принимаем
мм [3]
высота проушины
;
принимаем
мм [3]
Напряжение растяжения
,
что меньше (больше)
МПа.
Напряжение в проушине[24]
,
где
- давление в зоне контакта[25]
(оси, цапфы) и серьги; принимаем
МПа.
4. Привод механизма
4.1 Двигатель
Расчетная мощность
,
где
- КПД механизма; принимаем[26]
[1, табл.1.18].
Выбираем[27]
электродвигатель ; номинальная мощность при ПВ = %
кВт, частота вращения
мин-1
, момент инерции ротора
= кг×м2
, максимальный (пусковой) момент ![]()
, размер
, диаметр вала
мм [].
Условное обозначение: двигатель [1, с. 38].
4.2 Редуктор
Частота вращения барабана[28]
, мин-1
Передаточное отношение
![]()
Минимально возможное суммарное межосевое расстояние редуктора
,
где
- габаритный размер барабана с учетом узла крепления каната на барабане; принимаем при
=
= мм [1, табл.ІІІ. 2.1].
Выбираем[29]
редуктор : межосевое расстояние
мм, передаточное число
, мощность на быстроходном валу при режиме работы и частоте вращения
мин-1
кВт, диаметр быстроходного вала
мм [ ], размеры выходного вала с зубчатым венцом
,
,
, модуль
мм, число зубьев
= [2, табл.6].
Условное обозначение: редуктор [1, с.41].
Предельно допустимый момент редуктора
![]()
где к – коэффициент режима работы; принимаем прирежиме работы к = [1, с.41].
Средний пусковой момент двигателя
,
где
- номинальный момент двигателя;
, Н .
м
Таким образом, принятый редуктор[30] условиям перегрузки в период пуска
Фактическая скорость подъема груза
, ![]()
Отклонение[31] от заданной скорости
![]()
4.3 Тормоз
Статический момент при торможении
![]()
Тормозной момент
,
где
- коэффициент запаса торможения; принимаем
= при режиме работы [1, табл.2.9].
Выбираем[32]
тормоз с тормозным моментом
Н×м [ ].
4.4 Муфты вала – вставки
Расчетный момент
,
где
- коэффициенты, учитывающие соответственно степень ответственности механизма и режима работы,
- номинальный момент на валу двигателя; принимаем [1, табл.1.35] для механизма подъема
, при режиме работы
.
Выбираем[33]
муфту зубчатую с тормозным шкивом (табл.П.6.): момент [Т] = Н×м, диаметр тормозного шкива
, диаметр отверстия шкива
, диаметр отверстия полумуфты
мм, момент инерции ![]()
.
Условное обозначение: муфта зубчатая с тормозным шкивом [1, с.41…43].
Выбираем[34]
муфту зубчатую
типа МЗП (табл.П.7) по ГОСТ : момент ![]()
, диаметр отверстия
,
мм, момент инерции ![]()
.
Условное обозначение: муфта зубчатая МЗП [1, с.41…43].
4.5 Проверка электродвигателя на нагрев
4.5.1 Кран работает с грузовым электромагнитом. В этом случае подъемная сила электромагнита
![]()
Выбираем[35]
грузовой электромагнит типа [табл. П.8]: подъемная сила
кН, масса
= т.
Полезная номинальная грузоподъемность
![]()
В соответствии с графиком загрузки механизма подъема (рис. П.5)
![]()
![]()
,
где
- относительная[36]
масса груза; для режимаработы
,
,
.
КПД[37] механизма [1, рис. 1.2]
![]()
при ![]()
при ![]()
Угловая скорость вала двигателя
![]()
Статический момент[38] на валу двигателя при подъеме груза
, ![]()
При опускании груза
, ![]()
Момент инерции движущихся масс, приведенный к валу двигателя,
, ![]()
где
- коэффициент, учитывающий моменты инерции масс механизма, вращающихся медленнее, чем вал двигателя; принимаем[39]
.
Время пуска[40] при
подъеме груза
![]()
опускании груза
![]()
Результаты расчета сведены в таблицу
| Показатель | Обозначение | Единица | Результаты при массе, кг | ||
| КПД | - | ||||
| Момент при подъеме | |||||
| Момент инерции | |||||
| Время пуска при подъеме | С | ||||
| Момент при опускании | |||||
| Время пуска при опускании | С | ||||
Среднеквадратичный момент
,
где
- суммарное время пуска в течении одного цикла,
- время установившегося движения,
- коэффициент, учитывающий ухудшение условий охлаждения двигателя при пуске,
- общее время установившегося движения; принимаем для закрытого двигателя
[1, с.36],
(здесь Н – высота подъема груза), с учетом графика загрузки электродвигателя (рис. П.6)
,
,
![]()
Эквивалентная мощность[41] , кВт
, кВт
Ускорение[42] при пуске, м . с-2
, ![]()
Время[43] торможения при опускании номинального груза
, с
Путь торможения [1, табл. 1.22]
![]()
Замедление при торможении
, ![]()
4.5.2
Кран работает без магнита. В этом случае
и
,
,
,
.
Далее расчет выполнить по приведенной выше методике (П.4.5.1.).
5. Узел барабана (Рис. 3)
Размеры:
диаметр[44]
по дну канавок
мм.
шаг нарезки
мм [1, табл. 2.8.].
длина участка барабана для узла крепления конца каната
3![]()
длина нарезки на половине барабана
.
Принимаем
мм.
длина[45]
участка между нарезками
=
Расчетная длина барабана
.
Принимаем[46]
мм.
Свободные участки по краям барабана
![]()
5.1 Сварной барабан
Изготовляем из стали ГОСТ :
,
МПа (табл. П.4.)
Толщина[47] стенки из расчета на сжатие
,
где
- допускаемое напряжение;
[1, с.62].
Толщина стенки из конструктивных соображений
![]()
принимаем[48]
мм [3].
5.1.1 Эскизная[49] компановка (рис. 3)
По диаметру расточки
мм (табл.П.9) выходного вала редуктора выбираем[50]
радиальный сферический двухрядный подшипник [2, табл.] :
,
,
,
мм,
,
кН. Совмещаем на общей оси середину подшипника, зубчатого венца вала редуктора 2 и венца 1 барабана [2, табл.13]. Торец барабана оказывается на расстоянии
мм [1, табл. ІІІ.2.1] от этой оси.
Основные размеры[51]
![]()
![]()
![]()
![]()
Принимаем
мм
Из компоновки ![]()
5.1.2 Прочность барабана
Рассматриваем барабан как балочку на шарнирно-подвижных опорах А и В, к которой приложены силы[52]
.
Реакции опор (по уравнениям статики)
![]()
![]()
![]()
![]()
Проверка ![]()
Изгибающие моменты ![]()
Крутящие моменты
.
Эквивалентный момент
![]()
![]()
Эквивалентное напряжение[53] в стенке
![]()
,
где
- эквивалентный момент сопротивления поперечного сечения барабана изгибу
![]()
Здесь ![]()
5.1.3 Прочность полуоси
Выполняем для правой (по рис.3) полуоси, имеющей большие осевые размеры. Выбираем материал сталь ГОСТ с пределом текучести
МПа (табл. П.4.)
Изгибающий момент в сечении АА
![]()
Напряжение изгиба
![]()
![]()
5.1.4 Прочность сварного шва

![]()
где
- катет шва; принимаем
.
5.1.5 Долговечность опор
Проверяем для опоры В, т.к. этот подшипник вращается[54] .
Частота вращения[55] барабана
, мин-1
Требуемая динамическая грузоподъемность
![]()
кН
где
- см. п. 3.4.
5.1.6 Крепление конца каната
Выполняем прижимной планкой с полукруглой канавкой [2, табл. 8] для каната диаметром
мм. Планка крепится винтом М из стали (
МПа.)
Натяжение каната в месте крепления[56]
,
где
- коэффициент трения между канатом и барабаном,
- угол обхвата барабана неприкосновенными витками; принимаем
,
[1, с.63].
Сила затяжки винта
,
где
- число болтов в креплении,
- коэффициент трения между канатом и планкой,
- угол обхвата барабана витком крепления каната; принимаем[57]
,
,
[1, с.63].
Сила, изгибающая винт,
![]()
Суммарное напряжение в каждом винте[58]
,
где
- коэффициент надежности крепления,
- расстояние от головки винта до барабана,
- внутренний диаметр резьбы винта; принимаем
,
мм,
.
5.2 Литой барабан
Изготавливаем из серого чугуна ГОСТ (табл. П.4) с пределом прочности сжатия
МПа.
Толщина стенки из расчета на сжатие
,
где
- допускаемое напряжение; для чугуна
.
Толщина[59] стенки из условия технологии изготовления литых барабанов
![]()
Принимаем[60]
мм [3].
5.2.1 Эскизная компановка[61] (рис. ).
По диаметру расточки
мм (табл.П.9) выходного вала редуктора[62]
выбираем[63]
:
,
,
,
мм,
,
кН. Совмещаем на общей оси
середину подшипника, зубчатого венца 1 вала редуктора и венца 2 барабана [2, табл.13].
Основные размеры[64]
![]()
![]()
![]()
![]()
принимаем
мм.
Из компоновки
,
= ,
,
,
мм.
5.2.2 Прочность барабана
Рассматриваем барабан как балочку на шарнирно-подвижных опорах А и В, расположенных по середине ступиц барабана.
Реакции опор
![]()
![]()
![]()
![]()
Проверка ![]()
Изгибающие моменты
![]()
Крутящие моменты
![]()
Эквивалентные моменты
![]()
![]()
Эквивалентное напряжение[65] в стенке
![]()
,
где
- эквивалентный момент сопротивления поперечного сечения барабана изгибу
,
где ![]()
5.2.3 Прочность оси
Для изготовления принимаем сталь ГОСТ с пределом текучести
МПа [ ].
Реакции опор
![]()
![]()
Проверка ![]()
Изгибающие моменты
![]()
![]()
Расчетное напряжение[66]

т
,
где
- диаметр оси.
МЕХАНИЗМ ПЕРЕДВИЖЕНИЯ ТЕЛЕЖКИ
Последовательность расчета
1. Выбор схемы механизма, ее описание.
2. Выбор массы тележки, ходовых колес и определение сопротивления передвижению.
3. Выбор электродвигателя, редуктора, муфт, тормоза.
4. Проверка двигателя на пусковой режим и устойчивость процесса пуска.
5. Проверка двигателя на нагрев.
6. Расчет ходовых колес.
Если по условиям пуска получаются неприемлемые время пуска и ускорение, принять более мощный двигатель, проверить пригодность ранее принятых редуктора (по
и
) и тормоза (по
).
Методика расчета
Задано: грузоподъемность
(т), скорость передвижения
(
), режим работы.
1. Схема[67] механизма (рис.4).
Электродвигатель через муфту соединен с вертикальным редуктором ВК. Выходной вал редуктора муфтами и промежуточными валами соединен с ходовыми колесами.
2. Сопротивление передвижению
Масса тележки
[1. с. 13].
Наибольшая нагрузка на одно колесо
![]()
где
- количество колес тележки; принимаем
= 4.
Выбираем[68]
[1, табл.III.2.3] при заданной скорости передвижения ![]()
и режиме работы колесо : диаметр
мм, допускаемая нагрузка
кН, тип рельса . В опорах колеса установлены подшипники[69]
(табл.П.10) с внутренним диаметром
мм; диаметр реборд
мм (табл.П.10).
Сопротивление передвижению с номинальным грузом
, кН,
где
- коэффициент трения в опорах колеса,
- коэффициент трения качения колеса по рельсу,
- коэффициент, учитывающий трение реборд о рельс,
- уклон пути; принимаем
[1, с.33],
мм при
мм и рельсе[70]
с головкой [1, табл.1.28],
при подшипниках качения [1, с.33],
[1, табл. 2.10].
3. Выбор элементов привода
3.1 Электродвигатель
Статическая мощность привода
, кВт ,
где
- КПД механизма передвижения; принимаем
[1, табл. 1.18]. Выбираем[71]
[1, табл.ІІІ.3.5] двигатель : номинальная мощность при ПВ = %
кВт, частота вращения
мин-1
, максимальный (пусковой) момент ![]()
, момент инерции редуктора ![]()
, мощность при ПВ = 25%
кВт, диаметр вала
, высота центров
мм [1, табл. ІІІ.3.6].
Условное обозначение: [1, с.38].
3.2. Редуктор
Частота вращения ходовых колес
, мин-1
Передаточное отношение привода
![]()
Минимально возможное суммарное межосевое расстояние редуктора
![]()
Выбираем[72]
[ ] редуктор : передающая мощность
кВт при режиме работы, частота вращения
мин-1
. передаточное число
, диаметр входного вала
мм [ ], диаметр выходного вала
мм [ ].
Фактическая скорость передвижения
, ![]()
3.3 Муфта на быстроходном валу
Номинальный момент на валу
![]()
Расчетный момент
,
где
- коэффициент, учитывающий степень ответственности механизма,
- коэффициент, учитывающий режим работы; принимаем [1, табл.1.35]
,
.
Выбираем[73]
муфту [ ]: номинальный момент ![]()
, момент инерции ![]()
, диаметр отверстий
и
мм.
3.4 Муфта на тихоходном валу
Расчетный момент
,
где
- момент на валу редуктора.
,
где
- КПД редуктора; принимаем
. [1, табл. 1.18]
Выбираем муфту [ ] ; ![]()
, ![]()
,
,
мм.
3.5 Тормоз
Максимально допустимое замедление при движении тележки без груза
![]()
где
- число приводимых колес,
- коэффициент сцепления ходовых колес с рельсами; принимаем
,
[1, с.33].
Время торможения
![]()
Сопротивление[74] передвижению тележки без груза при торможении

Тормозной момент при движении без груза

Выбираем[75]
тормоз с тормозным моментом ![]()
, который следует отрегулировать до
.
Рекомендуемая длина пути торможения
[1, табл. 1.23],
где
.
Фактическая длина пути торможения
![]()
4. Проверка пускового режима двигателя
Максимально допустимое ускорение при пуске

где
- минимально допустимое значение коэффициента запаса сцепления; принимаем
[1, табл. 1.27].
Наименьшее допускаемое время пуска
![]()
Средний пусковой момент двигателя
![]()
где
- минимальная кратность пускового момента; принимаем
= [1, с.35].
Сопротивление передвижению при работе без груза

Статический момент при работе без груза
![]()
Момент инерции вращающихся масс привода
![]()
Фактическое время[76] пуска при работе без груза

Фактическое ускорение[77] при пуске и работе без груза
![]()
Фактический запас[78] сцепления приводных колес с рельсами при работе без груза

5. Проверка[79] двигателя на нагрев
Статический момент на валу двигателя при номинальной нагрузке
![]()
Коэффициент перегрузки двигателя
![]()
Перегрузочная способность двигателя
![]()
Момент инерции движущихся масс, приведенный к валу двигателя

Время пуска
![]()
где
- относительное время пуска[80]
; принимаем при
и
[ ],
.
Среднее время рабочей операции
,
где
- средний путь[81]
передвижения тележки.
Расчетный коэффициент
.
Эквивалентная по нагреву мощность[82] при ПВ = 25%.
![]()
где
- коэффициент, учитывающий относительную продолжительность включения,
- коэффициент[83]
влияния пускового момента на эквивалентную мощность; принимаем
[1, табл. 1.32] при режиме работы,
при
[1, рис. 1.6, кривая ].
6. Узел ходовых колес
Нагрузка[84] на одно колесо
![]()
Расчетная нагрузка
![]()
где
- коэффициент режима работы,
- коэффициент, учитывающий переменность нагрузки; принимаем
[5, табл. 34],
![]()
Напряжение смятия [5, с. 116]
Подшипники опор[85] .
СПИСОК ЛИТЕРАТУРЫ
1. Кузьмин А.В., Марон Ф.Л. Справочник по расчетам механизмов подъемно-транспортных машин.-Мн.: Высшая школа, 1983-350 с., ил.
2. Погорелов С.В. Методические указания по конструктированию узлов тележки электромостового крана – Запорожье: ЗИИ, 1990-72 с., ил.
3. ГОСТ 6636-69 «Нормальные линейные размеры».
4. Перель Л.Я. Подшипники качения. Справочник – М.: Машиностроение, 1983-543 с., ил.
5. Расчеты грузоподъемных и транспортирующих машин. Иванченко Ф.К. и др. – К.: Выща школа, 1978-576 с., ил.
ПРИЛОЖЕНИЕ
Таблица П.1
Размеры канатных блоков, мм
| Диаметр каната | Диаметр по дну канавки | Длина ступицы | Диаметр каната | Диаметр по дну канавки | Длина ступицы |
| От 11 до 14 | 320-400 450 |
60 70 |
Свыше 14 до 20 | 320, 400, 450 500, 560, 630 |
70 80 |
Таблица П.2
Крюки однорогие (ГОСТ 6627-74)
| Номер заготовки крюка | Грузоподъемность для режимов, т | Размеры, мм | |||||||
| Легкого, среднего | тяжелого | ||||||||
| 13 | 5.0 | 4.0 | 75 | 48 | 75 | М42 | 45 | 10 | 37.129 |
| 14 | 6.3 | 5.0 | 85 | 54 | 32 | М48 | 50 | 12 | 42.587 |
| 15 | 8.0 | 6.3 | 95 | 60 | 90 | М52 | 55 | 13 | 46.587 |
| 16 | 10.0 | 8.0 | 110 | 65 | 100 | М56 | 60 | 13 | 50.046 |
| 17 | 12.5 | 10.0 | 120 | 75 | 115 | М64 | 70 | 14 | 57.505 |
| 18 | 16.0 | 12.5 | 130 | 80 | 130 | Трап 70Х10 | 80 | 16 | 59.0 |
| 19 | 20.0 | 16.0 | 150 | 90 | 150 | Трап 80Х10 |
90 | 18 | 69.0 |
| 20 | 25.0 | 20.0 | 170 | 102 | 164 | Трап 89Х12 | 100 | 20 | 77.0 |
| 21 | 32.0 | 25.0 | 190 | 115 | 184 | Трап 100Х12 | 110 | 23 | 87.0 |
Таблица П.3
Толщина серьги
| Грузоподъемность |
5.0 | 6.3 | 8.0 | 10.0 | 12.5 | 16.0 | 20 | 25 |
| Толщина серьги |
10 | 12 | 14 | 16 | 16 | 18 | 20 | 24 |
Таблица П.4
Механические свойства материалов, МПа
| Материал | Предел прочности |
Предел текучести |
Предел выносливости |
| СЧ 15-32 | 150 | - | - |
| СЧ 18-36 | 180 | - | - |
| ГОСТ 1050-74 | |||
| 20 | 420…500 | 250 | 170…220 |
| 45 | 610…750 | 360 | 250…340 |
| ГОСТ 4543-61 | |||
| 40 | 730…1050 | 650…900 | 320…480 |
| ГОСТ 380-60 | |||
| Ст 3 | 380…470 | 210…240 | - |
| Ст 5 | 500…620 | 260…280 | - |
Таблица П.5
Запас прочности
.
| Тип крана | Режим работы | ||
| Легкий | Средний | Тяжелый | |
| Крюковой | 1.4 | 1.6 | 1.7 |
| Магнитный | 1.3 | 1.5 | 1.6 |
Таблица П.6
Муфты зубчатые с тормозным шкивом
| Параметры | Диаметр тормозного шкива, мм | |||
| 200 | 300 | 400 | 500 | |
| Предельный момент [Т], Нм | 700 | 3150 | 5600 | 8000 |
Момент инерции кг м2 |
0.0763 | 0.471 | 1.375 | 3.56 |
Диаметр отверстия, мм шкива полумуфты |
50…69.5 40…55 |
50…69.5 40…55 |
60…89.5 55 |
90 65 |
Таблица П.7
Муфта зубчатая типа МЗП ГОСТ 5006-55
| Номер муфты | Диаметр отверстия полумуфты, не более, мм | Предельный момент [Т], Н . м |
Момент инерции кг . м2 |
|
| Зубчатой |
||||
| 1 | 40 | 60 | 700 | 0.061 |
| 2 | 50 | 70 | 1400 | 0.1195 |
| 3 | 60 | 90 | 3150 | 0.2215 |
| 4 | 75 | 100 | 5600 | 0.458 |
| 5 | 90 | 120 | 8000 | 0.891 |
Таблица П.8
Масса и подъемная сила электромагнитов
| Тип электромагнита | Масса |
Подъемная сила |
| М22 | 0.55 | 60.0 |
| М42 | 1.56 | 160.0 |
| М62 | 5.20 | 300.0 |
| М62 Б | 3.50 | 200.0 |
| ПМ 15 | 1.55 | 100.0 |
Таблица П.9
Диаметр и предельная консольная нагрузка выходного вала редуктора типа Ц2
| Суммарное межосевое расстояние |
Диаметр |
Консольная нагрузка |
||
| Легкий | средний | тяжелый | ||
| 250 | 75 | 12 | 18 | 12.5 |
| 300 | 80 | 20 | 22.5 | 14 |
| 350 | 110 | 32 | 25 | 18 |
| 400 | 110 | 32 | 25 | 20 |
| 500 | 150 | 50 | 40 | 25 |
| 650 | 160 | 63 | 71 | 45 |
| 750 | 200 | 100 | 125 | 63 |
Таблица П.10
Подшипники радиальные сферические двухрядные опор ходовых колес
| Диаметр колеса |
160 | 200 | 250 | 320 | 400 | 500 | 560 | 630 |
| Подшипник | 1607 | 1609 | 3610 | 3612 | 3616 | 3620 | 3622 | 3624 |
| Диаметр реборд колеса |
190 | 230 | 290 | 360 | 450 | 550 | 600 | 680 |
Таблица П.11
Редуктор типа ВКН
| Типоразмер редуктора | Диаметр быстроходного вала | Передаточное число | Максимальная мощность |
|||||
| л | с | т | л | с | Т | |||
| ВКН-280 | 25 | 10 | 4.3 | 2.0 | 1.8 | 6.0 | 2.0 | 1.9 |
| 16 | 3.0 | 1.4 | 1.2 | 4.0 | 1.7 | 1.5 | ||
| 31.5 | 1.4 | 1.0 | 0.9 | 1.9 | 1.0 | 0.9 | ||
| 50 | 0.9 | 0.7 | 0.6 | 1.0 | 0.8 | 0.7 | ||
| ВКН-320 | 25 | 12.5 | 6.5 | 3.1 | 2.7 | 8.1 | 3.4 | 3.0 |
| 20 | 3.6 | 2.4 | 1.8 | 5.6 | 2.8 | 2.2 | ||
| 40 | 2.5 | 1.7 | 1.2 | 2.8 | 1.8 | 1.2 | ||
| 63 | 1.2 | 0.9 | 0.7 | 1.7 | 1.1 | 0.7 | ||
| ВКН-420 | 25 | 16 | 7.8 | 5.0 | 4.8 | 9.1 | 6.0 | 6.5 |
| 25 | 5.0 | 3.5 | 3.0 | 6.1 | 4.9 | 4.4 | ||
| 50 | 2.8 | 2.1 | 1.6 | 3.5 | 2.8 | 2.2 | ||
| 80 | 2.3 | 1.8 | 1.3 | 3.1 | 2.2 | 1.7 | ||
| 125 | 1.6 | 1.2 | 1.0 | 1.7 | 1.4 | 1.2 | ||
| ВКН-480 | 30 | 20 | 11.7 | 7.3 | 4.8 | 14.4 | 9.0 | 6.3 |
| 31.5 | 8.3 | 5.0 | 4.0 | 10.3 | 6.6 | 4.8 | ||
| 63 | 4.7 | 3.4 | 2.5 | 5.9 | 4.1 | 3.0 | ||
| 100 | 3.3 | 3.3 | 2.2 | 4.1 | 3.0 | 2.7 | ||
| ВНК-560 | 35 | 20 | 19.9 | 13.3 | 9.7 | 23.1 | 16.6 | 12.1 |
| 25 | 15.5 | 10.6 | 8.2 | 21.9 | 14.1 | 10.3 | ||
| 40 | 10.7 | 7.8 | 6.5 | 13.9 | 10.0 | 7.9 | ||
| 50 | 8.8 | 6.5 | 5.5 | 12.1 | 8.6 | 6.7 | ||
| 50 | 5.9 | 4.4 | 3.9 | 7.8 | 5.5 | 4.8 | ||
|

|
|

Рисунок П.2 Эскизная компоновка подвески (а), расчетные схемы (б, в, г) и схемы подвесок типа 1 (А), 2 (Б), 3 (В), 4 (Г): 1-ось блоков, 2-блок, 3-серьга, 4-траверса.
Рисунок П.5 Типовые графики загрузки механизма подъема груза: а, б, в – соответственно для легкого, среднего и тяжелого режимов работы
Рисунок П.6 График загрузки электродвигателя механизма подъема в течении цикла

Рисунок П.7 Механизмы передвижения тележки с центральным расположением редуктора типа ВК (а) и ВКН (б): 1-электродвигателб, 2-муфта с тормозным шкивом, 3-вертикальный редуктор, 4-муфта, 5-ходовое колесо, 6-рельс, 7-тормозной шкив.
[1] В схеме на рис. 1 показать свой вариант полиспаста. Схема механизма подъема и варианты полиспастов приведены на рис. П.1.
[2]
Эта формула справедлива при
. При других значениях количество слагаемых в числителе равно кратности полиспаста.
[3]
Указать, при каком режиме работы. Выбрать канат по условию
желательно при маркировочных группах 1568 и 1764 МПа.
[4]
Выбрать из ряда 260, 335, 400 и 510 мм, по условию ![]()
[5]
Для стали по стали ![]()
МПа
[6]
Для метрической резьбы из конструктивных соображений ![]()
[7]
Для механизма подъема
, передвижения ![]()
[8]
Выбрать по условиям
(крюка), ![]()
[9] На рис. 2 показать свой вариант подвески (рис.П.2), расчетные схемы элементов и эпюры механизмов
[10] Рассчитать для заданной подвески. Размеры принять по ГОСТ 6636-69 [3]
[11]
Здесь
- диаметр шейки крюка
[12]
Длина зависит от типа крюковой подвески (рис.2): с одной стороны
, с другой для третьего и четвертого типа подвесок здесь надо разместить блоки; принимать зазор между блоками
, между блоками и серьгой
мм.
[13]
Указать для какого крана принимаем «
»
[14]
При отсутствии заедания
= 60…65 МПа
[15] Принять большее значение [3]. Для подвески II типа – кратное «5».
[16]
Можно применять тот же материал, что для траверсы. Если принята другая сталь, привести расчет ![]()
[17] Рассчитать для заданного типа подвески. Привести расчетную схему.
[18] Расчет выполнить для наибольшего момента; результат округлить до кратного пяти.
[19] Согласовать размерность скорости и диаметров
[20]
Если
мин-1
, расчет выполнить при 10 мин-1
.
[21] Указать при каком режиме работы и сроке службы в часах
[22]
Выбрать при условиях
. Или d=dц
для подвески II типа.
[23] См. расчет траверсы
[24]
Здесь
- больше из
и ![]()
[25] Указать, что находится в контакте с серьгой
[26] Указать при каких подшипниках.
[27]
Выбрать двигатель MTF [1, табл.ІІІ, 3.5] или МТН [2, табл.2]. По условию
(ближайшее меньшее). Для легкого режима принять ПВ = 15, среднего 25, тяжелого 40%
[28]
Диаметр барабана
- см. п.2.5. Согласовать размерности скорости и диаметров.
[29]
Выбрать редуктор Ц2 [1, табл.ІІІ. 4.2], [2, табл.4] или типа РМ. По условиям
,
,
- ближайшее большее к ![]()
[30]
Если условие
не выполняется, принять более мощный редуктор. Здесь указать «удовлетворяет» или «не удовлетворяет».
[31]
Допускается
.
[32]
Выбрать тормоз ТКГ [1, табл. ІІІ.5.13] или ТКТ [1, табл. ІІІ.5.11]. По условию
.
[33]
Выбрать по условию
, диаметр
согласовать с диаметром
муфты с тормозным шкивом,
с валом редуктора.
[34]
Выбрать по условию
, диаметр
согласовать с диаметром вала двигателя.
[35]
Выбирать по условию
.
[36] Значения относительной массы приведены на оси ординат (рис. П. 5).
[37]
На рис. 1.2 выбрать кривую, соответствующую
.
[38]
Рассчитать аналогично для масс
и
,ТП
, ТОП
, J
.
[39]
Принимать ![]()
[40]
Рассчитать аналогично при
и
, t
П
, t
ОП
.
[41]
Если
, двигатель удовлетворяет условию нагрева
[42]
Сравнить с рекомендуемым [1, табл.1.25]. Для магнитных кранов
. Здесь t – меньшее из времени пуска (tП
).
[43]
Значение
и
- см. п.4.3.
[44]
Значение
,
см. п.2
.3 Определяется по осям крайних блоков крюковой подвески
[46] Выбрать длину L из ряда 1200, 1300, 1420, 1800 и 2300 мм по условию L³L’
[47] Здесь F – см. п.2.
[48] Принять большее из двух значений
[49] См. рис. П.3. Выполнить в масштабе на миллиметровке.
[50] Выбрать шарикоподшипник [2, табл. 9] или роликоподшипник [2, табл. 10].
[51] Размеры l 3 , l 9 , b 2 – см. выбор редуктора, толщина буртика a 1 =5…15 мм.
[53]
Определяется по наибольшему ![]()
[54]
Эквивалентная и приведенная нагрузка определяются по методике п. 3.4. Здесь
,
для роликоподшипника.
[55] Согласовать размерности скорости и диаметров.
[56]
Здесь
- см. п.2.
[57]
Число планок не менее двух
.
[58]
Принять
- см. рис. 2.5. [1]. Если ![]()
, увеличить число планок
.
[59] В этом случае толщина д.б. не менее 12 мм
[60] Принять большее из двух значений
[61] Компоновку выполнить в масштабе. Эскиз барабана – см. рис. П.4
[62] Указать тип редуктора (см. п.4.2)
[63] Выбрать шарико- или роликоподшипник [2, табл. 9 или 10].
[64]
Размеры
и
- см. выбор редуктора, зазор
мм, С – см. [2, табл. 12].
[65]
Определяется по большему
.
[66]
Здесь М – большее значение из
и
.
[67] Здесь рассматривается механизм с редуктором ВК (см. рис. П.7, а). Можно применить механизм с редуктором ВКН (навесного типа) – см. рис. П.7, б.
[68]
Выбрать при скорости
.
[69] Указать вид подшипника.
[70] Указать, с плоской или выпуклой головкой
[71]
Выбрать по условию ![]()
[72]
Выбрать в зависимости от применяемой схемы механизме редуктора ВК [ 5, прил.LXIV] или ВКН (табл.П.11 или [5, прил.LXII] по условиям
,
- ближайшее к передаточному отношению
,
диаметр выходного вала [2, табл.27 или 28], [5, прил. LXI или LXIII].
[73]
Выбрать по условию
, диаметры согласовать с диаметрами двигателя и редуктора [1, табл. III.5.6]. (табл. П.6, П.7).
[74]
Это случай крана с грузовым электромагнитном; для крана без магнита
.
[75]
Можно выбрать тормоз ТКТ [1, табл. ІІІ.5.11] или ТКГ [1, табл. ІІІ.5.13] по условию
.
[76] Сравнить с рекомендуемым [1, табл. 1.19]. Если результат существенно отличается, принять более мощный двигатель и повторить расчет по п.4. Затем проверить пригодность ранее принятого редуктора и тормоза.
[77]
Сравнить с
.
[78]
Сравнить с ранее принятым
.
[79] По методике номинального режима работы [5. с.112]. Можно выполнить по методике, рассмотренной в разделе «Механизм подъема».
[80] Выбрать по [1, рис. 1.4 или 1.5].
[81]
Принимаем
м.
[82]
Сравнить
и
принятого двигателя. Если
, двигатель удовлетворяет условием нагрева.
[83]
По [1, рис. 1.16] указать по какой кривой определяется
.
[84] См.п.2
[85] Выполнить проверку аналогично п.5.1.5 «Механизм подъема»