| Скачать .zip |
Реферат: Комплексный дипломный проект: Проект участка по производству технологических приспособлений для электромеханического восстановления и укрепления поверхностного слоя деталей машин. Винтовые поверхности
|
||||||||||||||||||||||||||||||||||||||||||||
| Взам. | ||||||||||||||||||||||||||||||||||||||||||||
| Подл. | ||||||||||||||||||||||||||||||||||||||||||||
|
|
Россинсикй | |||||||||||||||||||||||||||||||||||||||||||
| Пров | Белоус | 090202.ДП.ТМС.1.1.3.С.01.01 | ||||||||||||||||||||||||||||||||||||||||||
| Н. Контр. | Трифонова | Скоба |
ДП |
015 | ||||||||||||||||||||||||||||||||||||||||
Наименование операции |
Материал |
Твердость |
ЕВ |
Мд |
Профиль и размеры |
МЗ |
КОИД |
|||||||||||||||||||||||||||||||||||||
Фрезерная с ЧПУ |
СЧ 15 ГОСТ 1412-85 |
160 HB |
166 кг |
1.3 |
Отливка |
1.45 | 1 | |||||||||||||||||||||||||||||||||||||
Оборудование, устройство ЧПУ |
Обозначение программы |
То | Тв | Тиз |
Тшт |
СОЖ |
||||||||||||||||||||||||||||||||||||||
| Вертикально-фрезерный станок с ЧПУ модели 6Р13РФ3 | ||||||||||||||||||||||||||||||||||||||||||||
| P |
ПИ |
D или B, мм |
L, мм |
t, мм |
i |
S, ммзуб |
n, мин-1 |
V, ммин |
||||||||||||||||||||||||||||||||||||
О 1 |
1 УЗС |
|||||||||||||||||||||||||||||||||||||||||||
| Т 2 | 293220 Приспособление специальное | |||||||||||||||||||||||||||||||||||||||||||
| 3 | ||||||||||||||||||||||||||||||||||||||||||||
| О 4 | 2 Фрезеровать поверхность | |||||||||||||||||||||||||||||||||||||||||||
| выдерживая размер 1 , 2 , 3 , 4 | ||||||||||||||||||||||||||||||||||||||||||||
| Т 5 |
291432 Втулка 6100-0141 ГОСТ 13598-85; 282440 Фреза торцевая 100 ГОСТ 6469-69; Фреза концевая 10 |
|||||||||||||||||||||||||||||||||||||||||||
| Т 6 |
10ГОСТ 17026-71 Фреза концевая 100 ГОСТ 17026-71 ШЦ I-150-0.05 ГОСТ 166-80 |
|||||||||||||||||||||||||||||||||||||||||||
| Р 7 | XXX 35 86 2.2 1 0.12 260 80 | |||||||||||||||||||||||||||||||||||||||||||
Р 8 |
XXX 40 76 1.5 1 0.12 450 80 | |||||||||||||||||||||||||||||||||||||||||||
| Р 9 | XXX 12 48 1.6 1 0.08 450 30 | |||||||||||||||||||||||||||||||||||||||||||
| 10 | ||||||||||||||||||||||||||||||||||||||||||||
| О 11 | 3 Контроль-исполнителем | |||||||||||||||||||||||||||||||||||||||||||
| О 12 | 4 Уложить в тару | |||||||||||||||||||||||||||||||||||||||||||
mxl printed ГОСТ 3.1404-86 Форма 3
|
|
||||||||||||||||||||||||||||||||||||||||||||
| Взам. | ||||||||||||||||||||||||||||||||||||||||||||
| Подл. | ||||||||||||||||||||||||||||||||||||||||||||
|
|
Россинсикй | |||||||||||||||||||||||||||||||||||||||||||
| Пров | Белоус | 090202.ДП.ТМС.1.1.3.С.01.01 | ||||||||||||||||||||||||||||||||||||||||||
| Н. Контр. | Трифонова | Скоба |
ДП |
020 | ||||||||||||||||||||||||||||||||||||||||
Наименование операции |
Материал |
Твердость |
ЕВ |
Мд |
Профиль и размеры |
МЗ |
КОИД |
|||||||||||||||||||||||||||||||||||||
Вертикально –фрезерная |
СЧ 15 ГОСТ 1412-85 |
160 HB |
166 кг |
1.3 |
Отливка |
1.45 | 1 | |||||||||||||||||||||||||||||||||||||
Оборудование, устройство ЧПУ |
Обозначение программы |
То | Тв | Тиз |
Тшт |
СОЖ |
||||||||||||||||||||||||||||||||||||||
| Вертикально-фрезерный станок модели 6Р13 | ||||||||||||||||||||||||||||||||||||||||||||
| P |
ПИ |
D или B, мм |
L, мм |
t, мм |
i |
S, ммзуб |
n, мин-1 |
V, ммин |
||||||||||||||||||||||||||||||||||||
О 1 |
1 УЗС |
|||||||||||||||||||||||||||||||||||||||||||
| Т 2 | 293220 Приспособление специальное | |||||||||||||||||||||||||||||||||||||||||||
| 3 | ||||||||||||||||||||||||||||||||||||||||||||
| О 4 | 2 Фрезеровать поверхность | |||||||||||||||||||||||||||||||||||||||||||
| выдерживая размер 5 | ||||||||||||||||||||||||||||||||||||||||||||
| Т 5 |
291432 Втулка 6100-0141 ГОСТ 13598-85; Фреза концевая 20 ГОСТ 17026-71 ШЦ I-150-0.05 ГОСТ 166-80 |
|||||||||||||||||||||||||||||||||||||||||||
| 6 | ||||||||||||||||||||||||||||||||||||||||||||
| Р 7 | XXX 35 86 2.2 2 0.06 320 35 | |||||||||||||||||||||||||||||||||||||||||||
8 |
||||||||||||||||||||||||||||||||||||||||||||
| О 9 | 3 Контроль-исполнителем | |||||||||||||||||||||||||||||||||||||||||||
| О10 | 4 Уложить в тару | |||||||||||||||||||||||||||||||||||||||||||
| 11 | ||||||||||||||||||||||||||||||||||||||||||||
| 12 | ||||||||||||||||||||||||||||||||||||||||||||
mxl printed ГОСТ 3.1404-86 Форма 3
|
|
||||||||||||||||||||||||||||||||||||||||||||
| Взам. | ||||||||||||||||||||||||||||||||||||||||||||
| Подл. | ||||||||||||||||||||||||||||||||||||||||||||
|
|
Россинсикй | |||||||||||||||||||||||||||||||||||||||||||
| Пров | Белоус | 090202.ДП.ТМС.1.1.3.С.01.01 | ||||||||||||||||||||||||||||||||||||||||||
| Н. Контр. | Трифонова | Скоба |
ДП |
025 | ||||||||||||||||||||||||||||||||||||||||
Наименование операции |
Материал |
Твердость |
ЕВ |
Мд |
Профиль и размеры |
МЗ |
КОИД |
|||||||||||||||||||||||||||||||||||||
Вертикально-сверильная |
СЧ 15 ГОСТ 1412-85 |
160 HB |
166 кг |
1.3 |
Отливка |
1.45 | 1 | |||||||||||||||||||||||||||||||||||||
Оборудование, устройство ЧПУ |
Обозначение программы |
То | Тв | Тиз |
Тшт |
СОЖ |
||||||||||||||||||||||||||||||||||||||
|
Вертикально-сверильный станок с ЧПУ модели 2Р135Ф2 |
||||||||||||||||||||||||||||||||||||||||||||
| P |
ПИ |
D или B, мм |
L, мм |
t, мм |
i |
S, ммзуб |
n, мин-1 |
V, ммин |
||||||||||||||||||||||||||||||||||||
О 1 |
1 УЗС |
|||||||||||||||||||||||||||||||||||||||||||
| Т 2 | 293140 оправка | |||||||||||||||||||||||||||||||||||||||||||
| О 3 |
2 Зенкеровать, развертывать предварительно |
|||||||||||||||||||||||||||||||||||||||||||
| О 4 | и окончательно отверстие в размер 6 , | |||||||||||||||||||||||||||||||||||||||||||
| выдерживая размер 7 | ||||||||||||||||||||||||||||||||||||||||||||
| Т 5 |
291432 Втулка 6100-0141 ГОСТ 13598-85 282440 Зенкер ГОСТ 3231-71; 282510 Развертка 25H9 |
|||||||||||||||||||||||||||||||||||||||||||
| Т 6 |
ГОСТ 883-71; 282510 Развертка 25Н7; ГОСТ 883-71 393120 Пробка 25Н7 ГОСТ 14810-68 |
|||||||||||||||||||||||||||||||||||||||||||
| Р 7 |
XXX 24.85Н12 11 1 1 0.8 380 35 |
|||||||||||||||||||||||||||||||||||||||||||
| Р 8 |
XXX 25Н9 11 1 1 2 400 35 |
|||||||||||||||||||||||||||||||||||||||||||
| Р 9 |
XXX 25Н7 11 1 1 2 400 35 |
|||||||||||||||||||||||||||||||||||||||||||
| О10 | 3 Контроль-исполнителем | |||||||||||||||||||||||||||||||||||||||||||
| О11 | 4 Уложить в тару | |||||||||||||||||||||||||||||||||||||||||||
mxl printed ГОСТ 3.1404-86 Форма 3
|
|
||||||||||||||||||||||||||||||||||||||||||||
| Взам. | ||||||||||||||||||||||||||||||||||||||||||||
| Подл. | ||||||||||||||||||||||||||||||||||||||||||||
|
|
Россинсикй | |||||||||||||||||||||||||||||||||||||||||||
| Пров | Белоус | 090202.ДП.ТМС.1.1.3.С.01.01 | ||||||||||||||||||||||||||||||||||||||||||
| Н. Контр. | Трифонова | Скоба |
ДП |
030 | ||||||||||||||||||||||||||||||||||||||||
Наименование операции |
Материал |
Твердость |
ЕВ |
Мд |
Профиль и размеры |
МЗ |
КОИД |
|||||||||||||||||||||||||||||||||||||
Горизонтально –фрезерная |
СЧ 15 ГОСТ 1412-85 |
160 HB |
166 кг |
1.3 |
Отливка |
1.45 | 1 | |||||||||||||||||||||||||||||||||||||
Оборудование, устройство ЧПУ |
Обозначение программы |
То | Тв | Тиз |
Тшт |
СОЖ |
||||||||||||||||||||||||||||||||||||||
| Горизонтально-фрезерный станок модели 6Р82Г | ||||||||||||||||||||||||||||||||||||||||||||
| P |
ПИ |
D или B, мм |
L, мм |
t, мм |
i |
S, ммзуб |
n, мин-1 |
V, ммин |
||||||||||||||||||||||||||||||||||||
О 1 |
1 УЗС |
|||||||||||||||||||||||||||||||||||||||||||
| Т 2 | 293220 Приспособление специальное | |||||||||||||||||||||||||||||||||||||||||||
| 3 | ||||||||||||||||||||||||||||||||||||||||||||
| О 4 | 2 Фрезеровать поверхность 8 | |||||||||||||||||||||||||||||||||||||||||||
| выдерживая размеры 9 и 10 | ||||||||||||||||||||||||||||||||||||||||||||
| Т 5 |
291432 Втулка 6100-0141 ГОСТ 13598-85; Наладка из фреза дисковых 125 ГОСТ 3755-78 |
|||||||||||||||||||||||||||||||||||||||||||
| Т 6 | ШЦ I-150-0.05 ГОСТ 166-80 | |||||||||||||||||||||||||||||||||||||||||||
| 7 | ||||||||||||||||||||||||||||||||||||||||||||
Р 8 |
XXX 12 38 1.5 1 0.12 180 40 | |||||||||||||||||||||||||||||||||||||||||||
| 9 | ||||||||||||||||||||||||||||||||||||||||||||
| О10 | 3 Контроль-исполнителем | |||||||||||||||||||||||||||||||||||||||||||
| О11 | 4 Уложить в тару | |||||||||||||||||||||||||||||||||||||||||||
| 12 | ||||||||||||||||||||||||||||||||||||||||||||
mxl printed ГОСТ 3.1404-86 Форма 3
|
|
||||||||||||||||||||||||||||||||||||||||||||
| Взам. | ||||||||||||||||||||||||||||||||||||||||||||
| Подл. | ||||||||||||||||||||||||||||||||||||||||||||
|
|
Россинсикй | |||||||||||||||||||||||||||||||||||||||||||
| Пров | Белоус | 090202.ДП.ТМС.1.1.3.С.01.01 | ||||||||||||||||||||||||||||||||||||||||||
| Н. Контр. | Трифонова | Скоба |
ДП |
035 | ||||||||||||||||||||||||||||||||||||||||
Наименование операции |
Материал |
Твердость |
ЕВ |
Мд |
Профиль и размеры |
МЗ |
КОИД |
|||||||||||||||||||||||||||||||||||||
Вертикально-сверильная |
СЧ 15 ГОСТ 1412-85 |
160 HB |
166 кг |
1.3 |
Отливка |
1.45 | 1 | |||||||||||||||||||||||||||||||||||||
Оборудование, устройство ЧПУ |
Обозначение программы |
То | Тв | Тиз |
Тшт |
СОЖ |
||||||||||||||||||||||||||||||||||||||
|
Вертикально-сверильный станок модели 2М55 |
||||||||||||||||||||||||||||||||||||||||||||
| P |
ПИ |
D или B, мм |
L, мм |
t, мм |
i |
S, ммзуб |
n, мин-1 |
V, ммин |
||||||||||||||||||||||||||||||||||||
О 1 |
1 УЗС |
|||||||||||||||||||||||||||||||||||||||||||
| Т 2 | 293140 оправка | |||||||||||||||||||||||||||||||||||||||||||
| О 3 |
2 Сверлить отверстие 12 |
|||||||||||||||||||||||||||||||||||||||||||
| О 4 | выдерживая размеры 13 и 14 | |||||||||||||||||||||||||||||||||||||||||||
| 5 | ||||||||||||||||||||||||||||||||||||||||||||
| Т 6 |
291432 Втулка 6100-0141 ГОСТ 13598-85 282410 Сверло 12 ГОСТ 10903-77 |
|||||||||||||||||||||||||||||||||||||||||||
| Т 7 |
ШЦ I-150-0.05 ГОСТ 166-80 |
|||||||||||||||||||||||||||||||||||||||||||
| 8 | ||||||||||||||||||||||||||||||||||||||||||||
| Р 9 |
XXX 12 16 1 1 0.36 680 25 |
|||||||||||||||||||||||||||||||||||||||||||
| 10 | ||||||||||||||||||||||||||||||||||||||||||||
| О11 | 3 Контроль-исполнителем | |||||||||||||||||||||||||||||||||||||||||||
| О12 | 4 Уложить в тару | |||||||||||||||||||||||||||||||||||||||||||
| 11 | ||||||||||||||||||||||||||||||||||||||||||||
mxl printed ГОСТ 3.1404-86 Форма 3
РЕФЕРАТ
Росинський Г.О. Комплексний дипломний проект
“Проект дiльницi по виробництву технологiчноi оснастки для електромеханичного вiдновлення i змiцнення деталей машин”
Дипломний проект. ХДТУ.НКПI. 5С. 1999
Пояснювальна записка: 108 стр.; Додаток стр.; Креслення 10 аркушiв формату А1.
В проектi розроблена конструкцiя пристрою для электромеханичноi обробки поверхнi ходових винтiв верстатiв. Ряд операцiй виконуется на продуктивному обладнаннi з ЧПУ. Спроектована оригiнальна торцева фреза з додаковым обробчим зубом для зняття заусенцiв. Практичними дослiдженнями установлена залежнiсть мiж геометрiей фрезы та висотою заусенцiв. Розроблен алгоритм та програма аналiзу точностi оброблення деталей для ПЭОМ.
Запропавнованi в проектi технологiчнi, кострукторськi i органiзацiйнi рiшення дозволили отримати економiчний ефект у розмiрi 3432.3 грн.
СОДЕРЖАНИЕ
| стр. | ||
| 1. | ТЕХНОЛОГЧЕСКАЯ ЧАСТЬ | |
| 1.1. | Назначение детали и анализ технических условий на ее изготовление | |
| 1.2. | Определение программы запуска и типа производства | |
| 1.3. | Анализ технологичности конструкции детали | |
| 1.4. | Технико-экономичесике исследования приемлемых методов получения заготовки | |
| 1.5. | Проектирование заготовки | |
| 1.6. | Проектирование технологического процесса обработки детали | |
| 1.7. | Проектирование технологических операций | |
| 2. | КОНСТРУКТОРСКАЯ ЧАСТЬ | |
| 2.1. | Основы электромеханической обработки. | |
| 2.2. | Упрочнение винтовых поверхностей | |
| 2.3. | Приспособление для упрочнения ходовых винтов | |
| 3. | ИССЛЕДОВАТЕЛЬСКАЯ ЧАСТЬ | |
| 3.1. | Экспериментальное исследование условий образования заусенцев при фрезеровании заготовок | |
| 3.2. | Прогнозирование точности и качества при проектировании технологических процессов механической обработки | |
| 4. | ОРГАНИЗАЦИЯ ПРОИЗВОДСТВА | |
| 4.1. | Состав продукции цеха, регламент его работы и характеристика | |
| 4.2. | Определение потребного количества оборудования и производственной площади участка | |
| 4.3. | Расчет плановой себестоимости продукции участка | |
| 4.4. | Расчет себестоимости и условной внутризаводской цены детали | |
5. |
ЭКОНОМИКА ПРОИЗВОДСТВА |
|
| 5.1. | Определение экономического эффекта | |
| 5.2. | Расчет величин капитальных вложений | |
| 5.3. | Определение экономии от снижения себестоимости |
| стр. | ||
| 6. | ОХРАНА ТРУДА | |
| 6.1. | Назначение охраны труда на производстве | |
| 6.2. | Анализ условий труда | |
| 6.3. | Электробезопасность | |
| 6.4. | Освещение производственного помещения | |
| 6.5. | Оздоровление воздушной среды | |
| 6.6. | Защита от шума и вибрации | |
| 6.7. | Пожарная безопасность | |
| 6.8. | Техника безопасности на участке | |
ЗАКЛЮЧЕНИЕ |
||
ЛИТЕРАТУРА |
||
ПРИЛОЖЕНИЯ |
ВВЕДЕНИЕ
В современных условиях, все возрастающей напряженности работы машин, связанной с увеличением мощности, скорости, давления, а также с повышенными требованиями к точности их работы, вопросы надежности приобретают исключительно большое значение. Ремонт и восстановление работоспособности машин отнимают огромные ресурсы. Это во многом объясняется низкой прочностью поверхностного слоя сопрягаемых деталей машин, который составляет всего долю процента от всей массы деталей.
Следовательно, для повышения долговечности машин решающее значение имеет упрочнение трущихся поверхностей деталей в процессе их изготовления и ремонта. Электромеханическая обработка, основана на термическом и силовом воздействии, она существенно изменяет физико-механические показатели поверхностного слоя деталей и позволяет резко повысить их износостойкость, предел выносливости и другие эксплуатационные характеристики деталей.
1. ТЕХНОЛОГЧЕСКАЯ ЧАСТЬ
1.1. Назначение детали и анализ технических условий на ее изготовление.
Откидная скоба под державку является деталью приспособления для восстановления поверхности ходовых винтов диаметром 32-42 мм. Конструируемая деталь представляет собой деталь типа рычаг. В проектируемом приспособлении скоба служит для закрепления державки с инструментом (твердосплавным роликом), а так же для передачи усилия на обрабатываемую поверхность через ролик и ее свободного вращения вокруг центральной оси державки, для чего используется подшипник скольжения. Скоба имеет пристыковочную поверхность для сочленения с опорной скобой, через пальцевое соединеием. Для обеспечения плотного прилегания рабочего инструмента к поверхности обработки используется подпружиненный накидной винт.
Деталь имеет мало ответственных поверхностей и поэтому проста в изготовлении. Деталь имеет два отверстия отверстие диаметром 25 мм, для установки в нем подшипника скольжения и отверстие 12 мм, которое служит для сочленения с нижней скобой-корпусом посредством оси.
Скоба имеет форму тавра, то есть диск с упрочняющими ребрами жесткости по обеим сторонам, с приливом под отверстие для подшипника что дает значительную экономию материала при получении заготовки без уменьшения прочностных характеристик при работе скобы. Деталь по форме является скобой, у которой одна из дуг продлевается на одну четверть окружности от центральной оси и оканчивается сфрезерованными с двух сторон плоскости лысками и отверстием (для крепления к стационарной скобе пальцем).
В этой части скобы имеется выше упомянутое отверстие 12 мм и скругление по высоте катета тавра, а правая часть скобы продлевается приблизительно на одну шестую окружности и имеет плоское удлинение вдоль оси, перпендикулярной оси центрального отверстия, являющееся опорной поверхностью под накидной винт для завода которого имеет паз с фасками, облегчающими стыковку винта с посадочной поверхностью. Шероховатость обрабатываемых поверхностей при фрезеровании и сверлении по четвертому классу. Вдоль оси скобы проходит отверстие под подшипник скольжения для установки державки с инструментом. Для обеспечения необходимой толщины стенок в этом месте скоба имеет радиальное утолщение на ширину большую ширины ребер жесткости тавра, и приливы в осевом направлении для опорных поверхностей под буртик державки с одной стороны и стопорное кольцо – с другой.
При работе приспособления необходимые критерии – точное направление инструмента (достигается за счет поворота державки на угол наклона винтовой канавки) и плотность прилегания инструмента к обрабатываемой поверхности (достигается за счет усилия накидного винта и направляющих роликов), которые обеспечиваются элементами всего приспособления.
1.1.1. Материал проектируемой детали.
Материал детали – серый чугун СЧ 15 ГОСТ 1412-85. Чугун является ферритно-перлитным чугуном. Имеет временное сопротивление 100 180 МПа (1018 кгссм2), предел прочности при изгибе 280320 МПа.
Таблица 1.1
Химический состав стали.
| марка |
C % |
Si % |
Mn % |
S % (не более) |
P % (не более) |
15 |
3.5 3.7 |
2.0 2.6 |
0.5 0.8 |
0.15 |
0.3 |
Структура чугуна – перлит, феррит и графит в виде крупных выделений. Такое название (серый чугун) чугун получил по виду излома, который имеет серый цвет. В структуре чугуна имеется графит, количество и форма которого изменяются в широких приделах.
Поскольку структура чугуна состоит из металлической основы и графита, то и свойства чугуна будут зависеть как от свойств металлической основы, так и от количества графитовых включений. Графит по сравнению со сталью обладает низкими механическими свойствами, и поэтому графитные включения можно считать в первом приближении просто пустотами, трещинами. Отсюда следует, что чугун можно рассматривать как сталь, испещренную большим количеством пустот и трещин.
Естественно, что чем больший объем занимают пустоты, тем ниже свойства чугуна. При одинаковом объеме пустот (т.е. количестве графита) свойства чугуна будут зависеть от их формы и расположения. Следовательно, чем больше в чугуне графита, тем ниже его механические свойства, чем грубее включения графита, тем больше они разобщают металлическую основу, тем хуже свойства чугуна. Как видно – графитные включения вредное явление. Однако такой односторонний подход не вполне справедлив. В ряде случаев благодаря именно графиту чугун имеет преимущества перед сталью во первых, наличие графита облегчает обработку резанием, делает стружку ломкой, стружка ломается когда доходит до графитового включения во вторых, чугун обладает хорошими антифрикционными свойствами благодаря смазывающему действию графита в третьих, наличие графитных выделений быстро гасит вибрации и резонансные колебания
в четвертых, чугун почти не чувствителен к дефектам поверхности, надрезам и т.д. Действительно, поскольку в чугуне имеется огромное количество графитных включений, играющих роль пустот, то совершенно очевидно, что дополнительные дефекты на поверхности уже не имеют такого значения и не так влиятельны как то большое воздействие, которое оказывают эти дефекты поверхности на свойства чистой от неметаллических включений высокопрочной стали.
Так же следует отметить лучшие литейные свойства по сравнению со сталью. Более низкая температура плавления и окончание кристаллизации при постоянной температуре обеспечивают не только удобство в работе, но и лучшие жидко текучесть и заполняемость формы. Описанные свойства чугуна делают его идеальным материалом для данного типа детали.
1.2. Определение программы запуска и типа производства.
В зависимости от размеров производственной программы, характера производства и выпускаемой продукции, а так же технических и экономических условий осуществления производственного процесса различают три основных типа производства:
единичное
серийное
массовое
Количественной характеристикой типа производства является коэффициент закрепления операций Кз.о., который представляет собой отношение числа различных операций, подлежащих выполнению в течении месяца, к числу рабочих мест. Математически эта зависимость выражается следующей формулой:
Кз.о. = О/Р (1.2.1)
где О – число различных операций, шт.
Р – число рабочих мест, шт.
По таблице типов производств определяем, что выпуск детали массой 4.5 кг и партией 2000 шт. соответствует среднесерийному производству. Годовую программу запуска определяем по формуле:
nз = nвып (1+/100) шт, (1.2.2)
где nвып = 200 шт. – заданная годовая программа,
= 4 – коэффициент технологических потерь.
Подставив известные величины в формулу (1.2.2), получаем:
nз = 2000(1+4/100) = 2012
1.3. Анализ технологичности конструкции детали.
Технологичность конструкции – это совокупность свойств конструкции изделия, определяющих ее приспособляемость к достижению оптимальных затрат при производстве, эксплуатации и ремонте для заданных показателей качества, объема выпуска и условий выполнения работы. Важное место среди требований к технико-экономическим показателям промышленных изделий занимают вопросы технологичности конструкции. Технологичность конструкции детали анализируется с учетом условий ее производства, рассматривая особенности конструкции и требования качества как технологические задачи изготовителя.
По ГОСТ 14.205 – 83 технологичность конструкции – это совокупность свойств конструкции изделия, определяющих ее приспособляемость к достижению оптимальных затрат при производстве, эксплуатации и ремонте для заданных показателей качества, объема выпуска и условий выполнения работ. К основным показателям качества изделия можно отнести безотказность функционирования, долговечность, точность сопряжений, уровень шума, безопасность, коэффициент полезного действия, удобство и простоту обслуживания, степень механизации и т.д.
1.3.1 Количественный метод оценки технологичности.
Для количественного метода оценки технологичности конструкции применяют показатели, предусмотренные ГОСТ 14.202 – 73. Произведем расчет по некоторым из этих показателей.
Коэффициент унификации конструктивных элементов детали:
Кц.э.= Qу.э./Qэ (1.3.1)
где Qу.э. = 7 шт. – число унифицированных элементов детали;
Qэ = 9 шт. – общее число конструктивных элементов.
Подставляя известные величины в формулу (1.3.1), получим:
Кц.э. = 7/9 =0.78
При Кц.э.> 0.6 деталь считается технологичной.
Деталь считается технологичной по точности если коэффициент точности обработки Кточ. 0.8. Этот коэффициент определяется по формуле:
Кточ. = 1 – 1/Аср. (1.3.2)
где Аср. – средний квалитет точности обработки, определяется как:
Аср. = Аni / ni (1.3.3)
где А – квалитет точности обработки;
n – число размеров соответствующих данному квалитету, шт.
Подставляя известные величины в формулу (1.3.3), получим:
Аср = (66.3+2.5+145)/14 = 9.2
Подставляя известные величины в формулу (1.3.2), получим:
Кточ. = 1-1/9.2 = 0.89
При коэффициент Кточ > 0.8 деталь считается технологичной.
Определим технологичность по коэффициенту шероховатости, который должен стремиться к нулю:
Кш = Qш.н./ Qш.о. (1.3.4)
где Qш.н. – число поверхностей с необоснованной шероховатостью, шт;
Qш.о. – общее число поверхностей подлежащих обработке, шт.
Так как Qш.н. = 0 то Кш = 0 и следовательно деталь может считаться технологичной.
1.3.2 Качественный метод оценки технологичности.
Качественный метод оценки технологичности детали основан на практических рекомендациях. Анализируемая деталь типа рычаг имеет форму тавровой скобы, ограниченную плоскими и цилиндрическими поверхностями.
Подход, применяемый для достижения точности позиционирования инструмента и скобы в целом позволяет уйти от большого числа точно обрабатываемых поверхностей, что дает нам возможность использовать не особо точный способ производства заготовки. Все поверхности детали имеют правильную форму, легко получаемую при производстве заготовки. Все обрабатываемые поверхности – легко доступны для обработки; для данной формы заготовки базовые поверхности имеют удачную форму и расположение, что облегчает технологический процесс производства детали.
Большинство конструктивных элементов скобы можно заложить в форму заготовки, что уменьшает затраты на материал и экономит ресурсы при обработке. Так что в целом конструкцию детали можно считать технологичной. Ко всем обрабатываемым поверхностям обеспечен удобный подход режущих инструментов. Отсутствуют поверхности с необоснованно высокой точностью обработки. Все неответственные поверхности обрабатываются по 14-му квалитету. При обработке ответственных поверхностей соблюдается принцип единства баз, что снижает количество брака.
Проанализировав все вышеперечисленные факторы, будем считать деталь – технологичной.
1.4. Технико-экономичесике исследования приемли- мых методов получения заготовки.
1.4.1. Выбор и обоснование метода получения заготовки.
Учитывая, что деталь имеет простую форму, невысокие требования к чистоте поверхности, а так же, что тип производства – среднесерийный, первоначально принимаем метод получения заготовки – литье в песчано-глиняные формы.
1.4.2. Стоимостной анализ.
На основании анализа детали по чертежу, учебной и справочной литературы отбираем два способа получения отливки: литье в песчано-глинистые формы и литье в кокиль.
Чтобы окончательно убедиться в правильности выбранного метода получения заготовки, проведем стоимостной анализ двух видов заготовки. Численным критерием данного анализа является коэффициент использования материала, который определяется по формуле:
Ки.м. = mд / mз (1.4.1)
где mд – масса детали, кг;
mг – масса заготовки, кг;
Массу определяем по формуле:
m=V кг, (1.4.2)
где - плотность материала детали, = 7.3 г/см3;
V – объем детали, см3.
Определяем массу заготовки получаемой при литье в кокиль и при литье в песчано-глиняные формы. Разбив тело летали на простые геометрические фигуры определим ее объем:
Vз1 = (902 - 802) 32 13 + (1202 - 902) 12 13 + (402 - 202) 45 13 = 192,568
Тогда масса заготовки1 равна:
mз1 =192586 7.3 = 1,405 кг.
Аналогично определяем объем и массу заготовки2
Vз.2. = 194 мм3
mз.2. = 194234 7.41011 = 1.461 кг
Из расчета хорошо видно, что коэффициент использования материала при заготовке получаемой при литье в кокиль выше. Подставляя известные величины в формулу (1.4.1) , получим:
Ки.м.1 = 1.281.405 = 0.91
Ки.м.2 = 1.281.461 = 0.84
Наглядно видно, что коэффициент использования материала при получении заготовки литьем в кокиль значительно выше.
Определим денежный эквивалент экономии материала. Для этого посчитаем разность масс двух видов заготовок:
mз1 – mз2 = 1.461 – 1.405 = 0.064 кг
Умножив полученную разность на стоимость одного килограмма материала (СЧ 15) и на годовую программу выпуска детали мы получим полную годовую экономию Э.
Э = 0.064 2012 0.62 = 88,9 гр
Проанализировав полученные результаты, мы видим, что литье в кокиль немного выгоднее литья в песчано-глиняные формы. А так, как литье в кокиль – более дорогой способ получения заготовок по сравнению с литьем в песчано-глиняные формы, а прибыль от производства заготовки не покроет подготовительных затрат на литье в кокиль, то принимаем метод получения заготовки – литье в песчано-глиняные формы.
1.5. Проектирование заготовки.
Припуски на обработку и допуски размеров на отливки определяются по ГОСТ 26645 – 85; из вышеупомянутого источника определяем, что деталь имеет следующие обозначения:
Класс размерной точности отливки – 9
Степень коробления элементов отливки – 2
Степень точности поверхностей отливки – 10
Класс точности массы - 7
Ряд припусков – 5.
В соответствие с этими обозначениями рассчитаем припуски на обработку и допуски размеров, которые занесем в таблицу (табл.1.3).
Таблица 1.3
Припуски и допуски на заготовку.
размер детали |
основной припуск на сторону |
дополн. припуск на сторону |
общий припуск на сторону |
допуск размеров |
размер заготовки |
мм |
|||||
|
25 |
1.8 |
0.2 |
2.1 |
20.8 |
|
40 |
1.8 |
0.4 |
2.2 |
64.4 |
|
15 |
1.4 |
0.1 |
1.5 |
16 |
|
12 |
1.4 |
0.1 |
1.5 |
14 |
|
Точность отливки 8-2-10-7 ГОСТ 26645-85
Наружный радиус закруглений R = 34мм. Литейные уклоны 1 в сторону увеличения размеров отливки.
1.6. Проектирование технологического процесса обработки детали.
1.6.1. Разработка и обоснование маршрутного технологического процесса.
Проанализировав конструкцию детали на технологи-чность, определив тип производства и выбрав вид получения заготовки, разработаем маршрут механической обработки детали.
Так как при обработке большинства поверхностей базой будет служить наиболее удобная поверхность то, соответственно, первой обработаем ее, а так как у нас среднесерийное производство, и предлагается наличие станков с ЧПУ, то обработаем и поверхности для накидного винта (паз и опорную плоскость).
Заготовка устанавливается на цилиндрическую поверхность 35 и упирается торцем зажимается в тисках, в специальных губках, с выфрезерованным под цилиндрическую часть пазом, необходимой для более надежного удержания тавровой поверхности. Производится фрезерование торца цилиндрического прилива, опорной поверхности и направляющего паза с фасками шириной 12 мм и высотой 15 мм, на длину 25 мм с радиусом закругления R6 мм. Далее производим обработку на второй операции.
Зажимаем заготовку аналогичным образом и обрабатываем (фрезеруем концевой фрезой) второй торец цилиндрического прилива в размер 40 мм, базой служит поверхность обработанная на первой операции и торец опорной поверхности. На третей операции обрабатываем отверстие под подшипник в размер 25H7 на сверлильном станке с ЧПУ. Деталь базируется аналогично первой операции. На четвертой операции обрабатываем шейку шириной 12 мм. Базировку и зажим производим аналогично первой операции. На пятой операции сверлим отверстие диаметром 12 мм. Выдерживая межосевой размер, устанавливаем деталь на палец по поверхности 25H7 и зажимам тисками аналогично первой операции.
Технологический процесс изготовления детали имеет следующий вид:
005 Заготовительная
010 Контрольная
015 Вертикально-фрезерная с ЧПУ
020 Вертикально-фрезерная
025 Вертикально-сверлильная с ЧПУ
030 Горизонтально-фрезерная
035 Вертикально-сверлильная
040 Контрольная
1.6.2. Обоснование выбора чистовых технологических баз.
При выборе технологических баз необходимо руководствоваться принципом единства баз. В данном случае все обрабатываемые поверхности на предыдущей операции являются базами для последующих. По операциям базы указаны выше.
Операция 015:
базой является торец шейки диаметром 35, наружная поверхность скобы и торец опорной поверхности.
Операция 020:
базой является торец шейки диаметром 35 (другая сторона) , наружная поверхность скобы и торец опорной поверхности.
Операция 025:
базой является торец шейки диаметром 35, наружная поверхность скобы и торец опорной поверхности.
Операция 030:
базой является торец шейки диаметром 35, наружная поверхность скобы и отверстие 25H7.
Операция 035:
базой является торец шейки 35 и отверстие 25H7.
1.6.3. Выбор и обоснование оборудования
На первой операции обработка будет вестись на станке с ЧПУ. Учитывая габариты заготовки, а размеры зажимных приспособлений выбираем станок с ЧПУ 6Р13РФ3, с шпиндельной головкой и магазином инструментов из 24 шт. Технические характеристики вертикально-фрезерного станка 6Р13РФ3:
Размеры рабочей поверхности – 1600x400 мм
Наибольшие перемещения станка:
продольное - 1000 мм;
поперечное - 300 мм;
вертикальное - 400 мм;
Наибольшая масс обрабатываемой заготовки – 300 кг
Мощность привода главного движения – 10 кВт
Мощность привода подач – 3 кВт
Число оборотов привода:
главное движение - 1460 мин-1;
подач - 1430 мин-1;
Габариты станка:
длина - 2560 мм;
ширина - 2260 мм;
высота - 2250 мм;
Масса станка – 4500 кг.
На второй операции обработку ведем на предварительно настроенном вертикально-фрезерном станке 6Р13. Технические характеристики вертикально-фрезерного станка 6Р13:
Размеры рабочей поверхности – 1600x400 мм
Наибольшие перемещения станка:
продольное - 1000 мм;
поперечное - 300 мм;
вертикальное - 400 мм;
Наибольшая масс обрабатываемой заготовки – 300 кг
Мощность привода главного движения – 10 кВт
Мощность привода подач – 3 кВт
Число оборотов привода:
главное движение - 1460 мин-1;
подач - 1430 мин-1;
Габариты станка:
длина - 2560 мм;
ширина - 2260 мм;
высота - 2250 мм;
Масса станка – 4200 кг.
На третей операции используем вертикально-сверлильный станок с ЧПУ- модели 2Р135Ф2.При обработке на станке с ЧПУ не требуется наладки, что значительно уменьшает подготовительно-заключительное время.
Так как обработка ведется без участия рабочего, кроме установки и снятия детали, то значительно сокращается вспомогательное время.
Технические характеристики вертикально – сверлильного станка с ЧПУ модели 2Р135Ф2:
Наибольший условный диаметр сверления = 35мм.
Наибольший диаметр нарезания резьбы = 24мм.
Число шпинделей револьверной головки - 6
Вылет шпинделя от направляющей колоны – 450мм
Расстояние от торца шпинделя до рабочей поверхности стола: наибольшее – 600 мм;
наименьшее – 40 мм;
Количество подач суппорта – 18
Приделы подач суппорта: 10500 мм/мин
Количество скоростей шпинделя - 12
Приделы частот шпинделя – 45 2000 об/мин
Размеры рабочей поверхности стола:
длина - 710 мм;
ширина - 400 мм;
Габариты станка:
длина - 1860 мм;
ширина - 2170 мм;
высота - 2700 мм;
Масса станка – 4700 кг.
На четвертой операции используем горизонтально-фрезерный станок модели 6Р82Г. Технические характеристики горизонтально-фрезерного станка модели 6Р82Г
Размеры рабочей поверхности – 320x1250 мм
Наибольшие перемещения станка:
продольное - 800 мм;
поперечное - 250 мм;
вертикальное - 420 мм;
Наибольшая масс обрабатываемой заготовки – 300 кг
Мощность привода главного движения – 7,5 кВт
Мощность привода подач – 3 кВт
Число оборотов привода:
главное движение - 1460 мин-1;
подач - 1430 мин-1;
Габариты станка:
длина - 2305 мм;
ширина - 1950 мм;
высота - 1680 мм;
Масса станка – 2900 кг.
На пятой обрабатывается одна поверхность, обработка будет проводиться на заранее настроенном вертикально-сверлильном станке модели 2М55.
Технические характеристики вертикально-сверлильного станка модели 2М55:
Наибольший условный диаметр сверления = 50мм.
Вылет шпинделя от образующей колоны:
наибольший – 1600 мм;
наименьший – 375 мм;
Расстояние от торца шпинделя до плиты:
наибольшее – 1600 мм;
наименьшее – 450 мм;
Количество ступеней скоростей шпинделя - 21
Приделы скорости шпинделя – от 20 до 2000 об/мин
Количество ступеней механических
подач шпинделя –12
Пределы подач шпинделя – от 0.056 до 2.5 мм/об
Мощность на шпинделе – 4.0 кВт
Габариты станка:
длина - 2665 мм;
ширина - 1020 мм;
высота - 3430 мм;
Масса станка – 4700 кг.
1.7. Проектирование технологических операций.
1.7.1 Расчет режимов резания.
Расчет режимов резания можно проводить двумя методами аналитическим и табличным.
1.7.2. Аналитическим методом рассчитаем режимы резания для операции 015, а именно - фрезерование паза шириной 12 мм, на высоту 15 мм. Для этого воспользуемся [17].
В качестве инструмента выбираем концевую фрезу, с числом зубьев Z=4, диаметром D=12мм. Глубина резания t=15 мм.
Определим подачу на зуб Sz. Так как концевая фреза – инструмент не жесткий, то выбираем Sz = 0.08 ммзуб.
Скорость резания, допускаемая режущими свойствами фрезы, определяется по формуле
Vn = C Dq/ (Tm tx SyBuZp) K ммин, (1.7.1)
где Т – среднее значение стойкости, T= 180 мин;
t – глубина резания;
Sz – подача на зуб, ммзуб;
D – диаметр фрезы, мм
B – высота фрезеруемой поверхности B=15 мм
z – количество зубьев, шт.
Значение коэффициентов C и показателей степеней выбираем из (17. табл.39)
C = 46.7, x = 0.5, y = 0.5, m = 0.33, q=0.45, p=0.1;
К - общий поправочный коэффициент на изменение условий обработки.
K = Km Kп Ku (1.7.2)
где Km - коэффициент учитывающий влияние материала заготовки;
Kп - коэффициент учитывающий состояние поверхности;
Ku - коэффициент учитывающий материал инструмента;
Определим коэффициент Kmv по формуле
Km= Kr (190/НВ)nv (1.7.3)
где Kr = 1 – коэффициент зависящий от группы стали;
НВ = 160.
Приняв Kп = 0.8, Ku = 0.4, nv = -0.9, подставляя известные величины в формулу (1.7.3) , получим:
Km = 1.0 (750/610)-0.9 = 0.82
Подставляя известные величины в формулу (1.7.3), получим:
Kv = 0.82 0.8 0.4 = 0.27
Выбрав значения показателей степеней из таблиц и подставляя их величины в формулу (1.7.1), получим:
Vn = 46.7120.45(1800.3320.50.080.5150.180.1)0.27 =
= 30.18 ммин.
Частоту вращения шпинделя определяем по формуле
n = 1000vu/(D) мин-1, (1.7.4)
где D – диаметр фрезы.
Подставляя известные величины в формулу (1.7.4), получим:
n = 100017.998/(12) = 450.8 мин-1
Уточнив по паспорту станка, принимаем частоту вращения шпинделя nу = 450мин-1.
Для данной частоты вращения шпинделя уточняем скорость резания по формуле:
V = Dnу/1000 м/мин, (1.7.5)
Подставляя известные величины в формулу (1.7.5), получим:
V = 12450/1000 = 30 м/мин.
Минутная подача определяется по формуле
SМ = SznуZ мммин, (1.7.6)
Подставляя известные величины в формулу (1.7.6), получим:
SМ = 0.14504 = 180 ммин.
Определим силы резания. Силы резания будут действовать вдоль трех осей координат x, y, z и называются соответственно Px, Py, Pz.
Так как основной составляющей сил резания при фрезеровании является сила Pz, то расчет ведем по ней
Pz = 10Cp tx Szy Bu Z/(Dqnw) Н, (1.7.7)
где Cp = 30 – коэффициент;
x, y, q, w, u - показатели степени, выбираем
x = 0.83; y = 0.65; q = 0.83; w = 0; u = 1.14.
t - глубина резания, мм
Szy - уточненная подача на зуб, ммзуб
B - ширина фрезеруемой поверхности, мм
Z - число зубьев фрезы, шт
D - диаметр фрезыёмм.
Подставляя известные величины в формулу (1.7.7), получим:
Pz = 1030120.830.10.65151.144/(120.834500) = 6260
Мощность потребная на резание определяется как
Nрез = Pzvу/(102060), Вт (1.7.8)
Подставляя известные величины в формулу (1.7.8), получим:
Nрез = 626016.5(102060) = 1.687 кВт
Определим основное технологическое время по формуле
To = (Lр.х./Sму )i мин, (1.7.9)
где Lр.х. – длина рабочего хода, определяется как
Lр.х. = l+y+ мм, (1.7.10)
где l = 35 мм – длина резания;
y = 0 мм – величина врезания;
= 6 мм – длина перебега.
Подставляя известные величины в формулуы (1.7.10), и (1.7.9) получим:
Lр.х. = 35+0+6=42 мм
To = 42 / 180 0.6 мин
1.7.3. Остальные режимы резания рассчитаем табличным методом. В качестве примера определим режимы резания при сверлении отверстия диаметром 12 мм (операция 035).
Глубина резания определяется как
t = d/2 мм, (1.7.11)
где d – диаметр просверливаемого отверстия, мм.
Подставляя известные величины в формулу (1.7.11), получим:
t = 12/2 = 6 мм.
Длина рабочего хода определяется по формуле
Lр.х. = lрез+y+lдоп мм, (1.7.12)
где lрез = 12 мм – длина резания;
y = 4 мм – величина врезания;
lдоп = 0 мм –длина перебега.
Подставляя известные величины в формулу (1.7.12), получим:
Lр.х. = 12 + 4 = 16 мм
Назначим подачу на оборот шпинделя: So=0.6 мм/об
Определим стойкость инструмента по формуле
Tp = Tм мин, (1.7.13)
где Tм =80 мин – стойкость машинной работы инструмента
- коэффициент времени рабочего хода, определяется по формуле
= Lрез / Lрх (1.7.14)
Подставляя известные величины в формулу (1.7.14), и формулу (1.7.13) получим:
= 17/16 = 1.02
Тp = 1.02 80 = 81.16 мин
Рассчитаем скорость резания V, м/мин и число оборотов шпинделя n, мин-1.
V = Vтабл. K1 K2 K3 м/мин, (1.7.15)
где Vтабл. = 25 м/мин – табличное значение скорости.
K1 = 1 – коэффициент, зависящий от обрабатываемого материала;
K2 = 1 – коэффициент, зависящий от стойкости инструмента;
K3 = 1 – коэффициент, зависящий от отношения Lрез/d.
Подставляя известные величины в формулу (1.7.15), получим:
V = 25111 = 25.5 м/мин.
Значения частоты оборотов шпинделя определяем по формуле (1.7.4)
n = 100025/(12) = 663 мин-1.
По паспорту станка принимаем n= 680 мин-1.
Уточним скорость резания по формуле (1.7.6)
V = 25680/1000 = 25 м/мин
Определим основное машинное время по формуле (1.7.9)
To = 16/(6800.16) = 0.31 мин.
Режимы резания на остальные операции рассчитаем аналогично и результаты занесем в таблицу (табл. 1.4).
Таблица 1.4
Сводная таблица режимов резания.
| № | № | Наименование |
t |
nд |
V | S |
Lрх |
To |
| операци. | перехода |
операции или перехода |
мм |
об/ мин |
м/ мин |
мм/ об |
мм |
мин |
1 |
2 |
3 |
4 |
6 |
7 |
8 |
9 |
10 |
015 |
Вертик-фрезерная |
|||||||
1 |
фрез. поверхность |
2,2 |
260 |
80 |
0.12 |
86 |
0.9 |
|
2 |
фрез. поверхность |
1,5 |
450 |
80 |
0.12 |
76 |
0.82 |
|
3 |
фрез. паз |
1,6 |
450 |
30 |
0.08 |
48 |
1.31 |
|
020 |
Вертик-фрезерная |
2.2 |
320 |
35 |
0.06 |
86 |
0.57 |
|
025 |
Вертик-сверлильн. |
|||||||
1 |
зенкеровать |
2.1 |
380 |
28 |
0.8 |
48 |
0.46 |
|
2 |
развертывать |
400 |
30 |
2 |
48 |
0.32 |
||
3 |
развертывать |
400 |
30 |
2 |
48 |
0.32 |
||
30 |
Горизонт.-фрезерн. |
1.5 |
180 |
40 |
0.12 |
38 |
0.32 |
|
30 |
Вертик-сверлильн. |
6 |
680 |
25 |
0.36 |
16 |
0.31 |
1.7.4. Техническое нормирование.
Под техническим нормированием понимается установление норм времени на выполнение отдельной работы или нормы выработки в единицу времени. Под нормой времени понимается время, устанавливаемое на выполнение данной операции.
Для среднесерийного производства это штучно-калькуляционное врем (Тш.к.), и определяется как [12]
Тш.к. = То + Тв + Тобсл. + Тот.л.н. + Тп.з./n мин, (1.7.1)
где То – основное (технологическое) время, мин;
Тв- вспомогательное время, мин
Тобсл. – время на обслуживание, мин
Тот.л.н. – время а отдых и личные нужды, мин
Тп.з – подготовительно-заключительное время, мин
n – число деталей в партии, шт.
Основное и вспомогательное время составляют Топ – оперативное время, от которого в процентном соотношении считается Тобсл. и Тот.л.н . Для примера приведем расчет штучно-калькуляционного времени на 020 операцию.
Вспомогательное время включает в себя время на установку, закрепление и снятие детали, приемы связанные с управлением оборудованием (ty), контрольные измерения (tизм), время на замену инструмента, (tперех.) – связанное с переходом.
Так как измерение будет проводиться штангенциркулем, то tизм. = 0.23 мин. Инструмент крепится в обычном патроне, поэтому время на его замену равно tперех. = 0.14 мин.
Время на установку, закрепление и снятие детали определяется по формуле
tу.з.с. = tу.з.с.п. / n мин, (1.7.2)
где tу.з.с.п. = 0.32 мин – время на установку и закрепление детали в тисках
Подставляя известные величины в формулу (1.7.2), получим:
tу.з.с. = 0.32 / 1 = 0.32
Определим вспомогательное время по формуле
Тв = tу.з.с. + tизм. + tперех. мин, (1.7.3)
Подставляя известные величины в формулу (1.7.3), получим:
Тв = 0.32 + 0.23 + 0.35 = 0.89
Оперативное время определятся по формуле
Топ = То + Тв мин, (1.7.4)
Подставляя известные величины в формулу (1.7.4.), получим:
Топ = 0.57 + 0.89 = 1.46
Время на обслуживание и время на отдых составляют по 4% от оперативного времени
Тобсл. = Тот.л.н. = 0.04 1.46 = 0.0584
Подготовительно-заключительное время – это время, затраченное на подготовку исполнителя и средств технического оснащения к выполнению технологической операции. Для данного оборудования подготовительно-заключительное время на обработку детали равно 11 мин.
Приняв число деталей в передаточной партии равное n = 54 шт, определим штучнокалькуляционное время по формуле
Tшк = Топ (1+(аобсл+аф)100), мин (1.7.5)
где аобсл – норма времени на обслуживание, мин
аф и норма времени на отдых, мин.
Подставляя известные величины в формулу (1.7.5), получим:
Тшк = 1.46 (1+8100) = 1.51 мин.
Приняв число деталей в передаточной партии равное n=54 шт, определим штучно калькуляционное время по формуле (1.7.1)
Тшк = 0.57 + 0.32 + 0.14 + 0.23 + 1154 = 1.57 мин.
Нормы времени на остальные операции рассчитываем аналогично и результаты занесем в таблицу (табл. 1.5).
Таблица 1.5
Таблица норм времени.
|
№ опер. |
То |
Тв |
Топ |
Тшт |
Тп.з |
Тшк |
n |
||||||
|
tузс |
tпре |
tизм |
|||||||||||
| мин | шт | ||||||||||||
| 1 | 2 | 3 | 4 | 5 | 6 | 7 | 8 | 9 | 10 | 11 | |||
015 |
Вертик.-фрезерная |
2.7 |
0.32 |
0.35 |
0.23 |
3.6 |
3.68 |
11 |
3.8 |
54 |
|||
020 |
Вертик.-фрезерная |
0.57 |
0.32 |
0.14 |
0.23 |
1.26 |
1.31 |
11 |
1.51 |
54 |
|||
025 |
Верт.-сверлильная |
1.1 |
0.32 |
0.35 |
0.23 |
2.00 |
2.19 |
11 |
3.19 |
54 |
|||
030 |
Гориз.-фрезерная |
0.32 |
0.32 |
0.14 |
0.23 |
0.96 |
1.06 |
11 |
1.23 |
54 |
|||
035 |
Верт.-сверлильная |
0.3 |
0.32 |
0.14 |
0.2 |
0.88 |
1.96 |
11 |
2.16 |
54 |
|||
2. КОНСТРУКТОРСКАЯ ЧАСТЬ
2.1. Основы электромеханической обработки.
2.1.1. Сущность и особенности электромеханического способа упрочнения.
Электромеханическое упрочнение (ЭМУ) основано на сочетании термического и силового воздействия на поверхностный слой обрабатываемой детали. Сущность этого способа заключается в том, что в процессе обработки через место контакта инструмента с поверхностью обрабатываемой детали проходит ток большой силы и низкого напряжения вследствие чего выступающие гребешки поверхностного слоя обрабатываемой поверхности подвергаются сильному нагреву, под давлением инструмента деформируются и сглаживаются, а поверхностный слой упрочняется. В условиях серийного производства и ремонта деталей основной задачей совершенствования должно явиться повышение производительности процесса и обеспечение высокого качества. Это должно осуществляться путем применения многинструментальных приспособлений, которые во многих случаях позволяют исключить электроконтактное устройство, что особенно важно при упрочнении деталей большой длины, так как при этом обеспечивается стабильность теплообразования по всей длине детали, и, кроме того, экономиться электроэнергия.
Особенность электромеханической обработки связана с явлением горячего наклепа. Эта особенность будет проявляться тем интенсивнее, чем выше температура нагрева и давления обработки. Отсюда следует, что при высоких температурах и значительных давлениях электромеханической обработки можно ожидать в светлой зоне поверхностного слоя появление растягивающих остаточных напряжений. Сложность структуры и объемных изменений в поверхностном слое электромеханической обработки зависит от взаимодействия тепловых и силовых факторов.
С точки зрения металловедения, процессы электромеханической обработки можно отнести к особому виду поверхностей получаемых термомеханической обработкой (ТМО). Принципиальное отличие от ТМО состоит в том, что этот процесс, как правило, относится к упрочняюще-отделочной обработке. К особенностям теплообразования и термических процессов следует отнести наличие двух основных источников теплоты, создаваемых электрическим током и трением локальный нагрев, сопровождающийся действием значительных давлений термический цикл (нагрев, выдержка и охлаждение) весьма кратковременный и измеряется долями секунды высокая скорость охлаждения определяется интенсивным отводом теплоты вовнутрь детали.
Эти отличия обусловливают получение особой, мелкодисперсной и твердой структуры поверхностного слоя, обладающими высоким физико-химическими и эксплуатационными свойствами. Принципиальное отличие электромеханического способа восстановления деталей от других способов состоит в том, что в процессе восстановления достигается значительное повышение физикомеханичесикх свойств активного поверхностного слоя детали без дополнительных операций термической обработки.
Принципиальная схема электромеханической обработки заключается в следующем от сети напряжением 220 380 В ток проходит через понижающий трансформатор, а затем через место контакта поверхности обрабатываемой детали с инструментом. Сила тока и вторичное напряжение регулируются в зависимости от площади контакта поверхности обрабатываемой детали и инструмента, исходной шероховатости поверхности и качеству поверхностного слоя.
2.2. Упрочнение винтовых поверхностей.
Ходовые винты валов служат для преобразования вращательного движения в поступательно-прямолинейное перемещение с помощью сопряженной с ним гайки различных узлов станка (суппорты, каретки, фартуки и др.). Ходовой винт является одним из звеньев многозвенной размерной цепи, которая обеспечивает точность перемещения суппорта станка, а следовательно, и точность изготовляемой на этом станке детали. Равномерность перемещения узлов оказывает нередко решающее влияние на точность изготовляемой на станке детали, она зависит от ряда факторов. Хордовые винты обладают недостаточной жесткостью, так как обычно их длина во много раз больше диаметра, поэтому при работе возникают деформации ходовых винтов.
Существующие способы упрочнения ходовых винтов станков объемной закалкой и закалкой ТВЧ не нашли широкого применения главным образом вследствие того, что они приводят к деформациям длинных деталей и усложняют технологию их изготовления. По этой причине большинство ходовых винтов изготовляют не упрочненными, а их износ имеет абразивный характер и достигает значительных размеров, что приводит к потере точности станка. Так, износ ходовых винтов токарно-винторезных станков 1А62, 1Д62М по среднему диаметру при двухсменной работе достигает 0,5 мм в год.
Для ЭМО ходовых винтов небольших и средних размеров можно применять трансформатор УЭМО, а при упрочнении крупных винтов – более мощный трансформатор. Во всех случаях упрочнение длинных деталей во избежание их излишнего нагрева целесообразно подводить оба конца вторичной обмотки трансформатора к упрочняющему приспособлению.
2.3. Приспособление для упрочнения ходовых винтов.
Для упрочнения сравнительно небольших винтов (диаметр до 40 мм, длина 480 мм) используют приспособление приведенное на чертеже приведенного в графической части дипломного проекта (см. 090202.ДП.ТМС.1.1.3.С.01.01.СБ)
Приспособление состоит из двух скоб и, шарнирно-соединенных между собой. В нижней скобе (стационарной) установлены два держателя, несущие латунные ролики, свободно посаженые на осях; служащие для позиционировния по винтовым канавкам. Оба держателя могут свободно поворачиваться в гнездах (подшипники скольжения), для поворота на угол наклона винтовой канавки. В верхней скобе (откидной) установлена в подшипнике скольжения державка, несущая упрочняющую круглую твердосплавную пластину, которая неподвижно закреплена на державке. Державка изолирована от скобы подшипником скольжения который выполнен из диэлектрика, материала не проводящего электричество, В стационарной скобе имеется посаженый на палец накидной винт, под который в накидной скобе имеется стыковочный паз. Стационарная скоба крепится к уголку подпружиненным винтовым соединением. Отверстия под винт в скобе имеют некоторый зазор служащий для компенсации искажений системы станок/деталь. Пружины необходимы для устранения излишнего люфта. Уголок крепится винтами через втулки из диэлектрика к поверхности стола суппорта.
Между уголком и столом находится пластина из диэлектрика. Приспособления закрепляется описанным ранее способом к столу суппорта, и устанавливается обрабатываемый вал между которым и задней бабкой находится диэлектрическая втулка специальной конструкции, при этом латунные ролики позиционируются по шагу и наклону винтовой поверхности. После этого откидная скоба устанавливается в рабочее положение и закрепляется накидным винтом с усилием достаточным для плотного прилегания инструмента к обрабатываемой поверхности. Один из контактов подводится к державке (для чего в торце державки имеется резьбовое отверстие) а второй контакт подводится специальным устройством - щеткой на изолированный от станка патрон. И происходит процесс электромеханической обработки ходового вала.
Необходимость в изоляции корпуса станка от подвода одного из зарядов вызвана тем, что в случае наличия такого контакта эффект подобный процессу ЭМО происходил бы между соприкасающимися поверхностями самого станка (например в подшипниках или зубчатых колесах) что совсем не желательно.
При возникновении каких либо геометрических искажений в системе станок – приспособление - упрочняемый вал компенсация производится за счет подпружиненных соединений (накидной винт, крепление приспособления к уголку), сохраняя усилие не более необходимого для плотного прилегания инструмента к обрабатываемой поверхности.
3. ИССЛЕДОВАТЕЛЬСКАЯ ЧАСТЬ
3.1. Экспериментальное исследование условий образования заусенцев при фрезеровании заготовок из стали 45.
3.1.1. Цель проведения исследования.
Цель данного исследования – получение инструмента (фрезы) с оптимальной геометрией, направленной на уменьшение количества и качества заусенец.
3.1.2. Содержание исследования.
С целью отыскания оптимальных параметров процесса фрезерования я провел экспериментальные исследования. Опыты проводились на горизонтальном консольно-фрезерном станке.
Обрабатываемый материал – сталь 45.
Инструмент – торцовая фреза 160мм, оснащенная твердым сплавом Т5К10.
С геометрией режущих лезвий приведенных в табл. 3.1
Таблица 3.1
Геометрия режущих лезвий.
| | | |
1 |
|
|
-20 +15 |
5 20 |
30 90 |
0 25 |
-20 +20 |
Фрезерование производили со следующими параметрами:
диапазон скоростей резания 70 200 м/мин,
подача Sz = 0.02 0.12 мм/зуб;
глубина резания 0.2 5.0 мм.
Графики результатов опытов приведены в графической части дипломного проекта.
3.1.3. Анализ полученных результатов.
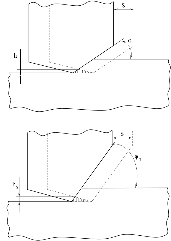
Как видно из графиков, приведенных в графической части дипломного проекта (см. 090202.ДП.ТМС.1.1.3.13.02-17 ), все обследованные факторы существенно влияют на величину заусенцев. Наиболее сильное влияние на величину заусенцев оказывает главный угол в плане (см. рис. 3.1) и (см. 090202.ДП.ТМС.1.1.3.13. ).
С увеличением угла от 30 до 75 высота заусенцев уменьшается от 4 мм до 0.6 мм, т.е. в 6.6 раза, и достигает своего минимального значения при =75. При дальнейшем увеличении угла величина заусенцев возрастает . Уменьшение величины заусенцев с увеличением в области 30 75 объясняется, очевидно, снижением составляющей силы резания Py , нормальной к обрабатываемой поверхности. С увеличением в работу резания все больше вступает вспомогательная режущая кромка, так как высота гребешков h (см. 090202.ДП.ТМС.1.1.3.13. ) возрастает. Это приводит к росту сил резания на вспомогательной режущей кромке, а следовательно, и к некоторому увеличению высоты H и толщины звусенцев в диапазоне = 75 90.
Как видно из графиков (см. 090202.ДП.ТМС.1.1.3.13. ) с увеличением вспомогательного угла в плане , от 0 до 10 величина заусенцев резко уменьшается, а затем, при дальнейшем увеличении , практически не изменяется.
Аналогичный характер имеет и зависимость сил резания на вспомогательной режущей кромке: вначале они уменьшаются, а затем остаются практически неизменными.
С увеличением заднего угла до 12 в связи с уменьшением сил трения на задней грани, уменьшаются силы резания, а следовательно, и величина заусенцев
(см. 090202.ДП.ТМС.1.1.3.13. ).
Дальнейшее увеличение угла практически не снижает силы резания и величину заусенцев. Оптимальным углом следует считать опт = 12 . При больших ослабляется режущая часть инструмента.
Увеличение переднего угла сопровождается уменьшением сил резания и величины заусенцев (см. 090202.ДП.ТМС.1.1.3.13. ). Например, с увеличением от -15 до 0 высота заусенцев снижается от 1.6 мм до 0.15 мм. Большие значения угла назначать не рекомендуется из-за ослабления режущей части фрезы. Кроме того, дальнейшее увеличение переднего угла снижает величину заусенцев незначительно.
Как видно из графика (см. 090202.ДП.ТМС.1.1.3.13. ), на котором представлена зависимость величины заусенцев от угла наклона режущей кромки X, минимальную величину заусенцы имеют при = -10. Зависимость высоты H и толщины Q заусенцев от скорости резания представлены на рис.25. Увеличение скорости резания в диапазоне 70 200 м/мин повышает величину заусенцев. Это объясняется, очевидно, повышением пластичности обрабатываемого материала в связи с повышением температуры резания. Сила резания при этом несколько понижается, но в меньшей степени.
Зависимость H и Q от подачи имеет сложный характер (см. 090202.ДП.ТМС.1.1.3.13. ). В области малых подач 0.02 0.07 мм/зуб увеличение ее снижает величину заусенцев, которые при S = 0.07 мм/зуб имеют минимальную величину. Дальнейшее увеличение S приводит к увеличению H и Q.
Такая закономерность объясняется следующим. С увеличением подачи одновременно прогрессируют два процесса: упрочнение (наклеп) вследствие повышения сил резания и разупрочнение (отдых) из-за воздействия теплоты. Первый процесс способствует охрупчиванию поверхностного слоя обрабатываемого материала, что снижает величину заусенцев, а второй процесс повышает пластичность обрабатываемого материала, а следовательно, и способствует росту заусенцев. В области малых подач интенсивность первого процесса выше. Этим и объясняется снижение H и Q. А в области подач 0.07 0.12 мм/зуб второй процесс преобладает над первым и величины H и Q возрастают.
Уменьшение глубины резания от 5 до 0.4 мм снижает величину заусенцев незначительно (см. 090202.ДП.ТМС.1.1.3.13. ). Величина заусенцев резко снижается с уменьшением t от 0.4 мм. Это объясняется тем, что при малых t режущие лезвия фрезы срезают наклепанный более хрупкий слой.
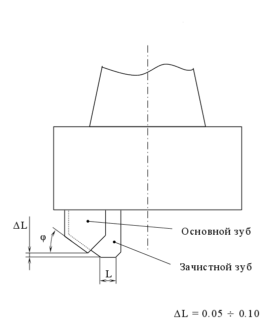
Поэтому для снижения величины заусенцев целесообразно применение фрез с одним или несколькими зубьями, которые делаются на 0.05 0.1 мм выше всех остальных зубьев (см. 090202.ДП.ТМС.1.1.3.13. ). Главная режущая кромка зачистных зубьев не участвует в работе, так как она смещена в радиальном направлении, что снижает нагрузку на эти зубья и повышает их стойкость.
Длина L зачистного зуба должна быть больше величины подачи на один оборот, что необходимо для снятия следов обработки от всех основных (незачистных) зубьев. Вспомогательный угол в плане , на зачистных зубьях равен нулю, а на основных - 15.
Экспериментальные зависимости, приведенные выше, получены при работе острой фрезой и не учитывают износа инструмента , который, как показывает опыт, оказывает существенное влияние на величину заусенцев. Поэтому при выборе оптимальных параметров процесса фрезерования необходимо учитывать их влияние на износостойкость инструмента.
Мною проводились исследования по отысканию зависимостей интенсивности износа фрезы от геометрических параметров и параметров режима резания. Опыты проводили в тех же условиях, что и при отыскании зависимостей величины заусенцев и параметров процесса фрезерования.
В качестве характеристики интенсивности износа инструмента принят поверхностный относительный износ по задней грани. Величину определяли из соотношения:
= dh3 / dп мм/м2, (3.1.1)
где h3 – ширина штрихов износа по задней грани
режущей части фрезы в мм;
п – площадь обрабатываемой поверхности в м2
Износ задней грани инструмента измеряли с помощью лупы Бринелля с ценой деления 0.1 мм. Результаты опытов представлены на рис. 6-14. Как видно из графика на рис.6, на котором изображена зависимость =f(), уменьшение угла от 90 до 30 снижает интенсивность износа режущих лезвий фрезы. Это объясняется тем, что с уменьшением угла толщина среза уменьшается, ширина увеличивается, а вместе с этим улучшается и отвод тепла из зоны резания. В результате стойкость фрезы возрастает. Однако наряду с этим резко возрастает величина заусенцев, что значительно повышает трудоемкость их удаления. В силу этого целесообразнее применять фрезу с углом =70, хотя интенсивность ее износа будет в 2 раза выше, чем фрезы с углом =30. Следует отметить, что фрезы с малым углом в плане (например = 2030) могут быть использованы только про условии жесткой и виброустойчивой технологической системы СПИД, причем глубина резания не должна быть выше 3мм.
Интенсивность износа фрезы с увеличением , вначале снижается и достигает своего минимального значения при = 15, а затем, при дальнейшем увеличении этого угла, возрастает (см. 090202.ДП.ТМС.1.1.3.13. ). Повышенный износ фрез с малым , вызван возникновением вибраций, а с 1>15 ослаблением режущей части инструмента и ухудшением теплоотвода из зоны резания.
Рекомендуется применять фрезы с 1 = 15. При этом обеспечивается минимальные величина заусенцев и интенсивность износа фрезы.
Зависимость интенсивности износа задней грани фрезы от заднего, угла имеет сложный характер (см. 090202.ДП.ТМС.1.1.3.13. ). С увеличением от 5 до 14 величина возрастает, а при дальнейшем повышении этого угла до 20 снижается. В области <11 величина заусенцев значительна, поэтому эти значения углов применять нецелесообразно.
Выбор большого заднего угла 20 нежелателен, так как он связан с ослаблением режущей кромки инструмента, что приводит к выкрашиванию режущей кромки инструмента.
Кроме того, с повышением величины заднего угла возрастает износ режущей кромки в радиальном направлении, хотя износ задней грани имеет небольшую величину. С рассмотренных позиций целесообразно применять = 16.
В области = -150 изменение этого угла не оказывает существенного влияния на интенсивность износа фрезы (см. 090202.ДП.ТМС.1.1.3.13. ). С увеличением от 0 до 10 износ инструмента повышается. Анализ зависимостей величины заусенцев и интенсивности износа фрезы от переднего угла дает основание рекомендовать = 0.
Как видно графика (см. 090202.ДП.ТМС.1.1.3.13. ), на котором изображена зависимость интенсивности износа фрезы от угла наклона режущей кромки, минимальное значение фреза имеет при = +10. Это объясняется тем, что при угле больше нуля первоначальное место контакта инструмента и заготовки удаляется от вершины зуба и тем самым предохраняет от сколов наиболее ослабленное место. Особенное значение это имеет для фрез с пластинками из твердого сплава . Однако величина заусенцев при >0 значительна, поэтому рекомендуется применять =0.
С увеличением скорости резания от 40 до 80 м/мин интенсивность износа фрезы сохраняется неизменной (см. 090202.ДП.ТМС.1.1.3.13. ). При дальнейшем увеличении до 150 м/мин величина возрастает.
Таким образом, с точек зрения интенсивности износа инструмента и величины заусенцев целесообразно фрезеровать заготовки из стали 45 с = 80 м/мин. Увеличение подачи S от 0.05 до 0.15 мм/зуб снижает интенсивность износа фрезы (см. 090202.ДП.ТМС.1.1.3.13. ). при этом снижение величины в диапазоне подач 0.06 0.15 мм/зуб незначительно. Поэтому в качестве критерия при выборе величины S принимается величина заусенцев. Рекомендуется применять S = 0.08 мм/зуб. Интенсивность износа фрезы с увеличением глубины резания от 0.3 до 5 мм возрастает незначительно (см. 090202.ДП.ТМС.1.1.3.13. ).
3.1.4. Выводы и рекомендации.
Результаты экспериментальных исследований, приведенных выше, дают основание рекомендовать две конструкции фрезы: первая конструкция фрезы отличается от стандартной лишь геометрическими параметрами режущих лезвий, поэтому практически не требует дополнительных затрат на ее изготовление.
Геометрические параметры этой фрезы имеют значения, приведенные в таблице (табл. 3.1.2).
Таблица 3.1.2
Геометрические параметры фрезы.
-
1
70
15
0
16
0
Вторая конструкция фрезы имеет такую же геометрию, как и первая, но отличается от нее наличием одного или нескольких зачистных зубьев (см. рис. 3.2), имеющих вспомогательную режущую кромку длиной 1.5 2 мм с 1 = 0. Остальная часть режущих кромок этих зубьев имеет 1 = 15. Фрезерование целесообразно проводить со скоростью резания = 80 м/мин и подачей Sz = 0.08 мм/зуб.

рис. 3.2 Влияние угла в плане на высоту заусенцев

рис. 3.2 Конструкция фрезы с зачистным зубом
3.2. Прогнозирование точности и качества при проектировании технологических процессов механической обработки.
3.2.1. Цель проведения исследования.
Цель данного исследования – разработка программного пакета, прогнозирования точности обработки деталей на металлообрабатывающих станках, для ПЭВМ.
3.2.2. Содержание исследования.
В процессе работы было проведено исследование точности обработки деталей на металлообрабатывающих станках и, согласно методике, разработан алгоритм , приведенный в графической части дипломного проекта (см. 090202.ДП.ТМС.1.1.3.13.18), работы программы. Опыты проводились на токарно-винторезном станке. Результаты исследования занесены в таблицу (табл. 3.2.1).
3.2.3. Методика анализа точности обработки партии деталей, с помощью кривых распределения.
Для того, чтобы изделие экономично выполняло свое служебное назначение, оно должно обладать необходимым для этого качеством. Качество продукции – совокупность свойств продукции, обуславливающих ее пригодность удовлетворять определенные потребности в соответствии с ее назначением (ГОСТ 15467-79).
К основным показателям качества изделия можно отнести безотказность функционирования, долговечность, точность сопряжений, уровень шума, безопасность, коэффициент полезного действия, удобство и простоту обслуживания, степень механизации и т.д.
Количественное значение показателей качества может устанавливаться либо на стадии разработки проектного задания как уровень, к которому необходимо стремиться при проектировании деталей, либо в процессе проектирования просчитывается как результат, полученный при разработке данной конструкции. Качество изделия складывается из качества деталей, его составляющих и качества соединения этих деталей. Одним из наиболее важных показателей качества деталей считают прочность их изготовления. Под точностью детали понимают степень ее приближения к геометрически правильному ее прототипу. По-видимому, под геометрически правильным прототипом можно представить деталь, которая, работая в узле в сопряжении с деталями также геометрически правильно выполненными, обеспечивает максимальную долговечность изделия.
Точность механической обработки деталей на станках – это степень соответствия реальной поверхности обработанной детали идеальной схеме обработки, положенной в основу данного метода. Точность обработки – понятие чисто технологическое, характеризующее каждый из методов обработки.
После обработки партии деталей на настроенном станке (например, в течении одной смены) производят выбор некоторого количества деталей для обмера. В примере, приведенном ниже, анализ точности обработки партии деталей будет выполнен по результатам обмера диаметра у 50 деталей, который в операционном эскизе задан =160.08 В пределах указанной выборки (50 шт.) наибольший диаметр был Xmax = 16.05 мм, наименьший Xmin = 15.89 мм. Разница между Xmax и Xmin = = 0.16 мм, есть поле рассеивания размеров выборки.
Для определения закона нормального распределения случайных величин (и последующего определения по нему вероятного процента брака) первоначально по результатам замеров строят кривую эмпирического распределения размеров и определяют ее характеристики X – среднеарифметический размер партии и - среднее квадратичное отклонение, которое определяется по следующим зависимостям
X = (x1m1+x2m2+…+xkmk)/n = 1/nximi ; (3.2.1.)
= =((x1-x)2m1+...+(xk-x)2mk)/n (3.2.2.)
где xi – размер в соответствующем интервале
n – количество деталей в выборке
mi–абсолютная частота попадания размера в соответствующий интервал
k – число интервалов, на которые разбито поле рассеивания размеров.
Число интервалов рекомендуется определять по следующей зависимости
5lg(n)k (3.2.3.)
В нашем примере k = 5lg (50) 8. Зная и k, определяют цену деления по оси x
Cu = /k (3.2.4.)
Для построения графиков эмпирического и теоретического распределения размеров, для выполнения расчетов по формулам (3.2.3) и (3.2.4) а так же для определения оценочных критериев выборки целесообразно составить таблицу, которая для нашего примера будет содержать следующие данные
Табл. 3.2.
Значения расчетных величин.
| № |
интервалы размеров xi |
mi |
среднее значение |
ti |
zt |
k |
Nx |
Nx` |
Nx-1/x |
| 1 | 2 | 3 | 4 | 5 | 6 | 7 | 8 | 9 | 10 |
1 |
15.89…15.91 |
2 |
15.9 |
2.29 |
0.029 |
0.85 |
2 |
0.849 |
1.51 |
2 |
15.89…15.91 |
2 |
15.92 |
1.71 |
0.092 |
2.64 |
4 |
3.489 |
0.511 |
3 |
15.89…15.91 |
6 |
15.94 |
1.14 |
0.208 |
5.95 |
10 |
9.439 |
0.561 |
4 |
15.89…15.91 |
10 |
15.96 |
0.57 |
0.339 |
9.64 |
20 |
19.08 |
0.921 |
5 |
15.89…15.91 |
12 |
15.98 |
0.00 |
0.399 |
11.4 |
32 |
30.48 |
1.521 |
6 |
15.89…15.91 |
8 |
16.00 |
0.57 |
0.339 |
9.69 |
40 |
40.17 |
0.169 |
7 |
15.89…15.91 |
7 |
16.02 |
1.14 |
0.208 |
5.95 |
46 |
46.12 |
0.881 |
8 |
15.89…15.91 |
3 |
16.04 |
1.71 |
0.093 |
2.64 |
50 |
48.80 |
1.2 |
Пользуясь данными таблицы (колонки 2 и 3), строим график эмпирического распределения (рис. 3.3). При этом точки, принадлежащие каждому интервалу размеров, на графике наносятся против середины соответствующего интервала.

рис 3.3 График распределение размеров
На графике (см. рис. 3.3) измеренное поле рассевания размеров и допуск на изготовление Т. Пользуясь формулами вычислим характеристики эмпирического распределения.
Основной целью анализа распределения точности обработки партии деталей является прогнозирование вероятного количества бракованных и годных деталей на исследуемой операции. Выше было указано, что распределение размеров деталей на операциях механической обработки в большинстве случаев следует закону нормального распределения случайных величин. Это позволяет использовать указанный закон для анализа точности рассматриваемой операции. Для построения теоретической кривой нормального распределения (для последующего сравнения с эмпирической и установления возможности использования в расчетах закономерностей нормального распределения) используют следующую методику
Аналитически закон нормального распределения выражается уравнением
![]()
y = 1/(o2) e^(-(x-xo)2/2o2) (3.2.5.)
где e – основание натуральных логарифмов
x и о – параметры генеральной совокупности.
Под генеральной совокупностью следует понимать все количество деталей, которое будет выполнено по данному технологическому процессу. Для использования закона нормального распределения к анализу точности обработки партии деталей с некоторой погрешностью приравнивают соответствующий параметры экспериментального распределения и генеральной совокупности о xo = xo.
Для практических расчетов при n20 целесообразно использовать более точное соотношение с учетом погрешности эмпирических параметров распределния
о
=
2
(3.2.6.)
xo
= x
n
(3.2.7.)
С учетом использования экспериментальных данных полагают
y
= K`/(nCu)
= 1/(o2)
e^(-(x-xo)2/2o2) (3.2.8.)
где K` - теоретическая частота для любых значений x=m;
Cu – величина интервала по оси абсцисс.
Из (3.2.8) получаем
K` = nCu / o (3.2.9.)
t = (x-xo)/o (3.2.9.)
K
`
= nCu/o
1/2
e^(-(x-xo)2/2o2) (3.2.9.)
В математической статистике для проверки нормальности распределения выборки используется несколько критериев. Наиболее простым для вычисления является критерий академика А.Н.Колмогорова - .
Используем этот критерий для анализа нормальности распределения приведенной выше выборки.
Первоначально делается предположение о том, что партия деталей, из которой извлечена выборка, имеет нормальное распределение, следовательно, равенства (1) и (2) справедливы. Согласно методике
= (Nx
– N`xmax)/n (3.2.10)
где N = mi – накопленные эмпирические частоты распределения случайной величины xi, которые подсчитываются в нашем примере по данным таблицы (табл.5.1 столбец 3).
Nx` - накопленные теоретические частоты распределения.
В числителе формулы (3.2.1) берется наибольшая абсолютная разность накопленных теоретических и эмпирических частот. Накопленные теоретические частоты подсчитываются на основе формулы (3.2.2).
- случайная величина, которая подчиняется нормальному закону распределения, по которому можно вычислить вероятность этой величины P().
Р() – выражает вероятность соответствия эмпирического распределения, полученного в примере, распределению генеральной совокупности. Для анализа распределений, рассматриваемых в технике, установлено, что если Р()<0.05, (то есть вероятность соответствия очень мала), то наше первоначальное предположение об отсутствии различия между распределениями выборки и генеральной совокупности является не верным. И наоборот, если Р()0.05, то полученное расхождение между эмпирическими и теоретическими частотами следует считать случайными.
Проверка случайности выборки в исследованиях осуществляется тогда, когда в течении наблюдений центр распределения величины X может постепенно меняться, однако среднее квадратичное отклонение остается постоянным. Именно такие явления наблюдаются при операциях с механической обработкой, в силу действия ряда закономерно - изменяющихся погрешностей.
Достаточно простым и надежным для проверки “случайности” выборки является способ последовательных разностей. Он основан на определении некоторого критерия
= C2/S2 > g (3.2.11.)
где g – некоторое критическое значение критерия .
В связи с тем, что рассеивание размеров на исследуемой операции подчиняется закону нормального распределения, следовательно, практически размеры деталей могут находиться в пределах поля, ограниченного теоретической кривой. Годными же будут детали, размеры которых остаются в пределах поля допуска. (рис.3.2)
Вероятность получения количества деталей в пределах поля допуска равна отношению площади, заключенной между ординатами, проведенными через границу поля допуска и границы теоретической кривой. Для определения площади используют нормированную функцию Лапласа, которая получается после интегрирования уравнения кривой Гаусса, с использованием подстановки
t = (x-xo) / o (3.2.12.)
Значения
функции Лапласа
табулированы.
В приведенном
виде формула
используется
для определения
половины площади
под кривой, так
как при t ,
Ф(t) стремится
к 0.5. Для практических
расчетов используют
диапазон кривой
Гаусса в пределах
–3 Количество
бракованных
деталей определяют
по формуле
W = [ 1 – Ф(tл)
– Ф(tn)
]
100% (3.2.13.) где
tл и tn
– значение
аргумента t
соответственно
для левой и
правой границ
поля допуска.
3.2.4. Выводы
и рекомендации.
На основе выше
изложенной
методики и
исходных данных
мною была разработана
и написана
программа
статистического
анализа точности
обработки
партии деталей.
В качестве
инструмента
написания
использовался
язык высокого
уровня PASCAL,
и среда разработки
программ
IDE / turbo pascal 7.0. Borland ©.
Программа
(далее пакет)
имеет законченный
и рабочий вид,
Оболочка,
реализованная
в пакете, позволяет
легко вводить
новые данные,
сохранять и
считывать
информацию
(ранее заведенные
данные) с накопительных
устройств.
Пакет имеет
удобный в работе
интерфейс,
коррекцию
ошибок ввода/вывода,
формата данных.
Пакет предоставляет
в наглядной
форме отчет
(анализ) в текстовом
виде и график
распределения
размеров. Данные
хранятся в
файле, в текстовом
формате, что
позволяет
корректировать
их не только
в пакете но и
средствами
программной
оболочки (Dos
Navigator, Norton Commander, FAR).
Исходный текст
программы (см.
прил. ), файл с
введенным
примером и
описание прилогается.
4.
ОРГАНИЗАЦИЯ
ПРОИЗВОДСТВА
4.1.
Состав продукции
цеха, регламент
его работы и
характеристика.
Приспособление
для восстановления
ходовых винтов
выпускает
специальный
цех, специализированный
на производстве
приспособлений
и инструментов
для восстановления
поверхностей
деталей электромеханической
обработкой.
Цех работает
в две рабочих
смены, рабочих
часов в неделю
- 40; количество
часов работы
в смену - 8. 4.2.
Определение
потребного
количества
оборудования
и производственной
площади участка. 4.2.1.
Расчет трудоемкости
изготовления
заданной детали
по операциям
технологического
процесса определяется
по формуле
Tgi =
Nзапtшт.к.i60
, (4.2.1.) где
Tgi –
трудоемкость
i-ой операции
технологического
процесса обработки
заданной детали,
ч Nзап
– годовая программа
запуска детали,
шт tшт.к.
– норма штучно-калькуляционного
времени i-ой
операции
технологического
процесса, мин. Подставляем
значения для
операции 015 в
формулу (4.2.1)
Tg015
= 20123.860
= 78.4 Подставляем
значения для
последующих
операций в
формулу (4.2.1), и
результаты
заносим в таблицу
(табл. 4.1).
Таблица 4.1
Расчет годовой
трудоемкости
количества
основного
технологического
оборудования. № наименование модель трудоемкость годов. расчетн. опер операции станка tшт.к мин Ктруд 1 2 3 4 5 6 7 8 015 фрезерная 6Р13РФ2 3,8 127, 1,16 020 фрезерная 6Р13 1,51 50,6 0,46 025 сверлильная 6Р13 3,19 2012 36,54 106,9 0.97 030 фрезерная 6Р82Г 1,23 41,25 0,375 035 сверлильная 2М55 2,16 72,43 0,659 4.2.2.
Расчет потребности
основного
технологического
оборудования
определяется
по формуле
Си.рас. = Ти.уч.
Фдо
(4.2.2.) где
Си.рас. – расчетное
число станков
по каждой операции
техпроцесса
на участке Ти.уч.
– трудоемкость
по каждой операции
техпроцесса
на участке Фдо
– действительный
годовой фонд
времени = 4015 ч. Трудоемкость
по каждой операции
техпроцесса
определяется
по формуле
Ти.уч. = Ти.дет.
Ттруд
ч, (4.2.3.) где
Ттруд = 36.54 –
коэффициент
соотношения
трудоемкостей.
Преобразовав
формулы (4.2.2) и
(4.2.3), получим Си.рас.
= Тидет.
Ттруд.
Фд.о. (4.2.4.) Подставляя
известные
величины в
формулу (4.2.4), получим:
С015
= 127,42 36,54
4015 = 1,16 Расчет
числа оборудования
для других
операций производим
аналогично
и результаты
заносим в таблицу. 4.3.
Расчет
плановой
себестоимости
продукции
участка.
4.3.1. Расчет
стоимости
основных материалов.
Расходы на
основные материалы
за вычетом
отходов определяются
по формуле
М = С3 – Со
гр, (4.3.1.) где
С3 – стоимость
заготовки
детали, гр Со
– стоимость
отходов, гр.
С3 = m3ЦмКмз1000
гр, (4.3.2.) где
m3 – масса
заготовки
детали, кг Цм
– стоимость
1т. заготовки Кмз
– коэффициент,
учитывающий
транспортно
– заготовительные
расходы.
Со = mотЦо1000
гр, (4.3.3) где
mот – масса
отходов, кг Цо
- стоимость
1т. отходов, гр. Подставляя
известные
величины в
формулы (4.3.1), (4.3.2) и
(4.3.3.), получим:
С3
= 1.40512201.151000
= 1,52 Со
= 0.1054201000
= 0.04 М =
1.97 – 0.04 = 1.48 4.4.
Расчет себестоимости
и условной
внутризаводской
цены детали.
4.4.1.
Цеховую
себестоимость
детали (Сц)
определяем
по следующей
формуле
Сц = М + Зтар
+ Зд + Зотч
+ Нрас гр,
(4.4.1.) где
М – расходы
на основные
материалы за
вычетом отходов,
гр Зтар
– прямая тарифная
зарплата основных
производственных
рабочих, гр.
Зтар = tшт.к.
60
Чср.взв. гр, (4.4.2.) где
tшт.к.
– норма штучно-калькуляционного
времени на
обработку
детали , мин Чср.взв.
– средневзвешенная
часовая тарифная
ставка, гр Зд
– доплаты и
дополнительная
оплата труда
основных
производственных
рабочих на одну
деталь, гр.
Определяется
как Зд
= Зтар
адоп
100 , (4.4.3.) где
адоп – процент
доплаты и
дополнительной
оплаты, адоп
= 64%. Отчисления
в фонд социального
страхования
определяются
как Зотч
= (Зтар + Зд)
0.375 (4.4.4.) Расходы
по содержанию
и эксплуатации
оборудования
и цеховые расходы
Нрас находим
по формуле Нрас
= Зтар
акос.рас
100 (4.4.5.) где
акос.рас. –
процент накладных
косвенных
расходов, акос.рас.
= 377,86% Подставляя
известные
величины в
формулы (4.4.1), (4.4.2),
(4.4.3), (4.4.4) и (4.4.5), получим:
Зтар
= 12.160
0.73 = 0.159 Зд
= 0.15964100
= 0.102 Зотч
= (0.159+0.101)0.375 =
0.091 Нрас
= 0.159377.86100
= 0.6 Cц
= 1.48 + 0.159 + 0.101 + 0.091 + 0.6 = 2.43 4.4.2.
Условная
внутризаводская
цена детали
определяется
по формуле Ц =
Сц + Ппл
гр, (4.4.6.) где
Ппл – плановая
прибыль на одну
деталь, гр,
определяется
как Ппл
= (Сц – М)Рм
100 гр, (4.4.7.) где
Рм – нормативная
рентабельность
производства,
= 40%. Подставляя
известные
величины в
формулы (4.4.6) и
(4.4.7), получим:
Ппл
= (2.43 - 1.48)40100
= 0.38 Ц =
2.43 + 0.38 = 2.81 Расчет
затрат на годовую
программу
запуска находим,
умножив затраты
на деталь на
годовую программу
запуска, и если
умножить полученный
результат на
коэффициент
соотношения
трудоемкостей,
то получим
себестоимость
товарной продукции.
Результаты
расчетов сводим
в таблицу (табл.
4.2).
Таблица 4.2
Расчет себестоимости
и условной цены
детали. затраты
на деталь на
1 шт. гр на
годовую программу
запуска, гр товарной
продукции,
гр 1.48 2977 108807 0.159 320 11689 0.101 203 7425 0.091 183 6690 5.
Расходы по
содержанию
и эксплуатации
оборудования
и
цеховые
расходы 0.6 1207 44111 5.
ЭКОНОМИКА
ПРОИЗВОДСТВА 5.1.
Определение
экономического
эффекта. Проанализируем
экономическую
эффективность
двух технологических
процессов
обработки
проектируемой
детали. В базовом
технологическом
процессе операция
025 осуществляется
на модели 2М55.
На этой операции
мы зенкеруем
и дважды развертываем
отверстие
25Н7.
Недостатками
этого технологического
процесса являются
большие затраты
времени на
смену инструмента
и настройку
оборудования,
если обработка
ведется на
одном станке,
и затраты времени
на установку,
закрепление
и снятие заготовки,
если обработка
ведется на
патронных
станках. В
качестве нового
технологического
процесса принимаем
вариант с применением
на операции
025 станка с ЧПУ
модели 2Р15Ф2. Таким
образом, мы
уменьшаем
трудоемкость
и тем самым
снижаем себестоимость
детали. Покажем
это путем проведения
расчетов, а для
удобства сведем
все данные в
таблицу (табл.
5.1). Таблица
5.1 Исходные
данные для
проведения
расчета. наименование единицы Ан tшт нч Сч 4. Коэфф.
учитывающий доплаты
и премии Кз 53 53 5. Коэфф.
учитывающий дополн.
заработную
плату Кд 11 11 6. Годовой
фонд работы одного
рабочего Fраб ч 1860 1860 8. Коэфф.
учитывающий отчисление
в соцстрах Кс % 37.5 37.5 Цм до цо 12. Действительный
годовой
фонд времени F ч 4015 4015 13. Коэфф.
загрузки
оборудования Кзо 0.93 0.93 14. Коэфф.
выполнения нормы Квн 1.2 1.2 15. Балансовая
стоимость единицы
оборудования Кб гр 20500 35000 16. Норма
аммортизацион ных
отчислений Р % 11.6 11.6 Продолжение
таблицы 5.1 17. Норма
отчислений
на содержание
и ремонт оборудования Рz % 0.3 0.3 18.
Производственная
площадь. Sпл м2 0.72 4.036 19.
Стоимость
1м2,
производственной
пощади Цпл гр 200 200 20. Амортизация помещения Рпл % 2.6 2.6 21. Годовая
норма затрат на содержание
и ремонт помещений Р`пл % 0.02 0.02 22.
Мощность
оборудования Nдв квт 2.2 3.7 дв 24.
Тариф на электроэнергию Сэ гр 0.163 0.163 25. Затраты
на единицу оснастки Кбосн гр 6438 4821 26.
Норма амортизационных
отчислений
на оснастку Росн % 20 20 27. Годовая
норма затрат на содержание
и ремонт оснастки Р`осн % 0.5 0.5 28.
Затраты на
инструмент Ки гр 10 10 29.
Стойкость
инструмента
Тст мин 60 60 Продолжение
таблицы 5.1 30.
Число переточек
инструмента nпер шт 5 5 31.
Затрата на
одну переточку спер гр 0.10 0.10 Куб % 1.2 1.2 Q штгр 0.31 0.31 34.
Коэффициент
трудоемкости. Ктр 36.54 36.54 5.2.
Проведем
расчет величин
капитальных
вложений и
результаты
занесем в таблицу
(таб. 5.2). Таблица
5.2 Определение
величины капитальных
вложений Наименование показателей, варианты (+) – экономия формулы
для расчета базовый новый оборудования. nрас
= АнtштКтруд FKвнКврКр nрас шт 0.856 0.431 Продолжение
таблицы 5.2 2. Принятое
число оборудования nпр шт 1 1 3.
Затраты на
оборудование Коб
= К
nпр Коб гр 20500 35000 +14500 4. Расчетное
количество оснастки Прс шт 1 1 5. Принятое
количество оснастки Пос шт 1 1 6. Затраты
на оснастку и
инструмент Косн
= Кбосн
nосн Косн гр 6438 4821 -1617 7.
Затраты на
производственное
помещение Кз.д.=Sпл
Кдп
nпр
Цпл Кзд гр 504 2508 +2004 ВСЕГО +14887 5.3.
Определим
экономию от
снижения
себестоимости. Производим
расчет и заполняем
полученными
данными таблицу
(табл. 5.3.) Таблица
5.3 Определение
экономии от
снижения
себестоимости Элементы
затрат, варианты (+) – экономия формулы
для расчета базовый новый 1.
Материалы См
= (дЦм-доЦо)АнКтр См гр 117098 117098 - 2.
Зарплата и
отчисление
в соцстрах СзпКс=tштСчКзКгАнКмр Сзп гр 6258 4160 -2097 Сэ
= NдвКnКдв дв Сэ гр 1505 2486 +981 4. Оснастка Сосн
= Кбосн
nосн Сосн гр - - - 5. Инструмент Сп
= nпл(КиnперСпер-Цпо)
Кмр Сп гр 767 383 -384 6.
Амортизация
и затраты на
текущий ремон
оборудования Сам.р.
= Кбnпр100
+ Смр Самр гр 2040 4060 +1920 7. Амортизация
и затраты на
текущий ремонт
оборудования Сос=Кбосnос(Рос+Р`ос)100 Сос гр 1609.5 1205 -3952.5 8.
Амортизация
затрат на
текущий ремонт
здания Спр=Кзд(Рпл+Р`пл)100 Спр гр 25.2 125.4 +100,2 С -3432.3 5.4.
Произведем
расчет общих
показателей
экономической
эффективности
и результаты
занесем в таблицу
(табл. 5.4). Таблица
5.4. Расчет
общих показателей
экономической
эффективности. Наименование
показателей,
формулы для
расчета. Расчет 1.
Снижение
себестоимости
в расчете: на
годовой выпуск
Сч
= Сб-Сн на
программу
Сн
= (Сб-Сн)Ктр на
единицу продукции
Сед=(Сб-Сн)(КтрАзап) Сч Сn Cед гр гр гр -3432.3 99.6 0.05 2.
Экономический
эффект в расчете на
годовой выпуск
Э=(Сб-Сн)+Ен(Кн-Кб) на
программу
Эн
= ЭКтр на
единицу продукции
Эед=ЭнNзап
Э Эн Эед гр гр гр 1596.14 46.2 0.03 3.
Окупаемость
дополнительных
капитальных
затрат
Т`=(Кн-Кб)(Сб-Сн)=КдопС Т` год 3.6 4.
Условное
высвобождение
численности
на
годовой выпуск
=(tшт-tшт.н.)АнКтрFрабКвн на
программу
n
= Ктруд на
единицу продукции
ед
= nАн n ед чел чел чел 1 1 1 6.
ОХРАНА ТРУДА
6.1. Назначение
охраны труда
на производстве. Широкое
применение
в промышленности
электродвигателей,
нагревательных
электрических
приборов, систем
управления,
работающих
в различных
условиях, требует
обеспечения
электробезопасности,
разработки
мероприятий
и средств,
обеспечивающих
защиту людей
от воздействия
электрического
тока. Охрана
труда - это система
законодательных
актов, социально-экономических,
организационных,
технических,
гигиенических,
и лечебно-профилактических
мероприятий
и средств,
обеспечивающих
безопасность,
сохранение
здоровья и
работоспособности
человека в
процессе труда.
Как известно
– полностью
безопасных
и безвредных
производств
не существует.
Задача охраны
труда - свести
к минимальной
вероятность
поражения или
заболевания
работающего
с одновременным
обеспечением
комфорта при
максимальной
производительности
труда. Улучшение
условий труда
и его безопасность
приводят к
снижению
производственного
травматизма,
профессиональных
заболеваний,
что сохраняет
здоровье трудящихся
и одновременно
приводит к
уменьшению
затрат на оплату
соответствующих
льгот и компенсаций
за работу в
неблагоприятных
условиях.
В данном разделе
“Охрана труда”
наряду с теоретическими
основами, с
достаточной
полнотой, рассмотрены
организационные
вопросы охраны
труда, пожарной
безопасности,
электробезопасности,
оздоровления
воздушной cреды
производственных
помещений,
методы и средства
обеспечения
безопасности
технологических
процессов, а
также приведены
требования,
методы и средства,
обеспечивающие
безопасность
труда при
изготовлении
проектируемого
электродвигателя.
6.2. Анализ
условий труда.
По мере усложнения
системы “Человек-техника”
все более
ощутимее становится
экономические
и социальные
потери от
несоответствия
условий труда
и техники
производства
возможностям
человека. Анализ
условий труда
на механосборочном
участке, где
будет изготавливаться
проектируемый
двигатель
приводит к
заключению
о потенциальной
опасности
производства.
Суть опасности
заключается
в том, что воздействие
присутствующих
опасных и вредных
производственных
факторов на
человека, приводит
к травмам,
заболеваниям,
ухудшению
самочувствия
и другим последствиям.
Главной задачей
анализа условий
труда является
установление
закономерностей,
вызывающих
ухудшение или
потери работоспособности
рабочего, и
разработка
на этой основе
эффективных
профилактических
мероприятий.
На участке
имеются следующие
вредные и опасные
факторы:
а) механические
факторы, характеризующиеся
воздействием
на человека
кинетической,
потенциальной
энергий и
механическим
вращением. К
ним относятся
кинетическая
энергия движущихся
и вращающихся
тел, шум, вибрация.
б) термические
факторы, характеризующиеся
тепловой энергией
и аномальной
температурой.
К ним относятся
температура
нагретых предметов
и поверхностей.
в) электрические
факторы, характеризующиеся
наличием токоведущих
частей оборудования.
При разработке
мероприятий
по улучшению
условий труда
необходимо
учитывать весь
комплекс факторов,
воздействующих
на формирование
безопасных
условий труда.
6.3.
Электробезопасность.
Эксплуатация
большинства
машин и оборудования
связана с применением
электрической
энергии. Электрический
ток, проходя
через организм,
оказывает
термическое,
электролитическое,
и биологическое
воздействие,
вызывая местные
и общие электротравмы.
Основными
причинами
воздействия
тока на человека
являются:
- случайное
прикосновение
или приближение
на опасное
расстояние
к токоведущим
частям;
- появление
напряжения
на металлических
частях оборудования
в результате
повреждения
изоляции или
ошибочных
действий персонала;
- шаговое напряжение
в результате
замыкания
провода на
землю.
Основные меры
защиты от поражения
током: изоляция,
недоступность
токоведущих
частей, применение
малого напряжения
(не выше 42 В, а в
особо опасных
помещениях
- 12 В), защитное
отключение,
применение
специальных
электрозащитных
средств, защитное
заземление
и зануление.
Одно из наиболее
часто применяемой
мерой защиты
от поражения
током является
защитное заземление.
Заземление
- преднамеренное
электрическое
соединение
с землей металлических
нетоковедущих
частей, которые
могут оказаться
под напряжением.
Разделяют
заземлители
искусственные,
предназначенные
для целей заземления,
и естественные
- находящиеся
в земле металлические
предметы для
иных целей.
Для искусственных
заземлителей
применяют
обычно вертикальные
и горизонтальные
электроды. В
качестве вертикальных
электродов
используют
стальные трубы
диаметром 3
5 см и стальные
уголки размером
от 40 х 40 до 60 х 60 мм
длиной 3
5 м.
Также применяют
стальные прутки
диаметром 10
20 мм и длиной
10 м. Для связи
вертикальных
электродов
и в качестве
самостоятельного
горизонтального
электрода
используют
сталь сечением
не менее 4 х 12 мм
и сталь круглого
сечения диаметром
не менее 6 мм.
В качестве
заземляющих
проводников
применяют
полосовую или
круглую сталь,
прокладку
которых производят
открыто по
конструкции
здания на специальных
опорах. Заземлительное
оборудование
присоединяется
к магистрали
заземления
параллельно
отдельными
проводниками
6.3.1. Расчет
заземления.
В качестве
искусственного
заземления
применяем
стальные прутья
диаметром 50 мм
и длиной 5 м. Для
связи вертикальных
электродов
и в качестве
самостоятельного
горизонтального
электрода,
используем
полосовую сталь
сечением 4x12
мм. Определяем
сопротивление
растеканию
тока одиночного
вертикального
заземления
по формуле
Rв
=(2l)(ln(2l/d)+0.5ln((4t+l)/(4t-l))
ом
(6.3.1.) где
l – длина
заземления,
м d
– диаметр
прутка =
12 мм t
– глубина
заложения
половины заземления,
м
- расчетное
удельное
сопротивление
грунта, омм.
= изм
, (6.3.2.) где
изм
– удельное
сопротивление
грунта =500 ом
- коэффициент
сезонности
= 1.3. Подставляя
известные
величины в
формулу (6.3.2), получим:
= 5001.3 = 650
Омм Определим
глубину заложения
половины заземления,
м по формуле
t = 0.5l+to
м, (6.3.3.) где
tо – расстояние
от поверхности
земли до верхнего
конца заземлителя,
принимаем = 0.5
м. Подставляя
известные
величины в
формулу (6.3.1), получим:
Rв
= 650(25)(ln(10/0.012)+0.5ln(17/7)
= 179.95 Ом. Определим
число заземлений
по формуле
n = Rв/(R3)
шт, (6.3.4) где
R3
– наибольшее
допустимое
сопротивление
заземляющего
устройства,
Ом
- коэффициент
использования
вертикальных
заземлителей
без учета влияния
соединительной
полосы = 0.63 (электроды
размещены по
контуру). Подставляя
известные
величины в
формулу (6.3.4), получим:
n = 179.75(40.63)
= 71.32 шт. Принимаем
n = 64 шт. Определим
сопротивление
растеканию
растеканию
тока горизонтальной
соединительной
полосы, Ом Rn
= /(2l1)ln(2l12/(bt1)
Ом, (6.3.5.) где
t1
– глубина
заложения
полосы, м b
– ширина полосы,
м l1
– длина полосы,
определяется
как
l1
= 1.05an
м, (6.3.6.) где
a – расстояние
между вертикальными
заземлениями,
м a
= 3l
= 35
= 15 м, Подставляя
известные
величины в
формулу (6.3.6) , получим:
l1
= 1.051564
= 1008 м. Подставляя
известные
величины в
формулу (6.3.5), получим:
Rn
= 650(21008)ln(210082(0.0123))
= 1.8 Ом. Определим
сопротивление
растеканию
тока заземляющего
устройства
Ro
= RвRn/(RвRn+Rnnв)
Ом, (6.3.7) где
в –
коэффициент
использования
горизонтального
полосового
заземлителя,
соединяющего
вертикальные
заземлители,
м. Подставляя
известные
величины в
формулу (6.3.7), получим:
Ro
= 179.951.8/(179.50.35+1.80.7164)
= 2.23 Ro
не превышает
допустимого
сопротивления
защитного
заземления
2.23<4.
6.4. Освещение
производственного
помещения.
Правильно
спроектированное
и выполненное
производственное
освещение
улучшает условия
работы, снижает
утомляемость,
способствует
повышению
производительности
труда и качества
выпускаемой
продукции,
безопасности
труда и снижению
травматизма
на участке.
Освещение
рабочего места
- важнейший
фактор создания
нормальных
условий труда.
В зависимости
от источника
света производственное
освещение может
быть двух видов
естественное
и искусственное.
Естественное
освещение
подразделяется
на боковое,
осуществимое
через световые
проемы в наружных
стенах; верхнее,
осуществимое
через аэрационные
и зенитные
фонари, проемы
в перекрытиях;
комбинированное,
когда к верхнему
освещению
добавляется
боковое. Искусственное
освещение может
быть двух систем
- общее и комбинированное,
когда к общему
освещению
добавляется
местное, концентрирующее
световой поток
непосредственно
на рабочих
местах.
Проектируемый
участок имеет
общее искусственное
освещение с
равномерным
расположением
светильников
т.е. с одинаковыми
расстояниями
между ними.
Источниками
света являются
дуговые ртутные
лампы ДРЛ (дуговые
ртутные), они
представляют
собой ртутные
лампы высокого
давления с
исправной
цветностью.
Лампа состоит
из кварцевой
колбы (пропускающей
ультрафиолетовые
лучи), которая
заполнена
парами ртути
при давлении
0.2 0.4 Мпа,
с двумя электродами
и внешней стеклянной
колбы, покрытой
люминофором.
6.4.1. Расчет
светильной
установки
системы общего
освещения.
Наименьший
размер объекта
различения
равный 0.51
мм, соответствует
зрительной
работе средней
точности (IV
разряд). Для
расчета общего
равномерного
освещения при
горизонтальной
рабочей поверхности
основным является
метод коэффициента
использования.
Определение
нормативного
значения коэффициента
естественной
освещенности
(КЕО) для
третьего пояса
светового
климата определим
по таблице
[I.табл. 265]:
eIIIн
= 4%
Для механических
цехов с комбинированной
освещенностью
400500 лк, при
высоте помещения
5м, выбираем
дуговые ртутные
лампы ДРЛ. Этим
лампам соответствует
светильник
РСП 05. Для зрительной
работы средней
точности необходима
освещенность
400500 лк.
Определим
расстояние
между соседними
светильниками
или их рядами
L = h
м, (6.4.1.)
где =
1.25 – величина,
зависящая от
кривой светораспределения
светильника
h – расчетная
высота подвеса
светильников,
м.
h = H-hc-hp
м, (6.4.2.)
где H – высота
помещения =5м
hc
– расстояние
от светильников
до перекрытия=0.5
м
hp
– высота рабочей
поверхности
над полом, м.
Подставляя
известные
величины в
формулы (6.4.1) и
(6.4.2), получим:
h = 5-0.5-1 = 3.5 м
L = 3.51.25
= 4.375 м
Принимаем L
= 4м.
Определим
необходимое
значение светового
потока лампы:
Ф = ЕнSКзZ(N)
лм, (6.4.3)
где Ен - нормируемая
освещенность:
Ен = 200 лк
S - освещаемая
площадь = 720 м2
Кз - коэффициент
запаса: Кз
= 1.5; Z -
коэффициент
неравномерности
освещения для
ламп ДРЛ : Z = 1.11;
N - число светильников
= 64 шт.
- зависит
от типа светильника,
индекса помещения
i, коэффициента
отражения n,
стен с
и других условий
освещенности.
Принимаем
= 0,63.
Подставляя
известные
величины в
формулу (6.4.3) , получим:
Ф = 2007201.51.1(640.63)
5950 лм
По рассчитанному
световому
потоку выбираем
лампу ДРЛ-80.
Определение
мощности светильной
установки:
Dy
= Pл
N Вт, (6.4.4.)
где Рл - мощность
лампы, Рл = 125
Вт.
Подставляя
известные
величины в
формулу (6.4.4), получим:
Dy
= 8064 = 5120 Вт.
6.5. Оздоровление
воздушной
среды.
Одно из необходимых
условий здорового
и высокопроизводительного
труда – обеспечить
нормальные
условия и чистоту
воздуха в рабочем
помещении.
Требуемое
состояние
воздуха рабочей
зоны может быть
обеспечено
выполнением
определенных
мероприятий
к основным из
которых относятся:
1) Применение
технологических
процессов и
оборудования,
исключающих
образование
вредных веществ
или попадания
их в рабочую
зону. Это можно
достичь, например,
заменой токсичных
веществ нетоксичными.
2) Надежная
герметизация
оборудования,
в частности
термостата,
где нагреваются
подшипники,
с поверхности
которых испаряется
масло.
3) Установка на
проектируемом
участке устройства
вентиляции
и отопления,
что имеет большое
значение для
оздоровления
воздушной
cреды. 4)
Применение
средств индивидуальной
защиты, а именно:
спецодежда,
защищающее
тело человека;
защитные очки
и фильтрующие
средства защиты
(при продувке
от пыли и стружки
статора двигателя
сжатым воздухом);
защитные мази,
защищающее
кожу рук от
нефтепродуктов
и масел (при
смазке подшипников
и деталей двигателя);
защитные рукавицы
(при выполнении
транспортировочных
работ). На
проектируемом
участке имеется
сварочный
аппарат, что
повышает
загазованность
воздуха, в следствии
чего необходимы
дополнительные
средства по
очистке и фильтрации
воздуха на
участке.
Для определенных
условий труда
оптимальными
являются
Табл.5.1
Оптимальные
условия труда. Период 1 холодный* теплый температура
t 2 1820 2123 Относительная
влажность 3 6040 6040 скорость
движения воздуха
мс 4 0.2 0.3
* холодный и
переходной
период.
Допустимыми
являются
t = 1723
С, влажность
– 75%, u=0.3 мс.
t (вне постоянных
рабочих мест)
1324С.
6.6. Защита
от шума и вибрации.
Шум - это беспорядочное
хаотическое
сочетание волн
различной
частоты и
интенсивности.
Шум и вибрация
на производстве
наносит большой
ущерб, вредно
действуя на
организм человека
и снижая производительность
пруда. Шум возникает
при механических
колебаниях.
Различают три
формы воздействия
шума на органы
слуха:
а) утомление
слуха;
б) шумовая травма;
в) посредственная
тугоухость.
На проектируемом
участке отсутствуют
дополнительные
источники шума.
Для снижения
шума, возникающего
в цехе, при
использовании
производственного
оборудования,
предусмотрено:
массивный
бетонный фундамент,
шумопоглащающие
лаки, применение
звукоизолирующих
кожухов и
акустических
экранов на
оборудовании,
являющимся
источниками
повышенного
уровня шума.
6.7. Пожарная
безопасность.
Пожары на
машиностроительных
предприятиях
представляют
большую опасность
для работающих
и могут причинить
огромный материальный
ущерб. К основным
причинам пожаров,
возникающих
при производстве
электродвигателей,
можно отнести:
нарушение
технологического
режима, неисправность
электрооборудования
(короткое замыкание,
перегрузки),
самовозгорание
промасленной
ветоши и других
материалов,
склонных к
самовозгоранию,
несоблюдение
графика планового
ремонта, реконструкции
установок с
отклонением
от технологических
схем. На проектируемом
участке возможны
такие причин
пожара: перегрузка
проводов, короткое
замыкание,
возникновение
больших переходных
сопротивлений,
самовозгорание
различных
материалов,
смесей и масел,
высокая конденсация
воспламеняемой
смеси газа,
пара или пыли
с воздухом
(пары растворителя).
Для локализации
и ликвидации
пожара внутрицеховыми
средствами
создаются
следующие
условия предупреждения
пожаров: курить
только в строго
отведенных
местах, подтеки
и разливы масла
и растворителя
убирать ветошью,
ветошь должна
находиться
в специально
приспособленном
контейнере.
Проектируемый
участок по
степени средств
пожаротушения
принадлежит
к категории
Б (720 м2).
На участке
имеется следующий
пожароликвидирующий
инвентарь
- Углекислотный
огнетушитель
ОУ-5 (1шт)
- Воздушно-химический
огнетушитель
(2шт)
- Ящик с песком
вместимостью
0.53.0 м3
и лопата
- Войлок, кошта
или асбест (1x1
2x2 м3)
6.8. Техника
безопасности
на участке.
Перед началом
работы на
проектируемом
участке необходимо
проверить
исправность
оборудования,
приспособлений
и инструмента,
ограждений,
защитного
заземления,
вентиляции.
Проверить
правильность
складирования
заготовок и
полуфабрикатов.
Во время работы
необходимо
соблюдать все
правила использования
технологического
оборудования.
соблюдать
правила безопасной
эксплуатации
транспортных
средств, тары
и грузоподъемных
механизмов,
соблюдать
указания о
безопасном
содержании
рабочего места.
В аварийных
ситуациях
необходимо
неукоснительно
выполнять все
правила. регламентирующие
поведение
персонала при
возникновении
аварий и ситуаций,
которые могут
привести к
авариям и несчастным
случаям. По
окончании
работы должно
быть выключено
все электрооборудование,
произведена
уборка отходов
производства
и другие мероприятия,
обеспечивающие
безопасность
на участке.
Участок должен
быть оснащен
необходимыми
предупредительными
плакатами,
оборудование
должно иметь
соответствующую
окраску, должна
быть выполнена
разметка проезжей
части проездов.
Сам участок
должен быть
спланирован
согласно требованиям
техники безопасности,
а именно соблюдение:
ширины проходов,
проездов, минимальное
расстояние
между оборудованием.
Все эти расстояния
должны быть
не менее допустимых. ЗАКЛЮЧЕНИЕ В
ходе выполнения
дипломного
проекта была
проделана
следующая
работа -
разработана
конструкция
приспособления
для восстановления
поверхности
ходовых винтов; -
проведена
исследовательская
работа по изысканию
оптимальной
геометрии
режущей части
фрезы и конструкции
фрезы, для уменьшения
и удаления
заусенцев на
обрабатываемой
поверхности; -
разработана
оригинальная
конструкция
фрезы для снятия
заусенцев; -
на
базе методики
прогнозирования
точности и
качества при
проектировании
технологических
процессов
механической
обработки, была
разработана
и написана
программа; -
в технологической
части разработана
конструкция
и технологический
процесс обработки,
детали типа
скоба, входящей
в состав приспособления
для восстановления
поверхностей
ходовых винтов; -
обоснован метод
получения
заготовки и
выбор технологического
оборудования
и оснастки,
произведен
расчет режимов
резания;
-
в организационной
части произведен
расчет необходимого
количества
оборудования;
-
в экономической
части произведен
сравнительный
расчет экономической
эффективности
двух вариантов
технологического
процесса изготовления
детали типа
скоба. СПИСОК
ИСПОЛЬЗОВАННЫХ
ИСТОЧНИКОВ 1.
Анурьев А.В.
Справочник
конструктора
машиностроителя:
В
3-х т. Т.1. – 5-е изд.,
перераб. и доп.
–М.:
Машиностроение,
1978. –728с., ил. 2.
Анурьев А.В.
Справочник
конструктора
машиностроителя:
В
3-х т. Т.2. – 5-е изд.,
перераб. и доп.
–М.:
Машиностроение,
1979. –559с., ил. 3.
Анурьев А.В.
Справочник
конструктора
машиностроителя:
В
3-х т. Т.3. – 5-е изд.,
перераб. и доп.
–М.:
Машиностроение,
1980. –557., ил. 4.
Аскинази Б.М.
Упрочнение
и восстановление
деталей машин
электромеханической
обработкой.
–3-е изд., перераб.
и доп. –М.:
Машиностроение,
1989. -200
с.:ил. 5.
ГОСТ 7505-89 Технологические
допуски и припуски
на отливки. 6.
Гуляев А.П.
Материаловедение.
Учебник для
высших техн-х
уч-х заведений.
–3-е изд., перераб.
и доп. –М.:
Машиностроение,
1990. – 528с.:ил. 7.
Гузенков П.Г.Детали
машин. – М.
Высшая школа,
1975. 8.
Долин П.А. Справочник
по технике
безопасности.
–М.:
Машиностроение,
1984. – 824 с.
9.
Ицкович Г.М. и
др. Курсовое
проектирование
деталей машин.
М.:
Машиностроение,
1965. –438 с.:ил. 10.
Методическое
указание к
выполнению
курсовой работы
по предмету
экономика,
планирование
и организация
производства,
1995. 11.
Нефедов Н.А.
Дипломное
проектирование
в машиностроительных
техникумах.
М: Высшая
школа, 1976. 12.
Общемашиностроительные
нормы времени.
М.: Машгиз,
1966. 13.
Режимы резания.
Справочник
под ред. Барановского
Г.Э. –М.:
Машиностроение,
1972.
14.
Сорокин В.Г.
Марочник сталей
и сплавов. –М.:
Машиностроение,
1981. –180 с. 15.
Справочник
технолога-машиностроителя.
В двух томах.
Издание 3, переработанное.
Том 2. Под редакцией
А.Н.Малова. “М.,
Машиностроение”,
1972г, 658с. 16.
Справочник.
Обработка
металлов резанием.
Под ред. Панова
А.А. –М.:
Машиностроение,
1988. 443с. 17.
Справочник
технолога
машиностроителя.
В 2-х Т. Т1Под
ред. А.Г. Косиловой
и Р.К. Мещерякова.
– 4-е изд., перераб.
и доп. – М.:
Машиностроение,
1985. 656с., ил. 18.
Справочник
технолога
машиностроителя.
В 2-х Т. Т2Под
ред. А.Г. Косиловой
и Р.К. Мещерякова.
– 4-е изд., перераб.
и доп. – М.:
Машиностроение,
1986. 496с., ил. 19.
Ткачук К.Н. и
пр. Безопасность
труда в промышленности.
–К.:
Техника, 1982. –231
с. 20.
Юдин Е.Я. и др.
Охрана труда
в машиностроении.
–М.:
Машиностроение,
1983. –432 с. ПРИЛОЖЕНИЯ 1.3 То Тз Контрольный
стол
Код
средства ТО Объем
ПК ТоТв 1.
Проверить
внешним
Образцы
шероховатости
Ra
= 2.5; осмотром
соответствие
Ra
= 12.5; Ra
= 25 100% 25
H7 401631
Пробка
25H7
ГОСТ
14810-68 10% 40JT142,
393130
35JT142,
30JT142,
393130
15JT142,
12JT142
393130
ШЦ-I-150-0.1
ГОСТ 166-83 10%
mxl printed ГОСТ
3.1002-80 Форма 1 Экспериментальное
исследование
условий образования
заусенцев при
фрезеровании
заготовок из
стали 45
С целью отыскания
оптимальных
параметров
процесса фрезерования
я провел экспериментальные
исследования.
Опыты проводились
на горизонтальном
консольно-фрезерном
станке.
Обрабатываемый
материал –
сталь 45.
Инструмент
– торцовая
фреза 160мм,
оснащенная
твердым сплавом
Т5К10. Геометрия
режущих лезвий. 1
-20
+15 5
20 30
90 0
25 -20
+20
Фрезерование
производили
со следующими
параметрами:
диапазон скоростей
резания 70
200 м/мин,
подача Sz
= 0.02
0.12 мм/зуб;
глубина
резания 0.2
5.0 мм.
Графики результатов
опытов опытов
приведены на
чертежах КУЦАК
. Как
видно из графиков,
все обследованные
факторы существенно
влияют на величину
заусенцев.
Наиболее сильное
влияние на
величину заусенцев
оказывает
главный угол
в плане (чертеж
КУЦАК). С увеличением
угла
от 30 до 75
высота заусенцев
уменьшается
от 4 мм до 0.6 мм,
т.е. в 6.6 раза, и
достигает
своего минимального
значения при
=75. При
дальнейшем
увеличении
угла
величина заусенцев
возрастает
. Уменьшение
величины заусенцев
с увеличением
в области
30
75
объясняется,
очевидно, снижением
составляющей
силы резания
Py
, нормальной
к обрабатываемой
поверхности. С
увеличением
в работу
резания все
больше вступает
вспомогательная
режущая кромка,
так как высота
гребешков h
(рис.10) возрастает.
Это приводит
к росту сил
резания на
вспомогательной
режущей кромке,
а следовательно,
и к некоторому
увеличению
высоты H
и толщины звусенцев
в диапазоне
= 75
90. Как
видно из графиков
на рис.21, с увеличением
вспомогательного
угла в плане
, от 0 до
10
величина
заусенцев резко
уменьшается,
а затем, при
дальнейшем
увеличении
, практически
не изменяется.
Аналогичный
характер имеет
и зависимость
сил резания
на вспомогательной
режущей кромке:
вначале они
уменьшаются,
а затем остаются
практически
неизменными. С
увеличением
заднего угла
до 12
(рис.22) в связи
с уменьшением
сил трения на
задней грани,
уменьшаются
силы резания,
а следовательно,
и величина
заусенцев.
Дальнейшее
увеличение
угла
практически
не снижает силы
резания и величину
заусенцев.
Оптимальным
углом следует
считать опт
= 12 . При
больших
ослабляется
режущая часть
инструмента.
Увеличение
переднего угла
сопровождается
уменьшением
сил резания
и величины
заусенцев
(рис.22). Например,
с увеличением
от -15
до 0 высота
заусенцев
снижается от
1.6 мм до 0.15 мм. Большие
значения угла
назначать
не рекомендуется
из-за ослабления
режущей части
фрезы. Кроме
того, дальнейшее
увеличение
переднего угла
снижает величину
заусенцев
незначительно. Как
видно из графика
на рис.22, на котором
представлена
зависимость
величины заусенцев
от угла наклона
режущей кромки
X, минимальную
величину заусенцы
имеют при
= -10.
Зависимость
высоты H и
толщины Q
заусенцев от
скорости резания
представлены
на рис.25. Увеличение
скорости резания
в диапазоне
70 200 м/мин
повышает величину
заусенцев. Это
объясняется,
очевидно, повышением
пластичности
обрабатываемого
материала в
связи с повышением
температуры
резания. Сила
резания при
этом несколько
понижается,
но в меньшей
степени.
Зависимость
H и Q от
подачи имеет
сложный характер
(рис.22). В области
малых подач
0.02 0.07 мм/зуб
увеличение
ее снижает
величину заусенцев,
которые при
S = 0.07 мм/зуб
имеют минимальную
величину. Дальнейшее
увеличение
S приводит
к увеличению
H и Q. Такая
закономерность
объясняется
следующим. С
увеличением
подачи одновременно
прогрессируют
два процесса:
упрочнение
(наклеп) вследствие
повышения сил
резания и
разупрочнение
(отдых) из-за
воздействия
теплоты. Первый
процесс способствует
охрупчиванию
поверхностного
слоя обрабатываемого
материала, что
снижает величину
заусенцев, а
второй процесс
повышает пластичность
обрабатываемого
материала, а
следовательно,
и способствует
росту заусенцев.
В
области малых
подач интенсивность
первого процесса
выше. Этим и
объясняется
снижение H
и Q. А в области
подач 0.07
0.12 мм/зуб
второй процесс
преобладает
над первым и
величины H
и Q возрастают.
Уменьшение
глубины резания
от 5 до 0.4 мм снижает
величину заусенцев
незначительно
(рис.27). Величина
заусенцев резко
снижается с
уменьшением
t от 0.4 мм. Это
объясняется
тем, что при
малых t
режущие лезвия
фрезы срезают
наклепанный
более хрупкий
слой. Поэтому
для снижения
величины заусенцев
целесообразно
применение
фрез с одним
или несколькими
зубьями, которые
делаются на
0.05 0.1 мм
выше всех остальных
зубьев (рис.22).
Главная
режущая кромка
зачистных
зубьев не участвует
в работе, так
как она смещена
в радиальном
направлении,
что снижает
нагрузку на
эти зубья и
повышает их
стойкость.
Длина
L зачистного
зуба должна
быть больше
величины подачи
на один оборот,
что необходимо
для снятия
следов обработки
от всех основных
(незачистных)
зубьев. Вспомогательный
угол в плане
, на зачистных
зубьях равен
нулю, а на основных
- 15. Экспериментальные
зависимости,
приведенные
выше, получены
при работе
острой фрезой
и не учитывают
износа инструмента
, который, как
показывает
опыт, оказывает
существенное
влияние на
величину заусенцев.
Поэтому при
выборе оптимальных
параметров
процесса фрезерования
необходимо
учитывать их
влияние на
износостойкость
инструмента. Мною
проводились
исследования
по отысканию
зависимостей
интенсивности
износа фрезы
от геометрических
параметров
и параметров
режима резания.
Опыты проводили
в тех же условиях,
что и при отыскании
зависимостей
величины заусенцев
и параметров
процесса
фрезерования.
В
качестве
характеристики
интенсивности
износа инструмента
принят поверхностный
относительный
износ по задней
грани. Величину
определяли
из соотношения:
= dh3
/ dп мм/м2, (???) где
h3
– ширина
штрихов износа
по задней грани
режущей
части
фрезы в мм; п
–
площадь
обрабатываемой
поверхности
в м2 Износ
задней грани
инструмента
измеряли с
помощью лупы
Бринелля с
ценой деления
0.1 мм. Результаты
опытов представлены
на рис. 6-14. Как
видно из графика
на рис.6, на котором
изображена
зависимость
=f(),
уменьшение
угла
от 90 до 30
снижает интенсивность
износа режущих
лезвий фрезы.
Это
объясняется
тем, что с уменьшением
угла
толщина среза
уменьшается,
ширина увеличивается,
а вместе с этим
улучшается
и отвод тепла
из зоны резания.
В результате
стойкость фрезы
возрастает.
Однако наряду
с этим резко
возрастает
величина заусенцев,
что значительно
повышает трудоемкость
их удаления. В
силу этого
целесообразнее
применять фрезу
с углом =70,
хотя интенсивность
ее износа будет
в 2 раза выше,
чем фрезы с
углом =30.
Следует отметить,
что фрезы с
малым углом
в плане (например
= 2030)
могут быть
использованы
только про
условии жесткой
и виброустойчивой
технологической
системы СПИД,
причем глубина
резания не
должна быть
выше 3мм.
Интенсивность
износа фрезы
с увеличением
, вначале
снижается и
достигает
своего минимального
значения при
= 15,
а затем, при
дальнейшем
увеличении
этого угла,
возрастает
(рис.№№). Повышенный
износ фрез с
малым ,
вызван возникновением
вибраций, а с
1>15
ослаблением
режущей части
инструмента
и ухудшением
теплоотвода
из зоны резания.
Рекомендуется
применять фрезы
с 1 = 15.
При этом обеспечивается
минимальные
величина заусенцев
и интенсивность
износа фрезы.
Зависимость
интенсивности
износа задней
грани фрезы
от заднего,
угла
имеет сложный
характер (рис.»»).
С увеличением
от 5 до
14 величина
возрастает,
а при дальнейшем
повышении этого
угла до 20
снижается. В
области <11
величина заусенцев
значительна,
поэтому эти
значения углов
применять
нецелесообразно.
Выбор
большого заднего
угла
20
нежелателен,
так как он связан
с ослаблением
режущей кромки
инструмента,
что приводит
к выкрашиванию
режущей кромки
инструмента. Кроме
того, с повышением
величины заднего
угла возрастает
износ режущей
кромки в радиальном
направлении,
хотя износ
задней грани
имеет небольшую
величину. С
рассмотренных
позиций целесообразно
применять
= 16.
В
области
= -150
изменение
этого угла не
оказывает
существенного
влияния на
интенсивность
износа фрезы
(рис.№№). С увеличением
от 0 до
10 износ
инструмента
повышается.
Анализ зависимостей
величины заусенцев
и интенсивности
износа фрезы
от переднего
угла дает основание
рекомендовать
= 0. Как
видно из рис.999,
на котором
изображена
зависимость
интенсивности
износа фрезы
от угла наклона
режущей кромки,
минимальное
значение
фреза имеет
при =
+10. Это
объясняется
тем, что при
угле
больше нуля
первоначальное
место контакта
инструмента
и заготовки
удаляется от
вершины зуба
и тем самым
предохраняет
от сколов наиболее
ослабленное
место. Особенное
значение это
имеет для фрез
с пластинками
из твердого
сплава . Однако
величина заусенцев
при >0
значительна,
поэтому рекомендуется
применять =0. С
увеличением
скорости резания
от 40 до
80 м/мин
интенсивность
износа фрезы
сохраняется
неизменной
(рис.№№). При
дальнейшем
увеличении
до 150 м/мин
величина
возрастает.
Таким
образом, с точек
зрения интенсивности
износа инструмента
и величины
заусенцев
целесообразно
фрезеровать
заготовки из
стали 45 с
= 80 м/мин.
Увеличение
подачи S
от 0.05 до 0.15 мм/зуб
снижает интенсивность
износа фрезы
(рис.№№). при этом
снижение величины
в диапазоне
подач 0.06
0.15 мм/зуб
незначительно.
Поэтому в качестве
критерия при
выборе величины
S принимается
величина заусенцев.
Рекомендуется
применять S
= 0.08 мм/зуб.
Интенсивность
износа фрезы
с увеличением
глубины резания
от 0.3 до 5 мм возрастает
незначительно
(рис.№№).
Результаты
экспериментальных
исследований,
приведенных
выше, дают основание
рекомендовать
две конструкции
фрезы: Первая
конструкция
фрезы отличается
от стандартной
лишь геометрическими
параметрами
режущих лезвий,
поэтому практически
не требует
дополнительных
затрат на ее
изготовление.
Геометрические
параметры этой
фрезы имеют
следующие
значения: 1 70 15 0 16 0 Вторая
конструкция
фрезы имеет
такую же геометрию,
как и первая,
но отличается
от нее наличием
одного или
нескольких
зачистных
зубьев (рис.№№),
имеющих вспомогательную
режущую кромку
длиной 1.5
2 мм с 1
= 0. Остальная
часть режущих
кромок этих
зубьев имеет
1 = 15.
Фрезерование
целесообразно
проводить со
скоростью
резания
= 80 м/мин и
подачей Sz
= 0.08 мм/зуб.
mxl printed ГОСТ
3.1106-84 Форма 7
mxl printed ГОСТ
3.1106-84 Форма 7
mxl printed ГОСТ
3.1106-84 Форма 7
mxl printed ГОСТ
3.1106-84 Форма 7
mxl printed ГОСТ
3.1106-84 Форма
Кшт. Тпз Тшт.
mxl printed ГОСТ
3.1118-82 Форма 1 Кшт. Тпз Тшт. Н,ра
mxl printed ГОСТ
3.1118-82 Форма
1б текстолит текстолит N
докум
Формат А4 N
докум
Формат А4
N,
шт
трудоемкость
число
оборуд.
себестои-мость
Статьи
затрат
1
2
3
4
1.
Стоимость
основных
материалов
за вычетом
отходов.
2. Прямая
тарифная
производственная
зарплата.
3.
Доплата и
дополнительная
оплата производственных
рабочих
4.
Отчисления
в фонд социального
страхования
6. Итого
цеховая себестоимость
2.43
4889
178650
7.
Плановые
накопления
0.38
764
27937
8.
Внутризаводская
цена
2.81
5653
2065538
варианты
показателей
обозначение
измерения
базовый
новый
1
2
3
4
5
1. Программа
запуска
шт
2012
2012
2. Трудоемкость
4.96
3.8
3. Часовая
тарифн. ставка
гр
0.785
0.688
7. Норма
расхода матер.
g
кг
1.48
1.48
9. Оптовая
цена матер.
гр
1,10
1,10
10. Вес
отходов
0.105
0.105
11. Цена
отходов
0.11
0.11
1
2
3
4
5
23. КПД
двигателя
0.95
0.95
1
2
3
4
5
32. Коэффициент
случайной
убыли инструмента
33. Количество
продукции
изготавливаемой
в течении года
при помощи
единицы оснастки
(-) – перерасход
1
2
3
4
5
6
1.
Расчетное
количество
1
2
3
4
5
6
гр
(-) – перерасход
1
2
3
4
5
6
3.
Электроэнергия
ВСЕГО
гр
1
2
3
4
Дубл.
Взам.
Подл.
1
1

Разраб.Россинский
Пров
Белоус


Н. Контр.
Трифонова
наименование
операции
Наименование,
марка материала
МД
Контрольная
СЧ
15 ГОСТ 1412-85
наименование
оборудования
Обозначение
ИОТ
ИОТ№906-99
Р
Контрольные
параметры
Наименование
средства ТО
01
02
03
поверхностей
и шерохова
04
тостей
чертежу детали
и
05
отсутствие
заусенец,
06
остых
кромок.
07
08
2.
Проверить
размеры:
09
10
10
H14 393130
11
12
13



















Дубл.
Взам.
Подл.

Разраб.Россинский


Н. Контр.
Трифонова


![]()
![]()
![]()
![]()

![]()
![]()
![]()
![]()
![]()
![]()
![]()
![]()
![]()
![]()
![]()
![]()
![]()
![]()
![]()
![]()
![]()
![]()
![]()

![]()
![]()
![]()
![]()
![]()
![]()
![]()
![]()
![]()
![]()
![]()
![]()
![]()
![]()
![]()
![]()
![]()
![]()
![]()
![]()
![]()
![]()
![]()
![]()
![]()
![]()
![]()
![]()
![]()
![]()
![]()
![]()
![]()
![]()
![]()
![]()
![]()
![]()
![]()
![]()
![]()
![]()
![]()
![]()
![]()
![]()
![]()
![]()
![]()
![]()
![]()
![]()
![]()
![]()
![]()
![]()
![]()
![]()
![]()
![]()
![]()

![]()
![]()
![]()
![]()
Дубл.
Взам.
Подл.



Разраб.Россинский


Н. Контр.
Трифонова

![]()
![]()
![]()
![]()
![]()
![]()
![]()
![]()
![]()
![]()
![]()
![]()
![]()
![]()
![]()
![]()
![]()
![]()
![]()
![]()
![]()
![]()
![]()
![]()
![]()
![]()
![]()
![]()
![]()
![]()
![]()
![]()
![]()
![]()

![]()
![]()
![]()
![]()
![]()
![]()
![]()
![]()
![]()
![]()
![]()
![]()

![]()
![]()
![]()
![]()
![]()
![]()
![]()

Дубл.
Взам.
Подл.

Разраб.Россинский


Н. Контр.
Трифонова






Дубл.
Взам.
Подл.

Разраб.Россинский


![]()
![]()
![]()
![]()
![]()
![]()
![]()
![]()
![]()
![]()
![]()
![]()
![]()
![]()
![]()
![]()
![]()
![]()
![]()
![]()
![]()
![]()
![]()
![]()
![]()
![]()
![]()
![]()


Н. Контр.
Трифонова
![]()
![]()

![]()
![]()
![]()
![]()
![]()
![]()
![]()
![]()
![]()
![]()
![]()
![]()
![]()
![]()
![]()
![]()
![]()
![]()
![]()
![]()
![]()
![]()
![]()
![]()
![]()
![]()
![]()
![]()
![]()
![]()
![]()
![]()
![]()
![]()
![]()
![]()
![]()
![]()
![]()
![]()
![]()
![]()
![]()
![]()
![]()
![]()
![]()
![]()
Дубл.
Взам.
Подл.

Разраб.Россинский


Н. Контр.
Трифонова
![]()
![]()
![]()
![]()
![]()
![]()

![]()
![]()
![]()
![]()
![]()
![]()
![]()
![]()
![]()
![]()
![]()
![]()

![]()
![]()
![]()
![]()
![]()
![]()
![]()
![]()
![]()
![]()
![]()
![]()
![]()
![]()
![]()
![]()
![]()
![]()



![]()
![]()
![]()
![]()
![]()
![]()
![]()
![]()
![]()
![]()
![]()
![]()
![]()
![]()
![]()
![]()
![]()
![]()
![]()
![]()
![]()
![]()
![]()
![]()
![]()
![]()
![]()
![]()
![]()
![]()
![]()
![]()
![]()
![]()
![]()
![]()
![]()
![]()
![]()
![]()
![]()
![]()
![]()
![]()

![]()
![]()
![]()
![]()
![]()
![]()
![]()
![]()
![]()
![]()
![]()
![]()
![]()
Дубл.
Взам.
Подл.
1
2

Разраб.Россинский
Пров
Белоус


Н. Контр.
Трифонова
М
01
Сталь
45 ГОСТ 1050-88
Код
ЕВ
МД
ЕН
Н.расх.
КИМ
Код загот.
Профиль
и размеры
КД
МЗ
М
02XX
XX XX 166кг
1.3 1.0 0.105
0.87
31812
Отливка
1 1.405
А
Цех
Уч.
РМ
Опер.
Код, наименование
операции
Обозначение
документа
Б
Код, наименование
оборудования
СМ
Проф
Р
УТ
КР
КОИД
ЕН
ОП
![]()
![]()
![]()
![]()
А
03XX
XX XX 005 2170 Заготовительная
ИОТ №900-99
04
А
05
XX
XX XX 010 0200 Контрольная
ИОТ
№902-99
06
А
07
XX
XX XX 015 4234 Фрезерная
с ЧПУ
ИОТ
№600-99
Б
08
04
1621 6Р13РФ3
2
15292 4 1Р 1 1 1 54 2
11 4.9
09
А
10
XX
XX XX 025 4261 Вертикально-фрезерная
ИОТ
№600-99
Б
11
04
1620 6Р13 2
18632 3 1Р 1 1 1 54 4
11 1.51
12
А
13
XX
XX XX 045 4120 Сверлильная
с ЧПУ ИОТ
№904-99
Б
14
04
1235 2Р135Ф2
2
15292 4 1Р 1 1 1 54 3
11 4.19
15
16
Дубл.
Взам.
Подл.
А
Цех
Уч.
РМ
Опер.
Код, наименование
операции
Обозначение
документа
Б
Код, наименование
оборудования
СМ
Проф
Р
УТ
КР
КОИД
ЕН
ОП
К/М
Наименование
детали, сб.еденицы
или материала
Обозначение,
код
ОПП
ЕВ
ЕН
КИ
А
03
XX
XX XX 030 4161 Горизонтально-фрезерная
ИОТ
№620-99
Б
04
04
1621 6Р82Г
2
16652 3 1Р 1 1 1 54 4
11 1.23
05
А
06
XX
XX XX 035 4120 Вертикально-сверлильная
ИОТ
№904-99
Б
07
04
1211 2М55 2
17335 3 1Р 1 1 1 54 1
11 1.27
08
А
09
XX
XX XX 050 0200 Контрольная
ИОТ
№902-99
Б
10
11
А
12
Б
13
14
А
15
Б
16
17
А
18


Обозначение
Наименование
Документация
![]()
090202.ДП.ТМС.1.1.3.С.04.01.СБ
Сборочный
чертеж
Детали
1
090202.ДП.ТМС.1.1.3.С.01.11
Валик
2
2
090202.ДП.ТМС.1.1.3.С.01.12
Втулка
2
3
090202.ДП.ТМС.1.1.3.С.01.13
Державка
1
4
090202.ДП.ТМС.1.1.3.С.01.14
Зажим
1
5
090202.ДП.ТМС.1.1.3.С.01.15
Зажим
2
6
090202.ДП.ТМС.1.1.3.С.01.16
Корпус
2
7
090202.ДП.ТМС.1.1.3.С.01.17
Кольцо
1
8
090202.ДП.ТМС.1.1.3.С.01.18
Крышка
2
9
090202.ДП.ТМС.1.1.3.С.01.19
Ось
2
10
090202.ДП.ТМС.1.1.3.С.01.20
Ось
упорная
2
11
090202.ДП.ТМС.1.1.3.С.01.21
Подшипник
1
12
090202.ДП.ТМС.1.1.3.С.01.22
Ролик
2
13
090202.ДП.ТМС.1.1.3.С.01.23
Ролик
твердосплавный
1
14
090202.ДП.ТМС.1.1.3.С.01.24
Скоба
1
15
090202.ДП.ТМС.1.1.3.С.01.25
Скоба
корпусная
1
16
090202.ДП.ТМС.1.1.3.С.01.26
Уголок
1
Стандартные
изделия
17
Болт
М6x40
ГОСТ
7798-70
2
18
Болт
М6x20
ГОСТ
7798-70
6

лист
Подп.
дата
Разраб.Лыщенко
Литер
Лист
Листов
Провер
Белоус
1
2
![]()
Н.Конт.
Трифонова
Утв.
Белоус


Обозначение
Наименование
19
Болт
М6x15
ГОСТ
7798-70
2
20
Болт
7002-0569
ГОСТ
14724-69
1
21
Винт
2.М6x1.25
ГОСТ
1491-72
1
22
Гайка
М12 - 6H.016
ГОСТ
5915-10
8
23
Гайка
М8 - 6H.016
ГОСТ
5915-10
2
24
Гайка
М6 - 6H.016
ГОСТ
5915-10
2
25
Пружина
II-3-96
ГОСТ
13772-68
L = 120
1
26
Пружина
II-3-96
ГОСТ
13772-68
L = 40
3
27
Шайба
18.65Г.02.9
ГОСТ
6402-70
1
28
Шайба
12.65Г.02.9
ГОСТ
6402-70
2
29
Шайба
8.65Г.02.9
ГОСТ
6402-70
2
30
Шайба
6.65Г.02.9
ГОСТ
ы6402-70
2
31
Шайба
12.01.05
ГОСТ
10450-68
6
32
Шайба
8.01.05
ГОСТ
10450-68
4
33
Шайба
6.01.05
ГОСТ
10450-68
6

Лист
![]()
![]()
лист
Подп.
дата
Разраб.
