| Похожие рефераты | Скачать .docx |
Реферат: Доклад по волоконной оптике
Санкт-Петербургский Государственный Технический Университет
Радиофизический факультет
Доклад
по волоконной оптике
студентов группы 2094/1
Михеева Евгения
и Агафонова Максима
10 ноября 2001 года Санкт-Петербург
Введение
История вопроса
Разумеется, нет ничего нового в использовании частот оптического диапазона для передачи информации. Визуальные методы связи широко используются не только человеком, но и в животном мире. Человек применял оптические сигналы для передачи информации на большие расстояния еще во времена первобытной цивилизации. Днем он использовал для этого, например, дымовые сигналы или отраженный солнечный свет, а ночью сигнальные огни. В подтверждение этого можно привести два примера из истории Древней Греции.
В пьесе Эсхила «Агамемнон», написанной в V веке до н.э. и описывающей события из греческой мифологии, происходившее за тысячелетие до ее написания, приведены объяснения Клитемнестры того, как она узнала предыдущей ночью о падении Трои:
«Гефест, пославшей с Иды вестовой огонь. Огонь огню, костер костру известие передавал».
Затем она дает графическое описание девяти символов, использованных для передачи новостей из Средней Азии в Аргос с помощью сигнальных огней.
Немного позже Геродот опишет, как в 480 г. до н.э. персидский полководец Мордониус, размышлял об отправлении теми же средствами аналогичного послания о взятии Афин своему императору Кирксу. Однако его мечта осталась неосуществленной.
В каждом из приведенных примеров информация передавалась с помощью заранее обусловленного сигнала. Хотя в древние времена были и более сложные методы сигнализации, однако на протяжении столетий вплоть до изобретения флажковой сигнализации в конце XVIII столетия, по-видимому использовались только сигнальные огни. Со временем они были заменены машинным на суше и флажковой сигнализацией и проблесковыми сигнальными лампами на море. Последние, в свою очередь, были заменены телефоном и телеграфной радиосвязью. К этому времени произошли существенные изменения в форме (характере) передаваемой информации. Все ранние системы передачи информации были такими, которые теперь мы назвали бы цифровыми системами, в то время как телефон и радио позволили передавать аналоговую информацию в аналоговом виде, т.е. в виде электрического колебания, непрерывно изменяющегося во времени.
Новизна и преимущество современных оптических систем связи заключается в том, что оптический сигнал обычно распространяется направленно по световодной системе и обеспечивает высокую информационную емкость канала связи.
Можно сказать, что современная эра оптической связи началась с изобретения лазера в 1958 г. и последовавшем вскоре созданием первых лазеров в 1961 г. По сравнению с излучением обычных источников оптического диапазона лазерное излучение обладает высокой монохроматичностью и когерентностью и имеет очень большую интенсивность. Лазерное излучение в самом деле очень похоже на излучение обычных радиопередатчиков СВЧ диапазона, поэтому было совершенно естественно использовать его в качестве несущего колебания в системах связи. На первом этапе основной причиной интереса к лазерному излучению была возможность получения исключительно широкой полосы пропускания при условии осуществления его модуляции в полосе частот, составляющей всего несколько процентов от основной частоты излучения лазера. В самом деле лазерная система связи на гелий-неоновом лазере имеет полосу пропускания 470 ГГц (1% от основной частоты), в которой можно разместить одновременно около миллиона телевизионных каналов.
В 60-е годы было предложено много технических решений по осуществлению различных видов модуляции лазерных излучателей (частотный, фазовый, амплитудный, по интенсивности и полярности, частотно-импульсный), а также был создан ряд лазерных систем связи, использующих распространение света в свободном пространстве.
В это же время широко проводились эксперименты по созданию направляющих систем связи, в которых пучок вводился в канал передачи с помощью линз, располагаемых друг от друга на расстоянии 10 или 100 метров. Благодаря работам К.С. Као с сотрудниками из Standard Telecommunications Laboratories в Харлоу (Англия) появился новый подход к созданию направляющих лазерных систем связи. Они предложили для передачи светового сигнала использовать длинные оптически волокна, подобные тем, которые уже использовались в эндоскопии и других областях. Можно утверждать, что статья Као и Хокэма, опубликованная в 1966 году, заложила основу теории волоконно-оптической связи.
Основной причиной, сдерживающей практическую реализацию этой идеи, было большое затухание сигнала в оптическом волокне. Если в ясный день ослабление оптического сигнала в атмосфере составляет всего несколько дБ на километр, то имевшиеся в то время лучшие стекла обладали минимальными потерями в видимой области спектра (порядка 1000 дБ/км). Главный тезис Као и Хокэма сводился к тому, что, если бы удалось уменьшить затухание в стекле в видимой или ближней инфракрасной области спектра до 20 дБ/км, то стало бы возможным создание практических волоконно-оптических систем связи. При таком уровне затухания в волокне мощность передаваемого сигнала уменьшилась бы 106 раз при прохождении расстояния 3 км. Производители стекла во главе с фирмой Corning (США) нашли пути удаления примесей из материала волокна и достигли этого требуемого уровня потерь в 1970 году, а к 1975 г. уменьшили их до 20 дБ/км. Японские исследователи опубликовали результаты по получению рекордно малых потерь в волокне, а именно 0,5 дБ/км в 1976 г. и 0,2 дБ/км в 1979 г. Если потерь 0,2 дБ/км могли быть обеспечены на большой длине волокна, то мощность передаваемого сигнал уменьшилась бы лишь в 2 раза после прохождения им расстояния 15 км. Следует, однако, подчеркнуть, что приведенные рекордно малые потери были получены в лабораторных условиях на более длинных волнах (1,55 мкм) и были достигнуты главным образом благодаря удалению из волокна ионов гидроксила.
К 1980 г. многие фирмы в ряде стран уже выпускали волокно с потерями менее 10 дБ/км и были созданы надежные полупроводниковые источники оптического излучения (на GaAs) и фотодетекторы (на Si). Во всех странах, имеющих развитую индустрию связи, стали проводится всесторонние испытания волоконно-оптических линий связи (ВОЛС), включаемых в обычные телефонные сети.
Используемые в ВОЛС полупроводниковые источники света имеют неизменно широкую полосу излучения, составляющую около 30 нм у светодиодов (СД) и около 3 нм у полупроводниковых лазеров. Это означает, что по сравнению с современной сложной системой радиосвязи оптические системы связи первого поколения оказываются сравнительно простыми и, по существу, состоят только из включаемого и выключаемого источника широкополосного «шума». Некоторые самые ранние системы телеграфной радиосвязи использовали этот же принцип до появления перестраиваемых избирательных систем, позволивших использовать узкополосные несущие колебания. Теоретически исключительно широкая полоса пропускания оптических систем связи оказалась нереалезуемой на практике, однако в результате проведенных исследований все же была создана простая и дешевая оптическая система связи.
Краткий обзор развития линий связи
Линии связи возникли одновременно с появлением электрического телеграфа. Первые линии связи были кабельными. Однако вследствие несовершенства конструкции кабелей подземные кабельные линии связи вскоре уступили место воздушным. Первая воздушная линия большой протяженности была построена в 1854 г. между Петербургом и Варшавой. В начале 70-х годов прошлого столетия была построена воздушная телеграфная линия от Петербурга до Владивостока длиной около 10 тыс. км. В 1939 г. была пущена в эксплуатацию величайшая в мире по протяженности высокочастотная телефонная магистраль Москва—Хабаровск длиной 8300 км.
Создание первых кабельных линий связано с именем русского ученого П. Л. Шиллинга. Еще в 1812 г. Шиллинг в Петербурге демонстрировал взрывы морских мин, использовав для этой цели созданный им изолированный проводник.
В 1851 г. одновременно с постройкой железной дороги между Москвой и Петербургом был проложен телеграфный кабель, изолированный гуттаперчей. Первые подводные кабели были проложены в 1852 г. через Северную Двину и в 1879 г. через Каспийское море между Баку и Красноводском. В 1866 г. вступила в строй кабельная трансатлантическая магистраль телеграфной связи между Францией и США,
В 1882—1884 гг. в Москве, Петрограде, Риге, Одессе были построены первые в России городские телефонные сети. В 90-х годах прошлого столетия на городских телефонных сетях Москвы и Петрограда были подвешены первые кабели, насчитывающие до 54 жил. В 1901 г. началась постройка подземной городской телефонной сети.
Первые конструкции кабелей связи, относящиеся к началу XX века, позволили осуществлять телефонную передачу на небольшие расстояния. Это были так называемые городские телефонные кабели с воздушно-бумажной изоляцией жил и парной их скруткой. В 1900—1902 гг. была сделана успешная попытка повысить дальность передачи методами искусственного увеличения индуктивности кабелей путем включения в цепь катушек индуктивности (предложение Пупина), а также применения токопроводящих жил с ферромагнитной обмоткой (предложение Крарупа). Такие способы на том этапе позволили увеличить дальность телеграфной и телефонной связи в несколько раз.
Важным этапом в развитии техники связи явилось изобретение, а начиная с 1912—1913 гг. освоение производства электронных ламп. В 1917 г. В. И. Коваленковым был разработан и испытан на линии телефонный усилитель на электронных лампах. В 1923 г. была осуществлена телефонная связь с усилителями на линии Харьков—Москва—Петроград.
В 30-х годах началось развитие многоканальных систем передачи. В последующем стремление расширить спектр передаваемых частот и увеличить пропускную способность линий привело к созданию новых типов кабелей, так называемых коаксиальных. Но массовое изготовление их относится лишь к 1935 г., к моменту появления новых высококачественных диэлектриков типа эскапона, высокочастотной керамики, полистирола, стирофлекса и т. д. Эти кабели допускают передачу энергии при частоте токов до нескольких миллионов герц и позволяют производить по ним передачу телевизионных программ на большие расстояния. Первая коаксиальная линия на 240 каналов ВЧ телефонирования была проложена в 1936 г. По первым трансатлантическим подводным кабелям, проложенным в 1856 г., организовывали лишь телеграфную связь, и только через 100 лет, в 1956 г., была сооружена подводная коаксиальная магистраль между Европой и Америкой для многоканальной телефонной связи.
В 1965—1967 гг. появились опытные волноводные линии связи для передачи широкополосной информации, а также криогенные сверхпроводящие кабельные линии с весьма малым затуханием. С 1970 г. активно развернулись работы по созданию световодов и оптических кабелей, использующих видимое и инфракрасное излучения оптического диапазона волн.
Создание волоконного световода и получение непрерывной генерации полупроводникового лазера сыграли решающую роль в быстром развитии волоконно-оптической связи. К началу 80-х годов были разработаны и испытаны в реальных условиях волоконно-оптические системы связи. Основные сферы применения таких систем — телефонная сеть, кабельное телевидение, внутриобъектовая связь, вычислительная техника, система контроля и управления технологическими процессами и т. д.
В России и других странах проложены городские и междугородные волоконно-оптические линии связи. Им отводится ведущее место в научно-техническом прогрессе отрасли связи.
Линии связи и основные свойства ВОЛС
На современном этапе развития общества в условиях научно-технического прогресса непрерывно возрастает объем информации. Как показывают теоретические и экспериментальные (статистические) исследования, продукция отрасли связи, выражающаяся в объеме передаваемой информации, возрастает пропорционально квадрату прироста валового продукта народного хозяйства. Это определяется необходимостью расширения взаимосвязи между различными звеньями народного хозяйства, а также увеличением объема информации в технической, научной, политической и культурной жизни общества. Повышаются требования к скорости и качеству передачи разнообразной информации, увеличиваются расстояния между абонентами. Связь необходима для оперативного управления экономикой и работы государственных органов, для повышения обороноспособности страны и удовлетворения культурно-бытовых потребностей населения.
В эпоху научно-технической революции связь стала составным звеном производственного процесса. Она используется для управления технологическими процессами, электронно-вычислительными машинами, роботами, промышленными предприятиями т. д. Непременным и одним из наиболее сложных и дорогостоящих элементов связи являются линии связи (ЛС), по которым передаются информационные электромагнитные сигналы от одного абонента (станции, передатчика, регенератора и т.д.) к другому (станции, регенератору, приемнику и т. д.) и обратно. Очевидно, что эффективность работы систем связи во многом предопределяется качеством ЛС, их свойствами и параметрами, а также зависимостью этих величин от частоты и воздействия различных факторов, включая мешающие влияния сторонних электромагнитных полей.
Различают два основных типа ЛС: линии в атмосфере (радиолинии РЛ) и направляющие линии передачи (линии связи).
Отличительной особенностью направляющих линий связи является то, что распространение сигналов в них от одного абонента (станции, устройства, элемента схемы и т. д.) к другому осуществляется только по специально созданным цепям и трактам ЛС, образующим направляющие системы, предназначенные для передачи электромагнитных сигналов в заданном направлении с должными качеством и надежностью.
В настоящее время по линиям связи передаются сигналы от постоянного тока до оптического диапазона частот, а рабочий диапазон длин волн простирается от 0,85 мкм до сотен километров.
Различают три основных типа ЛС: кабельные (КЛ), воздушные (ВЛ), волоконно-оптические (ВОЛС). Кабельные и воздушные линии относятся к проводным линиям, у которых направляющие системы образуются системами “проводник—диэлектрик”, а волоконно-оптические линии представляют собой диэлектрические волноводы, направляющая система которых состоит из диэлектриков с различными показателями преломления.
Волоконно-оптические линии связи представляют собой системы для передачи световых сигналов микроволнового диапазона волн от 0,8 до 1,6 мкм по оптическим кабелям. Этот вид линий связи рассматривается как наиболее перспективный. Достоинствами ВОЛС являются низкие потери, большая пропускная способность, малые масса и габаритные размеры, экономия цветных металлов, высокая степень защищенности от внешних и взаимных помех.
Основные требования к линиям связи
В общем виде требования, предъявляемые высокоразвитой современной техникой электросвязи к междугородным линиям связи, могут быть сформулированы следующим образом:
· осуществление связи на расстояния до 12500 км в пределах страны и до 25 000 для международной связи;
· широкополосность и пригодность для передачи различных видов современной информации (телевидение, телефонирование, передача данных, вещание, передача полос газет и т. д.);
· защищенность цепей от взаимных и внешних помех, а также от грозы и коррозии;
· стабильность электрических параметров линии, устойчивость и надежность связи;
· экономичность системы связи в целом.
Кабельная линия междугородной связи представляет собой сложное техническое сооружение, состоящее из огромного числа элементов. Так как линия предназначена для длительной работы (десятки лет) и на ней должна быть обеспечена бесперебойная работа сотен и тысяч каналов связи, то ко всем элементам линейно-кабельного оборудования, и в первую очередь к кабелям и кабельной арматуре, входящим в линейный тракт передачи сигналов, предъявляются высокие требования. Выбор типа и конструкции линии связи определяется не только процессом распространения энергии вдоль линии, но и необходимостью защитить расположенные рядом ВЧ цепи от взаимных мешающих влияний. Кабельные диэлектрики выбирают исходя из требования обеспечения наибольшей дальности связи в каналах ВЧ при минимальных потерях.
В соответствии с этим кабельная техника развивается в следующих направлениях:
1.Преимущественное развитие коаксиальных систем, позволяющих организовать мощные пучки связи и передачу программ телевидения на большие расстояния по однокабельной системе связи.
2.Создание и внедрение перспективных ОК связи, обеспечивающих получение большого числа каналов и не требующих для своего производства дефицитных металлов (медь, свинец).
3.Широкое внедрение в кабельную технику пластмасс (полиэтилена, полистирола, полипропилена и др.), обладающих хорошими электрическими и механическими характеристиками и позволяющих автоматизировать производство.
4.Внедрение алюминиевых, стальных и пластмассовых оболочек вместо свинцовых. Оболочки должны обладать герметичностью и обеспечивать стабильность электрических параметров кабеля в течение всего срока службы.
5.Разработка и внедрение в производство экономичных конструкций кабелей внутризоновой связи (однокоаксиальных, одночетверочных, безбронных).
6.Создание экранированных кабелей, надежно защищающих передаваемую по ним информацию от внешних электромагнитных влияний и грозы, в частности кабелей в двухслойных оболочках типа алюминий — сталь и алюминий — свинец.
7.Повышение электрической прочности изоляции кабелей связи. Современный кабель должен обладать одновременно свойствами как высокочастотного кабеля, так и силового электрического кабеля, и обеспечивать передачу токов высокого напряжения для дистанционного электропитания необслуживаемых усилительных пунктов на большие расстояния.
Таблица №1 Достоинства и недостатки оптоволоконной связи
Открытые системы связи
![]() |
|
Направляющие системы связи
Конструкция и характеристика оптических кабелей связи
Классификация оптических кабелей связи
Оптический кабель состоит из скрученных по определенной системе оптических волокон из кварцевого стекла (световодов), заключенных в общую защитную оболочку. При необходимости кабель может содержать силовые (упрочняющие) и демпфирующие элементы.
Существующие ОК по своему назначению могут быть классифицированы на три группы: магистральные, зоновые и городские. В отдельные группы выделяется подводные, объектовые и монтажные ОК.
Магистральные ОК предназначаются для передачи информации на большие расстояния и значительное число каналов. Они должны обладать малыми затуханием и дисперсией и большой информационно-пропускной способностью. Используется одномодовое волокно с размерами сердцевины и оболочки 8/125 мкм. Длина волны 1,3...1,55 мкм.
Зоновые ОК служат для организации многоканальной связи между областным центром и районами с дальностью связи до 250 км. Используются градиентные волокна с размерами 50/125 мкм. Длина волны 1,3 мкм.
Городские ОК применяются в качестве соединительных между городскими АТС и узлами связи. Они рассчитаны на короткие расстояния (до |10 км) и большое число каналов. Волокна-градиентные (50/125 мкм). Длина волны 0,85 и 1,3 мкм. Эти линии, как правило, работают без промежуточных линейных регенераторов.
Подводные ОК предназначаются для осуществления связи через большие водные преграды. Они должны обладать высокой механической прочностью на разрыв и иметь надежные влагостойкие покрытия. Для подводной связи также важно иметь малое затухание и большие длины регенерационных участков.
Объектовые ОК служат для передачи информации внутри объекта. Сюда относятся учрежденческая и видеотелефонная связь, внутренняя сеть кабельного телевидения, а также бортовые информационные системы подвижных объектов (самолет, корабль и др.).
Монтажные ОК используются для внутри- и межблочного монтажа аппаратуры. Они выполняются в виде жгутов или плоских лент.
Оптические волокна и особенности их изготовления
Основным элементом ОК является оптическое волокно (световод), выполненное в виде тонкого стеклянного волокна цилиндрической формы, по которому передаются световые сигналы с длинами волны 0,85...1,6 мкм, что соответствует диапазону частот (2,3...1,2) • 1014 Гц.
Световод имеет двухслойную конструкцию и состоит из сердцевины и оболочки с разными показателями преломления . Сердцевина служит для передачи электромагнитной энергии. Назначение оболочки — создание лучших условий отражения на границе “сердцевина — оболочка” и защита от помех из окружающего пространства.
Сердцевина волокна, как правило, состоит из кварца, а оболочка может быть кварцевая или полимерная. Первое волокно называется кварц—кварц, а второе кварц—полимер (кремнеор-ганический компаунд). Исходя из физико-оптических характеристик предпочтение отдается первому. Кварцевое стекло обладает следующими свойствами: показатель преломления 1,46, коэффициент теплопроводности 1,4 Вт/мк, плотность 2203 кг/м3 .
Снаружи световода располагается защитное покрытие для предохранения его от механических воздействий и нанесения расцветки. Защитное покрытие обычно изготавливается двухслойным: вначале кремнеорганический компаунд (СИЭЛ), а затем—эпоксидакрылат, фторопласт, нейлон, полиэтилен или лак. Общий диаметр волокна 500...800 мкм (рис. 1).
![]() |
Рис. 1. Сечение оптического волокна:
1— сердцевина ; 2 — оболочка ; 3 — защитное покрытие
![]() |
![]() |
В существующих конструкциях ОК применяются световоды трех типов: ступенчатые с диаметром сердцевины 50 мкм, градиентные со сложным (параболическим) профилем показателя преломления сердцевины и одномодовые с тонкой сердцевиной (6...8 мкм) (рис. 2).
![]() |
Рис. 2. Оптические волокна:
а — профиль показателя преломления; б — прохождение луча; 1 — ступенчатые; 2 — градиентные; 3 — одномодовые
По частотно-пропускной способности и дальности передачи лучшими являются одномодовые световоды, а худшими — ступенчатые.
Важнейшая проблема оптической связи — создание оптических волокон (ОВ) с малыми потерями. В качестве исходного материала для изготовления ОВ используется кварцевое стекло , которое является хорошей средой для распространения световой энергии. Однако, как правило, стекло содержит большое количество посторонних примесей, таких как металлы (железо, кобальт, никель, медь) и гидроксильные группы (ОН). Эти примеси приводят к существенному увеличению потерь за счет поглощения и рассеяния света. Для получения ОВ с малыми потерями и затуханием необходимо избавиться от примесей, чтобы было химически чистое стекло.
В настоящее время наиболее распространен метод создания ОВ с малыми потерями путем химического осаждения из газовой фазы.
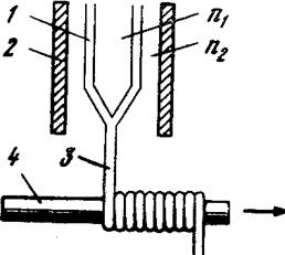
Получение ОВ путем химического осаждения из газовой фазы выполняется в два этапа: изготовляется двухслойная кварцевая заготовка и из нее вытягивается волокно. Заготовка изготавливается следующим образом (рис. 3).
![]() |
Рис. 3. Изготовление заготовки методом химического осаждения из газовой фазы:
1—опорная трубка (оболочка ); 2—осажденные продукты (сердцевина ); 3—нагревательная спираль; 4 — газообразный поток кварца
Во внутрь полой кварцевой трубки с показателем преломления длиной 0,5...2 м и диаметром 16...18 мм подается струя хлорированного кварца и кислорода . В результате химической реакции при высокой температуре (1500...1700° С) на внутренней поверхности трубки слоями осаждается чистый кварц . Таким образом, заполняется вся внутренняя полость трубки, кроме самого центра. Чтобы ликвидировать этот воздушный канал, подается еще более высокая температура (1900° С), за счет которой происходит схлопывание и трубчатая заготовка превращается в сплошную цилиндрическую заготовку. Чистый осажденный кварц затем становится сердечником ОВ с показателем преломления , а сама трубка выполняет роль оболочки с показателем преломления . Вытяжка волокна из заготовки и намотка его на приемный барабан производятся при температуре размягчения стекла (1800...2200° С). Из заготовки длиной в 1 м получается свыше 1 км оптического волокна (рис. 4).
![]() |
Рис. 4. Вытягивание волокна из заготовки:
1 — заготовка; 2 — печь; 3 — волокно; 4 — приемный барабан
Достоинством данного способа является не только получение ОВ с сердечником из химически чистого кварца, но и возможность создания градиентных волокон с заданным профилем показателя преломления. Это осуществляется: за счет применения легированного кварца с присадкой титана, германия, бора, фосфора или других реагентов. В зависимости от применяемой присадки показатель преломления волокна может изменяться. Так, германий увеличивает, а бор уменьшает показатель преломления. Подбирая рецептуру легированного кварца и соблюдая определенный объем присадки в осаждаемых на внутренней поверхности трубки слоях, можно обеспечить требуемый характер изменения по сечению сердечника волокна.
Конструкции оптических кабелей
![]() |
Конструкции ОК в основном определяются назначением и областью их применения. В связи с этим имеется много конструктивных вариантов. В настоящее время в различных странах разрабатывается и изготавливается большое число типов кабелей.
Рис. 5. Типовые конструкции оптических кабелей:
а—повивная концентрическая скрутка; б—скрутка вокруг профилированного сердечника; в—плоская конструкция; 1— волокно; 2— силовой элемент; 3— демпфирующая оболочка; 4—защитная оболочка; 5—профилированный сердечник; 6— ленты с волокнами
Однако все многообразие существующих типов кабелей можно подразделять на три группы (рис.5):
8.кабели повивной концентрической скрутки
9.кабели с фигурным сердечником
10. плоские кабели ленточного типа.
Кабели первой группы имеют традиционную повивную концентрическую скрутку сердечника по аналогии с электрическими кабелями. Каждый последующий повив сердечника по сравнению с предыдущим имеет на шесть волокон больше. Известны такие кабели преимущественно с числом волокон 7, 12, 19. Чаще всего волокна располагаются в отдельных пластмассовых трубках, образуя модули.
Кабели второй группы имеют в центре фигурный пластмассовый сердечник с пазами, в которых размещаются ОВ. Пазы и соответственно волокна располагаются по геликоиде, и поэтому они не испытывают продольного воздействия на разрыв. Такие кабели могут содержать 4, 6, 8 и 10 волокон. Если необходимо иметь кабель большой емкости, то применяется несколько первичных модулей.
Кабель ленточного типа состоит из стопки плоских пластмассовых лент, в которые вмонтировано определенное число ОВ. Чаще всего в ленте располагается 12 волокон, а число лент составляет 6, 8 и 12. При 12 лентах такой кабель может содержать 144 волокна.
В оптических кабелях кромеОВ, как правило, имеются следующие элементы:
· силовые (упрочняющие) стержни, воспринимающие на себя продольную нагрузку, на разрыв;
· заполнители в виде сплошных пластмассовых нитей;
· армирующие элементы, повышающие стойкость кабеля при механических воздействиях;
· наружные защитные оболочки, предохраняющие кабель от проникновения влаги, паров вредных веществ и внешних механических воздействий.
В России изготавливаются различные типы и конструкций ОК. Для организации многоканальной связи применяются в основном четырех- и восьмиволоконные кабели.
![]() |
Представляют интерес ОК французского производства (рис.6). Они, как правило, комплектуются из унифицированных модулей, состоящих из пластмассового стержня диаметром 4 мм с ребрами по периметру и десяти ОВ, расположенных по периферии этого стержня. Кабели содержат 1, 4, 7 таких модулей. Снаружи кабели имеют алюминиевую и затем полиэтиленовую оболочку.
Рис. 6. Конструкции оптических кабелей французского производства:
а — 10-волоконный модуль; б — 70-волоконный кабель; 1 — оптические волокна; 2 — фигурный сердечник;
3 — силовой элемент; 4 — пластмассовая лента; 5—модуль на десять волокон; 6 — алюминиевая оболочка; 7—полиэтиленовая оболочка
![]() |
Американский кабель, широко используемый на ГТС, представляет собой стопку плоских пластмассовых лент, содержащих по 12 ОВ. Кабель может иметь от 4 до 12 лент, содержащих 48— 144 волокна (рис.7).
Рис. 7. Американский кабель плоской конструкции:
а—лента с 12 волокнами; б—сечение кабеля; в—общий вид кабеля; 1—оптическое волокно; 2—полиэтиленовая лента; 3—стопка лент из 144 волокон; 4— защитное покрытие; 5 — внутренняя полиэтиленовая оболочка; 6 — пластмассовые ленты; 7 — силовые элементы; в — полиэтиленовые оболочки
На (рис.8) показан японский ОК с алюминиевой оболочкой и наружным полиэтиленовым шлангом.
![]() |
Рис. 8. Японский оптический кабель:
1 — оптические волокна; 2—медный силовой элемент; 3 — демпфирующее покрытие; 4—наружная оболочка
В Англии построена опытная линия электропередачи с фазными проводами, содержащими ОВ для, технологической связи вдоль ЛЭП. Как видно из (рис.9), в центре провода ЛЭП располагаются четыре ОВ.
![]() |
Рис. 9. Оптический кабель, встроенный в фазный провод ЛЭП:
1 — оптические волокна; 2 — защитное покрытие; 3 — проводники ЛЭП
Применяются также подвесные ОК (рис.10). Они имеют металлический трос, встроенный в кабельную оболочку. Кабели предназначаются для подвески по опорам воздушных линий и стенам зданий.
![]() |
Рис. 10. Подвесной оптический кабель с встроенным тросом:
1—оптические волокна; 2—стальной трос; 3 — полиэтиленовая оболочка
Для подводной связи проектируются ОК, как правило, с наружным броневым покровом из стальных проволок (рис.11). В центре располагается модуль с шестью ОВ. Кабель имеет медную или алюминиевую трубку. По цепи “трубка—вода” подается ток дистанционного питания на подводные необслуживаемые усилительные пункты.
![]() |
Рис.11. Подводный оптический кабель:
а — шестиволоконный модуль (3 варианта); б—подводный кабель; 1—оптический модуль; 2—шесть оптических волокон; 3—силовой элемент из стальной проволоки; 4 — полиэтиленовая оболочка модуля; 5 —пластмассовые трубки; 6—заполнение компаундом; 7—стальная броня; 8 — медная или алюминиевая трубка; 9—полиэтиленовый шланг
Оптические кабели российского производства
Первое поколение ОК, созданных в 1986—1988 гг., включает кабели городской (ОК-50), зоновой (ОЗКГ) и магистральной (ОМЗКГ) связи. Современные требования развития связи потребовали создания новых усовершенствованных типов ОК (второе поколение). Такими кабелями, разработанными в период 1990—1992 гг., являются: ОКК—для городской связи (прокладка в канализации), ОКЗ—для зоновой и ОКЛ—для линейной магистральной связи.
Отличительные особенности ОК второго поколения:
· переход на волны 1,3 и 1,55 мкм;
· применение одномодовых волокон;
· модульные конструкции кабелей (каждый модуль на 1, 2, 4 волокна);
· наличие медных жил для дистанционного электропитания;
· разнообразие типов наружных оболочек (стальные ленты, проволоки, стеклопластик, полиэтилен, оплетка);
· широкополосность и большие длины регенерационных участков.
Кабель ОКК по сравнению с ОК-50 имеет меньшее затухание, большие дальность связи и широкополосность. Кабель ОКК состоит из градиентных и одномодовых волокон.
Новый зоновый кабель ОКЗ имеет различные типы оболочек, позволяющих использовать его в различных условиях эксплуатации (земля, вода, подвеска).
Кабель междугородной связи ОК.Л по сравнению с предшествующим (ОМЗКГ) обладает большей длиной трансляционного участка и позволяет применять наиболее мощную систему передачи на 7680 каналов (“Сопка-5”).
Рассмотрим конструкции отечественныхОК.
Кабель городской связи типа ОК-50содержит четыре или восемь волокон (рис.12). Волокна свободно расположены в полимерных трубках. Скрутка — повивная, концентрическая. В центре размещен силовой элемент из высокопрочных полимерных нитей. Снаружи имеется, полиэтиленовая оболочка.
![]() |
Рис. 12. Оптический кабель городской связи ОК-50:
1 — силовой элемент; 2 — пластмассовая трубка; 3 — волокно; 4 — пластмассовая лента; 5—полиэтиленовая оболочка
Четырехволоконный кабель ОК-4 имеет принципиально ту же конструкцию и размеры, что и восьмиволоконный, но только четыре волокна в нем заменены пластмассовыми стержнями. Изготавливаются также кабели, содержащие больше число волокон. Городские кабели прокладываются в телефонные канализации.
Кабель городской связи типа ОКК, прокладываемый в канализации, содержит 4, 8 или 16 волокон (рис.13). Кабель имеет градиентные волокна с диаметром сердцевины 50 мкм (ОКК-50-01) или одномодовые волокна с диаметром сердцевины 10 мкм (ОКК-10-02).
![]() |
Рис. 13. Оптический кабель городской связи марки ОККС:
1 — силовой элемент (стеклопластик); 2 — оптическое волокно; 3 — пластмассовая лента; 4 — стеклопластиковые стержни; 5—полиэтиленовый шланг
Силовой центральный элемент выполнен из стеклопластиковых стержней или стального троса, изолированного полиэтиленом. Поверх наложена скрутка из восьми оптических модулей или корделей. В каждом модуле может содержаться 1, 2 или 4 ОВ. Затем наложены фторопластная лента и полиэтиленовый шланг.
Кабели, предназначенные для прокладки в грунтах, зараженных грызунами или подверженных механическим воздействиям, имеют еще броневой покров из стеклопластиковых
стержней, а поверх него—полиэтиленовый шланг (ОККС). Известны конструкции, в которых вместо стержней применяется оплетка (ОККО).
Для подводных речных переходов применяется кабель в алюминиевой оболочке с броневым покровом из круглых стальных проволок и полиэтиленовым шлангом (ОККАК). Для станционных вводов и монтажа создан кабель ОКС.
![]() |
Кабель зоновой связи марки ОЗКГ (рис.14) содержит восемь градиентных волокон, расположенных в пазах профилированного пластмассового сердечника. Так как кабель предназначен для непосредственной прокладки в грунт, он имеет защитный броневой покров из стальных проволок диаметром 1,2 мм. Дистанционное электропитание регенераторов осуществляется по четырем медным изолированным проводникам диаметром 1,2 мм, расположенным в броневом покрове кабеля. Снаружи кабель имеет полиэтиленовую оболочку.
Рис. 14. Оптический кабель зоновой связи марки ОЗКГ:
1— профилированный сердечник; 2 — силовой элемент; 3 — волокно; 4 — внутренняя пластмассовая оболочка; 5—стальная проволока; 6—наружная полиэтиленовая оболочка; 7—медный проводник
![]() |
Зоновый кабель ОКЗ содержит четыре или восемь многомодовых ОВ, расположенных в четырех модулях сердечника кабеля, покрытых снаружи полиэтиленовой оболочкой (см. рис.15). Кабель предназначен для прокладки в грунт, поэтому имеет защитный броневой покров. Возможны различные варианты брони: стальные круглые проволоки (ОКЗК), бронеленты (ОКЗБ), стеклопластиковые стержни (ОКЗС), стальная оплетка (ОКЗО). Изготовляются также подводные кабели с алюминиевой оболочкой и круглой стальной броней (ОКЗАК). Станционные кабели маркируются ОКС.
Рис. 15. Оптический кабель зоновой связи марки ОКЗ:
1 — силовой элемент; 2 — оптическое волокно; 3 — медный проводник; 4 и 6 — полиэтиленовая оболочка; 5—стальная броня
Дистанционное электропитание регенераторов осуществляется по четырем медным изолированным проводникам диаметром 1,2 мм, расположенным в сердечнике кабеля.
Кабель магистральной связи ОМЗКГ (рис.16) содержит одномодовые волокна, обеспечивающие многоканальную связь на большие расстояния. Кабель содержит четыре или восемь волокон, расположенных в пазах профилированного пластмассового сердечника. Защитный покров изготавливается в двух модификациях: из стеклопластиковых стержней или стальных проволок. Снаружи имеется пластмассовая оболочка. Кабель предназначен для прокладки в грунт.
![]() |
Рис.16. Магистральный оптический кабель марки ОМЗКГ:
1 — профилированный сердечник; 2 — волокно; 3 — силовой элемент; 4 — внутренняя пластмассовая оболочка;
5 — стеклопластиковые нити; 6 — наружная полиэтиленовая оболочка
Магистральный кабель ОКЛ изготавливается из одномодовых волокон с сердцевиной диаметром 10 мкм, имеет две модификации: с медными проводниками диаметром 1,2 мм для дистанционного питания регенераторов (рис.17) и без медных проводников с питанием от местной сети или автономных источников теплоэлектрогенераторов (ТЭГ).
![]() |
Рис. 17. Магистральный оптический кабель марки ОКЛ:
1 — оптическое волокно; 2 — оболочка оптического модуля; 3 — центральный силовой элемент из стеклопластикового стержня;4—оболочка; 5—медная жила; 6—изоляция медной жилы; 7—гидрофобное заполнение; 8 — обмоточная лента; 9 — промежуточная оболочка из полиэтилена; 10— подушка из крепированной бумаги; 11 — сталеленточная броня; 12—наружная защитная оболочка из полиэтилена (с битумной подклейкой к броне)
Центральный силовой элемент выполнен из стеклопластиковых стержней. Наружный покров кабеля имеет несколько разновидностей: для прокладки в канализации — это полиэтиленовый шланг (марка ОКЛ), для подземной прокладки—броневой покров из стеклопластиковых стержней (ОКЛС), стальных лент (марка ОКЛБ), круглой проволоки (ОКЛК).
Для подводных речных переходов создан кабель с алюминиевой оболочкой и круглопроволочной броней (ОКЛАК). Для станционных вводов и монтажа используется кабель ОКС.
Основные оптические и физико-механические свойства ОК отечественного производства приведены в таблице №2
Таблица №2
| Характеристика | ОК-50 | ОКК | ОЗКГ | ОКЗ | ОМЗКГ | ОКЛ | |
| Система передачи | “Соната-2” | ИКМ-4/5 | “Сопка-3” | “Сопка-4” | “Сопка-4м”, “Сопка-5” | ||
| Число цифровых каналов | 120 | 120, 480 | 480 | 480 | 1920 | 1920; 7680 | |
| λ, мкм | 0,85 | 1,3 | 1,3 | 1,3 | 1,3 | 1,55 | |
| Δ, дБ/км | 3 | 0,7…1,0 | 0,7… 1,0 | 0,7… 1,5 | 0,7 | 0,3 | |
| ΔF, МГц км | 250… 500 | 1000 | 500…800 | 5000 | 5000 | ||
| Длина регенерационного участка, км | 12 | 30 | 30 | 30 | 40 | 100 | |
| Число волокон | 4 и 8 | 4, 8, 16 | 4 и 8 | 4 и 8 | 4, 8, 16 | 4, 8, 16 | |
| Тип волокна | МОВ | ООВ и МОВ | МОВ | МОВ | ООВ | ООВ | |
| Подземные | d , мм Q , кг/км P , Н |
11…15 100…300 1200 |
12…18 110…320 300…3500 |
17 370 3000 |
18…20 406…445 — |
12…18 130…400 1300…4000 |
14…18 140…404 1000…3500 |
| Подводные | d , мм Q , кг/км P , Н |
— — — |
24 1200 25000 |
— — — |
20 1040 25000 |
— — — |
25 1300 25000 |
| Строительная длина, км | 1…2 | 2 | 2 | ||||
| Срок службы, лет | 25 | 25 | 25 | ||||
| Электропитание | Местное | ДП | Автономное, ДП | ||||
Примечание. —коэффициет широкополосноети; Q — масса; Р— разрывная прочность; ООВ—одномодовое, МОВ— многомодовое оптическое волокно.
Теория направляющих систем
Развитие волоконно-оптической связи
Волоконная оптика в настоящее время получила широкое развитие и находит применение в различных областях науки и производства (связь, радиоэлектроника, энергетика, термоядерный синтез, медицина, космос, машиностроение, летающие объекты, вычислительные комплексы и т. д.). Темпы роста волоконной оптики и оптоэлектроники на мировом рынке опережают все другие отрасли техники и составляют 40 % в год. В ряде стран (Англия, Япония, Франция, Италия и др.) уже сейчас при строительстве сооружений связи используются в основном оптические кабели (ОК). Ожидается, что к 2000 г. они займут доминирующее место на сетях междугородной и городской связи. О масштабах развития волоконно-оптических систем передачи (ВОСП) свидетельствуют объемы производства оптических волокон в США. За последнее время ими изготовлено около 10 млн. км волокна. Такое количество позволило бы сделать 250 витков вокруг всего земного шара.
Технико-экономический анализ показал, что в перспективе при массовом производстве оптических кабелей они будут конкурентоспособными с электрическими при потребностях обеспечения передачи сигналов в диапазонах частот 107 ...109 Гц.
Важнейшим фактором в развитии оптических систем и кабелей связи явилось появление оптического квантового генератора лазера.
Советскими учеными, академиками Н. Г. Басовым и А. М. Прохоровым, выполнены фундаментальные исследования в области оптоэлектроники и квантовой техники. Первые работы по освоению оптического диапазона волн для целей связи относятся к началу 60-х годов. В качестве тракта передачи использовались приземные слои атмосферы и световоды с периодической коррекцией расходимости и направления луча с помощью системы линз и зеркал. Открытые (атмосферные) линии оказались подверженными влиянию метеорологических условий и не обеспечивали необходимой надежности связи. Линзовые световоды с дискретной коррекцией оказались весьма дорогостоящими, требовали тщательной юстировки линз и сложных устройств автоматического управления лучом. Они не нашли практического применения на сетях связи.
Создание высоконадежных оптических кабельных систем связи стало возможным в результате разработки в начале 70-х годов оптических волокон с малыми потерями. Такие волокна в значительной мере стимулировали разработку специализированного оборудования и элементов линейного тракта ВОСП.
В России активно ведется строительство волоконно-оптических линий связи (ВОЛС) различного назначения: городских, зоновых, магистральных. В 86 городах (Москва, Нижний Новгород, С.-Петербург, Новосибирск, Тбилиси, Киев, Баку, Ташкент, Минск, Кишинев и др.) действуют оптические соединительные линии между АТС с цифровыми системами передачи ИКМ-120. Построен ряд зоновых линий внутриобластного назначения, например: С.-Петербург—Сосновый бор, Уфа—Стерлитамак, Тула—Щекино, Воронеж—Павловск, Рязань—Мосолово, Майкоп—Краснодар, Клин—Солнечногорск, Ростов—Азов, Курская область, Минск—Смолевичи, Рига—Юрмала и др. Построена одномодовая магистраль С.-Петербург—Минск протяженностью 1000 км на большое число каналов.
В России с участием инофирм осуществляется строительство транссибирской линии (ТСЛ), которая свяжет Японию, Россию, Европу. Общее число каналов составит 30 000. Половина из них предназначена для России; в крупных городах, расположенных по трассе, часть этих каналов будет выделяться, вторая половина каналов пройдет транзитом на Европу.
Транссибирская линия после включения в мировую межнациональную сеть связи замкнет глобальное волоконно-оптическое кольцо, которое охватит четыре континента (Европа—Америка—Азия—Австралия) и пройдет через три океана (Атлантический, Тихий, Индийский).
Достоинства оптических кабелей и область их применения
Наряду с экономией цветных металлов, и в первую очередь меди, оптические кабели обладают следующими достоинствами:
· широкополосность, возможность передачи большого потока информации (несколько тысяч каналов);
· малые потери и соответственно большие длины трансляционных участков (30...70 и 100 км);
· малые габаритные размеры и масса (в 10 раз меньше, чем электрических кабелей);
· высокая защищенность от внешних воздействий и переходных помех;
· надежная техника безопасности (отсутствие искрения и короткого замыкания).
К недостаткам оптических кабелей можно отнести:
· подверженность волоконных световодов радиации, за счет которой появляются пятна затемнения и возрастает затухание;
· водородная коррозия стекла, приводящая к микротрещинам световода и ухудшению его свойств.
Области применения ОК с учетом их достоинств перечислены на (рис.18).
![]() |
Рис. 18. Свойства и области использования ВОЛС
Для систем связи существенными являются показатели 1—5, для автоматизированных систем управления и ЭВМ—показатели 1, 2, 3. Мобильные подвижные системы требуют выполнения в первую очередь показателей 1, 2, 6.
Область возможных применений ВОЛС весьма широка — от линии городской и сельской связи и бортовых комплексов (самолеты, ракеты, корабли) до систем связи на большие расстояния с высокой информационной .емкостью. На основе оптической волоконной связи могут быть созданы принципиально новые системы передачи информации. На базе ВОЛС развивается единая интегральная сеть многоцелевого назначения. Весьма перспективно применение оптических систем в кабельном телевидении, которое обеспечивает высокое качество изображения и существенно расширяет возможности информационного обслуживания абонентов.
Физические прцессы в волоконных световодах
![]() |
В отличие от обычных кабелей, обладающих электрической проводимостью и током проводимости , ОК имеют совершенно другой механизм — они обладают токами смещения , на основе которых действует также радиопередача. Отличие от радиопередачи состоит в том, что волна не распространяется в свободном пространстве, а концентрируется в самом объеме световода и передается по нему в заданном направлении (рис.19).
Рис.19. Процесс передачи:
а—радиосвязь; б—волоконно-оптическая связь
Передача волны по световоду осуществляется за счет отражений ее от границы сердцевины и оболочки, имеющих разные показатели преломления . В обычных кабелях носителем передаваемой информации является электрический ток, а в ОК—лазерный луч.
В обычных широко используемых в настоящее время симметричных и коаксиальных кабелях передача организуется по двухпроводной схеме с применением прямого и обратного проводников цепи (рис.20).
![]() |
Рис. 20. Передача энергии по двухпроводным (а) и волноводным (б) направляющим средам
В световодах, волноводах и других направляющих средах (НС) нет двух проводников, и передача происходит волноводным методом по закону многократного отражения волны от границ раздела сред. Такой отражательной границей может быть металл—диэлектрик, диэлектрик—диэлектрик с различными диэлектрическими (оптическими) свойствами и др.
Граница раздела двухпроводных (двухсвязных) и волноводных (односвязных) НС характеризуется в первую очередь соотношением между длиной волны и поперечными размерами направляющей среды .
При должно быть два провода: прямой и обратный, и передача происходит по обычной двухпроводной схеме; в противном случае не требуется двухпроводная система, и передача осуществляется за счет многократного отражения волны от границ раздела сред с различными характеристиками. Поэтому передача по волноводным системам (световодам, волноводам и другим НС) возможна лишь в диапазоне очень высоких частот, когда длина волны меньше, чем поперечные размеры—диаметр НС.
Оптические микронные волны подразделяются на три диапазона: инфракрасный, видимый и ультрафиолетовый (таблица №3). В настоящее время используются в основном волны длиной 0,7...1,6 мкм и ведутся работы по освоению ближнего инфракрасного диапазона: 2; 4; 6 мкм.
Таблица №3
| Диапазон | ИКЛ | ВЛ | УФЛ |
| f , Гц | 1012 ... 1014 | 10—14 ... 1015 | 1015 ... 1017 |
| λ, мкм | 0,75...100 | 0,4...0,75 | 0,01...0,4 |
Таким образом, для передачи электромагнитной энергии применяются электрические оптические кабели, а также радиосвязь (таблица №4).
Таблица №4 (Передача по электрическим (ЭК), оптическим (ОК) кабелям и радиосвязным каналам (РС))
| Среда передачи | НС | НС | ОС |
| Ток | IФ | Iсм | Iсм |
В разных системах используются различные среды (направляющая или открытая) и токи ( и ). Особенности этих НС связаны с частотными ограничениями при передаче энергии.
Принципиально различен частотный диапазон передачи по волноводным и двухпроводным системам. Волноводные системы имеют частоту отсечки — критическую частоту , ведут себя как фильтры ВЧ, и по ним возможна лишь передача волн длиной менее чем . Двухпроводные системы свободны от этих ограничений и способны передавать весь диапазон частот — от нуля и выше.
Волоконные световоды
Основным элементом ОК является волоконный световод, выполненный в виде тонкого стеклянного волокна цилиндрической формы. Волоконный световод имеет двухслойную конструкцию и состоит из сердцевины и оболочки с разными оптическими характеристиками (показателями преломления ). Сердцевина служит для передачи электромагнитной энергии. Назначение оболочки: создание лучших условий отражения на границе “сердцевина—оболочка” и защита от излучения энергии в окружающее пространство. Снаружи располагается защитное покрытие для предохранения волокна от механических воздействий и нанесения расцветки.Сердцевина и оболочка изготовляются из кварца , покрытие — из эпоксиакрилата, фторопласта, нейлона, лака и других полимеров.
![]() |
Оптические волокна классифицируются на одномодовые и многомодовые. Последние подразделяются на ступенчатые и градиентные. Одномодовые волокна имеют тонкую сердцевину (6…8 мкм), и по ним передается одна волна; по многомодовым (сердцевина 50 мкм) распространяется большое число волн. Наилучшими параметрами по пропускной способности и дальности обладают одномодовые волокна. У ступенчатых световодов показатель преломления в сердечнике постоянен, имеется резкий переход от сердцевины к оболочки и лучи зигзагообразно отражаются от границы “сердечник—оболочка”. Градиентные световоды имеют непрерывное плавное изменение показателя преломления в сердцевине по радиусу световода от центра к периферии, и лучи распространяются по волнообразным траекториям. Показатель преломления сердцевины меняется вдоль радиуса по закону показательной функции
,
где — максимальное значение показателя преломления на оси волокна, т. е. при r= 0; и— показатель степени, описывающей профиль изменения показателя преломления:
![]() |
Чаще всего применяются световоды с параболическим профилем. В этом случае и= 2 и соответственно:
Если принять , то получим известное значение п ступенчатого световода
Дисперсия и пропускная способность
Параметр (пропускная способность) является наряду с затуханием к важнейшим параметром ВОСП. Он определяет полосу частот, пропускаемую световодом, и соответственно объем информации, который можно передать по ОК..
В предельном идеализированном варианте по ВС возможна организация огромного числа каналов на большие расстояния, но фактически имеются значительные ограничения. Это обусловлено тем, что сигнал на вход приемного устройства приходит размытым, искаженным, причем чем длиннее линия, тем больше искажается передаваемый сигнал.
Данное явление носит название дисперсии и обусловлено различием времени распространения различных мод в световоде и наличием частотной зависимости показателя преломления.
Дисперсия—это рассеяние во времени спектральных или модовых составляющих оптического сигнала. Дисперсия приводит к увеличению длительности импульса при прохождении по ОК. Уширение импульса т определяется как квадратичная разность длительности импульсов на выходе и входе формуле
причем значения и берутся на уровне половины амплитуды импульсов.
Связь между величиной уширения импульсов и полосой частот, передаваемых по ВС, приближенно выражается соотношением
Так, если =20 нс/км, то
Дисперсия не только ограничивает частотный диапазон использования световодов, но и существенно снижает дальность передачи по ОК, так как чем длиннее линия, тем больше проявляется дисперсия и больше уширение импульса.
Пропускная способность ОК существенно зависит от типа ВС (одномодовые, многомодовые, градиентные), а также от типа излучателя (лазер, светодиод).
Причинами возникновения дисперсии являются :
· некогерентность источников излучения и появление спектра;
· существование большого количества мод (N) .
В первом случае дисперсия называется хроматической (частотной). Она делится на материальную и волноводную (внутримодовую дисперсию). Волноводная дисперсия обусловлена процессами внутри моды и характеризуется зависимостью коэффициента распространения моды от длины волны
Материальная дисперсия обусловлена зависимостью показателя преломления от длины волны
Во втором случае дисперсия называется кодовой и обусловлена наличием большого количества мод, время распространения которых различно
В геометрической интерпретации соответствующие модам лучи идут под разными углами, проходят различный путь в сердцевине волокна и, следовательно, поступают на вход приемника с различной задержкой.
Результирующее значение уширения импульсов за счет модовой, материальной и волноводной дисперсий
С учетом реального соотношения вкладов отдельных видов дисперсий имеем для многомодовых волокон уширение импульсов
а для одномодовых волокон
Величина уширения импульса в многомодовых волокнах за счет модовой дисперсии, которая характеризуется временем нарастания сигнала и определяется как разность между самым большим и самым малым временем прихода в сечение световода на расстоянии I от начала, может быть рассчитана для ступенчатого и градиентного световода соответственно по формулам
и,
где — показатель преломления сердцевины; — показатель преломления оболочки; l — длина линии; c — скорость света;
— длина связи мод, при которой наступает установившийся режим (5...7 км для ступенчатого и 10...15 км градиентного волокон);
Соответственно пропускная способность градиентного световода в 2/Δ раз меньше, чем ступенчатого, при одинаковых значениях Δ. Учитывая, что, как правило, Δ ≈ 1%, различие пропускной способности указанных световодов может достигать двух порядков.
![]() |
Уширения импульса τ в одномодовых волокнах могут быть определены по формулам
![]() |
где — относительная ширина спектра излучения; l —длина линии; с — скорость света; λ— длина волны; n1 — показатель преломления.
Для расчета можно воспользоваться также упрощенными формулами
и
где — ширина спектральной линии источника излучения, равная 0,1...4 нм для лазера и 15...80 нм для световода; l — длина линии; и M(λ) и B(λ) — удельные материальная и волноводная дисперсии соответственно.
Удельные дисперсии выражаются в пикосекундах на километр (длины световода) и нанометр (ширины спектра). Зависимости материальной и волноводной дисперсий для кварцевого стекла приведены на (рис.21).
![]() |
Рис. 21. Удельные значения дисперсий в одномодовых волокнах при различных длинах волн:
1 — волноводная; 2 — материальная 3 — результирующая.
Как видно из рисунка, с увеличением длины волны τмат уменьшается и проходит через нуль, а τвв несколько растет. Вблизи λ ≈ 1,35 мкм происходит их взаимная компенсация и результирующая дисперсия приближается к нулевому значению. Поэтому длина волны 1,3 мкм получает широкое применение в одномодовых системах передачи. Однако по затуханию предпочтительнее волна 1,55 мкм, и для достижения минимума дисперсии в этом случае приходится варьировать профилем показателя преломления и диаметром сердцевины. При сложном профиле типа W и трехслойном световоде можно и на длине волны 1,55 мкм получить минимум дисперсионных искажений.
В таблице №5 приведены дисперсионные свойства различных типов ВС.
Таблица №5
| Вид дисперсии | Величина дисперсии световода | ||
| многомодового | одномодового | ||
| ступенчатого | градиентного | ||
| Волноводная | Малое значение | Взаимная компенсация | |
| Материальная | 2...5 нс/км | 0,1...0,3 нс/км | Малые значения |
| Межмодовая | 30...50 нс/км | 2...4 нс/км | — |
| Полоса частот | Десятки мегагерц | Сотни мегагерц | Тысячи мегагерц |
Сравнивая дисперсионные характеристики различных световодов, можно отметить, что лучшими обладают одномодовые световоды. Хорошие характеристики также у градиентных световодов с плавным изменением показателя преломления. Наиболее резко дисперсия проявляется у ступенчатых многомодовых световодов.
Рассмотрим пропускную способность ОК. В электрических кабелях с медными проводниками (симметричных и коаксиальных) полоса пропускания и дальность связи в основном лимитируются затуханием и помехозащищенностью цепей. Оптические кабели принципиально не подвержены электромагнитным воздействиям и обладают высокой помехозащищенностью, поэтому параметр помехозащищенности не является ограничивающим фактором. В ОК полоса пропускания и дальность связи лимитируются затуханием и дисперсией.
![]() |
Затухание ОК растет по закону √f. В широкой полосе частот оно весьма стабильное и лишь на очень высоких частотах возрастает за счет дисперсии. Поэтому дисперсия и определяет ширину полосы пропускания частот. Из рисунка видно, что полоса пропускания одномодовых световодов существенно больше, чем ступенчатых и градиентных.
Рис. 22. Зависимость дисперсии (τ) и пропускной способности (ΔF) ОК от длины линии
На рис.22 показан характер зависимостей дисперсии (τ ) и пропускной способности (ΔF ) оптических кабелей от длины линии. Дисперсия приводит как к ограничению пропускной способности ОК, так и к снижению дальности передачи по ним (l ). Полоса частот и дальность передачи l взаимосвязаны. Соотношение между ними выражается формулами:
·
для коротких линий (l < lc ), у которых уширение импульсов с длиной растет линейно,
·
для длинных линий (l > lc ), у которых действует закон √ l изменения величины ширины импульсов,
где ΔF — дисперсия на 1 км;ΔFx — искомое значение дисперсии; lx — длина линии; lc — длина линии устанавливающего режима (5...7 км для ступенчатого и 10...15 км для градиентного волокна).
Километрическое значение полосы пропускания определяется величиной уширения импульсов:
Оптоэлектронные компоненты
Основой ВОСП являются оптоэлектронные компоненты, и в первую очередь лазеры на передаче сигналов и фотодиоды на их приеме. Лазерные системы работают в оптическом диапазоне волн. Если при передаче по кабелям используются частоты порядка мегагерц, а по волноводам — гигагерц, то для лазерных систем используется видимый инфракрасный спектр оптического диапазона волн (1014 ...1015 Гц).
Лазер состоит из активной среды, устройства накачки и резонансной системы (рис. 23). Активной средой может быть твердый, жидкий или газообразный материал. Широкое применение получили полупроводники. В качестве устройства накачки используется главным образом электрическая энергия. Могут применяться также солнечная радиация, атомная энергия, химическая реакция и другие источники. Роль резонанса выполняют зеркала или другие полированные поверхности.
![]() |
Рис. 23. Принципиальная схема лазера:
1 — активная среда; 2 — устройство накачки; 3 — резонансная система
По принципу действия и эффекту светового излучения лазер может быть отнесен к люминесцентным материалам. Известны различные виды люминесценции (свечения): тепловая (лампочка накаливания), холодная (фосфор и другие светящиеся материалы), природная (светлячок, гнилое дерево), химическая (активная реакция) и др. В полупроводниковых лазерах действует электрическая люминесценция — свечение происходит за счет электрической накачки.
Принцип действия квантовых приборов (лазеров) основан на использовании излучения атомов вещества под воздействием внешнего электромагнитного поля. Из квантовой механики известно, что движение электронов атома вокруг ядра характеризует энергетическое состояние электронов, иначе называемое энергетическим уровнем. При переходе электронов с одной орбиты на другую под воздействием внешнего электромагнитного поля меняется энергетический уровень и происходит излучение энергии.
В настоящее время применяются различные типы лазеров: полупроводниковые, твердотельные, газовые и др. Полупроводниковый лазер представляет собой полупроводниковый диод типа р-п, выполненный из активного материала, способного излучать световые кванты—фотоны. В качестве такого материала преимущественно используется арсенид галия с соответствующими добавками (теллура, алюминия, кремния, цинка). В зависимости от характера и количества присадок полупроводник имеет области электронной п (за счет теллура) и дырочной р (за счет цинка) проводимостей.
Под действием приложенного напряжения в полупроводнике происходит возбуждение носителей, в силу чего возникает излучение световой энергии и появляется поток фотонов. Этот поток, многократно отражаясь от зеркал, образующих резонансную систему, усиливается, что приводит к появлению лазерного луча с остронаправленной диаграммой излучения.
![]() |
Схематично полупроводниковый лазер показан на (рис. 24).
Рис. 24. Полупроводниковый лазер
Объем полупроводника примерно 1 мм3 . К нему подведены металлические электроды для подачи электрического напряжения. Роль отражающих зеркал выполняют плоскопараллельные отполированные торцевые грани полупроводника. Излучение происходит в слое р-п перехода толщиной 0,15...0,2 мкм.
Наряду с лазерами в качестве источника оптического излучения могут применяться светодиоды. Светодиод является таким же люминесцентным полупроводником типа р-п из арсенида галия, но не имеет резонансного усиления. В отличие от лазера, обладающего остронаправленным когерентным лучом, в светодиоде излучение происходит спонтанно (самопроизвольно) и луч имеет меньшую мощность и широкую направленность.
Сравнительные характеристики лазеров и светодиодов приведены в таблице №6 и на (рис.25).
Таблица №6
| Излучатель | Мощность, мВт | Диаграмма, град | Ширина спектра, мм | Срок службы, ч |
| Лазер Светодиод | 10... 40 5...20 |
4... 20 60... 80 |
1...3 30... 50 |
104 ... 105 105 …106 |
Сравнивая обычный свет, создаваемый, например, лампочкой накаливания, с лазерным лучом, можно отметить, что в обоих случаях действует поток фотонов. Но в отличие от обычного света, основанного на тепловой природе возникновения и излучающего очень широкий непрерывный спектр частот, лазерный луч имеет электромагнитную основу и представляет собой монохроматический (одноволновый) луч.
![]() |
Рис.25. Ширина спектра лазера (1), светодиода (2)
Лазерный луч обладает рядом замечательных свойств. Он распространяется на большие расстояния и имеет строго прямолинейное направление. Луч движется очень узким пучком с малой степенью расходимости (он достигает луны с фокусировкой в сотни метров). Лазерный луч обладает большой теплотой и может пробивать отверстие в любом материале. Световая интенсивность луча больше, чем интенсивность самых сильных источников света.
![]() |
Рис. 26. Полупроводниковый фотодиод
В качестве приемного устройства, преобразующего свет в электричество, применяется фотодиод. Здесь используется эффект Столетова, состоящий в том, что при воздействии света на активный материал, например полупроводник, изменяются его электрические свойства и возникает электрический сигнал (рис.26).
Таким образом в лазерах электричество преобразуется в свет, а в фотодиодах происходит обратный процесс: свет преобразуется в электричество.
Системы передачи
В оптических системах передачи применяются принципиально те же методы образования многоканальной связи, что и в обычных системах передачи по электрическому кабелю, т. е. частотный и временной методы разделения каналов.
Во всех случаях оптической передачи электрический канал, создаваемый частотным или временным методом, модулирует оптическую несущую. В модулированном виде световой сигнал передается по ОК. В основном используется способ модуляции интенсивности оптической несущей, при которой от амплитуды электрического сигнала зависит мощность излучения, подаваемая в кабель.
В оптических системах передачи, как правило, применяется цифровая (импульсная) передача. Это обусловлено тем, что аналоговая передача требует высокой степени линейности промежуточных усилителей, которую трудно обеспечить в оптических системах.
Таким образом, наиболее распространенной волоконно-оптической системой связи является цифровая система с временным разделением каналов и импульсно-кодовой модуляцией (ИКМ), использующая модуляцию интенсивности излучения источника. Дуплексная связь осуществляется по двум волоконным световодам, каждый из которых предназначен для передачи информации в одном направлении.
В оптических системах связи используются преимущественно цифровые системы передачи—ИКМ на 30, 120, 480 и 1920 каналов.
Основные направления развития и применения волоконной оптики
Открылись широкие горизонты практического применения ОК и волоконно-оптических систем передачи в таких отраслях народного хозяйства, как радиоэлектроника, информатика, связь, вычислительная техника, космос, медицина, голография, машиностроение, атомная энергетика и др. Волоконная оптика развивается по шести направлениям:
11. многоканальные системы передачи информации;
12. кабельное телевидение;
13. локальные вычислительные сети;
14. датчики и системы сбора обработки и передачи информации;
15. связь и телемеханика на высоковольтных линиях;
16. оборудование и монтаж мобильных объектов.
Многоканальные ВОСП начинают широко использоваться на магистральных и зоновых сетях связи страны, а также для устройства соединительных линий между городскими АТС. Объясняется это большой информационной способностью ОК и их высокой помехозащищенностью. Особенно эффективны и экономичны подводные оптические магистрали.
Применение оптических систем в кабельном телевидении обеспечивает высокое качество изображения и существенно расширяет возможности информационного обслуживания индивидуальных абонентов. В этом случае реализуется заказная система приема и предоставляется возможность абонентам получать на экране своих телевизоров изображения газетных полос, журнальных страниц и справочных данных из библиотеки и учебных центров.
На основе ОК создаются локальные вычислительные сети различной топологии (кольцевые, звездные и др.). Такие сети позволяют объединять вычислительные центры в единую информационную систему с большой пропускной способностью, повышенным качеством и защищенностью от несанкционированного допуска.
Волоконно-оптические датчики способны работать в агрессивных средах, надежны, малогабаритны и не подвержены электромагнитным воздействиям. Они позволяют оценивать на расстоянии различные физические величины (температуру, давление, ток и др.). Датчики используются в нефтегазовой промышленности, системах охранной и пожарной сигнализации, автомобильной технике и др.
Весьма перспективно применение ОК на высоковольтных линиях электропередачи (ЛЭП) для организации технологической связи и телемеханики. Оптические волокна встраиваются в фазу или трос. Здесь реализуется высокая защищенность каналов от электромагнитных воздействий ЛЭП и грозы.
Легкость, малогабаритность, невоспламеняемость ОК сделали их весьма полезными для монтажа и оборудования летательных аппаратов, судов и других мобильных устройств.
В последнее время появилось новое направление в развитии волоконно-оптической техники — использование среднего инфракрасного диапазона волн 2...10 мкм. Ожидается, что потери в этом диапазоне не будут превышать 0,02 дБ/км. Это позволит осуществить связь на большие расстояния с участками регенерации до 1000 км. Исследование фтористых и халькогенидных стекол с добавками циркония, бария и других соединений, обладающих сверхпрозрачностью в инфракрасном диапазоне волн, дает возможность еще больше увеличить длину регенерационного участка.
Ожидаются новые интересные результаты в использовании нелинейных оптических явлений, в частности соли тонного режима распространения оптических импульсов, когда импульс может распространяться без изменения формы или периодически менять свою форму в процессе распространения по световоду. Использование этого явления в волоконных световодах позволит существенно увеличить объем передаваемой информации и дальность связи без применения ретрансляторов.
Весьма перспективна реализация в ВОЛС метода частотного разделения каналов, который заключается в том, что в световод одновременно вводится излучение от нескольких источников, работающих на разных частотах, а на приемном конце с помощью оптических фильтров происходит разделение сигналов. Такой метод разделения каналов в ВОЛС получил название спектрального уплотнения или мультиплексирования.
При построении абонентских сетей ВОЛС кроме традиционной структуры телефонной сети радиально-узлового типа предусматривается организация кольцевых сетей, обеспечивающих экономию кабеля.
Можно полагать, что в ВОСП второго поколения усиление и преобразование сигналов в регенераторах будут происходить на оптических частотах с применением элементов и схем интегральной оптики. Это упростит схемы регенерационных усилителей, улучшит их экономичность и надежность, снизит стоимость.
В третьем поколении ВОСП предполагается использовать преобразование речевых сигналов в оптические непосредственно с помощью акустических преобразователей. Уже разработан оптический телефон и проводятся работы по созданию принципиально новых АТС, коммутирующих световые, а не электрические сигналы. Имеются примеры создания многопозиционных быстродействующих оптических переключателей, которые могут использоваться для оптической коммутации.
На базе ОК и цифровых систем передачи создается интегральная сеть многоцелевого назначения, включающая различные виды передачи информации (телефонирование, телевидение, передача данных ЭВМ и АСУ, видеотелефон, фототелеграф, передача полос газет, сообщений из банков и т. д.). В качестве унифицированного принят цифровой канал ИКМ со скоростью передачи 64 Мбит/с (или 32 Мбит/с).
Для широкого применения ОК и ВОСП необходимо решить целый ряд задач. К ним прежде всего относятся следующие:
· проработка системных вопросов и определение технико-экономических показателей применения ОК на сетях связи;
· массовое промышленное изготовление одномодовых волокон, световодов и кабелей, а также оптоэлектронных устройств для них;
· повышение влагостойкости и надежности ОК за счет применения металлических оболочек и гидрофобного заполнения;
· освоение инфракрасного диапазона волн 2...10 мкм и новых материалов (фторидных и халькогенидных) для изготовления световодов, позволяющих осуществлять связь на большие расстояния;
· создание локальных сетей для вычислительной техники и информатики;
· разработка испытательной и измерительной аппаратуры, рефлектометров, тестеров, необходимых для производства ОК, настройки и эксплуатации ВОЛС;
· механизация технологии прокладки и автоматизация монтажа ОК;
· совершенствование технологии промышленного производства волоконных световодов и ОК, снижение их стоимости;
· исследование и внедрение солитонового режима передачи, при котором происходит сжатие импульса и снижается дисперсия;
· разработка и внедрение системы и аппаратуры спектрального уплотнения ОК;
· создание интегральной абонентской сети многоцелевого назначения;
· создание передатчиков и приемников, непосредственно преобразующих звук в свет и свет в звук;
· повышение степени интеграции элементов и создание быстродействующих узлов каналообразующей аппаратуры ИКМ с применением элементов интегральной оптики;
· создание оптических регенераторов без преобразования оптических сигналов в электрические;
· совершенствование передающих и приемных оптоэлектронных устройств для систем связи, освоение когерентного приема;
· разработка эффективных методов и устройств электропитания промежуточных регенераторов для зоновых и магистральных сетей связи;
· оптимизация структуры различных участков сети с учетом особенностей применения систем на ОК;
· совершенствование аппаратуры и методов для частотного и временного разделения сигналов, передаваемых по световодам;
· разработка системы и устройств оптической коммутации.
Список исполлльзуемой литературы:
1. Оптические системы связи / Дж. Гауэр – М.: Радио и связь, 1989;
2. Линии связи / И. И. Гроднев, С. М. Верник, Л. Н. Кочановский. - М.: Радио и связь, 1995;
3. Оптические кабели / И. И. Гроднев , Ю. Т. Ларин , И. И. Теумен. - М.: Энергоиздат, 1991;
4. Оптические кабели многоканальных линий связи / А. Г. Мурадян, И. С. Гольдфарб , В. Н. Иноземцев. - М.: Радио и связь, 1987;
5. Волоконные световоды для передачи информации / Дж. Э. Мидвинтер. - М.: Радио и связь, 1983;
6. Волоконно-оптические линии связи / И. И. Гроднев. - М.: Радио и связь, 1990
Похожие рефераты:
Передающее устройство одноволоконной оптической сети
Передающее устройство одноволоконной оптической сети
Разработка систем передачи информации нового поколения
Реконструкция волоконно-оптической линии связи
Волоконно-оптическая линия связи
Модернизация, телекоммуникационного оборудования в ЗАО "Кузбассэнергосвязь"
Планирование и реализация процедуры внедрения линий связи на железнодорожном пути
Кому молится в трудных ситуациях
Волоконная оптика и ее применение
Проект высокоскоростной локальной вычислительной сети предприятия
Локальная сеть Ethernet в жилом микрорайоне
Анализ погрешностей волоконно-оптического гироскопа
Проектирование локальной сети для рабочих мест на базе сети Ethernet
































