| Скачать .docx |
Реферат: Спаивание
Спаи металла со стеклом
Стекло широко применяется в совместной электронике и других отраслях: в микросхемах, микросборках электронных приборов, транзисторах, диодах, электроннолучевых трубках и электронных лампах, в микромодулях этажерочных микросхем, в кварцевых резонаторах, конденсаторах, резисторах, гермовводах гироскопов и других приборах.
Широкое применение стекло нашло благодаря наличию у него ряда замечательных свойств. Важнейшим из которых являются:
· малая зазоропроницаемость, позволяющая применить его в вакуумной электронике
· высокое электрическое сопротивление, обеспечивающее необходимую электроизоляцию металлических выводов микросхем, электроннолучевых трубок, радиоламп и других приборов
· возможность изготовления из него вакуумплотных оболочек с металлическими выводами.
Свойства стекол возможно варьировать путем изменения их химического состава.
Основные свойства технических стекол:
Термические свойства стекол являются важнейшими свойствами, т.к. в процессе формования стекло нагревается до высоких температур, а в процессе эксплуатации электронные приборов стекло испытывает тепловую нагрузку. Термические свойства стекла определяют:
* термическое расширение при нагреве, которое способствует возникновению механических напряжений в зонах стекла с различной температурой и в зонах спая стекла с другими стеклами и металлами при одинаковой их температуре из-за различия величины коэффициентов термического расширения КТРУ; у различных стекол КТР изменяется в пределах 6*107 ...98*108 о С-1 .
* температура трансформации - это температурный переход из области с малыми коэффициентами термического расширения в область с большим КТР. У кристаллических материалов при температуре трансформации меняется не только КТР, но и удельное сопротивление, показатель преломления и плотность. Практически стекло выше температуры трансформации не разрушается ни при механических ударах, ни при резком увеличении температуры. Температура трансформации для различных стекол меняется в пределах 300...1100 о С.
* термостойкость - это свойство противостоять разрушению при резком изменении температуры, она прямо пропорциональна механической прочности стекла и обратно пропорциональна модулю упругости и коэффициенту термического расширения. Кроме того, термостойкость зависит от размеров, формы и толщины стенок изделия и от дефектов в стекле. Термостойкость стекла в основном зависит от КТР:
КТР=90х10-7 о С-1 термостойкость 140 о С
КТР=6х10-7 термостойкость 1200 о С
соответственно для стекол спаиваемых платинитом и кварцевого стекла. Термостойкость изделий из стекла можно повысить не только посредством применения более термостойкого стекла, но и выбором технологичной формы изделия,
* зависимость вязкости от температуры. Вязкость стекла при нагревании постепенно уменьшается, а при повышении температуры позволяет формовать стекло в изделие (1070...1300 о С). Так как при формовании стекло неравномерно охлаждается, то в нем возникают остаточные напряжения. Остаточные напряжения можно за короткое время устранить путем нагрева стекла до температуры отжига при которой вязкость равна 2х1013 ...1014 пуаз.
Механические свойства стекол. Стекло отличается от других материалов своей хрупкостью. Для стекол наибольшее значение имеют следующие свойства:
· плотность (d=m/v кг/м2 ). Плотность зависит от химического состава и для кварцевого стекла 2, 21 раза, боросиликатного в 2,23, а у свинцового стекла с 30% PbO в три раза больше плотности воды. Хорошо отожженное стекло имеет большую плотность, чем стекло с остаточными напряжениями,
· прочность при растяжении и сжатии. Прочность при растяжении в 10...15 раз меньше, чем при сжатии и равна 3*107 ...17*107 Н/м2 ; при испытаниях на растяжение наблюдают значительный разброс из-за хрупкости материала. Прочность на сжатие более высока, чем при растяжении, и у необработанных стекол равна 75х107 ...90х107 Н/м2 .
· прочность стекла при изгибе. В этом случае стекло испытывает растяжение и сжатие. При изгибе прочность у стекла меньше, чем при растяжении,
· прочность при ударе выполняется для выяснения поведения стекла в этом случае. Испытание выполняется с помощью удара шаром и мешком, т.е. (удар “копьем” и большими предметами); мгновенное нагружение сосредоточенной и распределенной нагрузкой,
· модуль упругости при растяжении используется в расчетах термостойкости, напряжений в спаях и при определении режимов отжига,
· коэффициент Пуассона для стекол равен 0,18...0,22 и используется при расчетах термостойкости стекла, режимов отжига, напряжений в спаях и т.п.
Электрические свойства стекол. Стекло в электронике, гироскопии и др. отраслях используется для создания вакуумных вводов, через которые может протекать постоянный, переменный и высокочастотный ток, а напряжение между близко расположенными вводами может достигать десятков киловольт. Важнейшими электрическими свойствами стекол являются:
· удельное объемное и поверхностное электросопротивление стекол с увеличением температуры уменьшается. Удельное объемное сопротивление стекол в зависимости от температуры оценивается величиной Тк - 100 - температурой, при которой удельное объемное сопротивление равно 10 мОм/см (у магниевокальциевого и 350 о С у свинцового стекла). Часто у стекол зависимость удельного сопротивления от температуры прямолинейна (например, магниевокальциевое стекло); у некоторых стекол начальный период нагрева (до 250 о С) эта зависимость нелинейная, а при охлаждении линейна. Эти различия объясняются поверхностным сопротивлением, которые обычно больше расчетного. Уменьшение поверхностного сопротивления обусловлено адсорбированной на поверхности стекла пленкой воды или загрязнений. Следовательно, электрическое сопротивление стекла зависит от типа стекла и состояния его поверхности.
· угол диэлектрических потерь и диэлектрическая проницаемость стекол. Угол диэлектрических потерь d, (tgd) существенно меняется с частотой тока: сначала он уменьшается при увеличении частоты до 106 , а затем увеличивается. Поэтому стекла характеризуются обычно tgd при частоте106 (у свинцового стекла tgd½f=10 6 »1.7х103 , у барийлитиевого стекла tgd½f=10 6 »2.1х105 . Диэлектрическая проницаемость особенно при высоких температурах изменяется у стекол незначительно. Для стеклянных изоляторов, расчитанных на токи высокой частоты, используют стекла с низким углом диэлектрических потерь tgd<50х10-4 ). Отличными диэлектрическими свойствами обладает ситалл.
Отличительным свойством стекла является его большая устойчивость к воздействию многих химических реагентов, а также устойчивость к воздействию воды и паров металла. С увеличением в стекле содержания щелочных окислов его химическая стойкость уменьшается. Окислы алюминия, бора и цинка увеличивают сопротивление химическим реакциям. Химическая стойкость стекла помимо его вида определяется остаточными напряжениями; чем они больше, тем меньше химическая стойкость. Химическая стойкость определяется:
· влагостойкостью. При воздействии воды на поверхность стекла происходит гдролиз, в результате которого освобождаются щелочи, в свою очередь воздействующие на стекло:
NaSO3 +H2 O «H2 SO4 +2NaOH
Разрушение стекла ускоряется при колебаниях влажности воздуха. Электронике следует использовать стекла с высокой влагостойкостью - устойчивостью к воздействию паров щелочных металлов. Эти пары действуют на стекло восстанавливающе.
Вакуумные свойства стекол - это свойства стекол только при высоком вакууме. Наибольшую скорость диффузии через стекло имеет гелий, затем водород. Скорость диффузии значительно возрастает с повышением температуры и уменьшается с увеличением толщины стенки стекла. Газопроницаемость кварцевого стекла при давлении 760 торр - 3150*10-13 , натриевого - 9,8*10-13 см3 /сек.см2 торр. Наименьшую газопроводность имеют амосиликатные стекла (содержащие Al2 O3 около 20%).
· газы, связанные в структурные стекла, выделяющиеся после запайки вакуумного прибора. Газы выделяющиеся за счет их диффузии на внутреннюю стенку прибора. Наибольший объем в выделившихся газах составляют вода (96...98%), остальные CO2 , CO, H2 , CH4 и др.
· газы, адсорбированные на поверхности стекол
· обезгаживание стекла производится в приборах постоянного вакуума. В этом случае удаляют газы адсорбированные на поверхности, в поверхностном слое и в структуре стекла. С поверхности газы удаляют при нагреве стекла на воздухе. Газы “поверхностного слоя” удаляют нагревом в вакууме.
Видимые дефекты стеклянных заготовок:
· пузыри в стекле - это полости заполненные газом; при оценке влияния их на качество учитываются размеры и расположение пузырей с точки зрения эксплуатационных требований.
· камни - это твердые кристаллические включения, которые не растворились в процессе варки стекла (непроваренные остатки шихты, или куски огнеупорных материалов). Для стекол в электронике камни создают большие напряжения из-за значительного расхождения КТР. Поэтому камни в стекле недопускаются, а если допускаются то при особых условиях.
· включения железа вызывают в стекле напряжения, поэтому наличие их также не желательно, как и камней.
· свили - это неоднородности в стекле с иными физическими свойствами, чем у стекла; проявление свилей вызвано отклонением химического состава или местной неоднородностью температуры и появлением больших напряжений.
· трещины и посечки в стекле должны быть ограничены.
· морщины - это неправильной формы волнообразные дефекты. Обычно на внешних частях изделия, определяющих товарный вид изделия, трещины недопустимы.
· складки и следы ножниц - это неправильной формы углубления в стекле, которые в отличие от морщин не выступают над поверхностью стекла.
Основы теории спаев металла со стеклом
К настоящему времени разработано большое количество теорий таких спаев. Однако наиболее полно основной механизм спаев - адгезию жидкости к твердому металлу объясняет электронная теория. Адгезия внешне проявляется в смачивании металла жидкостью. Смачивание - это проявление межмолекулярного воздействия жидкости и твердого тела, поэтому смачивание поддается управлению при помощи адсорбирующих добавок. Для силикатных расплавов этими добавками являются окислы кобальта, никеля, молибдена и др. Во многих случаях адсорбирующим слоем может быть пленка карбида, нитрида, силиката и так далее основного металла и наоборот эти пленки могут препятствовать смачиванию. Установлено, что наилучшим смачиванием расплавленное стекло на поверхности окисленного металла обладает при минимальном угле смачивания. Минимальный угол смачивания для всех стекол имеет место при отношении радиуса иона металла к радиусу иона кислорода равном 0,65. Таким образом, при радиусе иона кислорода 1,4А окисел должен иметь ионный радиус 0,91А. Считают, что в зоне спая построена решетка из анионов кислорода и катионов двух различных видов: катиона кремния в стекле и катиона металла в окисле. Силы взаимодействия между частицами решетки проявляются благодаря их сближению в результате тесного контакта стекла и металла при спаивании: анионы кислорода, связанные с катионами кремния, будут притягиваться катионами металла, равно как и анионы окисла металла, связанные с катионами металла, будут притягиваться катионами кремния.
Процесс спаивания металла со стеклом разделяют на два этапа:
Спаиваемые материалы
Металлы. Широко распространены спаи со стеклом следующих металлов и сплавов: вольфрама, молибдена, платинита, сплавы железа, никеля, кобальта, хрома, аустенитные нержавеющие стали, ковар, титан, цирконий и др.
Стекла электровакуумной промышленности подразделяются на тугоплавкие и легкоплавкие. Это давление условно, а стекло относится к тугоплавкому или легкоплавкому в зависимости от КТР: у тугоплавких стекол КТР £55*10-7 , эти стекла называют также твердыми, у легкоплавких стекол 80*10-7 £ КТР £ 100*10-7 , эти стекла называют также мягкими. Тугоплавкие стекла имеют боросиликатный состав (сумма SiO2 и Ba2 O3 доходит до 90% по весу) или алюмосиликатный состав (сумма Al2 O3 и SiO2 -72...82%). Эти стекла применяют для изготовления колб, ножек и других деталей сложных и дорогих приборов: генераторных ламп, ионных приборов, магнетронов и так далее. Изготовляют согласованные спаи из этих стекол с вольфрамом и молибденом. Состав легкоплавких стекол более разнообразен. Легкоплавкие стекла применяют для изготовления массовой продукции ЭВП: колб, ножек, штегелей и других деталей осветительных и приемно усилительных, генераторных ламп, газосветных трубок, кинескопов, рентгеновских трубок и др.
Конструирование спаев
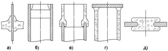
Качественные спаи металла со стеклом получают при удовлетворении требований к спаиваемым материалам и выборе соответствующего вида спая в зависимости от основной формы впаиваемой в стекло арматуры-детали. Спаи бывают следующих видов:
1. внешние или бусинковые, (рис.1,а);
2. сжатые (рис.1,б);
3. трубчатые рантовые (рис.1,в);
4. дисковые (рис.1,г);
5. окошечные (рис.1,д).

Рис.1. Основные виды спаев металла со стеклом.
Бусинковые, коошечные, сжатые спаи получают наиболее часто способом прессования в прессформах, в которых металлический ввод точно фиксируется; трубчатые и дисковые спаи выполняют на специальных станках, где ориентированные и разогретые до температуры спаивания элементы сдвигаются до соприкосновения и после небольшого сжатия-осадки получают утолщение, которое охватывает и смачивает место спая; в результате чего получают соединение-спай.
Технология спаивания металла со стеклом
При спаивании стекол друг с другом и с металлами необходимо прежде всего принимать во внимание напряжения обусловленные различием коэффициентов термического расширения. Для предупреждения разрушения спая эти напряжения не должны превышать предела прочности стекла на растяжение, а режим охлаждения должен способствовать уменьшению этих напряжений.
Однако методы устранения остаточных напряжений в стекле отличны от методов устранения напряжений, обусловленных различием КТР.
Технологический процесс спаивания металла со стеклом включает следующие основные операции:
1. подготовку стекла и металла к спаиванию
2. изготовление спая
3. отжиг спая
4. контроль
Подготовка стекла заключается в получении требуемой поверхности спая и поверхностной обработке. Большая часть спаиваемых стеклянных заготовок имеет трубчатую форму или форму диска. Торцевую плоскость трубок в массовом производстве получают оплавлением - отрезком газовым пламенем на станках для обработки стекла или отрезкой абразивным кругом. Цилиндрическую поверхность диска получают шлифованием. После этих операций с целью удаления стеклянной пыли, абразива и других загрязнений промывка в теплой подкисленной воде и затем в проточной воде с последующей сушкой в термостатах. Поверхностная обработка стекол производится для увеличения или уменьшения поверхностного сопротивления, удаления адсорбированной влаги и газов. Для этого выполняют промывку растворами кислот, очистку водяным паром и в тлеющем разряде, гидрофобную обработку, создание поверхностных покрытий испарением в вакууме, восстановление солей, металлов и др.
Подготовка металлов перед спаиванием предусматривает:
увеличение шероховатости поверхности до Rz = 20¸5 мкм для увеличения механической прочности спая;
Изготовление спая
Процесс образования спая рассмотрим на примере получения бусинкового спая (рис.1,а) в газовом пламени. Такие спаи нужны при впаивании вводов в оболочку. В этом случае стекло, предварительно нанесенное на ввод, упрощает изготовление ввода, сводя впаивание металлического стержня в стекло к спаиванию двух стекол. Для выполнения спая подготовляют заранее отрезок стеклянной трубки на 0,1...0,2 мм больше диаметра ввода, длина и толщина стенки трубки принимаются равными длине и толщине будущего спая. После предварительного нагрева стержня ввода (с целью получения слоя адгезионных окислов) трубка быстро насаживается на стержень и при непрерывном вращении стержня прогревается тонким пламенем до спаивания с металлом. Нагревание начинается у одного конца трубочки и его место перемещается к другому концу трубочки. Благодаря чему воздух вытесняется из зазора между стеклом и вводом и спай получается равномерный и без пузырей.
Спаивание может быть выполнено кроме нагрева газовым пламенем, в печи, при помощи индуктивного нагрева и джоулевого тепла, с использованием соответствующих печей или установок. При спаивании часто используют различные приспособления и прессформы для обеспечения правильного взаимного расположения вводов относительно оболочки.
Отжиг спаев
Отжиг спаев применяется для устранения закалочных напряжений и управления в некоторых пределах термическими напряжениями. Устранение остаточных и управление термическими напряжениями достигается посредством некоторой пластической деформации стекла, происходящей при выдержке спая в течение определенного времени при некоторой температуре с последующим охлаждением его до комнатной температуры с такой скоростью, чтобы возникающие напряжения не превосходили определенной величины.
Контроль спаев
Целью контроля спаев является отделение негодных приборов из представленных к реализации.
Контроль выполняется по большему количеству параметров, важнейшими из них являются:
1. качество спая - газонепроницаемость и высокое омическое сопротивление;
2. величина остаточных напряжений;
3. видимые дефекты.
Технологические требования к конструкции спаев
металла со стеклом
Основу этих требований составляет получение герметичных спаев металла со стеклом, обеспечивающих длительную эксплуатацию изделий без отказа. Основные требования к технологичности конструкции изделия следующие:
1. Стекло должно хорошо смачивать металл, с которым оно спаивается и иметь малую газонепроницаемость.
2. Стекло должно иметь высокую прочность и термоустойчивость, определенные диэлектрические свойства, противоэлектролизную стойкость.
3. Температура плавления металла должна быть выше температуры плавления стекла.
4. Стеклянная часть спая должна иметь плавные переходы (радиусы, конусы и тому подобное) от одного элемента изделия к другому.
5. Граница спая должна представлять собой однообразную геометрическую поверхность: цилиндр, плоскость, тор и так далее.
6. Конструкция спая, удовлетворяющая требованиям технологии представлена на рис.1
Литература
1. В.А. Бачин. Диффузионная сварка стекла и керамики с металлами.-М.: Машиностроение, 1986. – 184 с;ил.
2. Любимов М.Л. Спаи металла со стеклом. М. Энергия 1968. 280с.
3. Роус Р. Стекло в электронике. М. Советское радио. 1969. 356с.