| Скачать .zip |
Реферат: Проект зубчатой передачи
МИНИСТЕРСТВО ОБРАЗОВАНИЯ УКРАИНЫ
Кафедра прикладной механики
ПРОЕКТ ЗУБЧАТОЙ ПЕРЕДАЧИ
ПМ.ДМ.02.07.200
Расчетно-графическая работа
из прикладной механики
Відмінно
Руководитель В.Ю. Грицюк
Выполнил
студент гр.
Чернигов 1999
ТЕХНИЧЕСКАЯ ЗАДАЧА
Запроектировать прямозубую цилиндрическую передачу при таких данных: мощность на исходном вале PВИХ=47,5 квт; частота обращения тихоходного вала nВИХ=(30015) об/мин; передача реверсивная; срок эксплуатации неконченый.
Кинематическая схема

Рисунок 1
ПОДГОТОВИТЕЛЬНАЯ РАБОТА
- Входные данные
Определим мощность которая будет нужна от двигателя
,
.
С [1] в соответствии с таблицей 5.4 мы имеем: ц=0,96...0…0,98;г=0,99...0…0,995;г=0,94...0…0,97
Принимаем: ц=0,97; п=0,99; г=0,97.
Определим нужную частоту обращения вала двигателя
.
Из таблицы 5.5 [1] находим iзаг=3...6.…6
Воспользовавшись таблицей 5.1 с [1], выберем двигатель 4А 225Г4.
Мощность:
,
синхронная
частота обращения
,
скольжение
,
коэффициент
перегрузки
.
Полученные данные:
,
,
,
.
Передача прямозубая, реверсивная. Срок эксплуатации неконченый.
- Выбор материала и определение допустимых напряжений
Используем таблицу 8.8 с [2].
Для шестерни выберем сталь 35ХМ:
термообработка улучшения,
граница прочности М1=900 МПа,
граница текучести Т1=800 МПа,
твердость HB 241.
Для колеса выберем сталь 45:
термообработка улучшения,
граница прочности М2=750 МПа,
граница текучести Т2=450 МПа,
твердость HB 192…240,
выберем твердость HB 200.
Поверхностная обработка не предполагается.
При твердости меньшее HB 350 возможное припрацювання.
Определение допустимых напряжений для расчета на контактную выносливость при действии долговременной погрузки.
,
,
.
Из таблицы
8.9 [2] при нормализации,
улучшении при
HB 180…350имеем
,
а
.
,
.
При неконченому терміні эксплуатации KHL=1.
Так как
передача прямозубая,
то имеем
.
Определим допустимое напряжение для расчета на выносливость при сгибе при действии долговременной погрузки.
,
,
.
Из таблицы
8.9 [2] при нормализации,
улучшении при
HB 180…350имеем
,
а
.
,
.
При неконченому терміні эксплуатации KFL=1.
Так как передача реверсивная, то имеем KFC=0,7...0…0,8,примем KFC=0,7.
Определяем допустимые напряжения для статической проверки прочности при действии кратковременной перегрузки.
Из таблицы
8.9 [2] при нормализации,
улучшении при
HB 180…350имеем
,
а
.
,
,
,
.
ПРОЕКТНЫЙ РАСЧЕТ
- Проектный расчет на контактную выносливость при действии долговременной погрузки

,
,
.
Для
стальной прямозубой
передачи Ka=495
МПа. Из таблицы
8.4 [2] при HB<350 и при
симметричном
размещении
колес на вале
имеем ba=0,3...0…0,5,выберем
ba=0,3.
По рисунку 8.15
[2] кривая V при
найдем KH=1,03.
Примем aw=310
гг, тогда
.
Принимаю bw=95
гг.
Применим программу PRAM2, с такими исходными данными:
Передаточне число u = 4.93.
Крутящий момент на ведомом колесе T2 = 1513.
Коэффициент ширины передачи ba = 0,30.
Граница текучести материала ведущего колеса T1 = 800.
Граница текучести материала ведомого колеса T2 = 450.
Коэффициент
перегрузки
0.
Частота обращения ведущего вала n1 = 1480.
Твердость по Бринелю матеріалa ведущему колесу HB1=241.
Твердость по Бринелю матеріалa ведомому колесу HB2=200.
Вид передачи : прямозубая.
Расположение колес на вале : симметричное.
ДН при расчете на КВ для ведущего колеса HP1 = 502,
для ведомого колеса HP2 = 427.
ДН при расчете на ВПИ для ведущего колеса FP1 = 173,
для ведомого колеса FP2 = 144.
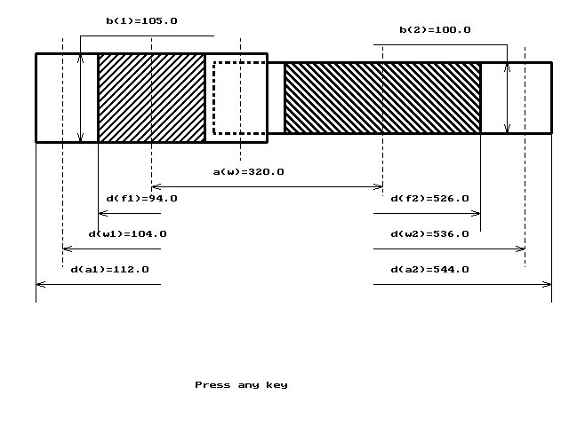
Программа выдала такие данные: aw=320, bw=100 (почти верно).
2.2 Проектный геометрический расчет.
Межосевое расстояние aw=320 гг .
Ширина зацепления bw=100 гг .
Модуль зацепления нормальный mn=4,00 гг .
Числа зубьев : z1=26 ,
z2=134 .
Угол наклона зубьев = 0 град. 0 мин. 0 сек.
Начальные диаметры колес : dw1=104,0 гг ,
dw2=536,0 гг .
Делительные диаметры колес : d1=104,0 гг ,
d2=536,0 гг .
Диаметры выступлений колес : da1=112,0 гг ,
da2=544,0 гг .
Диаметры впадин колес : df1=94,0 гг ,
df2=526,0 гг .

Рисунок 2
Проверим
частоту обращения
исходного вала
,
,
.
Получили частота обращения исходного вала в границах допустимого.
Дополнительные сведения.
Колова скорость = 8,059 м/с ,
Коэффициенты перекрытия :
торцового = 1,75 ,
осевого = 0,00 ,
Степень точности 7.3.
ПРОВЕРОЧНЫЙ РАСЧЕТ
3.1. Проверка контактной выносливости при действии долговременной погрузки
Расчетное напряжение H=399 МПа ,
допустимое напряжение HP=427 МПа .
H=399 < HP=427 контактная выносливость обеспечивается.
Проверим
величину
недогруженности
.
Недогруженность в границах рекомендованной с точки зрения экономичности.
3.2. Проверка выносливости при сгибе при действии долговременной погрузки
Расчетное напряжение на переходной поверхности :
F1=112 МПа,
F2=104 МПа,
допустимое значение напряжения сгиба
FP1=173 МПа,
FP2=144 МПа.
F1=112 МПа < FP1=173 МПа,
F2=104 МПа < FP2=144 МПа,
выносливость при сгибе обеспечивается.
3.3. Проверка статистической прочности при кратковременных перегрузках
Действующее контактное напряжение при перегрузке
=592 МПа ,
допустимое контактное напряжение при перегрузке
=1260 МПа ,
действующие напряжения при сгибе при перегрузке
=247 МПа ,
=228 МПа ,
допустимое напряжение при сгибе при перегрузке
=640 МПа ,
=360 МПа .
,
,
.
Выносливость при перегрузке обеспечивается.
СПИСОК ССЫЛОК
1 Расчёты деталей машин: Справь. пособие / А. В. Кузьмин, И. М. Чернин, Б. С. Козинцов. – Мн.: Выш. шк., 1986. – 400 с.
2 Иванов М. Н. Детали машин: Учеб. для машиностр. спец. вузов. – Г.: Высш. шк., 1984. – 336 с.
СОДЕРЖАНИЕ
Техническая задача 1
1 Подготовительная работа 2
1.1 Входные данные 2
1.2 Выбор материала и определение допустимых напряжений 3
2 Проектный расчет 5
2.1 Проектный расчет на контактную выносливость при действии долговременной погрузки 5
2.2 Проектный геометрический расчет 6
3 Проверочный расчет 9
3.1 Проверка контактной выносливости при действии долговременной погрузки 9
3.2 Проверка выносливости при сгибе при действии долговременной погрузки 9
3.3 Проверка статической прочности при действии кратковременной перегрузки 9
МІНІСТЕРСТВО ОСВІТИ УКРАЇНИ
Кафедра прикладної механіки
ПРОЕКТ ЗУБЧАСТОЇ ПЕРЕДАЧІ
ПМ.ДМ.02.07.200
Розрахунково-графічна робота
з прикладної механіки
Відмінно
Керівник В.Ю. Грицюк
Виконав
студент гр.
Чернігів 1999
ТЕХНІЧНЕ ЗАВДАННЯ
Запроектувати прямозубу циліндричну передачу при таких даних: потужність на вихідному валу PВИХ=47,5 кВт; частота обертання тихохідного валу nВИХ=(30015) об/хв; передача реверсивна; термін експлуатації нескінчений.
Кінематична схема

Рисунок 1
ПІДГОТОВЧА РОБОТА
- Вхідні дані
Визначимо потужність яка буде потрібна від двигуна
,
.
З [1] згідно з таблицею 5.4 ми маємо: ц=0,96…0,98; п=0,99…0,995; м=0,94…0,97.
Приймаємо: ц=0,97; п=0,99; м=0,97.
Визначимо потрібну частоту обертання вала двигуна
.
З таблиці 5.5 [1] знаходимо iзаг=3…6.
Скориставшись таблицею 5.1 з [1], виберемо двигун 4А 225М4.
Потужність:
,
синхронна
частота обертання
,
ковзання
,
коефіцієнт
перевантаження
.
Отримані дані:
,
,
,
.
Передача прямозуба, реверсивна. Термін експлуатації нескінчений.
- Вибір матеріалу і визначення допустимих напружень
Використаємо таблицю 8.8 з [2].
Для шестерні виберемо сталь 35ХМ:
термообробка поліпшення,
межа міцності М1=900 МПа,
межа текучості Т1=800 МПа,
твердість HB 241.
Для колеса виберемо сталь 45:
термообробка поліпшення,
межа міцності М2=750 МПа,
межа текучості Т2=450 МПа,
твердість HB 192…240,
виберемо твердість HB 200.
Поверхнева обробка не передбачається.
При твердості менше HB 350 можливе припрацювання.
Визначення допустимих напружень для розрахунку на контактну витривалість при дії довгочасного навантаження.
,
,
.
З
таблиці 8.9 [2] при
нормалізації,
поліпшенні
при HB 180…350 маємо
,
а
.
,
.
При нескінченому терміні експлуатації KHL=1.
Так
як передача
прямозуба, то
маємо
.
Визначимо допустиме напруження для розрахунку на витривалість при згині при дії довгочасного навантаження.
,
,
.
З
таблиці 8.9 [2] при
нормалізації,
поліпшенні
при HB 180…350 маємо
,
а
.
,
.
При нескінченому терміні експлуатації KFL=1.
Так як передача реверсивна, то маємо KFC=0,7…0,8, приймемо KFC=0,7.
Визначаємо допустимі напруження для статичної перевірки міцності при дії короткочасного перевантаження.
З
таблиці 8.9 [2] при
нормалізації,
поліпшенні
при HB 180…350 маємо
,
а
.
,
,
,
.
ПРОЕКТНИЙ РОЗРАХУНОК
- Проектний розрахунок на контактну витривалість при дії довгочасного навантаження

,
,
.
Для
сталевої прямозубої
передачі Ka=495
МПа. З таблиці
8.4 [2] при HB<350 та при
симетричному
розміщенні
коліс на валу
маємо ba=0,3…0,5,
виберемо ba=0,3.
По рисунку 8.15
[2] крива V при
знайдемо KH=1,03.
Приймемо aw=310
мм, тоді
.
Приймаю bw=95
мм.
Застосуємо програму PRAM2, з такими вихідними даними:
Передаточне число u = 4.93.
Крутящий момент на веденому колесі T2 = 1513.
Коефіцієнт ширини передачі ba = 0,30.
Межа текучості матеріалу ведучого колеса T1 = 800.
Межа текучості матеріалу веденого колеса T2 = 450.
Коефіцієнт
перевантаження
0.
Частота обертання ведучого вала n1 = 1480.
Твердість по Бринелю матеріалa ведучого колеса HB1=241.
Твердість по Бринелю матеріалa веденого колеса HB2=200.
Вид передачі : прямозуба.
Розташування коліс на валі : симетричне.
ДН пpи pозрахунку на КВ для ведучого колеса HP1 = 502,
для веденого колеса HP2 = 427.
ДН пpи pозрахунку на ВПИ для ведучого колеса FP1 = 173,
для веденого колеса FP2 = 144.
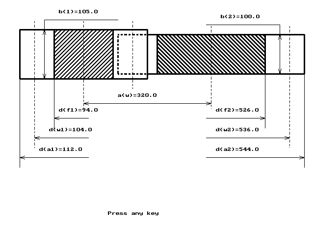
Програма видала такі дані: aw=320, bw=100 (майже вірно).
2.2 Проектний геометричний розрахунок.
Міжосьова відстань aw=320 мм .
Ширина зачеплення bw=100 мм .
Модуль зачеплення нормальний mn=4,00 мм .
Числа зубів : z1=26 ,
z2=134 .
Кут нахилу зубів = 0 град. 0 хв. 0 сек.
Початкові діаметри коліс : dw1=104,0 мм ,
dw2=536,0 мм .
Ділильні діаметри коліс : d1=104,0 мм ,
d2=536,0 мм .
Діаметри виступів коліс : da1=112,0 мм ,
da2=544,0 мм .
Діаметри западин коліс : df1=94,0 мм ,
df2=526,0 мм .

Рисунок 2
Перевіримо
частоту обертання
вихідного валу
,
,
.
Одержали частота обертання вихідного вала у межах допустимого.
Додаткові відомості.
Колова швидкість = 8,059 м/с ,
Коефіцієнти перекриття :
торцевого = 1,75 ,
осьового = 0,00 ,
Ступінь точності 7 .
3. ПЕРЕВІРОЧНИЙ РОЗРАХУНОК
3.1. Перевірка контактної витривалості при дії довгочасного навантаження
Розрахункове напруження H=399 МПа ,
допустиме напруження HP=427 МПа .
H=399 < HP=427 контактна витривалість забезпечується.
Перевіримо
величину
недовантаження
.
Недовантаження у межах рекомендованого з точки зору економічності.
3.2. Перевірка витривалості при згині при дії довгочасного навантаження
Розрахункове напруження на перехідній поверхні :
F1=112 МПа,
F2=104 МПа,
допустиме значення напруження згину
FP1=173 МПа,
FP2=144 МПа.
F1=112 МПа < FP1=173 МПа,
F2=104 МПа < FP2=144 МПа,
витривалість при згині забезпечується.
3.3. Перевірка статистичної міцності при короткочасних перевантаженнях
Діюче контактне напруження при перевантаженні
=592
МПа ,
допустиме контактне напруження при перевантаженні
=1260
МПа ,
діючі напруження при згині при перевантаженні
=247
МПа ,
=228
МПа ,
допустиме напруження при згині при перевантаженні
=640
МПа ,
=360
МПа .
,
,
.
Витривалість при перевантаженні забезпечується.
СПИСОК ПОСИЛАНЬ
1 Расчёты деталей машин: Справ. пособие / А. В. Кузьмин, И. М. Чернин, Б. С. Козинцов. – Мн.: Выш. шк., 1986. – 400 с.
2 Иванов М. Н. Детали машин: Учеб. для машиностр. спец. вузов. – М.: Высш. шк., 1984. – 336 с.
ЗМІСТ
Технічне завдання 1
1 Підготовча робота 2
1.1 Вхідні дані 2
1.2 Вибір матеріалу і визначення допустимих напружень 3
2 Проектний розрахунок 5
2.1 Проектний розрахунок на контактну витривалість при дії довгочасного навантаження 5
2.2 Проектний геометричний розрахунок 6
3 Перевірочний розрахунок 9
3.1 Перевірка контактної витривалості при дії довгочасного навантаження 9
3.2 Перевірка витривалості при згині при дії довгочасного навантаження 9
3.3 Перевірка статичної міцності при дії короткочасного перевантаження 9