| Скачать .docx |
Реферат: Построение и исследование динамической модели портального манипулятора
Аннотация
Данная работа посвящена построению и исследованию динамической модели портального манипулятора, описывающей переходные процессы в манипуляторе с шаговым приводом в момент его позиционирования. При построении были использованы экспериментально полученные параметры, благодаря чему удалось получить достаточно простую и адекватную модель.
При составлении подобных моделей у разработчика возникает стремление как можно более полно отразить свойства и характеристики объекта, что приводит к чрезмерному росту сложности модели, в результате чего снижается ее практическая полезность. Поэтому в данной работе особое внимание уделено разумному упрощению модели, а также возможности ее практического использования.
В ходе исследования полученной модели решена задача выбора оптимальной скорости перемещения рабочего органа, определена степень влияния точности позиционирования на быстродействие манипулятора.
Полученные результаты исследований могут быть использованы при проектировании новых и эксплуатации имеющихся моделей манипуляторов для определения рациональных значений динамических параметров.
Дипломная работа содержит:
пояснительная записка: 91 лист, 18 рисунков, 12 таблиц, 8 чертежей формата A1, 11 источников.
The Summary
The given work is devoted to development and research of dynamic model of the portal manipulator describing transient processes in the manipulator with a step-by-step drive at the moment of its positioning. At development, the experimentally obtained parameters were use, due to what it was possible to obtain simple enough and adequate model.
At development of similar models the developer has aspiration as it is possible more full to reflect properties and characteristics of object, that results in excessive growth of complexity of model, as a result of it its practical utility is reduced. Therefore, in the given work the special attention is give to reasonable simplification of model, and opportunity of its practical use.
During research of the received model the task of a choice of optimum speed of moving of a working body is solve, the degree of influence of accuracy of positioning on speed of the manipulator is determined.
The obtained results of researches can be use at designing new and operation of available models of manipulators for definition of rational meanings of dynamic parameters.
The degree work contains:
Explanatory note: 91 sheets, 18 figures, 12 tables, 8 drawings of a format A1, 11 sources.
Содержание
| Введение . . . . . . . . . . . . . . . . . . . . . . . . . . . . . . . . . . . . . . . . . . . . . . . . . . . . . . | 12 |
| 1.Моделирование динамики манипулятора . . . . . . . . . . . . . . . . . . . . . . . | 13 |
| 1.1 Методы построения динамической модели манипулятора . . . . . . . . | 13 |
| 1.2 Уравнения динамики манипулятора . . . . . . . . . . . . . . . . . . . . . . . . . . . | 15 |
| 2.Построение динамической модели переходных процессов манипулятора МРЛ-901П . . . . . . . . . . . . . . . . . . . . . . . . . . . . . . . . . . . . . | 19 |
| 2.1 Модель переходных процессов в манипуляторе МРЛ-901П . . . . . . . | 19 |
| 2.2 Анализ переходных процессов в манипуляторе МРЛ-901П . . . . . . . | 29 |
| 2.3 Определение жесткости звеньев манипулятора МРЛ-901П . . . . . . . . | 34 |
| 2.4 Исследование быстроходности манипулятора . . . . . . . . . . . . . . . . . . | 37 |
| 2.5 Методика проведения эксперимента по определению механических характеристик манипулятора МРЛ-901П . . . . . . . . . . | 41 |
| 2.6 Сравнение результатов расчета модели с экспериментальными данными . . . . . . . . . . . . . . . . . . . . . . . . . . . . . . . . . . . . . . . . . . . . . . . . . . | 44 |
| 3.Оптимизация скорости перемещения рабочего органа манипулятора . . . . . . . . . . . . . . . . . . . . . . . . . . . . . . . . . . . . . . . . . . . . . . . | 45 |
| 3.1 Время перемещения рабочего органа манипулятора . . . . . . . . . . . . . | 45 |
| 3.2 Время перемещения рабочего органа манипулятора при малых расстояниях между рабочими точками . . . . . . . . . . . . . . . . . . . . . . . . | 49 |
| 3.3 Получение оптимальной скорости в момент выхода на конечную точку . . . . . . . . . . . . . . . . . . . . . . . . . . . . . . . . . . . . . . . . . . . . . . . . . . . | 52 |
| 4. Программные средства для исследования динамической модели портального манипулятора . . . . . . . . . . . . . . . . . . . . . . . . . . . . . . . . . . . | 54 |
| 4.1Программа для вычисления параметров переходного процесса портального манипулятора . . . . . . . . . . . . . . . . . . . . . . . . . . . . . . . . . . | 54 |
| 4.2 Программа для вычисления времени переходного процесса и оптимальной скорости . . . . . . . . . . . . . . . . . . . . . . . . . . . . . . . . . . . . . . | 56 |
| 5. Экономика и организация производства . . . . . . . . . . . . . . . . . . . . . . . . | 57 |
| 5.1 Организация и планирование НИР и ОКР . . . . . . . . . . . . . . . . . . . . . . | 57 |
| 5.1.1 Классификация и этапы НИР . . . . . . . . . . . . . . . . . . . . . . . . . . . . | 57 |
| 5.1.2 Особенности управления созданием НТП в условиях рынка . . | 59 |
| 5.1.3 Характеристика инновационного процесса в современных условиях . . . . . . . . . . . . . . . . . . . . . . . . . . . . . . . . . . . . . . . . . . . . . | 61 |
| 5.1.4 Формы финансирования НИР и ОКР в условиях рынка . . . . . . | 65 |
| 5.1.5 Правовая защита производителей НТП . . . . . . . . . . . . . . . . . . . . | 68 |
| 5.2 Расчет экономического эффекта от внедрения методов расчета переходных процессов в портальном манипуляторе . . . . . . . . . . . . . | 69 |
| 5.2.1 Расчет капитальных затрат . . . . . . . . . . . . . . . . . . . . . . . . . . . . . . | 70 |
| 5.2.2 Расчет эксплуатационных затрат . . . . . . . . . . . . . . . . . . . . . . . . . | 80 |
| 5.2.3 Расчет условно-годового экономического эффекта и срока окупаемости . . . . . . . . . . . . . . . . . . . . . . . . . . . . . . . . . . . . . . . . . | 84 |
| Заключение . . . . . . . . . . . . . . . . . . . . . . . . . . . . . . . . . . . . . . . . . . . . . . . . . . . | 86 |
| Литература . . . . . . . . . . . . . . . . . . . . . . . . . . . . . . . . . . . . . . . . . . . . . . . . . . . | 87 |
| Приложение . . . . . . . . . . . . . . . . . . . . . . . . . . . . . . . . . . . . . . . . . . . . . . . . . . . | 88 |
Введение
Для решения задачи выбора оптимальной скорости перемещения звеньев манипулятора с шаговым двигателем, с целью увеличения его быстродействия, необходимо учитывать переходные процессы возникающие при позиционировании рабочих органов. Переходные процессы в виде затухающих механических колебаний возникают под действием инерционных нагрузок и приводят к увеличению времени позиционирования при выполнении переходов технологического процесса, например, при сборке, сверлении, контроле и др. Для планирования траектории необходимо знать время затухания колебаний до значения допустимой погрешности позиционирования, при котором рабочий орган манипулятора может продолжать движение. С целью определения времени такого переходного процесса создана модель манипулятора портального типа с консольной подвижной частью.
- Моделирование динамики манипулятора
- Методы построения динамической модели манипулятора
Динамическая модель манипулятора может быть построена на основе использования известных законов ньютоновской или лагранжевой механики. Результатом применения этих законов являются уравнения, связывающие действующие в сочленениях силы и моменты с кинематическими характеристиками и параметрами движения звеньев. Таким образом, уравнения динамики движения реального манипулятора могут быть получены традиционными методами Лагранжа – Эйлера или Ньютона – Эйлера. С помощью этих двух методов получен ряд различных форм уравнения движения, эквивалентных в том смысле, что они описывают динамику движения одной и той же физической системы.
Вывод уравнений динамики движения манипулятора методом Лагранжа – Эйлера отличается простотой и единством подхода. В рамках предположения о том, что звенья представляют собой твердые тела, этот подход приводит в общем случае к системе нелинейных дифференциальных уравнений второго порядка. Уравнения Лагранжа – Эйлера обеспечивают строгое описание динамики состояния манипулятора и могут быть использованы для разработки усовершенствованных законов управления в пространстве присоединенных переменных. В меньшей степени они используются для решения прямой и обратной задач динамики. Прямая задача состоит в том, чтобы по заданным силам и моментам определить обобщенные ускорения, интегрирование которых позволяет получить значения обобщенных координат и скоростей. Обратная задача динамики заключается в том, чтобы по заданным обобщенным координатам, скоростям и ускорениям определить действующие в сочленениях манипулятора силы и моменты.
С целью получения более эффективных с вычислительной точки зрения алгоритмов можно использовать уравнения Ньютона – Эйлера. Вывод уравнений движения манипулятора методом Ньютона – Эйлера прост по содержанию, но весьма трудоемок. Результатом является система прямых и обратных рекуррентных уравнений, последовательно применяемых к звеньям манипулятора. С помощью прямых уравнений последовательно от основания к схвату вычисляются кинематические характеристики движения звеньев, такие, как линейные и угловые скорости и ускорения, линейные ускорения центров масс звеньев. Обратные уравнения позволяют последовательно от схвата к основанию вычислить силы и моменты, действующие на каждое из звеньев. Наиболее важный результат такого подхода состоит в том, что время, необходимое для вычисления обобщенных сил и моментов прямо и пропорционально числу сочленений, но не зависит от реализующейся в процессе движения конфигурации манипулятора. Это позволяет реализовывать простые законы управления манипулятором в реальном времени.
Низкая вычислительная эффективность уравнений Лагранжа – Эйлера обусловлена в основном тем, что для описания кинематической цепи используются матрицы преобразования однородных координат. Уравнения Ньютона – Эйлера обладают большей вычислительной эффективностью, что связано с их рекуррентной природой. Однако такие рекуррентные уравнения не обладают “аналитичностью”, столь полезной при синтезе управления в пространстве состояний. Для синтеза законов управления желательно иметь в распоряжении замкнутую систему дифференциальных уравнений, точно описывающих динамику движения манипулятора.
В связи с тем что для построения модели динамики переходных процессов и дальнейшего анализа полученных уравнений необходима аналитическая форма, решено использовать для получения уравнений динамики метод Лагранжа – Эйлера.
- Уравнения динамики манипулятора
Уравнения Лагранжа второго рода для голономной системы с n
степенями свободы, которым отвечают обобщенные координаты
(j =
1,2,…,n
), имеют вид
(j =
1,2,…,n
), |
(1.1) |
где
– функция Лагранжа, разности кинетической Т
и потенциальной П
энергий системы;
– обобщенные силы управляющих приводов, приведенные к j
-ой обобщенной координате: они имеют размерность моментов, если
– угол поворота, или сил, если
– линейное перемещение.
С учетом того, что
и
, перепишем уравнение (1.1) в виде
, |
(1.2) |
где
,
.
В последних равенствах через
обозначены внешние обобщенные силы, вызванные весом звеньев и груза, удерживаемого в захватном устройстве. При наличии внешнего воздействия – силы
, приложенной к захватному устройству, в правую часть равенства для
надо добавить член
, характеризующий это воздействие:
| (1.3) |
Используем выражение (1.2) для вывода уравнений динамики манипулятора. Рассматривая исполнительный механизм манипулятора как систему из n твердых тел, запишем его кинетическую энергию T в виде суммы кинетических энергий звеньев:
. |
(1.4) |
В свою очередь величину
определим по формуле [3]
| (1.5) |
где
– масса звена i
;
– скорость некоторой точки звена
, принятой за полюс;
– вектор радиус центра инерции звена в системе осей с ним связанных, начало которой совпадает с полюсом
;
– тензор инерции звена в точке
;
– вектор угловой скорости звена в принятой системе координат.
Выражение (1.5) принимает наиболее простой вид, если за полюс звена принять его центр инерции; величина
будет равна нулю и выражение (1.5) упростится:
| (1.6) |
Кроме того, в большинстве случаев звенья манипулятора представляют собой твердые тела, обладающие симметрией относительно трех ортогональных осей, проведенных через центр инерции. Напомнив правило разметки осей систем координат, связанных со звеньями, в соответствии с которым одна из осей системы
совпадает с осью звена (вектором
), а две другие образуют с ней правую триаду, получим при помещении точки
в центр инерции
(см. рис. 1.1) оси полученной системы
становятся главными осями инерции и тензор вектора в точке
имеет вид диагональной матрицы
, |
(1.7) |
моменты инерции относительно осей в которой определяются выражениями
, |
(1.8) |
и для звеньев заданной конфигурации являются известными константами. При отсутствии осевых симметрий тензор инерции звена в точке
характеризуется матрицей
, |
(1.9) |
центробежные моменты в которой определяются выражениями
![]() |
(1.10) |
и также являются известными константами.
Определим вектор скорости центра инерции звена i через проекции на оси связанной с ним системы координат как
| (1.11) |
или через проекции на оси неподвижной системы осей в виде
| (1.12) |
По аналогии с
введем вектор угловой скорости звена
| (1.13) |
и запишем равенство (1.6) в развернутой форме для случая, когда звенья манипулятора обладают симметрией относительно главных осей инерции. Для этого подставим выражения
,
,
из (1.7), (1.11), (1.13) в (1.6) и получим
| (1.14) |
При использовании вектора скорости центра инерции в форме (1.14) выражение
| (1.15) |
с учетом которого равенство (1.4) принимает вид
. |
(1.16) |
- Построение динамической модели переходных процессов манипулятора МРЛ-901П
2.1 Модель переходных процессов в манипуляторе МРЛ-901П
М
одель портального манипулятора МРЛ-901П представлена на рис. 2.1. Деформирующимися элементами в манипуляторе являются: зубчатый ремень, обозначенный пружиной; консольная часть, на которой имеется сосредоточенная масса m
. Деформация поперечной консоли обозначена на схеме углом
. Исходными данными для расчета такой модели будут: значение подвижной массы m
, плечо приложения этой массы l
, а также коэффициент натяжения зубчатого ремня, определяемый как отношение прогиба ремня к его длине и влияющий на жесткость, и демпфирование модуля линейного перемещения.
При остановке электроприводов подвижные массы будут продолжать движение под действием инерционных сил, в результате чего точки А и Б займут положение
и
соответственно, затем остановятся и под действием сил упругой деформации пружины и балки начнут совершать колебательное движения.
Рассматриваемая модель имеет три степени свободы, обозначим независимые обобщенные координаты как
,
и
. Для описания данной модели воспользуемся уравнением Лагранжа второго рода:
(j =
1,2,…,k
), |
(2.1) |
где T - кинетическая энергия системы; Q - обобщенная сила; k - количество степеней свободы.
Кинетическая энергия системы с тремя степенями свободы является однородной квадратичной формой обобщенных скоростей [5]:
| (2.2) |
Коэффициенты
являются функциями координат
,
и
.
Предположим, что обобщенные координаты отсчитываются от положения равновесия, где
.
Располагая коэффициенты
по степеням и пологая для упрощения записи
, получим:
| (2.3) |
Потенциальная энергия
системы:
| (2.4) |
При этом учитываем, что в положении равновесия
обобщенные силы также обращаются в нуль.
В (2.4) для упрощения приняты следующие обозначения:
,
,
,
,
,
.
Для составления дифференциальных уравнений свободных колебаний в форме уравнений Лагранжа второго рода, выразим потенциальную энергию через обобщенные координаты. Рассмотрим равновесие системы, на которую действуют силы ![]()
…,
. Потенциальная энергия в состоянии устойчивого равновесия имеет минимум, равный нулю, а при вызванном действием сил
отклонении от него выражается квадратичной формой вида (2.4).
Элементарная работа всех сил действующих на систему, по принципу возможных перемещений должна быть равна нулю:
. |
(2.5) |
Замечая, что
![]() |
а также приравнивая к нулю коэффициенты при независимых вариациях
,
и
, получаем три уравнения:
, |
(2.6) |
Здесь
,
и
- обобщенные силы для системы сил ![]()
…,
, уравновешивающих потенциальные силы, возникающие при отклонении системы из положения равновесия
. Заменяя в (2.6) производные потенциальной энергии их выражениями согласно (2.4), получим систему уравнений, определяющих значение координат
,
и
в положении равновесия:
, |
(2.7) |
причем
,
и
.
Решение системы (2.7) имеет вид:
, |
(2.8) |
где
![]() |
(2.9) |
.
На систему действуют обобщенные силы, которыми являются инерционные силы и силы сопротивления движению. Обычно в сложных системах в целях упрощения [4, 5] силу сопротивления принимают пропорциональной первой степени скорости движения. С целью упрощения условимся, что угол
мал и координаты массы m
можно записать как
. Поэтому на основании кинетостатики можем записать:
| (2.10) |
где
- обобщенная сила,
- коэффициент сопротивления пропорциональный первой степени скорости движения массы m
. Так как масса собственно консоли манипулятора МРЛ-901П меньше массы закрепленных на ней рабочих головок, захватов и деталей, для упрощения примем условие, что точка исследования колебаний (практически - рабочий орган манипулятора) совпадает с точкой приложения сосредоточенной массы m
.
Сила
действует на все звенья манипулятора следовательно:
| (2.11) |
Коэффициенты
в (2.7) будем определять из того, что согласно (2.11) звенья можно рассматривать независимо друг от друга. Положим сначала, что
действует только по координате
, затем только по координате
и наконец только по координате
, тогда в выражение (2.7) можно переписать:
, |
(2.12) |
таким образом
, используя (2.9) находим:
![]() |
(2.13) |
Коэффициенты
,
и
определяют податливость звеньев манипулятора по координатам
,
и
соответственно. Выражая податливость звеньев через их жесткость, запишем:
, |
(2.14) |
где
,
и
жесткости звеньев по координатам
,
и
соответственно.
Подставляя (2.14) , (2.11) и (2.10) в (2.8) получим:
![]() |
(2.15) |
Для решения этой системы нужно выразить скорость и ускорение массы m через их составляющие:
. |
(2.16) |
Поскольку в манипуляторе суммарную жесткость удобно экспериментально определять, прикладывая соответствующее усилие к его рабочему органу, и так как в конечном итоге необходимо определить положение массы m
, координаты которой выражаются как
, то для этого достаточно сложить уравнения в выражении (2.15):
![]() |
(2.17) |
или:
, |
(2.18) |
где С - суммарная жесткость звеньев манипулятора.
Анализ показывает, что величина C является переменной и зависит от плеча приложения l сосредоточенной массы m .
Преобразуя (2.18), получаем уравнение описывающие переходный процесс в системе:
. |
(2.19) |
Уравнение (2.19) легко решается классическим способом при следующих начальных условиях:
| (2.20) |
где
- скорость рабочего органа манипулятора в момент выхода на конечную точку.
Выражение (2.19) представляет собой линейное дифференциальное уравнение второго порядка. Будем искать частное решение уравнения в виде:
| (2.21) |
где
и
- произвольные постоянные, которые могут быть определены из начальных условий: при t
= 0;
и
- корни характеристического уравнения:
. |
(2.22) |
Решение уравнения (2.22) будет иметь вид:
![]() |
(2.23) |
Определим произвольные постоянные
и
, решая систему уравнений:
. |
(2.24) |
Решение системы (2.24) будет иметь вид:
, |
(2.25) |
если учесть (2.20) то:
![]() |
(2.26) |
подставляя (2.26) в (2.21) и с учетом (2.23) имеем:
![]() |
(2.27) |
где
- реальная часть;
- мнимая часть.
Тогда разделяя реальную и мнимую части в (2.27) получим:
. |
(2.28) |
Учитывая что:
| (2.29) |
имеем:
![]() |
(2.30) |
Преобразуя (2.30) получим решение уравнения (2.19):
![]() |
(2.31) |
Прологарифмируем выражение (2.31) предварительно подставив в него значение допустимой погрешности позиционирования:
, |
(2.32) |
где
- допустимая погрешность позиционирования.
Преобразуя (2.32) получим выражение для определения времени переходного процесса:
![]() |
(2.33) |
Для расчета жесткости C
и коэффициента демпфирования
в модели используются экспериментально полученные зависимости. В частности коэффициент демпфирования определяется по осциллограмме затухания колебаний рабочего органа.
Таким образом, время переходного процесса, для данного типа манипулятора при заданной массе положении рабочего органа определяется по выражению (2.33), в котором коэффициенты жесткости и демпфирования предварительно определены экспериментально.
2.2 Анализ переходных процессов в манипуляторе МРЛ-901П
Источниками возникновения переходных процессов в манипуляторе МРЛ-901П являются: зубчатая ременная передача линейного модуля манипулятора и его свободная консоль.
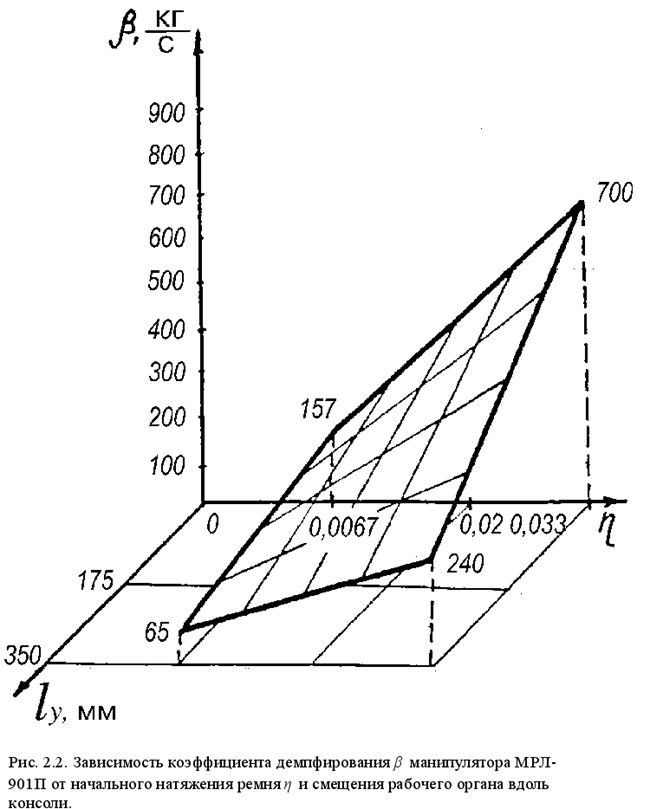
На этапе зондирующих экспериментов исследовались парные зависимости коэффициента демпфирования от натяжения зубчатого ремня и смещения рабочего органа вдоль консоли. Результаты анализа полученных осциллограмм сведены в таблицы 2.1 и 2.2.
Анализ результатов показывает, что натяжение зубчатого ремня существенным образом влияет на коэффициенты демпфирования модуля линейного перемещения: так при увеличении начального натяжения ремня от минимального значения h = 0,03778 до максимального h = 0,00667 (в исследуемых приделах) коэффициент демпфирования уменьшается в 3 раза. Таким образом, можно сделать вывод о том, что демпфирование линейного модуля с зубчатой ременной передачей может задаваться и варьироваться в широких пределах, как на этапе конструирования, так и в процессе его эксплуатации.
| Табл. 2.1 | |||||
| Результаты анализа осциллограмм собственных колебаний рабочего органа манипулятора МРЛ-901П на консоли | |||||
| Величина смещения рабочего органа вдоль консоли ly , мм | Период колебаний рабочего органа T, с. | Частота колебаний w , с-1 | Логарифмический декремент затухания n | Коэффициент демпфирования b , кг/c | Время затухания колебаний tп.п., с. |
| 0 | 0,057 | 17,54 | 0,956 | 369 | 0,6 |
| 175 | 0,067 | 15 | 0,693 | 227,55 | 0,9 |
| 350 | 0,08 | 12,5 | 0,446 | 122,65 | 1,2 |
Анализ результатов исследований показывает, что смещение рабочего органа манипулятора МРЛ-901П вдоль свободной консоли, также как и
| Табл. 2.2 | ||||||||||
| Результаты исследований демпфирующих свойств модуля линейного перемещения с ременной передачей | ||||||||||
Номер опыта |
Номер параллельного опыта | Случайный порядок проведения | Степень начального натяжения | Период колебаний Т, с. |
Логарифмический декремент затухания n | Коэффициент демпфирования b , кг/c | Среднее время затухания | |||
| опытов | ремня h | парал-лельные опыты | среднее | парал-лельные опыты | среднее | парал-лельные опыты | среднее | колебаний tп.п. , с | ||
| 1 | 3 | 0,1 | 1,15 | 460,15 | ||||||
| 2 | 1 | 0,102 | 1,23 | 482,35 | ||||||
| 1 | 3 | 12 | 0,03778 | 0,113 | 0,105 | 1,383 | 1,253 | 489,72 | 477,33 | 0,4 |
| 4 | 7 | 0,108 | 1,258 | 465,91 | ||||||
| 5 | 11 | 0,102 | 1,244 | 488,52 | ||||||
| 1 | 4 | 0,125 | 0,85 | 272,12 | ||||||
| 2 | 15 | 0,128 | 0,815 | 254,68 | ||||||
| 2 | 3 | 10 | 0,02 | 0,117 | 0,12 | 0,756 | 0,8 | 258,3 | 266,67 | 0,45 |
| 4 | 9 | 0,115 | 0,79 | 275,08 | ||||||
| 5 | 14 | 0,115 | 0,789 | 273,17 | ||||||
| 1 | 6 | 0,12 | 0,486 | 162,11 | ||||||
| 2 | 5 | 0,12 | 0,493 | 164,25 | ||||||
| 3 | 3 | 3 | 0,0067 | 0,132 | 0,128 | 0,496 | 0,504 | 150,32 | 157,47 | 0,6 |
| 4 | 8 | 0,14 | 0,544 | 155,43 | ||||||
| 5 | 2 | 0,128 | 0,5 | 155,24 | ||||||
увеличение начального натяжения ремня, вызывает уменьшение коэффициентов демпфирования, что существенно (в 2…3 раза) увеличивает время полного затухания собственных колебаний рабочего органа (см. табл. 2.1 и 2.2), и, как следствие снижает реальную производительность.
Смещение рабочего органа относительно основания и увеличение натяжения ремня приводит также к уменьшению частоты собственных колебаний манипулятора, что должно учитываться при использовании его в технологических процессах, связанных с резонансными явлениями.
Комплексные исследования демпфирующих свойств манипулятора осуществлялись с целью установления численной зависимости коэффициента демпфирования от величины начального натяжения ремня и смещения рабочего органа вдоль консоли. В качестве функции отклика выбиралась линейная модель. База данных для построения плана экспериментов сведена в табл. 2.
Основные уровни и интервалы варьирования выбирались на основе результатов зондирующих экспериментов, а также исследований жесткости и точносных параметров манипулятора МРЛ-901П.
| Табл. 2.3 | ||||
| База данных для построения плана экспериментов | ||||
Наименование фактора |
Условное обозначение | Область определения | Основной уровень | Интервал варьирования |
| Начальное натяжение ремняh | X1 |
0...0,04 |
0,02 |
0,013 |
| Величина смещения рабочего органа манипулятора вдоль консоли ly , мм | X2 |
0...350 |
175 |
175 |
Матрица планирования и результаты экспериментов сведены в табл. 2.4.
Проводилась полная статистическая обработка результатов экспериментов, позволившая получить адекватную модель зависимости коэффициентов демпфирования от исследуемых факторов в виде:
| (2.34) |

Поверхность отклика представлена на рис. 2.2. Выражение (2.34) позволяет получить численное значение коэффициента демпфирования, необходимое для расчета продолжительности переходного процесса при позиционировании.
| Табл. 2.4 | ||||||||
| Матрица планирования и результатов экспериментов по комплексному исследованию демпфирующих свойств манипулятора МРЛ-901П | ||||||||
Номер опыта |
|
|
|
|
Среднее значение коэффициента демпфирования, кг/c | Дисперсия среднего арифметического | Вычисленное значение | |
| 1 | +1 | +1 | +1 | +1 | 240 | 64 | 240 | |
| 2 | +1 | +1 | -1 | -1 | 700 | 49 | 700 | |
| 3 | +1 | -1 | +1 | -1 | 65 | 4 | 65 | |
| 4 | +1 | -1 | -1 | +1 | 157 | 16 | 157 | |
Экспериментальные исследования времени переходного процесса осуществлялись при помощи комплекта виброизмерительной аппаратуры АВ-44, вибродатчик которой крепился на рабочем органе манипулятора.
2.3 Определение жесткости звеньев манипулятора МРЛ-901П
Жесткость звеньев манипулятора МРЛ-901П определялась по экспериментальным замерам деформации консоли манипулятора при действии на нее определенного усилия.
| Таблица 2.5 | ||||
| Деформация звеньев манипулятора МРЛ-901П под действием возмущающих сил | ||||
Возму- щающая сила |
Деформация звеньев манипуляционной системы d , мм | |||
| Ось X | Ось Y | |||
| Y=0 | ![]() |
|||
| 0 | 0 | 0 | 0 | 0 |
| 10 | 0,111 | 0,135 | 0,178 | 0,111 |
| 20 | 0,206 | 0,234 | 0,390 | 0,206 |
| 30 | 0,265 | 0,334 | 0,560 | 0,265 |
| 40 | 0,302 | 0,418 | 0,750 | 0,302 |
| 50 | 0,345 | 0,507 | 0,930 | 0,348 |
| 60 | 0,390 | 0,580 | 1,090 | 0,393 |
| 70 | 0,418 | 0,658 | 0,421 | |
| 80 | 0,460 | 0,745 | 0,465 | |
| 90 | 0,498 | 0,825 | 0,505 | |
| 100 | 0,534 | 0,902 | 0,540 | |
Результаты исследования жесткости приведены в таблице 2.5. По этим данным были построены график зависимости деформации от смещения рабочего органа (рис. 2.3) и график зависимости деформации от натяжения зубчатого ремня (рис.2.4).


2.4 Исследование быстроходности манипулятора
Быстроходность манипулятора характеризуется временем перемещения рабочего органа в требуемую точку. Теоретические предпосылкиуказывают, что непосредственное влияние на величину этого времени оказывают совместные механические характеристики (СМХ) электроприводов манипулятора.
Иcследование СМХ осуществлялось путем анализа тахограмм движения манипулятора МРЛ-901П, зарегистрированных самописцемН338Д/1.Статистически обработанные результаты экспериментов сведены в таблицу 2.6 и представлены в графическом виде на рис. 2.5.
Анализ экспирементальных данных показывает, что связь силы тяги, а, следовательно, и допустимого ускорения
со значением достигнутой скорости
существенно нелинейна. Для определения квазиоптимальных режимов движения манипулятора необходимо связать параметры a
и V
аналитическим выражением.
Представим каждое значение
СМХ в виде разности
, где
- статическая тяговая синхронизирующая сила, а
- потери тяговой силы, зависящие от скорости движения манипулятора.
Такая запись СМХ имеет то очевидное приемущество, что для каждого конкретного образца манипулятора указанной модели могут быть введены уточнения формулы путем измерения одного лишь значения
.
Следовательно, определение эмпирической формулы CМХ сводится к отысканию зависимости
. Воспользовавшись способом отыскания эмпирических формул, приведенным в [7], легко установить, что экспериментальные точки
наиболее точно отображают линейную зависиюсть на полулогарифмической функцональной координатной сетке. Из этого следует, что выражение
может быть описано логарифмической функцией. Из
Результаты исследований совместной механической характеристики манипулятора МРЛ-901П.
| Таблица 2.6 | ||||
Масса |
Число |
Численное значение синхронной скорости, м/c |
||
| груза |
паралельных опытов | среднее арифметическое |
среднее квадратическое откланение | принимаемое значение |
| 2 | 10 | 0,80 | 0,013 | 0,8±0,04 |
| 3 | 10 | 0,74 | 0,017 | 0,74±0,05 |
| 4 | 10 | 0,67 | 0,016 | 0,67±0,05 |
| 5 | 10 | 0,59 | 0,007 | 0,59±0,02 |
| 6 | 10 | 0,49 | 0,013 | 0,49±0,04 |
| 7 | 10 | 0,38 | 0,012 | 0,38±0,04 |
| 8 | 10 | 0,29 | 0,010 | 0,29±0,03 |
| 9 | 10 | 0,24 | 0,013 | 0,24±0,04 |
| 10 | 10 | 0,20 | 0,011 | 0,20±0,03 |
| 11 | 10 | 0,16 | 0,013 | 0,16±0,04 |
| 12 | 10 | 0,12 | 0,006 | 0,12±0,02 |
| 13 | 10 | 0,05 | 0,003 | 0,05±0,01 |
линейной зависимости, представленной на рис. 2.6 легко отыскать коэффициенты ее уравнения, вид которого
. В итоге имеем:
| (2.35) |
где: V
измеряется в
.
Следует, однако, заметить, что при нарастании значения экспериментальные точки
несколько удаляются от прямой, описанной уравнением (2.35). Поэтому, с целью уточнения зависимости была внесена поправка, с учетом которой эмпирическая формула СМХ примет вид:
| (2.36) |
где: V
-
измеряется в
; а
- в [Н], или
, |
(2.37) |
где:
,
- допустимые мгновенные значения ускорения и скорости соответственно (при этом лежит в интервале от 0,1
до 0,8
).


2.5 Методика проведения эксперимента по определению механических характеристик манипулятора МРЛ-901П
Для исследования СМХ манипулятора портального типа МРЛ-901П наиболее удобной является следующая методика измерений.
Н
а свободный конец вала электродвигателя ШД 5Д1МУ3 крепился тахогенератор, электрический выход которого связан с измерительной схемой (рис. 2.7) вольтметра. Схема тарировалась путем задания устройством управления 2Р22 постоянных значений скорости движения рабочего органа манипулятора. При этом электродвигатель был полностью разгружен от момента нагрузки.
После тарировки к рабочему органу манипулятора прикреплялась перекинутая через ролик гибкая стальная нить, на свободный конец которой подвешивался переменный груз
. По команде системы управления электродвигатель начинал равноускоренно вращаться, перемещая при этом рабочий орган манипулятора и преодолевая противодействие груза
. Дойдя до определенного значения скорости
двигатель выходил из синхронизма, что отмечалось на фиксируемой самописцем тахограмме резким падением уровня сигнала.
Изменение массы
груза приводило к выходу электродвигателя из синхронизма уже при другом значении достигнутой скорости
. Таким образом, были найдены соотношения веса противодействующего груза и критической синхронной скорости ШД во всем диапазоне его работы.
Для уменьшения влияния инерционности системы задавалось
, что позволило с точностью 5 - 7% полагать, что вся сила
в момент выхода ШД из синхронизма расходуется на удержание груза
, т. е.
.
СМХ манипулятора определялась последовательно, для каждой программируемой координаты.
Для исследования других динамических характеристик, определяющих производительность манипулятора, необходимо вернуться к рассмотренному выше переходному процессу при позиционировании манипулятора.
В уравнение движения манипулятора (см. раздел 2.1) в качестве постоянных величин входят коэффициенты, пропорциональные скорости перемещения рабочего органа - коэффициенты демпфирования.
Коэффициент демпфирования b может быть определен по осциллограмме затухания колебаний рабочего органа манипулятора с использованием расчетной формулы:
| (2.38) |
где m - масса подвижной части манипулятора;
u- логарифмический декремент затухания колебательного движения;
Т - период колебаний.
2.6Сравнение результатов расчета модели с экспериментальными данными
Результаты исследования жесткости и демпфирующих свойств манипулятора использовались для расчета времени переходного процесса при позиционировании. Расчет производился из аналитических выражений, полученных в разделе 2.1 настоящей работы; его результаты сравнивались с экспериментальными данными (рис. 2.8).
И
з графика видно, что расчетная кривая лежит в области экспериментально измеренных значений, это свидетельствует о достаточной точности модели, что позволяет использовать ее на практике.
3. Оптимизация скорости перемещения рабочего органа манипулятора
3.1 Время перемещения рабочего органа манипулятора

Траектория движения рабочего органа манипулятора состоит из участков разгона и торможения, а также участка, где перемещение происходит с постоянной скоростью. Очевидно, что минимальное время перемещения будет достигнуто при максимально возможных значениях скорости и ускорения, определяемых из совместной механической характеристики манипулятора (см. раздел 2.4). Заметим также, что время перемещения зависит от скорости в момент выхода на конечную точку
(см. рис. 3.1). При увеличении этой скорости, протяженность участка
уменьшается, а протяженность участка
увеличивается, тем самым возрастает средняя скорость движения рабочего органа, но при этом увеличивается время переходного процесса в момент останова. Таким образом для достижения минимального времени перемещения с учетом переходного процесса необходимо определить оптимальное значение скорости выхода на конечную точку
.
Время перемещения зависит от максимальных значений скорости и ускорения рабочего органа, а также от скорости в момент выхода на конечную точку рабочего органа манипулятора и складывается из следующих значений:
| (3.1) |
где
– время перемещения рабочего органа; ![]()
![]()
– время перемещения рабочего органа на первом, втором и третьем участке траектории соответственно (см. рис 3.1);
– время переходного процесса.
Время перемещения на первом участке траектории определяется из значений максимальной скорости и ускорения:
, |
(3.2) |
где
– максимальная скорость перемещения рабочего органа манипулятора;
– максимальное ускорение рабочего органа манипулятора.
На втором участке траектории рабочий орган перемещается равномерно с максимальной скоростью, при этом время перемещения составит:
, |
(3.3) |
где S
– расстояние между двумя конечными точками:
;
Время перемещения на третьем участке траектории:
, |
(3.4) |
где
– скорость рабочего органа манипулятора в момент выхода на конечную точку.
Длина первого участка определяется скоростью
, которая достигается в конце этого участка, ускорением
, и выражается как:
. |
(3.6) |
Длина третьего участка определяется начальной скоростью этого участка –
, ускорением
и конечной скоростью
:
. |
(3.8) |
Для определения времени перемещения на втором участке подставим (3.6) и (3.8) в (3.3):
. |
(3.9) |
Общее время перемещения с учетом переходного процесса получим подставляя (3.2), (3.4), (3.9) и (2.33) в (3.1):
. |
(3.10) |
А
нализируя выражение (3.10) относительно скорости выхода на конечную точку
, получаем график времени перемещения рабочего органа манипулятора с учетом переходного процесса (см. рис.3.2). Из графика видно, что переходный процесс значительно влияет на время перемещения рабочего органа манипулятора.
3.2 Время перемещения рабочего органа манипулятора при малых расстояниях между рабочими точками
Ч
асто возникают случаи, когда расстояние между двумя рабочими точками мало и рабочий орган манипулятора не успевает набрать максимально возможную скорость. При этом траектория движения состоит только из двух участков – разгона и торможения (см. рис. 3.3.). Скорость рабочего органа на участке разгона достигает некоторого значения
, длина этого участка составит:
, |
(3.11) |
где
– максимальная скорость которую успевает набрать рабочий орган манипулятора;
– максимальное ускорение рабочего органа манипулятора.
На втором участке траектории необходимо производить торможение рабочего органа в связи с тем что по достижению конечной точки его скорость должна иметь значение
, при этом длина второго участка составит:
, |
(3.12) |
тогда складывая выражения (3.11) и (3.12) получим суммарное перемещение рабочего органа:
. |
(3.13) |
Зная расстояние между двумя рабочими точками, из (3.13) получим выражение для определения максимально достигнутой скорости:
. |
(3.14) |
Используя (3.14) определим время перемещения рабочего органа на первом:
, |
(3.15) |
и втором участке:
. |
(3.16) |
Суммируя выражения (3.15), (3.16) и (2.33) получим выражение для определения времени перемещения с учетом переходного процесса при условии, что рабочий орган не успевает набрать максимальную скорость:
![]() |
(3.17) |
Анализируя выражение (3.17) относительно скорости выхода на конечную точку
, получаем график времени перемещения рабочего органа манипулятора с учетом переходного процесса (см. рис.3.4) для малых перемещений рабочего органа.

3.3 Получение оптимальной скорости в момент выхода на конечную точку
Анализ выражений (3.10) и (3.17) показывает (см. рис. 3.2, 3.4), что время перемещения рабочего органа будет минимально при таком значении скорости
, когда переходный процесс в системе отсутствуют, то есть максимальная амплитуда колебаний не превышает допустимой погрешности позиционирования
. Для определения скорости
, достаточно прировнять к нулю выражение (2.33):
. |
(3.18) |
Решение (3.18) относительно
имеет вид:
. |
(3.19) |
Выражение (3.19) определяет такое значение скорости в момент выхода на конечную точку при которой амплитуда переходного процесса не превышает предельно допустимого значения, а следовательно время перемещения рабочего органа определяемое выражениями (3.10) и (3.17) минимально.
Анализ графиков зависимости времени перемещения с учетом переходного процесса от скорости выхода на конечную точку (см. рис. 3.2, 3.4.) показывает, что скорость выхода значительно влияет на время перемещения рабочего органа и отклонение скорости в большую сторону от расчетного значения ведет к значительным потерям времени за счет увеличения длительности переходного процесса.
Если проанализировать выражения (3.10) и (3.17) относительно допустимой погрешности позиционирования
, то можно сделать вывод, что при увеличении допустимой погрешности позиционирования (см. рис. 3.5, 3.6.) наблюдается уменьшение времени перемещения, что можно использовать на операциях с низким требованием к точности, хотя это уменьшение весьма не значительное.


4.Программные средства для исследования динамической модели портального манипулятора
4.1 Программа для вычисления параметров переходного процесса портального манипулятора
Для исследования полученной динамической модели, построения графиков приведенных в работе, использовалась программа “Модель портального манипулятора МРЛ-901П в момент позиционирования” (см. рис. 4.1). Программа разработана для среды WIN32 API на языке C++ с использованием компилятора Borland C++ 5.02 и может выполняться на операционных системах Windows 95/98 и Windows NT.
В
ычисление параметров переходного процесса в программе осуществляется с использованием выражения (2.31) при помощи которого вычисляется амплитуда колебаний рабочего органа манипулятора. По полученным значениям строится график переходного процесса и график зависимости времени переходного процесса от точности позиционирования.
В
вод исходных данных осуществляется при помощи диалогового окна “Исходные данные” при выборе пункта меню “Расчет/Переходный процесс” (см. рис. 4.2). В диалоговое окно (см. рис. 4.3) вводятся необходимые исходные данные. После ввода исходных данных программа вычисляет амплитуду и длительность переходного процесса и выводит результаты расчетов в виде графиков.

4.2 Программа для вычисления времени переходного процесса и оптимальной скорости
Для практического использования динамической модели при разработке технологических процессов, вычисления главных параметров – времени переходного процесса и оптимальной скорости позиционирования, используются выражения (2.33) и (3.19), которые были использованы при создании программы “Mrl” (см. рис. 4.4).
П
рограмма “Mrl” использует текстовую консоль для ввода и вывода данных. Исходные данные и результаты вычислений записываются в файл. При необходимости, для задания имени файла результатов вычислений, можно использовать параметры командной строки.
Программа написана на языке С++ с использованием стандартных функций и может быть откомпилирована для работы в операционных системах Dos, WIN32 и UNIX. Текст программы приведен в приложении к данной работе.
5. Экономика и организация производства
5.1 Организация и планирование НИР и ОКР
5.1.1 Классификация и этапы НИР
Научные исследования подразделяются на фундаментальные, поисковые и прикладные. Фундаментальные исследования могут быть как теоретическими, так и экспериментальными. Основой фундаментальных исследований является открытие новых принципов и закономерностей, которые могут быть использованы при создании новой техники, принципиально отличающейся от существующей. Поисковые исследования базируются, как правило, на фундаментальных и, используя новые принципы позволяют создавать новые направления развития техники, обеспечивающей значительное повышение производительности труда и качества выпускаемых изделий. Прикладные исследования позволяют на основе фундаментальных и поисковых работ решить конкретные научные проблемы, обеспечивающие создание новых изделий и технологических процессов.
Данная НИР классифицируется как поисковая. Исследования, проведенные в данной работе, позволяют определить степень влияния на быстродействие манипулятора такого важного фактора, как переходный процесс, возникающий под действием инерционных сил при остановке электроприводов. В результате исследований были получены выражения для расчета оптимальных параметров при которых достигается максимальное быстродействие манипулятора.
При проведении НИР в НИИ, КБ и учебных заведениях различают несколько основных этапов.
Первый этап – разработка технического задания. На этом этапе уточняются задачи исследования, разрабатываются технико-экономическое обоснование темы. При выполнении данной НИР, на первом этапе, была обоснована необходимость расчета переходных процессов. Выбран способ получения динамической модели в форме уравнений Лагранжа второго рода.
Второй этап – выбор направления исследования – осуществляется сбор и изучение литературы, проводятся патентные исследования, ориентировочно оценивается экономическая эффективность, разрабатывается общая методика проведения исследования (план-график и др.). На втором этапе при выполнении данной работы были изучены способы построения подобных моделей на основе сборников научно-технических статей. Определен способ получения входных параметров модели. На основе уравнений Лагранжа второго рода были выведены выражения для определения времени переходного процесса и оптимальных значений параметров движения рабочих органов манипулятора.
На третьем этапе проводятся теоретические и экспериментальные исследования. Теоретические исследования включают проверку научных и технических идей. Для этого изучается и анализируется документация, литературные источники, аналоги. Разрабатываются методика исследований, схемы, теоретические обоснования, расчеты, выявляется необходимость экспериментальных работ, составляется методика их проведения. В результате устанавливается степень соответствия получаемых данных расчетам и теоретическим выводам. По результатам вносятся исправления в разработанные схемы, расчеты, проекты. На третьем этапе была определена степень адекватности динамической модели экспериментальным данным. Были уточнены способы получения входных параметров. Получена динамическая модель манипулятора достаточно точно соответствующая экспериментальным исследованиям.
5.1.2 Особенности управления созданием НТП в условиях рынка
На современном этапе развития народного хозяйства цивилизованный рынок необходимо рассматривать как средство повышения эффективности общественного производства. Важнейшим компонентом рыночных отношений является научно-техническая продукция. Эта продукция, созданная на базе использования последних достижений развития науки и техники, позволяет полнее удовлетворять потребности человека, снизить общественно необходимые затраты на производство изделий, обеспечить развитие существующих и перспективных сфер рынка. Малейшая недооценка развития науки и техники в условиях рынка приводит к ослаблению позиций в конкурентной борьбе и в конечном счете к банкротству в хозяйственно-производственной деятельности.
В условиях рынка к неизменно актуальным вопросам управления научно-конструкторскими организациями относятся: выявление потребностей сегодняшнего рынка; оценка уровня технологического развития и научно-технических достижений, их влияние на состояние существующего рынка, на создание новых рынков и возникновение новых потребностей; возможное изменение требований рынка к научно-технической продукции в будущем.
Как известно, современный рынок существенно отличается от рынка свободной конкуренции на котором выступали раздробленные и незнающие ничего друг о друге агенты рынка. В эпоху развития научно-технического прогресса общественные связи между производством и потребителями делаются устойчивее, становится возможным выявить вероятный спрос и предложения рынка, осуществить приблизительную оценку размеров рынка. Глубина и достоверность данных, характеризующих требования и предложения рынка научно-технической продукции в существенной мере определяются состоянием анализа научно-технической информации, соответствующих экономико-статистических материалов.
В управлении разработками научно-технической продукции в условиях рынка крайне важно также полнее учитывать закономерности инновационного процесса. Как известно, по характеру рыночных целей различаются такие инновационные процессы: а) ориентированные на снижение общественно необходимых затрат при производстве изделий и получении прибыли; б) предусматривающие модернизацию выпускаемой продукции; в) создание принципиально новой продукции.
При выборе направлений НИР и ОКР, предусматривающих создание новых продуктов и модернизацию существующих изделий, важно учитывать закономерности кривой жизненного цикла изделий, в соответствии с которой экономическая эффективность совершенствования технических параметров изделий, в зависимости от стадий, разная. Это обусловлено тем, что каждое научно-техническое решение в своем развитии имеет предел.
Необходим учет особенностей научно-технического продукта. Например, большой период цикла "НИР – ОКР – внедрение". Поэтому в ходе планирования разработок на перспективу возникает задача выявить будущего заказчика научно-технического продукта, формирование возможных требований к продукту, определение оптимального времени на разработку и освоение научно-технического товара.
5.1.3 Характеристика инновационного процесса в современных условиях
Ключ к выходу из экономического кризиса лежит в освоении основанного на крупных изобретениях базисных инноваций обеспечивающего переход к новым поколениям техники в ведущих секторах экономики. Технологический переворот возможно осуществить лишь на основе включения в мировой инновационный процесс, поиска и освоения технологических и рыночных ниш, опираясь на стратегию “лазерного луча”, обеспечением патентозащищенности конкурентоспособной продукции.
Замкнутость в инновационной политике и практике, отрыв от мирового научно-технического прогресса привели к падению конкурентоспособности отечественной продукции на мировом рынке (а теперь и на внутреннем, все более наводняемом импортными товарами), и растущему отставанию от высшего мирового технического уровня. Преодолеть эту тенденцию невозможно, опираясь только на собственные силы, без включения в мировое сообщество. При этом необходима селективная научно-техническая политика, с выделением трех секторов в инновационной пирамиде. В вершине ее лежит сравнительно узкий сектор прорывных технологий, основанный на отечественных изобретениях, которые могут обеспечить приоритет и высокую конкурентоспособность на узком сегменте мирового рынка и принести значительный доход при умелой и масштабной реализации приоритета.
Следующий, более широкий сектор – где есть возможность, опираясь на отечественные и зарубежные лицензии организовать на равных разработку, производство и поставку на рынок конкурентоспособной современной продукции. Большие возможности в этом плане предоставляет конверсия военной науки и промышленности, где немало крупных, прежде засекреченных изобретений и технологий могут быть использованы для производства такой продукции.
Третий, еще более широкий сектор – там, где страна не имела достаточного научного задела и инновационного потенциала и где эффективнее использовать зарубежный потенциал, тем более что ограничение на экспорт высоких технологий к нам постепенно ослабляются или снижаются. Нужно понимать, что сейчас ни одна страна в мире не в состоянии развивать всю гамму направлений современной науки и техники; разумнее опираться на международное разделение и кооперацию труда в этой сфере.
Реализация селективной инновационной политики должна опираться на разработку и выполнение программ, охватывающих всю технологическую цепочку (от фундаментальных исследований до достижения оптимального уровня производства и потребления избранного направления пионерной техники), с организацией, охватывающей весь сегмент мирового рынка системы маркетинга, рекламы, продажи, фирменного обслуживания, обновления данного вида товаров.
Реализация целевых программ невозможна (либо неэффективна) силами отдельных республик, необходима координация инновационной политики, выработка общей инновационной стратегии, взаимная поддержка в выполнении программ и в конкурентной борьбе на за полненных технологическими новинками мировых рынках. Эффективная реализация наступательной инновационной стратегии возможна лишь при сочетании современных рыночных механизмов, государственной поддержки базисных инноваций и высокой творческой активности изобретателей и новаторов и защищающих их интересы союзов и организаций.
Переход к рынку усиливает технологическую конкуренцию, приводит к банкротству тех, кто использует и производит устаревшую продукцию, обеспечивает сверхприбыль (в основе которой дифференциальный научно-технический доход) пионерам научно-технического прогресса, активным новаторам. Формируется экономический, рыночно-конкурентный механизм нововведений. Но предприниматели (особенно в кризисной ситуации) неохотно идут на базисные нововведения, связанные с крупными разовыми вложениями, большим рынком зачастую обрекающим на гибель уже отлаженное, четко функционирующее производство, создающее ему конкурентов, обесценивающее вложенный капитал. Именно это побуждает монополии сопротивляться (до известного предела) базисным нововведениям, порождает тенденцию к техническому застою. Поэтому нужна активная и дифференцированная государственная поддержка базисных нововведений, основанных на крупных изобретениях. Эта поддержка может быть как прямой (частичное финансирование сравнительно не большого числа приоритетных программ), так и косвенной (налоговые и таможенные льготы для инновационных мероприятий и предприятий, патентная защита, четкое правовое регулирование и т.п.) в сочетании с антимонопольными мерами.
В то же время необходимо объединение инновационных сил в самом секторе прорыва". Речь идет не только о формировании разнообразных гибких хозяйственных форм в этом секторе, но и активизации общественных организаций и союзов изобретателей и новаторов (ВОИР, Союза инновационных предприятий и т.д.), активном включении их в поддержку инновационных инициатив путем создания влиятельных творческих коллективов, малых предприятий, технологических парков и т.д.
Для того, чтобы научная организация смогла перейти к работе в условиях рынка, необходимо провести комплекс подготовительных работ. Причем это должны быть не разовые мероприятия, а некоторая система, которая вначале должна помочь перейти к работе в условиях рынка, а в дальнейшем закрепиться на нем.
В процессе создания такой системы необходимо: провести анализ достигнутых результатов и определить интересы; организовать маркетинговые исследования; провести анализ и переоценку имеющихся основных фондов; оценить имеющийся научно-технический и производственный потенциал; разработать проект программы исследований и разработок, ориентированный на реализацию в условиях рынка; определить фактическую фондовооруженность первичных коллективов и действительные потребности в развитии и обновлении потенциала – разработать проект программы исследований и разработок, ориентированный на реализацию; рассмотреть возможности внедрения новых форм организации исследований и разработок, включая создание малых предприятий; выбрать программу работ и определиться со стратегией развития; подготовить необходимое нормативно-методическое обеспечение исследований и разработок. На примере данной работы можно отметить, что необходимость исследований динамических свойств манипулятора возникла, когда при его эксплуатации потребовалось однозначно определять параметры кинематической схемы, к тому же существующие методы расчета оказались весьма неточными и требовательными к вычислительным ресурсам. Были использованы достаточно простые и эффективные методы получения входных параметров модели, что позволило обеспечить соответствие этой модели реальным динамическим свойствам существующего манипулятора. В дальнейшем это позволит создавать технологические процессы обеспечивающие более высокую производительность чем существующие.
5.1.4 Формы финансирования НИР и ОКР в условиях рынка
Переход к рыночным отношениям и их эффективное функционирование предполагали формирование рынка научно-технической продукции, широкомасштабное включение в экономический оборот результатов интеллектуального труда, выполнение подавляющего большинства научно-технических разработок на договорных, коммерческих началах.
Помимо масштабов ассигнований большую роль в ускорении НТП играют источники и формы финансирования НИОКР.
В целях развития предпринимательства в инновационной сфере в нашей стране, начиная с 1990 г., развиваются новые формы финансирования на основе формирования ими инновационных банков, инновационных фондов для финансовой поддержки малых организаций, отдельных ученых специалистов, финансирования рисковых проектов.
Так как без финансового обеспечения, рынок научно-технической продукции не может быть наполнен товаром, и в то же время в нашей стране отсутствует определенная система финансирования НИОКР, то весьма целесообразно будет рассмотреть опыт США в финансировании предпринимательства в научно-технической сфере.
Проведение НИОКР подчинено основным целям экономической стратегии: максимизации прибыли, увеличению акционерного дохода, сохранению традиционных рынков и выходу на новые. Общие затраты на исследования определяются как фиксированный процент от объема продаж. Поэтому перспективы расширения или прекращения работ по отдельным направлениям зависит от общехозяйственных результатов.
Формы и методы финансирования зависят от многих факторов, в том числе от приоритетности, от доли фундаментальных наук, а в рамках прикладных наук от удельного веса долговременных исследовательских работ, решающих проблемы общенационального масштаба.
В качестве источников финансирования в США используются: федеральный бюджет, частные и благотворительные фонды, собственные средства университетов, местных властей и др. Преобладают две формы предоставления средств: институционально-административная, преимущественно дотационная – для финансирования исследований в институтах, национальных лабораториях. Вторая индивидуальная. Здесь финансирование идет за счет предоставления безвозмездных субсидий (грантов) небольшим коллективам, работающим над самостоятельными проектами, темами, как правило на конкурсной основе.
Для выполнения крупномасштабных программ с привлечением внешних исполнителей используется контрактная система. В наших экономических условиях, когда отсутствует инфраструктура науки, система грантов не может функционировать полноценно, поскольку нет свободного рынка приборов, реактивов, материалов. Для эффективного использования системы грантов при функционировании функциональных исследований следует наделить научного работника или первичную исследовательскую группу правами юридического лица, в зависимости от сложности проблемы выделять гранты на срок до 3-5 лет. Для перехода на такую систему нужно, чтобы деньги и фонды находились в распоряжении научных советов при отделениях республиканских академий.
Новый статус академических научных учреждений позволит осуществить предложение о переходе академической науки на конкурсно-контрактную систему со свободным финансированием. Суть ее в том, что руководитель научного коллектива завоевывает в результате конкурса финансовое обеспечение своей работы, объявляет через ученый совет конкурс на соответствующий штат научных сотрудников. С теми, кто его пройдет, в дальнейшем заключается контракт на определенный срок, причем оплата труда определяется ученым советом в пределах фонда зарплаты, выделенного на выполнение работы.
Важную роль в перспективе могут сыграть долгосрочные кредиты. Появление у научных организаций собственных средств сделают сферу НИОКР привлекательной для кредитования, позволит научным коллективам выполнять инициативные программы исследований. Коммерческий расчет и право исследовательских коллективов распоряжаться результатами НИОКР будут самыми действенными средствами развития инновационного кредита – “рискового капитала” в сфере научно-технической деятельности.
Создание сети малых (рисковых) предприятий является необходимым условием перехода к рыночным отношениям и развитием предпринимательства. В инновационной сфере они создаются для осуществления НИОКР по новым перспективным направлениям и обеспечения их ускоренного внедрения. Для обеспечения финансирования малых предприятий наряду с другими формами могут образовываться союзные, республиканские и региональные целевые фонды финансовой поддержки малых предприятий за счет добровольных взносов государственных, кооперативных, общественных и других предприятий, учреждений и граждан, в том числе иностранных. Эти фонды должны быть двоякого назначения: 1) страховые, которые должны страховать коммерческий риск; 2) осуществлять субсидирование предпринимательства, быть гарантом банковского кредита, предоставлять льготные кредиты. Мелким предпринимателям должна быть предоставлена возможность широкого участия в борьбе за безвозмездные целевые субсидии (гранты) на исследовательские проекты.
5.1.5 Правовая защита производителей НТП
Естественно, что одним из главных условий существования рынка НТП является обязательная правовая защита производителей изобретений. В настоящее время в нашей стране система защиты прав производителей НТП крайне несовершенна и требует существенной доработки. Один из основных законов, защищающих права изобретателей, является, вышедший 14 октября 1992 г. Патентный закон Российской Федерации.
Настоящим законом и, принимаемыми на его основе, законодательными актами республик в составе Российской Федерации, регулируются имущественные, а также связанные с ними личные неимущественные отношения, возникающие в связи с созданием, правовой охраной и использованием изобретений, полезных моделей и промышленных образцов.
Вводится новое понятие полезной модели — это конструктивное выполнение средств производства и предметов потребления, а так же их составных частей.
В целом закон состоит из следующих разделов: I. Общие положения. II. Условия патентоспособности. III. Авторы и потентообладатели. IV. Исключительное право на использование изобретения, полезной модели, промышленного образца. V. Получение патента. VI. Прекращение действия патента. VII. Защита прав патентообладателей и авторов. VIII. Заключительные положения.
Помимо патента защищающего авторские права обладателя, законом предусмотрена защита авторских прав на основе публикаций в сборниках научных статей, изданий научных работ, монографий и др. К примеру можно отметить, что по материалам данной исследовательской работы подготовлена студенческая научная работа и направлена на всероссийский конкурс научных работ. Кроме того подготовлена и принята к опубликованию статья.
5.2 Расчет экономического эффекта от внедрения методов расчета переходных процессов в портальном манипуляторе
При выборе параметров траектории движения рабочего органа манипулятора (в частности, скорости при которой происходит отключение приводов) необходимо знать длительность переходных процессов. Технолог, разрабатывающий программу управления, не обладая методикой расчета данных параметров устанавливал их значения полагаясь на свой личный опыт. Как показали исследования такие значения параметров движения не всегда оказывались оптимальными (наибольшая разница в производительности наблюдалась при выполнении операции сверления).
В данной работе предлагается использовать полученную динамическую модель портального манипулятора для расчета параметров траектории движения. Для определения экономической эффективности сравнивается производительность при используемых на практике параметрах движения манипулятора и производительность, полученная при использовании параметров рассчитанных по внедряемой методике. За капитальные затраты приняты затраты связанные с созданием программного обеспечения для определения оптимальных значений параметров манипулятора.
Этапы расчета:
1.Расчет капитальных затрат.
1.Определение трудоемкости, длительности разработки, численности и состава разработчиков.
2.Расчет текущих затрат на создание программного изделия (себестоимости).
2.Расчет эксплуатационных затрат.
1.Расчет трудоемкости операции.
2.Расчет эксплуатационных затрат.
3.Расчет условно-годового экономического эффекта и срока окупаемости.
5.2.1 Расчет капитальных затрат
Исходные данные для расчета капитальных затрат:
Затраты времени при выполнении работ на стадии “Техническое задание”, человеко-дней
| Комплекс решаемых задач | Степень новизны | ||||
| А | Б | В | Г | ||
| 1 | Управление МТС, управление сбытом продукции, управление комплектацией, управление экспортными и импортными поставками | 105 | 76 | 42 | 30 |
| 2 | Бухгалтерский учет, управление финансовой деятельностью | 103 | 72 | 48 | 35 |
| 3 | Управление организацией труда и ЗИ, управление кадрами | 63 | 46 | 30 | 19 |
| 4 | Управление транспортными перевозками, управление вспомогательными службами и энергосбережением | 91 | 66 | 43 | 26 |
| 5 | Управление НИР и ОКР | 50 | 36 | 24 | 15 |
| 6 | Управление научно-технической информацией | 50 | 36 | 24 | 15 |
| 7 | Учет пенсий, пособий и страховых операций | 79 | 55 | 36 | 26 |
| 8 | Статистические задачи | 129 | 111 | 61 | 38 |
| 9 | Задачи расчетного характера | 92 | 69 | 47 | 29 |
Затраты времени на стадии “Технический проект” работ, выполняемых разработчиками программного обеспечения, человеко-дней.
| Количество разновидностей форм входной информации | Количество разновидностей форм выходной информации | |||
| 1 | 2 | 3-4 | 5-6 | |
| 1 | 8 | 9 | 10 | 11 |
| 2 | 13 | 15 | 16 | 17 |
| 3 | 16 | 19 | 21 | 22 |
| 4 | 20 | 22 | 24 | 26 |
| 5 | 22 | 24 | 27 | 29 |
| 6 | 24 | 28 | 30 | 33 |
| 7 | 27 | 30 | 33 | 36 |
| 8 | 29 | 33 | 36 | 38 |
Трудоемкость работ, выполняемых разработчиками на стадии постановки задачи, человеко-дней.
| Количество разновидностей форм входной информации | Количество разновидностей форм выходной информации | |||
| 1 | 2 | 3-4 | 5-6 | |
| 1 | 17 | 22 | 28 | 34 |
| 2 | 25 | 33 | 42 | 50 |
| 3 | 32 | 42 | 52 | 62 |
| 4 | 37 | 49 | 61 | 73 |
| 5 | 42 | 55 | 69 | 83 |
| 6 | 46 | 61 | 77 | 92 |
| 7 | 50 | 67 | 84 | 100 |
| 8 | 55 | 72 | 90 | 108 |
Нормы времени на стадии “Рабочий проект”, человеко-дней
| Количество разновидностей форм входной информации | Количество разновидностей форм выходной информации | |||
| 1 | 2 | 3-4 | 5-6 | |
| 1 | 30 | 43 | 57 | 72 |
| 2 | 46 | 65 | 87 | 110 |
| 3 | 58 | 83 | 111 | 140 |
| 4 | 69 | 99 | 132 | 166 |
| 5 | 79 | 113 | 151 | 190 |
| 6 | 88 | 126 | 168 | 212 |
| 7 | 97 | 138 | 185 | 233 |
| 8 | 105 | 150 | 200 | 252 |
Трудоемкость работ выполняемых разработчиками на стадии “Внедрение”, человеко-дней.
| Количество разновидностей форм входной информации | Количество разновидностей форм выходной информации | |||
| 1 | 2 | 3-4 | 5-6 | |
| 1 | 9 | 11 | 16 | 19 |
| 2 | 10 | 16 | 20 | 24 |
| 3 | 11 | 20 | 24 | 30 |
| 4 | 13 | 23 | 29 | 34 |
| 5 | 14 | 24 | 30 | 37 |
| 6 | 16 | 26 | 33 | 40 |
| 7 | 17 | 27 | 36 | 43 |
| 8 | 19 | 29 | 39 | 460 |
Нормы амортизационных отчислений
| Наименование основных средств | Нормы амортизации, % |
| Персональные компьютеры, системы программного управления | 10 |
| Оргтехника | 12,5 |
Значение коэффициента сложности
| Вид используемой информации | Группа сложности алгоритма | Степень новизны | |||
| А | Б | В | Г | ||
| Переменная информации (Пи) | 1 2 3 |
2,81 2,51 2,1 |
2,02 1,8 1,50 |
1,35 1,20 1,00 |
0,81 0,72 0,6 |
| Нормативная справочная информация (НСи) | 1 2 3 |
1,7 1,51 1,26 |
1,21 1,08 0,9 |
0,81 0,72 0,6 |
0,49 0,43 0,36 |
| Банки и базы данных | 1 2 3 |
1,42 1,26 1,05 |
1,01 0,9 0,75 |
0,68 0,6 0,5 |
0,4 0,36 0,3 |
| Комплекс решаемых задач: | Задачи расчетного характера |
| Степень новизны разработки: | А |
| Степень сложности алгоритма: | 2,52 |
| Количество разновидностей форм входной информации: | 7 |
| Количество разновидностей форм выходной информации: | 4 |
Балансовая стоимость применяемого оборудования:
Персональные компьютеры: P-II-300/128 SD RAM/4.3 Gb UW SCSI/1.44/4Mb Matrox Millenium/24x CDROM/SB AWE 64 в количестве 3-х штук. Общая стоимость: |
80000 руб. |
Оргтехника: Принтер Epson Stylus Color 400 Принтер HP LaserJet 5Si |
10000 руб. 20000 руб. |
1. Определение трудоемкости, длительности разработки, численности и состава разработчиков.
Нормативная трудоемкость задач по стадиям.
| Таблица 2. | ||
| Этапы разработки | Нормативная трудоемкость, человеко-дней | |
| Затраты времени при выполнении работ на стадии “Техническое задание” | 92 | |
| Затраты времени на стадии “Технический проект” работ, выполняемых разработчиками программного обеспечения | 33 | 302 |
| Трудоемкость работ, выполняемых разработчиками на стадии постановка задачи | 84 | |
| Нормы времени на стадии “Рабочий проект”, человеко-дней | 185 | |
| Трудоемкость работ, выполняемых разработчиками программного обеспечения на стадии “Внедрение” | 36 | |
Общая трудоемкость выполнения работ по созданию программного изделия определяется суммированием затрат на каждой стадии:
| (5.1) |
где
– трудоемкость работ по составлению технического задания;
– трудоемкость работ по проектированию;
– трудоемкость работ по внедрению.
Длительность разработки:
| (5.2) | |
Среднее число исполнителей рассчитывается исходя из определенных характеристик трудоемкости и длительности разработки программного изделия:
![]() |
(5.3) |
![]() |
В создании программного изделия принимают участие: главный специалист – руководитель разработки (РР), ведущий специалист – старший инженер-программист (СИП), инженеры программисты (ИП). Состав исполнителей по стадиям и этапам разработки приведен в табл. 3.
Состав исполнителей по стадиям и этапам разработки
| Таблица 3. | |||||
| № этапа | Испол-нители | Кол-во человек | Нормативная трудоемкость этапа | Длительность этапа дней | |
| % от трудоемкости стадии | чел. дней | ||||
| 1.1. | РР, СИП | 2 | 60 | 55 | 27,5 |
| 1.2. | РР | 1 | 40 | 37 | 37 |
| 2.1. | РР, СИП, ИП | 3 | 14 | 42 | 14 |
| 2.2. | СИП, ИП | 2 | 6 | 18 | 9 |
| 2.3. | ИП | 1 | 2 | 6 | 6 |
| 2.4. | ИП | 1 | 6 | 18 | 18 |
| 2.5. | РР | 1 | 2 | 6 | 6 |
| 2.6. | СИП, ИП | 2 | 31 | 94 | 47 |
| 2.7. | СИП, ИП | 2 | 14 | 42 | 21 |
| 2.8. | СИП, ИП | 2 | 20 | 60 | 30 |
| 2.9. | РР, СИП | 2 | 5 | 15 | 7,5 |
| 3.1. | РР, СИП | 2 | 57 | 21 | 10,5 |
| 3.2. | СИП, ИП | 2 | 11 | 4 | 2 |
| 3.3. | СИП, ИП | 2 | 32 | 12 | 6 |
Длительность этапа:
, |
(5.4) |
где
– нормативная трудоемкость i
-го этапа, чел.-дней;
– количество исполнителей i
-го этапа разработки, чел.
Распределение трудоемкости по исполнителям.
| Таблица 4. | |||
| Стадия разработки | Трудоемкость чел./дн. | Должность исполнителя | Распределение трудоемкости по исполнителям |
| Техническое задание | 92 | РР | 45 |
| СИП | 47 | ||
| Технический проект | 302 | РР | 32 |
| СИП | 128 | ||
| ИП | 142 | ||
| Внедрение | 36 | РР | 11 |
| СИП | 17 | ||
| ИП | 8 | ||
2. Расчет текущих затрат на создание программного изделия (себестоимости)
Текущие затраты:
| (5.5) |
где
– заработная плата программистов, руб.;
– стоимость использованных материалов (носители информации, бумага и т.д.), руб.;
A – амортизационные отчисления (выделяются из накладных расходов только в тех случаях, когда оборудование используется только для создания рассматриваемого программного изделия), руб.;
– затраты на отладку программы;
– процент накладных расходов.
| (5.5) |
Заработная плата программистов:
![]() |
(5.6) |
где
– трудоемкость работ j-го разработчика, чел./дн.;
– основная заработная плата j-го разработчика, руб./мес.;
– коэффициент, учитывающий дополнительные выплаты (0,25 – 0,5);
– коэффициент, учитывающий отчисления на социальные нужды по действующему законодательству;
Система окладов программистов.
| Таблица 5. | |||
| Должность исполнителя в организации | Вилка окладов, руб. |
Оклад принятый при расчетах, руб. |
Стоимость одного человеко-дня, руб. |
| Руководитель разработки | 800-1000 | 2400 | 100 |
| Старший инженер- программист | 600-750 | 1800 | 75 |
| Инженер программист | 400-550 | 1200 | 50 |
Годовой фонд оплаты труда программистов участвующих в разработке:
Стоимость использованных материалов на эксплуатационные нужды:
Размер амортизационных отчислений:
![]() |
(5.7) |
где
– установленная норма амортизации k
-го оборудования;
– балансовая стоимость k-го вида оборудования;
m – число видов оборудования применяемого при разработке программы.
руб. |
Затраты на отладку:
| (5.8) |
где
– время, требуемое для отладки программы, ч.;
– стоимость одного машино-часа руб./час. (
= 10 руб./ч.)
Время, требуемое для отладки:
![]() |
(5.9) |
где q – предполагаемое число корректируемых операторов;
c – коэффициент сложности программы;
p – коэффициент коррекции программы (p = 0,05-1);
– средний коэффициент квалификации разработчиков (
);
Число корректируемых операторов:
| (5.10) |
![]() |
Процент накладных расходов: ![]()
Сводная таблица капитальных затрат по проектному варианту.
| Наименование затрат | Сумма затрат, руб. |
| Заработная плата программистов | 57401 |
| Стоимость использованных материалов на эксплуатационные нужды | 500 |
| Амортизационные отчисления на используемую вычислительную и орг. технику | 4603,4 |
| Затраты на отладку | 6257,8 |
| Накладные расходы | 57401 |
| Суммарные затраты на разработку программного обеспечения | 126162,8 |
В связи с тем, что в базовом варианте отсутствуют капитальные затраты, расчет капитальных затрат и сводная таблица капитальных затрат по базовому варианту не приводится.
5.2.2 Расчет эксплуатационных затрат
За эксплуатационные затраты приняты затраты на выполнение технологической операции: “Сверление отверстий в электронной плате”.
В эксплуатационные затраты входят:
· заработная плата персонала обслуживающего роботизированный модуль на базе портального манипулятора МРЛ 901-П;
· затраты на электроэнергию;
· затраты на ремонт и техническое обслуживание оборудования;
· амортизационные отчисления на оборудование;
· прочие расходы.
1.Расчет годовой трудоемкости операции.
Трудоемкости операции:
, |
(5.18) |
где
– время перемещения рабочего органа (для базового варианта
= 0,4; для проектного варианта
= 0,1);
– длительность операции сверления (
= 0,3);
– количество отверстий;
– коэффициент использования;
– годовая программа выпуска
Для базового варианта:
1917,4ч. |
Для проектного варианта:
1095,7 ч. |
2.Расчет эксплуатационных затрат.
Заработная плата обслуживающего персонала:
| (5.11) |
где
– основная заработная плата;
– дополнительная заработная плата;
– начисления соцстраху.
Для базового варианта:
Для проектного варианта:
Основная заработная плата обслуживающего персонала:
| (5.12) |
где
– часовая тарифная ставка 1-го разряда;
– тарифный коэффициент соответствующего разряда;
– коэффициент учета нормы обслуживания; m
– количество смен.
Для базового варианта:
Для проектного варианта:
Затраты на энергию:
, |
(5.13) |
где
– установленная мощность, кВт; К
– коэффициент использование по времени;
– стоимость 1 кВт × час;
– действительный фонд времени работы техники (
= 1920 ч.);
– коэффициент использования мощности.
Для базового варианта:
= 2208,8 руб. |
Для проектного варианта:
1095,7 = 1262,2 руб. |
Затраты на ремонт и техническое обслуживание принимаются равными 15% от
стоимости оборудования:
, |
(5.14) |
где
– действительный годовой фонд времени работы оборудования;
– стоимость оборудования (
= 100000 руб.);
Для базового варианта:
= 14979,7 руб. |
Для проектного варианта:
= 8560,2 руб. |
Величина амортизационных отчислений:
, |
(5.15) |
где
– норма амортизации, %;
Для базового варианта:
12483,1 руб. |
Для проектного варианта:
7133,5 руб. |
Прочие расходы:
, |
(5.16) |
где
– размер основной зарплаты; a
– процент прочих расходов.
Для базового варианта:
18025,6 руб. |
Для проектного варианта:
5064,7 руб. |
Суммарные годовые эксплуатационные затраты:
Для базового варианта:
Для проектного варианта:
Сводная таблица эксплуатационных затрат
| Наименование затрат | Сумма затрат по вариантам, руб. | |
| Базовый | Проектный | |
| Заработная плата обслуживающего персонала | 18025,6 | 10129,4 |
| Затраты на электроэнергию | 2208,8 | 1262,2 |
| Затраты на ремонт и техническое обслуживание | 14979,7 | 8560,2 |
| Величина амортизационных отчислений | 12483,1 | 7133,5 |
| Прочие расходы | 18025,6 | 5064,7 |
| 65722,8 | 32150 | |
5.2.3 Расчет условно-годового экономического эффекта и срока окупаемости
Экономический эффект:
| (5.20) |
где
,
– капитальные затраты по базовому и проектному варианту соответственно (у базового варианта капитальные затраты отсутствуют);
– нормативный коэффициент эффективности (
= 0,15).
Срок окупаемости капитальных затрат:
![]() |
3,5 лет |
Сводная таблица технико-экономических показателей
| Показатели | Базовый | Проектный |
| Назначение | Длительность переходных процессов устанавливается технологом | Расчет длительности переходных процессов |
| Область применения | Разработка технологических процессов | |
| Технические показатели | ||
| Быстродействие элементарной операции, с. | 0,7 | 0,4 |
| Производительность, дет./год | 20000 | 31400 |
| Коэффициент экономии рабочего времени, % | 57 | |
| Экономические показатели | ||
| Капитальные затраты, руб. | ¾ | 126162,8 |
| Заработная плата обслуживающего персонала, руб. | 18025,6 | 10129,4 |
| Затраты на ремонт и техническое обслуживание, руб. | 14979,7 | 8560,2 |
| Величина амортизационных отчислений, руб. | 12483,1 | 7133,5 |
| Затраты на электроэнергию, руб. | 2208,8 | 1262,2 |
| Эксплуатационные затраты, руб. | 65722,8 | 32150 |
| Условно-годовой экономический эффект, руб. | 14648 | |
| Срок окупаемости капитальных затрат, лет. | 3,5 | |
Заключение
В ходе выполнения дипломной работы была построена динамическая модель портального манипулятора, параметры которой хорошо соответствуют параметрам реального манипулятора. При исследовании модели особое внимание уделялось получению выражений для определения оптимальных значений скорости движения рабочего органа с целью увеличения быстродействия манипулятора. Также в ходе исследования определены численные значения коэффициентов, входящих в динамическую модель манипулятора при его позиционировании. Установлено хорошее соответствие (ошибка в пределах 1...2%) расчетного значения продолжительности переходного процесса при позиционировании и реального позиционирования манипулятора. Разработаны методы влияния на вид и продолжительность переходного процесса путем управляемого регулирования технологических факторов: натяжения зубчатого ремня и взаимного расположения подвижных частей манипулятора МРЛ-901П. Исследованы диапазоны варьирования, определены значения технологических факторов, обеспечивающие максимальную производительность роботизированного оборудования, создаваемого на базе робота МРЛ 901П.
Проведенные исследования могут быть использованы для определения рациональных динамических параметров манипуляторов, разработки технологических процессов, а также в учебном процессе при проведении лабораторных работ.
Литература
1.Фу К., Гонсалес Р., Ли К. Робототехника: Пер. с англ. – М.: Мир, 1989.
2.Робототехника и гибкие автоматизированные производства. В 9-ти кн. Кн. 5. Моделирование робототехнических систем и гибких автоматизированных производств: Учеб. пособие для втузов/С. В. Пантюшин, В. М. Назаретов, О.А. Тягунов и др.; Под ред. И.М. Макарова. – М.: Высш. шк., 1986.
3.Лурье А.И. Аналитическая механика. – М.: Физматгиз, 1961.
4.Феодосьев В.И. Сопротивление материалов: Изд. 8-е – у М.: Наука, 1970.
5.Лойцинский Л.Г., Лурье А.И. Курс теоретической механики: В 2-х т. Т.II: Динамика. Изд. 6-е перераб. и доп. – М.: Наука, 1983. – 640 с.
6.Анго Андре. Математика для электро и радиоинженеров. Пер. с франц.: Под общ. ред. К.С. Шифрина. – М.: Наука, 1985. – 780 с.
7.Бронштейн И.Н., Семендяев К.А. Справочник по математике для инженеров и учащихся втузов: Изд. 13-е испр. – М.: Наука, 1986. – 544 с.
8.Справочник по промышленной робототехнике: В 2-х кн. Кн. 1/Под ред. Ш. Нофа; Пер. с англ. Д. Ф. Миронова и др. – Машиностроение, 1989.
9.Рынок научной продукции, рынок научного труда. Материалы семинара, общество “Знание”. 1990 г.
10. Симановский С. Направления интенсификации инновационного процесса. “Вопросы изобретательства” № 1-2, 1992 г.
11. Симановский С., К использованию научно-технического потенциала РФ и СНГ, “Российский экономический журнал”, № 4, 1992 г.
ПРИЛОЖЕНИЕ
В приложении приведены программы для расчета параметров динамической модели портального манипулятора.
// File Mrl.сpp
// Программа для расчета времени переходного процесса и оптимальной
// скорости позиционирования
#include
#include
#include
#include
int Transient(double&,
double,
double,
double,
double,
double );
int OptimalSpeed(double&,
double,
double,
double,
double );
char * s_title = "\n Расчет времени переходного процесса и оптимальной "
"скорости позиционирования\n Разработал Д.В. Грачев 1999"
" E-Mail denis@mail.saratov.ru";
char * s_v0 = "\n\n Иcходные данные для расчетов:\n\n Скорость"
" позиционирования рабочего органа, мм/c - # ";
char * s_d = " Требуемая точность позиционирования рабочего органа, мм - # ";
char * s_b = " Коэффициент демпфирования кинематической"
" схемы манипулятора, кг/c - # ";
char * s_c = " Жесткость кинематической схемы манипулятора, Н/м - # ";
char * s_m = " Масса подвижной части манипулятора, кг - # ";
char * s_inp = "%lf";
char * s_out = "%g\n";
char * s_outp = "\n Результаты расчетов: \n\n Длительность переходного"
" процесса при заданной скорости %g м/c\n составит - %g с."
"\n Оптимальная скорость позиционирования - %g мм/c\n";
char * fn = "resultat.txt";
char * s_badparam = "\n Недопустимый параметр - %c";
void inpparam(char** p)
{
if (*p[1] != 'f'){
printf (s_badparam, *p[1]);
exit(0);
}
strcpy(fn, p[2]);
}
int main(int as, char** av)
{
double t, v0, opv0, b, c, d, m;
printf (s_title);
if (as > 1) inpparam(av);
*strstr(s_v0,"#") = 0;
*strstr(s_d,"#") = 0;
*strstr(s_b,"#") = 0;
*strstr(s_c,"#") = 0;
*strstr(s_m,"#") = 0;
printf (s_v0);
scanf (s_inp, &v0);
v0 /= 1000;
printf (s_d);
scanf (s_inp, &d);
d /= 1000;
printf (s_b);
scanf (s_inp, &b);
printf (s_c);
scanf (s_inp, &c);
printf (s_m);
scanf (s_inp, &m);
Transient(t, v0, d, b, c, m);
OptimalSpeed(opv0, d, b, c, m);
opv0 *= 1000;
printf (s_outp, v0, t, opv0);
FILE * f_res = fopen(fn, "a+");
v0 *= 1000;
fprintf (f_res,strcat(s_v0,s_out), v0);
d *= 1000;
fprintf (f_res,strcat(s_d,s_out), d);
fprintf (f_res,strcat(s_b,s_out), b);
fprintf (f_res,strcat(s_c,s_out), c);
fprintf (f_res,strcat(s_m,s_out), m);
fprintf (f_res,s_outp, v0, t, opv0);
return 0;
}
// File speed.cpp
// Вычисление оптимального значения скорости в момент позиционирования
// по исходным данным
#include
int OptimalSpeed(double& V0, // Начальная скорость
double Delta, // Требуемое значение точности позиционирования
double betta, // Коэффициент демпфирования
double C, // Жесткость
double m) // Масса
{
double mc2 = 2*m/C;
V0 = Delta * (1/mc2) * sqrt( fabs( pow(betta/C,2
) - 2 * mc2 ) );
return 0;
}
// File transient.cpp
// Вычисление времени перходного процесса
// по исходным данным
#include
int Transient(double& t, // Время переходного процесса
double V0, // Начальная скорость
double Delta, // Требуемое значение точности позиционирования
double betta, // Коэффициент демпфирования
double C, // Жесткость
double m) // Масса
{
double mc2 = 2*m/C;
t = (log(V0)-log(Delta)-log( sqrt( fabs(pow(betta/C,2)-2*mc2
)
)/mc2 )
)*2*m/betta;
return 0;
}
(j =
1,2,…,n
),
,
.
,
,
,
.
(j =
1,2,…,k
),
.
,
,
,
,
,
.
,
.
.
.
,

.

,

,
,
,
,
.
.
.
.
,
,
.
.
,
.
.
.

,

руб.

,
1917,4ч.
1095,7 ч.
,
= 2208,8 руб.
1095,7 = 1262,2 руб.
,
= 14979,7 руб.
= 8560,2 руб.
,
12483,1 руб.
7133,5 руб.
,
18025,6 руб.
5064,7 руб.
3,5 лет