| Скачать .docx |
Реферат: Теплоснабжение района г.Тихвина
1 Технологическая часть
Аннотация
В данном дипломном проекте разработана система теплоснабжения города Тихвина. Сетевая вода поступает в район от ТЭЦ, расположенной на расстоянии 500 метров с подветренной стороны, согласно нормативным требованиям. Принята двухтрубная закрытая система теплоснабжения, подключения потребителей по зависимой схеме. Теплоноситель поступает от магистральных сетей в распределительные сети, затем подается к теплопотребляющим установкам абонентов.
В процессе проектирования по укрупненным измерителям определены расчетные тепловые потоки на отопление, вентиляцию и горячее водоснабжение по кварталам и построены графики зависимости тепловых потоков от температуры наружного воздуха. Определены площади и численность населения по каждому кварталу. Рассчитаны нагрузки и расход воды на каждое ЦТП.
Разработаны расчетный и два аварийных режима теплоснабжения, по которым произведен предварительный гидравлический расчет. Разработана монтажная схема и произведен основной гидравлический расчет с уточнением эквивалентных длин коэффициентов местных сопротивлений.
Построены пьезометрические графики рабочего и аварийных режимов, по которым произведен подбор сетевых и подпиточных насосов. Проведен тепловой расчет с подбором толщины тепловой изоляции. Построен профиль для основной магистрали тепловой сети. Произведен расчет компенсационных устройств. Рассчитаны усилия, действующие на неподвижные опоры. Разработаны деталировочные чертежи камер, компенсаторных ниш, подвижных и неподвижных опор.
В разделе автоматизации разработана схема автоматизации сетевых и подпиточных насосов.
В разделе организации и планирования строительства произведена оценка продолжительности строительства, рабочих, метода производства работ.
В разделе экономики произведен расчет локальной сметы на строительство теплотрассы.
В разделе инженерно-технических решений по охране труда и безопасности разработан проект безопасного и оптимального производства земляных, монтажных и других видов работ.
Содержание
| Задание на выполнение дипломного проектирования |
2 |
|
| Аннотация |
3 |
|
| Содержание |
4 |
|
| Введение |
7 |
|
| 1 |
Технологическая часть |
8 |
| 1.1 |
Исходные данные |
9 |
| 1.2 |
Определение расчетных тепловых потоков |
9 |
| 1.2.1 |
Расчетные тепловые потоки на отопление и вентиляцию |
9 |
| 1.2.2 1.3 |
Расчетные тепловые потоки на горячее водоснабжение Графики расходов тепла |
10 |
| 1.3.1 |
Графики зависимости расходов тепла от температуры наружного воздуха |
14 |
| 1.3.2 |
Годовой график продолжительности тепловой нагрузки |
16 |
| 1.4 |
Годовые расходы тепла |
17 |
| 1.5 |
Регулирование отпуска тепла |
18 |
| 1.6 |
Выбор трассы и расчетной схемы тепловых сетей района |
21 |
| 1.6.1 |
Надежность тепловых сетей |
21 |
| 1.6.2 1.6.3 |
Выбор количества ЦТП и размещение их на плане района города Разработка трассы сети и расчетной схемы |
22 |
| 1.7 |
Гидравлический расчет магистральных тепловых сетей |
23 |
| 1.7.1 |
Определение расчетных расходов теплоносителя |
24 |
| 1.7.2 |
Предварительный гидравлический расчет тепловых сетей |
25 |
| 1.7.3 |
Разработка монтажной схемы |
28 |
| 1.7.4 |
Окончательный гидравлический расчет тепловых сетей |
29 |
| 1.8 |
Разработка гидравлического режима тепловой сети |
38 |
| 1.8.1 |
Построение пьезометрического графика |
38 |
| 1.8.2 |
Подбор сетевых и подпиточных насосов |
40 |
| 1.8.2.1 |
Сетевые насосы |
40 |
| 1.8.2.2 |
Подпиточные насосы |
41 |
| 1.9 |
Тепловой расчет сети |
42 |
| 1.9.1 |
Расчет тепловой изоляции по нормированной плотности теплового потока при подземной прокладке в непроходных каналах |
43 |
| 1.9.2 |
Расчет тепловой изоляции по нормированной плотности теплового потока при надземной прокладке |
46 |
| 1.10 |
Выбор и механический расчет конструктивных элементов тепловой сети |
47 |
| 1.10.1 |
Расчет труб на прочность |
47 |
| 1.10.1.1 |
Расчет толщины стенки трубы |
48 |
| 1.10.1.2 |
Определение суммарного напряжения от внутреннего давления теплоносителя при выбранной толщине стенки трубы |
48 |
| 1.10.2 |
Расчет компенсации температурных удлинений |
48 |
| 1.10.3 |
Определение результирующих горизонтальных усилий на неподвижные опоры |
53 |
| 1.11 |
Охрана окружающей среды |
55 |
| 2 |
Автоматика |
57 |
| 2.1 |
Общая часть |
58 |
| 2.2 |
Управление сетевыми и подпиточными насосами |
58 |
| 2.3 |
Учет расхода тепла |
59 |
| 3 |
Организация и планирование строительства |
61 |
| Введение |
||
| 3.1 |
Общая часть |
62 |
| 3.1.1 |
Исходные данные |
62 |
| 3.1.2 |
Назначение проекта производства работ и его состав |
62 |
| 3.2 |
Календарный план строительства объекта |
63 |
| 3.2.1 |
Подсчет объемов строительно-монтажных работ |
63 |
| 3.2.1.1 |
Подсчет объемов земляных работ |
63 |
| 3.2.1.2 |
Объем сварочных работ |
65 |
| 3.2.2 |
Выбор и обоснование метода производства работ |
66 |
| 3.2.3 |
Определение трудоемкости работ |
67 |
| 3.2.4 |
Определение перечня строительно-монтажных процессов |
69 |
| 3.2.5 |
Разбивка тепловой сети на захватки |
71 |
| 3.2.6 |
Определение продолжительности выполнения отдельных технологических комплексов и увязка их во времени |
71 |
| 3.3 |
Материально-техническое обеспечение строящегося объекта |
72 |
| 3.3.1 |
График поставки материалов на строительную площадку |
72 |
| 3.3.2 |
График работы основных строительных машин |
72 |
| 3.3.3 |
Выбор основных строительных машин |
73 |
| 3.3.4 |
Расчет площадей временных бытовых и административно-хозяйственных помещений |
76 |
| 3.3.5 |
Расчет временного снабжения строительной площадки водой и электроэнергией |
76 |
| 4 4.1 4.2 4.3 |
Экономика Введение Определение сметной стоимости. Подсчет объемов работ Локальная смета Определение эксплутационных затрат |
79 |
| 5 |
Инженерно-технические решения по охране труда и безопасности |
86 |
| Введение |
87 |
|
| 5.1 |
Разработка проекта безопасного и оптимального производства земляных, монтажных и других видов работ |
88 |
| 5.3 |
Расчет строповки трубопроводов при их разгрузке и укладке в траншею |
90 |
| Литература |
93 |
|
Введение
Теплоснабжение является одной из основных подсистем энергетики. Основными направлениями этой подсистемы являются концентрация и комбинирование производства теплоты и электрической энергии (теплофикация) и централизация теплоснабжения.
Теплофикация является ведущей отраслью современного народного хозяйства страны. Основная территория страны расположена в суровой климатической зоне и поэтому, большое значение имеет обеспечение потребителей тепловой энергией. Более 50 % теплопотребления страны обеспечивается от экономных теплоисточников: ТЭЦ – 34 %, крупные котельные – 13 % и др.
Централизованное теплоснабжение от теплоэлектроцентралей (ТЭЦ) сочетается с целесообразностью применения экономичных котельных установок и утилизаций вторичных энергоресурсов промышленных предприятий.
Рост централизации теплоснабжения, увеличение единичной мощности теплоисточников и протяженности тепловых сетей (ТС), ужесточение экологических требований к окружающей среде современных городов и промышленных районов приводит к размещению ТЭЦ на органическом, а также ядерном топливе на значительном расстоянии от районов теплового потребления, все это усложняет задачу обеспечения надежного, качественного и экономичного теплоснабжения.
Связывая источник теплоты с большим количеством потребителей, тепловые сети должны обеспечивать согласованную работу всех звеньев системы централизованного теплоснабжения, т.е. обеспечить их управляемость и надежность.
Для надежности теплоснабжения необходимо резервировать основные элементы верхнего иерархического уровня (источники тепла, магистральные ТС). Источники тепла должны иметь резервные агрегаты, а магистральные сети должны быть закольцованы с обеспечением необходимой их пропускной способностью в аварийных ситуациях.
Важными факторами, обуславливающими дальнейшие направления, в развитии централизованного теплоснабжения являются: напряженное положение с топливным балансом страны и изменение его структуры, повышенное загрязнение водного и воздушного бассейна значительной части населенных мест, в том числе от теплоэнергетических источников.
Важное народнохозяйственное значение имеет повышение технического уровня тепловых сетей. Все элементы тепловых сетей должны быть равнопрочны и обеспечивать качественную работу системы теплоснабжения как минимум 25 - 30 лет.
1.1 Исходные данные
1) генплан района города Тихвина;
2) источник теплоснабжения - ТЭЦ;
3) теплоноситель - перегретая вода с параметрами t1 = 150 °С и t2 = 70 °С;
4) схема теплоснабжения - закрытая двухтрубная;
5) плотность населения по зонам: зона А - 300 чел/га, зона Б - 315 чел/га;
6) температура наружного воздуха расчетная для проектирования отопления to = -29 о C;
7) средняя температура наружного воздуха за отопительный период
tот = -2,9°С;
8) среднегодовая температура наружного воздуха tсг = 3,1°С;
9) число дней отопительного периода nо = 228 суток;
10) преобладающее направление ветра в отопительный период: Ю;
11) преобладающее направление ветра в летний период: Ю;
12) число часов стояния среднесуточных температур наружного воздуха за отопительный период сводится в таблицу 1.1.
Таблица1.1 - Число часов стояния среднесуточных температур наружного воздуха за отопительный период nчас = 5448 часов
| t, °С |
-35 -30 |
-30 -25 |
-25 20 |
-20 -15 |
-15 -10 |
-10 -5 |
-5 0 |
0 +5 |
+5 +8 |
Всего часов |
| Время,ч |
1 |
12 |
70 |
218 |
476 |
908 |
1397 |
1512 |
854 |
5448 |
1.2 Определение расчетных тепловых потоков
В районе, для которого разработан проект возможно размещение различных потребителей тепла: жилые дома, коммунальные предприятия школы, детские сады, больницы и т.д.
Потребители расходуют тепло на отопление, на подогрев приточного воздуха для вентиляции, на горячее водоснабжение. Расход тепла на отопление и вентиляцию является сезонной нагрузкой и учитывается только в холодное время года от +8 °С и ниже. Эти нагрузки зависят от климатических условий: температуры наружного воздуха, продолжительности отопительного периода и т.д. Расходы тепла на горячее водоснабжение являются постоянными, круглогодовыми нагрузками. Они мало зависят от наружных температур и учитываются в течение всего года. Нагрузка на горячее водоснабжение зависит от режима работы коммунальных предприятий, состава населения района.
1.2.1 Расчетные тепловые потоки на отопление и вентиляцию
Максимальный тепловой поток, кВт, на отопление жилых и общественных зданий определяется по формуле:
, (1.1)
где
- укрупненный показатель максимального теплового потока на отопление жилых зданий на один м2
общей площади Вт/м2
;
- общая площадь жилой застройки, м2
:
- коэффициент, учитывающий тепловой поток на отопление общественных зданий,
= 0,25.
Значения
принимаем в соответствии с рекомендуемым [19], для зон А и Б равны:
= 48,206 Вт/м2
– для зоны А;
= 42,22 Вт/м2
– для зоны Б.
Общая площадь жилой застройки равна:
(1.2)
где
- число жителей, чел;
- норма жилой площади,
= 18 м2
/чел.
Число жителей в квартале рассчитывается по формуле:
(1.3)
где
- площадь квартала, га;
- плотность населения, чел/га.
Максимальный тепловой поток, кВт, на вентиляцию общественных зданий определяется по формуле:
(1.4)
где
- коэффициент, учитывающий тепловой поток на вентиляцию общественных зданий,
= 0,8.
1.2.2 Расчетные тепловые потоки на горячее водоснабжение
Средний тепловой поток, кВт, на горячее водоснабжение за отопительный период определяется по формуле:
(1.5)
где
- укрупнённый показатель среднего теплового потока на горячее водоснабжение, Вт/чел., принимается
= 105 Вт/чел. по [19].
Максимальный тепловой поток на горячее водоснабжение, кВт:
. (1.6)
Средний тепловой поток, кВт, на горячее водоснабжение в неотопительный период определяется по формуле:
, (1.7)
где 55 - средняя температура горячей воды в закрытых системах теплоснабжения;
- температура холодной воды в летний период,
=15°С;
- температура холодной воды в зимний период,
=5°С;
β - коэффициент, учитывающий снижение среднего расхода воды на горячее водоснабжение в летний период, β=0,8 для жилищно-коммунального сектора.
По приведенным формулам рассчитаны тепловые нагрузки квартала №1.
Квартал №1
Площадь квартала:
= 3,5 га; плотность населения:
= 300 чел/га;
- по формуле (1.3) определяется число жителей:
= 3,5 ۬300 = 1050 чел;
- по формуле (1.2) определена общая площадь жилой застройки:
= 1050۬ 18 = 18900 м2
;
- по формуле (1.1) определяется максимальный тепловой поток на отопление:
= 48,206۬ 18900(1+0,25)10-3
= 1138,87 кВт;
- по формуле (1.4) определяется максимальный тепловой поток на вентиляцию:
= 0,25۬ 0,8۬ 48,206۬ 18900 = 182,22 кВт;
- по формуле (1.5) определяется средний тепловой поток на горячее водоснабжение:
= 105۬ 1050 = 110,25 кВт;
- по формуле (1.6) определяется максимальный тепловой поток на горячее водоснабжение:
= 2,4۬ 110,25 = 264,6 кВт;
- по формуле (1.7) определен тепловой поток на горячее водоснабжение в неотопительный период:
= 110,25
0,8 = 70,56 кВт.
Расчет тепловых потоков сведен в таблицу 1.2.
Таблица 1.2 – Расчет тепловых потоков
| № квартала |
Пло-щадь Fк , га |
Плот- ность насел. σ, чел/га |
Число жите-лей, M, чел |
Норма жил. площf на чел,м2 |
Общая площадь жил. застр., А, м2 |
Тепловые потоки, кВт |
|||||
|
|
|
|
|
|
|||||||
| 1 |
2 |
3 |
4 |
5 |
6 |
7 |
8 |
9 |
10 |
11 |
|
| Зона А |
|||||||||||
| 1 |
3,5 |
300 |
1050 |
18 |
18900 |
1138,87 |
182,22 |
110,25 |
264,6 |
70,56 |
|
| 2 |
5,95 |
300 |
1785 |
18 |
32130 |
1936,07 |
309,78 |
187,43 |
449,82 |
119,95 |
|
| продолжение таблицы 1.2 |
|||||||||||
| 1 |
2 |
3 |
4 |
5 |
6 |
7 |
8 |
9 |
10 |
11 |
|
| 3 |
11,47 |
300 |
3441 |
18 |
61938 |
3732,23 |
597,16 |
361,31 |
867,13 |
231,24 |
|
| 4 |
4,34 |
300 |
1302 |
18 |
23436 |
1412,2 |
225,95 |
136,71 |
328,1 |
87,49 |
|
| 5 |
6,51 |
300 |
1953 |
18 |
35154 |
2118,29 |
338,93 |
205,07 |
492,17 |
131,24 |
|
| 6 |
3,5 |
300 |
1050 |
18 |
18900 |
1138,87 |
182,22 |
110,25 |
264,6 |
70,56 |
|
| 7 |
5,95 |
300 |
1785 |
18 |
32130 |
1936,07 |
309,77 |
187,43 |
449,82 |
119,95 |
|
| 8 |
6,29 |
300 |
1887 |
18 |
33966 |
2046,71 |
327,47 |
198,14 |
475,52 |
126,81 |
|
| 9 |
5,46 |
300 |
1638 |
18 |
29484 |
1776,63 |
284,26 |
171,99 |
412,78 |
110,07 |
|
| 10 |
8,19 |
300 |
2457 |
18 |
44226 |
2664,95 |
426,39 |
257,99 |
619,16 |
165,11 |
|
| 11 |
5,4 |
300 |
1620 |
18 |
29160 |
1757,11 |
281,14 |
170,1 |
408,24 |
108,86 |
|
| 12 |
5,4 |
300 |
1620 |
18 |
29160 |
1757,11 |
281,14 |
170,1 |
408,24 |
108,86 |
|
| 13 |
6,8 |
300 |
2040 |
18 |
36720 |
2212,66 |
354,03 |
214,2 |
514,08 |
137,09 |
|
| 14 |
4,86 |
300 |
1458 |
18 |
26244 |
1581,4 |
253,02 |
153,09 |
367,42 |
97,98 |
|
| 15 |
6,12 |
300 |
1836 |
18 |
33048 |
1991,39 |
318,62 |
192,78 |
462,67 |
123,38 |
|
| 16 |
7,83 |
300 |
2349 |
18 |
42282 |
2547,81 |
407,65 |
246,65 |
591,95 |
157,85 |
|
| 17 |
7,83 |
300 |
2349 |
18 |
42282 |
2547,81 |
407,65 |
246,65 |
591,95 |
157,85 |
|
| 18 |
9,86 |
300 |
2958 |
18 |
53244 |
3208,35 |
513,34 |
310,59 |
745,42 |
198,78 |
|
| Зона Б |
|||||||||||
| 19 |
6,35 |
315 |
2000 |
18 |
36005 |
1900,14 |
304,02 |
210,03 |
504,06 |
134,42 |
|
| 20 |
9,99 |
315 |
3147 |
18 |
56643 |
2989,35 |
478,3 |
330,42 |
793,01 |
211,47 |
|
| 21 |
10,26 |
315 |
3232 |
18 |
58174 |
3070,14 |
491,22 |
339,35 |
814,44 |
217,84 |
|
| 22 |
7,12 |
315 |
2243 |
18 |
40370 |
2130,55 |
340,89 |
235,49 |
565,19 |
150,72 |
|
| 23 |
6,08 |
315 |
1915 |
18 |
34474 |
1819,34 |
291,1 |
201,1 |
482,63 |
128,7 |
|
| 24 |
2,77 |
315 |
873 |
18 |
15706 |
828,88 |
132,62 |
91,62 |
219,88 |
58,64 |
|
| 25 |
3,8 |
315 |
1197 |
18 |
21546 |
1137,09 |
181,93 |
125,69 |
301,64 |
80,44 |
|
| 26 |
4,05 |
315 |
1276 |
18 |
22964 |
1211,9 |
193,9 |
133,95 |
321,49 |
85,73 |
|
| 27 |
4,05 |
315 |
1276 |
18 |
22964 |
1211,9 |
193,9 |
133,95 |
321,49 |
85,73 |
|
| 28 |
5,1 |
315 |
1607 |
18 |
28917 |
1526,1 |
244,18 |
168,68 |
404,84 |
107,96 |
|
| 29 |
4,86 |
315 |
1531 |
18 |
27556 |
1454,28 |
232,69 |
160,75 |
385,79 |
102,88 |
|
| 30 |
4,86 |
315 |
1531 |
18 |
27556 |
1454,28 |
232,69 |
160,75 |
385,79 |
102,88 |
|
| 31 |
6,12 |
315 |
1928 |
18 |
34700 |
1831,31 |
293,01 |
202,42 |
485,81 |
129,55 |
|
| 32 |
7,425 |
315 |
2339 |
18 |
42100 |
2221,81 |
355,49 |
245,58 |
589,4 |
157,17 |
|
| 33 |
6,075 |
315 |
1914 |
18 |
34445 |
1817,85 |
290,86 |
200,93 |
482,23 |
128,6 |
|
| 34 |
5,95 |
315 |
1874 |
18 |
33737 |
1780,44 |
284,87 |
196,8 |
472,31 |
125,95 |
|
| СУММА |
64459 |
1160260 |
65889,87 |
10542,38 |
6768,19 |
16243,64 |
4331,64 |
||||
1.3 Графики расходов тепла
1.3.1 Графики зависимости расходов тепла на отопление, вентиляцию и горячее водоснабжение от температуры наружного воздуха tн
![]()
Расходы тепла на отопление и вентиляцию линейно зависят от температуры наружного воздуха, и поэтому для построения графиков зависимости необходимо иметь две точки, т. е. знать расходы тепла при двух различных температурах наружного воздуха. Расчетные расходы тепла для района города принимаются по данным таблицы 1.2:
= 65,89 МВт;
= 10,54 МВт.
Расходы тепла на отопление и вентиляцию, МВт, при произвольных температурах
, находятся по зависимостям:
=
.
(1.8)
=![]()
. (1.9)
Расходы тепла при температуре начала и конца отопительного периода будут равны:
МВт;
МВт.
Расход тепла на горячее водоснабжение практически не зависит от температуры наружного воздуха, поэтому график зависимости есть горизонтальная линия с ординатой 48,747 в отопительный период и 31,199 в летний период.
По полученным данным построен график зависимости нагрузок
,
и
от tн
представленный на рисунке 1.1.
|
|
Рисунок 1.1 – График зависимости расходов от температуры наружного воздуха |
1.3.2 Годовой график продолжительности тепловой нагрузки
График составляется для установления экономичного режима работы теплофикационного оборудования, выбора наивыгоднейших параметров теплоснабжения, подсчета выработки тепла, электроэнергии и других плановых технико-экономических изысканий.
Основой для построения годового графика расхода тепла по продолжительности стояния температур наружного воздуха является график суммарных расходов тепла на отопление и вентиляцию, который располагается слева от оси ординат, а в правой части графика строится график годовой тепловой нагрузки. Из точек на оси абсцисс суммарного расхода тепла соответствующих температурам: +8, +5, 0, -5, -10, -15, -20, -25о
С восстанавливаются перпендикуляры до пересечения с линией суммарного расхода тепла. Точки пересечения горизонталей расходов тепла с вертикалями продолжительности стояния соответствующих температур наружного воздуха, образуют кривую годового графика продолжительности нагрузок отопления и вентиляции. На полученную кривую сверху достраивается параллельная линия с ординатой
отопительный период и проводится горизонтальная линия с ординатой
в летний период. Для построения графика продолжительности стояния температур наружного воздуха, из таблицы 1.1 необходимо число часов стояния температур наружного воздуха в отопительный период перевести в секунды, умножив на 0,0864×10-6
. Результаты расчета представлены в таблице 1.3.
Таблица 1.3 - Продолжительность стояния температуры наружного воздуха
| Температура наружного воздуха ниже данной |
о С |
о С |
о С |
|
о С |
о С |
о С |
о С |
о С |
| Продолжительность стояния температуры наружного воздуха n |
0,086 |
1,123 |
7,171 |
26,01 |
67,13 |
145,6 |
266,3 |
396,9 |
470,7 |
Годовой график продолжительности тепловой нагрузки представлен на рисунке 1.2.
|
|
Рисунок 1.2 – График тепловых потоков по продолжительности стояния температуры наружного воздуха |
1.4 Годовые расходы тепла
Годовые расходы тепла жилыми и общественными зданиями определяются суммированием нагрузок отопления, нагрузок на вентиляцию и горячее водоснабжение, ГДж:
. (1.10)
Годовой расход тепла на отопление, ГДж/год:
(1.11)
где
– суммарный тепловой поток на отопление из таблицы 1.2, кВт;
=65,88987 МВт;
– температура внутри помещения, °С, ti
=
20°С;
– средняя температура наружного воздуха за отопительный период,
=- 2,9°С [16];
– наружная расчетная температура для проектирования отопления,
= -29°С [16];
– продолжительность отопительного периода, no
=167 суток.
86,4۬ 65,88987
۬228 = 577,186ГДж.
Годовой расход тепла на вентиляцию, ГДж:
(1.12)
где
– суммарный тепловой поток на вентиляцию из таблицы 1.2,
=10,54 МВт;
z – число часов работы вентиляционных установок в сутки, z=16 часов.
3,6۬ 16۬10,54
۬22810
=61,567ГДж.
Годовой расход тепла на горячее водоснабжение, ГДж:
, (1.13)
где
и
– средние тепловые потоки на горячее водоснабжение соответственно в зимний и летний периоды из таблицы 1.2, кВт;
– число работы системы теплоснабжения,
=350 суток.
86,4۬×6,76819×228+86,4۬×4,33164 (350-228) =46,24 ГДж.
Годовой расход тепла определяем по формуле (1.8):
577,186+61,567+46,24 = 684,997ГДж.
1.5 Регулирование отпуска тепла
Тепловая нагрузка абонентов не постоянна во времени и изменяется в зависимости от температуры наружного воздуха, режима расхода воды в системе горячего водоснабжения, работы технологического оборудования. Поэтому в задачу регулирования входит отпуск тепла в соответствии с теплопотреблением абонентов.
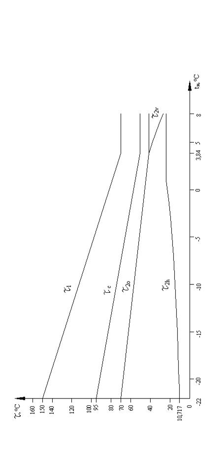
В зависимости от пункта осуществления различают местное и центральное регулирование. Центральное регулирование осуществляется на источнике тепла, а местные на абонентских вводах отдельных зданий. В проекте используется комбинированно-отопительный график регулирования отпуска тепла, поскольку отношение максимальных нагрузок:
ρм
=
=
![]()
.
Задачей расчета комбинированно-отопительного графика регулирования является определение температуры τ1, τс , τ2о при разных температурах tн Расчет комбинированно-отопительного графика произведен с помощью ЭВМ и представлен на странице . По этим данным построен комбинированно-отопительный график регулирования отпуска тепла. представленный на рисунке 1.3.
| Рисунок 1.3- График регулирования отпуска тепла |

1.6 Выбор трассы и расчетной схемы тепловых сетей района
Схема магистральных тепловых сетей должна разрабатываться с учетом возможности обеспечения требуемой степени надежности в соответствии с требованиями СНиП 41 – 02 – 2003.
1.6.1 Надежность тепловых сетей
В дипломном проекте разрабатывается подробно только одна часть системы централизованного теплоснабжения, а именно магистральные и распределительные сети, и для этой части рассматриваются основные свойства, определяющие надежность только сетей.
К этим свойствам относятся: безопасность, долговечность, ремонтопригодность, сохраняемость.
Под безотказностью тепловых сетей понимают их способность сохранять рабочее состояние в течение заданного нормативного срока службы.
Под долговечностью участков тепловой сети понимается свойство сохранять работоспособность до наступления предельного состояния, когда дальнейшее их использование недопустимо или экономически нецелесообразно.
Под ремонтопригодностью понимается способность к поддержанию и восстановлению работоспособного состояния участков тепловых сетей путем обеспечения их ремонта с последующим вводом в эксплуатацию после ремонта.
Под сохраняемостью тепловых сетей понимается их способность сохранять безотказность, долговечность и ремонтопригодность в течение срока консервации.
До настоящего времени не разработаны четкие количественные показатели выполнения этих свойств надежности тепловой сети. Эти показатели зависят от конструкции теплопровода и типа прокладки (надземной или подземной); от диаметра трубопровода, расстояния между секционирующими задвижками, определяющими объем сетевой воды, которой необходимо дренировать до начала ремонта, а затем восполнить после его проведения; от оснащения теплоснабжающего предприятия машинами, механизмами и транспортом, которые потребляют для выполнения аварийно – восстановительных работ. Поэтому эти показатели должны определяться экспертным путем для каждого конкретного теплоснабжающего предприятия с учетом местных условий с последующим анализом, обобщением и использованием при разработке и проектировании новых объектов.
В дипломном проекте по рекомендации СНиП 41 – 02 – 2003 “Тепловые сети” разработаны следующие мероприятия по увеличению надежности тепловых сетей:
Для повышения надежности тепловых сетей предусмотрено:
1) рациональная схема тепловых сетей с входом в массив двумя примерно одинаково загруженными ветками;
2) устройство резервной перемычки в районе тепловых камер УТ3-УТ7;
3) достаточность диаметров от головных участков, выбираемых при проектировании новых теплопроводов для обеспечения резервной подачи теплоты, потребителя при отказах;
4) надземная прокладка теплопроводов от ТЭЦ до зоны жилой застройки.
Диаметры определены после предварительных гидравлических расчетов аварийных режимов. Расходы сетевой воды по участкам при аварийных режимах определялись с учетом данных таблицы 2 СНиП 41 – 02 – 2003. Места аварий назначались по самым неблагоприятным вариантам (на головных участках каждой из радиальных параллельных ветвей).
Предусмотрены следующие способы резервирования:
1) установка на источнике теплоты необходимого резервного насосного оборудования;
2) устройство резервной перемычки между радиальными теплопроводами;
3) надземная прокладка головного участка теплопровода.
1.6.2 Выбор количества ЦТП и размещение их на плане района города
При разработке схемы магистральных тепловых сетей тепловая мощность ЦТП принята в пределах от 5 до 10 МВт. Зоны влияния ЦТП их тепловые нагрузки и расходы теплоносителя представлены в таблице 1.4.
С учетом плана района города и рекомендаций СНиП 41 – 02 – 2003 разработана радиальная тупиковая сеть с вводом в жилой массив двух равномерно нагруженных ветвей. Исходя из предельно допустимой длины нерезервированных участков(2500 м) предусмотрено устройство одной резервирующей задвижки, размещенной в центральной части радиальных веток.
Трассировка магистральных тепловых сетей принималась исходя их условия обеспечения минимальной протяженности теплопроводов и двухсторонней загрузке магистралей. Пересечение других инженерных коммуникаций и сооружений произвести под углом 90о .При разработке схемы исключалась возможность пересечения магистральных тепловых сетей с распределительными в кварталах.
1.6.3 Разработка трассы сети и расчетной схемы
Трасса выбирается по генплану района в зависимости от расположения ТЭЦ и ЦТП. При трассировке следует стремиться к прокладке магистрали в районе наиболее плотной тепловой нагрузки и к минимальной протяженности самой сети, а также стремиться к двухсторонней нагрузке магистрали. Пересечение других инженерных сооружений и коммуникации производятся под углом 90 градусов, при обосновании разрешается до 45 градусов. После разработки трассы, составляется расчетная схема тепловой сети с разбивкой на участки. Расчетным участком тепловой сети считается участок с постоянным расходом теплоносителя. Расчетная схема представлена на листе ТС 3. Участки трубопроводов, соединяющие источник тепла с наиболее удаленным потребителем принимаются за расчетную магистраль.
1.7 Гидравлический расчет магистральных тепловых сетей
1.7.1 Определение расчетных расходов теплоносителя
Расчетный расход теплоносителя, т/ч, на расчетном участке или для ЦТП рассчитывается по формуле:
![]()
, (1.14)
где
- расчетный расход сетевой воды на отопление, т/ч;
- расчетный расход сетевой воды на вентиляцию, т/ч;
- расчетный расход сетевой воды на горячее водоснабжение, т/ч;
=0 – коэффициент, учитывающий долю среднего расхода сетевой воды на горячее водоснабжение, принимается по таблице 2[20].
Расход сетевой воды на отопление и вентиляцию, т/ч, определяется по формуле:
, (1.15)
где τ1 – расчетная температура теплоносителя в подающем трубопроводе, о С, τ1 = 150 о С;
τ2о – расчетная температура теплоносителя в обратном трубопроводе, о С, τ2о = 70 о С;
с – удельная теплоемкость воды, кДж/кг о С.
Расход сетевой воды на горячее водоснабжение при параллельной схеме присоединения водоподогревателей, т/ч, определяется по формуле:
, (1.16)
где
- температура сетевой воды в подающем трубопроводе в точке излома графика регулирования, о
С,
= 70 о
С;
- температура сетевой воды на выходе из водоподогревательной установки системы горячего водоснабжения, о
С,
=30 о
С.
По приведенным формулам определены расходы теплоносителя на расчетных участках в основном режиме работы тепловой сети. При работе тепловой сети в аварийных режимах должна быть обеспечена подача теплоносителя в размере 62,3% от расчетных значений.
Расходы сетевой воды на ЦТП представлены в таблице 1.4.
Таблица 1.4 – Расчет количества ЦТП и зон их действия
| № ЦТП |
№ обслуживаемых кварталов |
Расход теплоты, кВт |
Расход теплоносителя, т/ч |
||||||
|
|
|
|
+ |
|
+ |
|
|
||
| 1 |
2 |
3 |
4 |
5 |
6 |
7 |
8 |
9 |
10 |
| 1 |
1 |
1138,87 |
182,22 |
110,25 |
7896,32 |
8555,3 |
84,88 |
14,2 |
84,88 |
| 2 |
1936,07 |
309,77 |
187,43 |
||||||
| 3 |
3732,23 |
597,16 |
361,31 |
||||||
| 2 |
6 |
1138,87 |
182,22 |
110,25 |
5941,11 |
6436,92 |
63,88 |
10,7 |
63,88 |
| 7 |
1936,07 |
309,77 |
187,43 |
||||||
| 8 |
2046,71 |
327,47 |
198,14 |
||||||
| 3 |
4 |
1412,2 |
225,95 |
136,71 |
9247,6 |
10019,35 |
99,42 |
16,6 |
99,42 |
| 5 |
2118,29 |
338,93 |
205,07 |
||||||
| 9 |
1776,63 |
284,26 |
171,99 |
||||||
| 10 |
2664,95 |
426,39 |
257,99 |
||||||
| 4 |
19 |
1900,14 |
304,02 |
210,03 |
9104,74 |
9972,3 |
97,88 |
18,7 |
97,88 |
| 20 |
2989,35 |
478,3 |
330,42 |
||||||
| 22 |
2130,55 |
340,89 |
235,49 |
||||||
| 24 |
828,88 |
132,62 |
91,62 |
||||||
| 5 |
21 |
3070,14 |
491,22 |
339,35 |
6990,83 |
7656,96 |
75,15 |
12,25 |
75,15 |
| 23 |
1819,34 |
291,1 |
201,1 |
||||||
| 25 |
1137,09 |
181,93 |
125,69 |
||||||
| 6 |
11 |
1757,11 |
281,14 |
170,1 |
6828,12 |
7397,96 |
73,40 |
12,25 |
73,40 |
| 14 |
1581,4 |
253,02 |
153,09 |
||||||
| 16 |
2547,81 |
407,65 |
246,65 |
||||||
| 7 |
12 |
1757,11 |
281,14 |
170,1 |
6914,94 |
7492,02 |
74,34 |
12,4 |
74,34 |
| 13 |
2212,66 |
354,03 |
214,2 |
||||||
| 15 |
1991,39 |
318,62 |
192,78 |
||||||
| 8 |
17 |
2547,81 |
407,65 |
246,65 |
6677,14 |
7234,38 |
71,78 |
11,98 |
71,78 |
| 18 |
3208,35 |
513,34 |
310,59 |
||||||
| 9 |
26 |
1211,9 |
193,9 |
133,95 |
5670,07 |
6210,35 |
60,95 |
11,6 |
60,95 |
| 29 |
1454,28 |
232,69 |
160,75 |
||||||
| 32 |
2221,81 |
355,49 |
245,58 |
||||||
| 10 |
27 |
1211,9 |
193,9 |
133,95 |
5300,4 |
5805,45 |
56,98 |
10,86 |
56,98 |
| 28 |
1526,1 |
244,18 |
168,68 |
||||||
| 31 |
1831,31 |
293,01 |
202,42 |
||||||
| 11 |
30 |
1454,28 |
232,69 |
160,75 |
5860,98 |
6419,45 |
63,01 |
12,01 |
63,01 |
| 33 |
1817,85 |
290,86 |
200,93 |
||||||
| 34 |
1780,44 |
284,87 |
196,8 |
||||||
1.7.2 Предварительный гидравлический расчет тепловых сетей
При проектировании тепловых сетей основная задача гидравлического расчета состоит в подборе диаметров труб обеспечивающих подачу расчетного расхода тепла теплоносителя всем потребителям при минимуме приведенных затрат. Удельные потери напора по расчетной магистрали для оптимизации решения принимаются в пределах Rуд = 30 - 80 Па/м .
Результаты гидравлического расчета используются для построения пьезометрических графиков, выбора схем абонентского вводов, подбора насосного оборудования, определения стоимости тепловой сети и других целей.
При движении теплоносителя по трубам потери давления складываются из гидравлических сопротивлений трения по длине трубопровод и местных сопротивлений, Па:
ΔР=ΔРпр +ΔРм , (1.17)
где ΔРпр - линейные потери на давления пропорциональны длине труб, Па:
ΔРпр = R∙l, (1.18)
где R – удельные потери давления на трение, Па/м;
l - длина трубопровода, м.
Потери давления на участке трубопровода, Па:
ΔР=R∙l∙ (1+ α), (1.19)
где R - удельные потери давления на 1 м трубопровода, Па/м;
- длина рассчитываемого участка, м;
- коэффициент учитывающий долю потерь давления теплосети, принимается по приложению 5 [15].
Удельные потери давления для расчетной магистрали принять в пределах 30 - 80 Па/м. При расчете ответвлений следует так подбирать диаметр, чтобы уровнять потери напора в ответвлении с суммарными потерями по основной магистрали в соответствующей узловой точке. При этом удельные потери давления в ответвлении независимо от расчета не должна превышать 300 Па/м, связано с ограничением скорости теплоносителя.
При предварительном расчете стремятся к минимально возможным невязкам без подбора дроссельных шайб.
Аварийные режимы рассчитывались на самый худший вариант: при повреждении на участках 1 - 2 и 1 - 4. Диаметры головных участков обеих ветвей до перемычки приняты исходя из удельной потери напора Rуд
30 Па/м .
Предварительный гидравлический расчет основного расчетного режима, а также расчет двух аварийных режимов теплосети сведен соответственно в таблицы 1.5, 1.6 и 1.7.
Таблица 1.5 – Предварительный гидравлический расчет основного расчетного режима
| № участка |
Расход сетевой воды, Gуч , т/ч |
Длина участка, l, м |
Наружный диаметр и толщина стенки dн хS, мм |
Коэффициент α |
Приведенная длина, |
Удельные потери R, Па/м |
Скорость теплоносителя w, м/с |
Потери давления на участке |
Суммарные потери давления ∑ΔР, кПа |
Суммарные потери напора ΣΔН, м.вод.ст. |
| 1 |
2 |
3 |
4 |
5 |
6 |
7 |
8 |
9 |
10 |
11 |
| Основная магистраль ЦТП №25-ТЭЦ |
||||||||||
| ЦТП№4 -3 |
97,88 |
304 |
219х7 |
0,6 |
486,4 |
42,5 |
0,85 |
20,7 |
20,7 |
2,01 |
| 3 - 2 |
173,03 |
824 |
273х8 |
0,6 |
1318,4 |
42,5 |
0,95 |
56 |
76,7 |
7,43 |
| 2 - 1 |
421,19 |
762 |
377х9 |
0,8 |
1371,6 |
43 |
1,21 |
59 |
135,7 |
13,14 |
| 1 - ТЭЦ |
821,65 |
500 |
478х7 |
0,9 |
950 |
42 |
1,45 |
40 |
175,7 |
17,02 |
| Ответвления |
||||||||||
| ЦТП№5 -3 |
75,15 |
243 |
194х6 |
0,6 |
388,8 |
49 |
0,84 |
19,05 |
19,05 |
1,85 |
| Невязка |
||||||||||
| ЦТП№3-2 |
99,42 |
246 |
159х4,5 |
0,4 |
344,4 |
230 |
1,65 |
79,2 |
79,2 |
7,67 |
| Невязка |
||||||||||
| ЦТП№1-6 |
84,88 |
184 |
194х6 |
0,6 |
250,24 |
61,5 |
0,84 |
15,4 |
15,4 |
1,49 |
| 6 - 2 |
148,76 |
404 |
219х7 |
0,6 |
646,4 |
100 |
1,3 |
64,64 |
80,04 |
7,75 |
| Невязка Δ= |
||||||||||
| ЦТП№2-6 |
63,88 |
254 |
194х6 |
0,6 |
406,4 |
35 |
0,7 |
14,2 |
14,2 |
1,38 |
| Невязка |
||||||||||
| Вторая магистраль ЦТП№11-1 |
||||||||||
| ЦТП№11 - 5 |
63,01 |
484 |
194х6 |
0,6 |
774,4 |
35 |
0,71 |
27,1 |
27,1 |
2,62 |
| 5 - 4 |
180,94 |
598 |
273х8 |
0,6 |
956,8 |
46,5 |
1 |
44,5 |
71,6 |
6,93 |
| 4 - 1 |
400,46 |
850 |
377х9 |
0,8 |
1530 |
39 |
1,15 |
59,67 |
131,27 |
12,71 |
| Невязка Δ= |
||||||||||
| Ответвления |
||||||||||
| ЦТП№10 - 5 |
56,98 |
384 |
159х4,5 |
0,4 |
537,6 |
76 |
0,94 |
40,9 |
40,9 |
3,96 |
| Невязка |
||||||||||
| ЦТП№9 - 5 |
60,95 |
225 |
159х4,5 |
0,4 |
315 |
86 |
1 |
27,1 |
27,1 |
2,62 |
| Невязка |
||||||||||
| окончание таблицы 1.5 |
||||||||||
| 1 |
2 |
3 |
4 |
5 |
6 |
7 |
8 |
9 |
10 |
11 |
| ЦТП№7 - 7 |
74,34 |
303 |
194х6 |
0,6 |
484,8 |
48 |
0,83 |
23,27 |
23,27 |
2,25 |
| 7 - 4 |
146,11 |
296 |
219х7 |
0,6 |
473,6 |
96 |
1,28 |
45,5 |
68,77 |
6,66 |
| Невязка |
||||||||||
| ЦТП№8 - 7 |
71,78 |
191 |
159х4,5 |
0,4 |
267,4 |
130 |
1,18 |
34,8 |
34,8 |
3,37 |
| Невязка |
||||||||||
| ЦТП№6-4 |
73,4 |
184 |
133х4 |
0,4 |
257,6 |
300 |
1,7 |
77,3 |
77,3 |
7,49 |
| Невязка |
||||||||||
Таблица 1.6 – Предварительный гидравлический расчет первого аварийного режима работы тепловой сети
| № участка |
Расход сетевой воды, Gуч , т/ч |
Длина участка, l, м |
Наружный диаметр х толщина стенки dн хS, мм |
Коэффициент α |
Приведенная длина, |
Удель-ные потери R, Па/м |
Скорость теплоносителя w, м/с |
Потери давления на участке |
Суммарные потери давления ∑ΔР, кПа |
Суммарные потери напора ΣΔН, м.вод.ст. |
| 1 |
2 |
3 |
4 |
5 |
6 |
7 |
8 |
9 |
10 |
11 |
| Основная магистраль ЦТП№11-ТЭЦ |
||||||||||
| ЦТП№11-5 |
39,3 |
484 |
194х6 |
0,6 |
774,4 |
13,2 |
0,42 |
10,2 |
10,2 |
0,99 |
| 5 -4 |
112,6 |
283 |
273х8 |
0,6 |
452,8 |
18 |
0,63 |
8,2 |
18,4 |
1,78 |
| 4 |
249,5 |
835 |
325х8 |
0,8 |
1503 |
32,5 |
0,97 |
48,9 |
67,3 |
6,52 |
| 2 |
357,3 |
416 |
325х8 |
0,8 |
748,8 |
67,5 |
1,38 |
50,5 |
117,8 |
11,41 |
| 2 - 1 |
511,9 |
762 |
377х9 |
0,8 |
1371,6 |
64 |
1,47 |
87,8 |
205,6 |
19,91 |
| 1 - ТЭЦ |
511,9 |
500 |
478х7 |
0,9 |
950 |
16,2 |
0,88 |
15,4 |
221 |
21,4 |
| Невязка |
||||||||||
Таблица 1.7 – Предварительный гидравлический расчет работы тепловой сети второго аварийного режима
| № участка |
Расход сетевой воды, Gуч , т/ч |
Длина участ-ка, l, м |
Наружный диаметр и толщина стенки dн хS, мм |
Коэффициент α |
Приве-денная длина, |
Удель-ные по-тери R, Па/м |
Скорость теплоносителя w, м/с |
Потери давления на участке |
Суммарные потери давления ∑ΔР, кПа |
Суммарные потери напора ΣΔН, м.вод.ст. |
| 1 |
2 |
3 |
4 |
5 |
6 |
7 |
8 |
9 |
10 |
11 |
| Основная магистраль ЦТП№4-ТЭЦ |
||||||||||
| ЦТП№4 - 3 |
60,98 |
304 |
219х7 |
0,6 |
486,4 |
24 |
0,62 |
11,7 |
11,7 |
1,13 |
| 3- 2 |
107,8 |
406 |
273х8 |
0,6 |
649,6 |
16,7 |
0,6 |
10,9 |
22,6 |
2,19 |
| 2 |
262,4 |
835 |
325х8 |
0,8 |
1503 |
35,5 |
1,05 |
53,4 |
76 |
7,36 |
| 4 |
375,13 |
316 |
325х8 |
0,8 |
568,8 |
74 |
1,46 |
42,1 |
118,1 |
11,44 |
| 4 - 1 |
511,9 |
850 |
377х9 |
0,8 |
1530 |
64 |
1,47 |
97,9 |
216 |
20,92 |
| 1 - ТЭЦ |
511,9 |
500 |
478х7 |
0,9 |
950 |
16,2 |
0,88 |
15,4 |
231,4 |
22,41 |
| Невязка |
||||||||||
1.7.3 Разработка монтажной схемы
Монтажная схема разрабатывается после способа предварительного гидравлического расчета, по которому определены диаметры трубопроводов.
Разработка монтажной схемы заключается в разработке на трассе тепловых камер, неподвижных опор, компенсаторов и запорно-регулирующей арматуры.
Запорная арматура устанавливается:
- на всех трубопроводах вывода сетей от источника тепла, т.е. на выходе из ТЭЦ;
- в узлах на трубопроводах ответвлений при диаметре равном или большем 100 мм, а также в узлах ответвлений на трубопроводах тепловых сетей к отдельным зданиям независимо от диаметра;
- по основной магистрали на расстоянии от 1-го до 3-х км в зависимости от диаметров.
Выбор труб и арматуры осуществляют по рабочему давлению и температуре теплоносителя. Для теплосетей приняты трубы по ГОСТ 10704-91* электросварные стальные прямошовные. Соединяются трубы с помощью сварки.
В местах установки запорной арматуры предусматривается установка тепловых камер, размеры которых принимаются по [10] в зависимости от габаритов задвижек, диаметров трубопроводов.
Во всех тепловых камерах устанавливаются неподвижные опоры на трубопроводах большего диаметра. Все естественные повороты под углом 90° используются на самокомпенсацию температурных удлинений трубопроводов. Расстояние между неподвижными опорами на участках самокомпенсации следует принимать не более 60 % от предельно-допустимого расстояния между неподвижными опорами при установке П-образных компенсаторов.
Расстояние между основными неподвижными опорами в узлах разветвлений и выделяющих участки самокомпенсации делятся промежуточными неподвижными опорами на компенсационные участки.
В качестве неподвижных опор используются щитовые опоры Т8, лобовые Т4, в качестве подвижных используются - скользящие Т - 14.
До первого разветвления тепловой сети, т.е. до тепловой камеры УТ1 предусмотрена надземная прокладка, а после нее подземная, канальная прокладка, для которой в зависимости от диаметра трубопроводов подобраны каналы типа КЛс.
Монтажная схема вычерчивается в две линии, причем подающий трубопровод теплосети расположен справа по ходу движения теплоносителя.
П - образные компенсаторы направлены вылетом в сторону подающего трубопровода.
Монтажная схема разработана для рабочего режима и изображена на листе ТС4.
1.7.4 Окончательный гидравлический расчет тепловых сетей
После разработки монтажной схемы производится окончательный гидравлический расчет. По монтажной схеме определяются фактические местные сопротивления для каждого участка и производится окончательный гидравлический расчет.
Разница давлений в узловых точках основной магистрали и ответвлений должна быть не более 10 %. При невозможности уровнять потери давления параллельных ветках изменением диаметра, избыточное давление дросселируется шайбой. Шайба устанавливается на подающем или обратном трубопроводе. Диаметр шайбы, мм, рассчитывается на двойную величину невязки по формуле:
, (1.20)
где
- расчетный расход теплоносителя, т/час;
- избыточный напор шайбы, м. вод. ст.
Шайбы изготавливают из двух - и трехмиллиметровой стали и устанавливают между фланцами задвижек в тепловой камере.
Эквивалентные длины местных сопротивлений по участкам представлены в таблице 1.8. Окончательный гидравлический расчет сведен в таблицу 1.9, 1.10, 1.11.
Таблица 1.8 – Ведомость местных сопротивлений
| № участка |
dхS, мм |
Наименование местных сопротивлений |
Кол-во, шт. |
|
∑ |
| 1 |
2 |
3 |
4 |
5 |
6 |
| Основная расчетная магистраль ЦТП№4-ТЭЦ |
|||||
| ЦТП№4 - 3 |
219х7 |
П- образный компенсатор |
2 |
23,4 |
46,8 |
| задвижка |
1 |
3,36 |
3,36 |
||
| отвод крутоизогнутый 90° |
1 |
4,2 |
4,2 |
||
| тройник на проход при разд.потока |
1 |
8,4 |
8,4 |
||
| ∑ 62,76 |
|||||
| 3 - 2 |
273х8 |
П- образный компенсатор |
4 |
28 |
112 |
| задвижка |
1 |
3,33 |
3,33 |
||
| тройник на проход при разд.потока |
1 |
11,1 |
11,1 |
||
| ∑ 126,43 |
|||||
| 2 |
325х8 |
тройник на проход при разд.потока |
1 |
13,9 |
13,9 |
| П- образный компенсатор |
4 |
34 |
136 |
||
| задвижка |
1 |
4,17 |
4,17 |
||
| ∑ 154,7 |
|||||
| 2 - 1 |
377х9 |
тройник на проход при разд.потока |
1 |
33,6 |
33,6 |
| П- образный компенсатор |
6 |
40 |
240 |
||
| задвижка |
2 |
4,3 |
8,6 |
||
| отвод крутоизогнутый 90° |
1 |
8,4 |
8,4 |
||
| ∑ 290,6 |
|||||
| 1 - ТЭЦ |
478х7 |
||||
| П- образный компенсатор |
4 |
60 |
240 |
||
| Задвижка |
1 |
4,7 |
4,7 |
||
| ∑ 244,7 |
|||||
| Ответвления |
|||||
| ЦТП№5 - 3 |
194х6 |
П- образный компенсатор |
1 |
19 |
19 |
| тройник на ответвление при разд.потока |
1 |
10,9 |
10,9 |
||
| Задвижка |
1 |
2,9 |
2,9 |
||
| отвод крутоизогнутый 90° |
1 |
3,62 |
3,62 |
||
| ∑ 36,42 |
|||||
| ЦТП№1 - 6 |
194х6 |
П- образный компенсатор |
1 |
19 |
19 |
| тройник на проход при разд.потока |
1 |
7,24 |
7,24 |
||
| Задвижка |
1 |
2,9 |
2,9 |
||
| отвод крутоизогнутый 90° |
1 |
3,62 |
3,62 |
||
| ∑ 32,74 |
|||||
| продолжение таблицы 1.8 |
|||||
| 1 |
2 |
3 |
4 |
5 |
6 |
| ЦТП№2 - 6 |
194х6 |
П- образный компенсатор |
2 |
19 |
38 |
| задвижка |
1 |
2,9 |
2,9 |
||
| отвод крутоизогнутый 90° |
1 |
3,62 |
3,62 |
||
| тройник на ответвление при разд.потока |
1 |
10,9 |
10,9 |
||
| ∑ 55,42 |
|||||
| ЦТП№3 - 2 |
194х6 |
отвод крутоизогнутый 90° |
1 |
3,62 |
3,62 |
| тройник на ответвление при разд.потока |
1 |
10,9 |
10,9 |
||
| П- образный компенсатор |
2 |
19 |
38 |
||
| задвижка |
1 |
2,9 |
2,9 |
||
| ∑ 55,42 |
|||||
| 6 - 2 |
273х8 |
тройник на проход при разд.потока |
1 |
16,7 |
16,7 |
| П- образный компенсатор |
4 |
28 |
112 |
||
| задвижка |
1 |
3,33 |
3,33 |
||
| ∑ 132,03 |
|||||
| Вторая расчетная магистраль ЦТП№11-1 |
|||||
| ЦТП№11 - 5 |
194х6 |
тройник на проход при разд.потока |
1 |
7,24 |
7,24 |
| П- образный компенсатор |
4 |
19 |
76 |
||
| задвижка |
1 |
2,9 |
2,9 |
||
| отвод крутоизогнутый 90° |
2 |
3,62 |
7,24 |
||
| ∑ 93,38 |
|||||
| 5 - 4 |
273х8 |
тройник на проход при разд.потока |
1 |
11,1 |
11,1 |
| П- образный компенсатор |
3 |
28 |
84 |
||
| задвижка |
1 |
33,3 |
33,3 |
||
| ∑ 98,43 |
|||||
| 4 |
325х8 |
П- образный компенсатор |
3 |
34 |
102 |
| тройник на проход при разд.потока |
1 |
13,9 |
13,9 |
||
| задвижка |
1 |
4,17 |
4,17 |
||
| ∑120,07 |
|||||
| 4 - 1 |
377х9 |
П- образный компенсатор |
6 |
40 |
240 |
| задвижка |
2 |
4,3 |
8,6 |
||
| отвод крутоизогнутый 30° |
1 |
8,4 |
8,4 |
||
| тройник на проход при разд.потока |
1 |
33,6 |
33,6 |
||
| ∑ 290,6 |
|||||
| Ответвления |
|||||
| ЦТП№10 - 5 |
194х6 |
П- образный компенсатор |
3 |
19 |
57 |
| задвижка |
1 |
2,9 |
2,9 |
||
| отвод крутоизогнутый 90° |
1 |
3,62 |
3,62 |
||
| тройник на ответвление при разд.потока |
1 |
10,9 |
10,9 |
||
| ∑74,42 |
|||||
| ЦТП№9 - 5 |
159х4,5 |
П- образный компенсатор |
2 |
15,4 |
30,8 |
| отвод крутоизогнутый 90° |
1 |
2,8 |
2,8 |
||
| тройник на ответвление при разд.потока |
1 |
8,4 |
8,4 |
||
| задвижка |
1 |
2,24 |
2,24 |
||
| ∑44,24 |
|||||
| продолжение таблицы 1.8 |
|||||
| 1 |
2 |
3 |
4 |
5 |
6 |
| ЦТП№7-7 |
194х6 |
П- образный компенсатор |
2 |
19 |
38 |
| задвижка |
1 |
2,9 |
2,9 |
||
| отвод крутоизогнутый 90° |
1 |
3,62 |
3,62 |
||
| тройник на проход при разд.потока |
1 |
7,24 |
7,24 |
||
| ∑51,76 |
|||||
| ЦТП№8-7 |
194х6 |
П- образный компенсатор |
1 |
19 |
19 |
| задвижка |
1 |
2,9 |
2,9 |
||
| отвод крутоизогнутый 90° |
1 |
3,62 |
3,62 |
||
| тройник на ответвление при разд.потока |
1 |
10,9 |
10,9 |
||
| ∑35,6 |
|||||
| 7-4 |
219х7 |
П- образный компенсатор |
3 |
23,4 |
70,2 |
| задвижка |
1 |
3,36 |
3,36 |
||
| тройник на ответвление при разд.потока |
1 |
12,6 |
12,6 |
||
| ∑86,16 |
|||||
| ЦТП№6-4 |
159х4,5 |
П- образный компенсатор |
1 |
15,4 |
15,4 |
| задвижка |
1 |
2,24 |
2,24 |
||
| отвод крутоизогнутый 90° |
1 |
2,8 |
2,8 |
||
| тройник на ответвление при разд.потока |
1 |
8,4 |
8,4 |
||
| ∑28,84 |
|||||
| Перемычка |
|||||
| 2 |
325х8 |
П- образный компенсатор |
8 |
34 |
272 |
| задвижка |
2 |
4,17 |
8,34 |
||
| тройник на ответвление при разд.потока |
1 |
13,9 |
13,9 |
||
| ∑294,24 |
|||||
Таблица 1.9 – Окончательный гидравлический расчет основного расчетного режима
| № участка |
Расход сетевой воды G, т/ч |
Наружный диа-метр х толщина стенки dн хS, мм |
Длина участ-ка, l, м |
Уд. потери давления на участке R, Па/м |
Сумма экв.длин ∑ l э , м |
Приведенная длина lпр =l + ∑ lэ , м |
Потери давления на участке, DР = R∙lпр , кПа |
Суммарные потери давления ∑ ΔР, кПа |
Суммарные потери напора, ∑DН, м.вод.ст |
| 1 |
2 |
3 |
4 |
5 |
6 |
7 |
8 |
9 |
10 |
| Основная магистраль ЦТП№4-ТЭЦ |
|||||||||
| ЦТП№4 - 3 |
97,88 |
219х7 |
304 |
42,5 |
62,76 |
366,76 |
15,59 |
15,59 |
1,51 |
| 3 - 2 |
173,03 |
273х8 |
406 |
42,5 |
126,43 |
532,43 |
22,63 |
38,22 |
3,7 |
| 2 |
173,03 |
325х8 |
416 |
16 |
154,7 |
570,7 |
9,13 |
47,35 |
4,59 |
| 2 - 1 |
421,19 |
377х9 |
762 |
43 |
290,6 |
1052,6 |
45,26 |
92,61 |
8,97 |
| 1 - ТЭЦ |
821,65 |
478х7 |
500 |
42 |
244,7 |
744,7 |
31,28 |
123,89 |
12 |
| продолжение таблицы 1.9 |
|||||||||
| 1 |
2 |
3 |
4 |
5 |
6 |
7 |
8 |
9 |
10 |
| Ответвления |
|||||||||
| Ответвление ЦТП№5-3 |
|||||||||
| ЦТП№5-3 |
75,15 |
194х6 |
243 |
49 |
36,42 |
279,42 |
13,69 |
13,69 |
1,33 |
|
|
|||||||||
| Ответвление ЦТП№3-2 |
|||||||||
| ЦТП№3-2 |
99,42 |
194х6 |
246 |
86 |
55,42 |
301,42 |
25,92 |
25,92 |
2,51 |
| Невязка |
|||||||||
| Ответвление ЦТП№1-2 |
|||||||||
| ЦТП№1-6 |
84,88 |
194х6 |
184 |
61,5 |
32,76 |
216,76 |
13,33 |
13,33 |
1,29 |
| 6 - 2 |
148,76 |
273х8 |
404 |
31,5 |
132,03 |
536,03 |
16,89 |
30,22 |
2,93 |
| Невязка Δ= |
|||||||||
| Ответвление ЦТП№2-6 |
|||||||||
| ЦТП№2-6 |
63,88 |
194х6 |
254 |
35 |
55,42 |
309,42 |
10,83 |
10,83 |
1,05 |
| Невязка |
|||||||||
| Вторая магистраль ЦТП№11-1 |
|||||||||
| ЦТП№11 - 5 |
63,01 |
194х6 |
484 |
35 |
93,38 |
577,38 |
20,21 |
20,21 |
1,96 |
| 5 - 4 |
180,94 |
273х8 |
282 |
46,5 |
98,43 |
380,43 |
17,69 |
37,9 |
3,67 |
| 4 |
180,94 |
325х8 |
316 |
19 |
120,07 |
436,07 |
8,29 |
46,19 |
4,47 |
| 4 - 1 |
400,46 |
377х9 |
850 |
39 |
290,6 |
1140,6 |
44,48 |
90,67 |
8,78 |
| Невязка |
|||||||||
| Ответвления |
|||||||||
| Ответвление ЦТП№10-5 |
|||||||||
| ЦТП№10-5 |
56,98 |
194х6 |
384 |
31 |
74,42 |
458,42 |
14,21 |
14,42 |
1,37 |
| Невязка |
|||||||||
| Ответвление ЦТП№9-5 |
|||||||||
| ЦТП№9-5 |
60,95 |
159х4,5 |
225 |
86 |
44,24 |
269,24 |
23,16 |
23,16 |
2,24 |
| Невязка |
|||||||||
| Ответвление ЦТП№7-4 |
|||||||||
| ЦТП№7-7 |
74,34 |
194х6 |
303 |
48 |
51,76 |
354,76 |
17,03 |
17,03 |
1,65 |
| 7- 4 |
146,11 |
219х7 |
296 |
96 |
86,16 |
382,16 |
36,69 |
53,72 |
5,2 |
| Невязка |
|||||||||
| окончание таблицы 1.9 |
|||||||||
| 1 |
2 |
3 |
4 |
5 |
6 |
7 |
8 |
9 |
10 |
| Ответвление ЦТП№8-7 |
|||||||||
| ЦТП№8-7 |
71,78 |
194х6 |
191 |
44 |
35,6 |
226,6 |
9,97 |
9,97 |
0,97 |
| Невязка |
|||||||||
| Ответвление ЦТП№6-4 |
|||||||||
| ЦТП№6-4 |
73,4 |
159х4,5 |
184 |
133 |
28,84 |
212,84 |
28,31 |
28,31 |
2,74 |
| Невязка |
|||||||||
Для увязки потерь напора в параллельных ветвях предусматривается установка дроссельных шайб:
Участок ЦТП №3 - 2:
мм;
Участок ЦТП №8 - 7: dш =89 мм .
Участок 6 - 2: dш =102 мм .
Участок ЦТП №6 - 4: dш =71 мм .
Участок ЦТП№10 - 5: dш =82 мм .
Участок ЦТП №2 - 6: dш =109 мм .
Таблица 1.10 – Окончательный гидравлический расчет работы тепловой сети первого аварийного режима
| № участка |
Расход сетевой воды G, т/ч |
Наружный диа-метр х толщина стенки dн хS, мм |
Длина участ-ка, l, м |
Уд. потери давления на участке R, Па/м |
Сумма экв.длин ∑ l э , м |
Приведенная длина lпр =l + ∑ lэ , м |
Потери давления на участке, DР = R∙lпр , кПа |
Суммарные потери давления ∑ΔР, кПа |
Суммарные потери напора, ∑DН, м.вод.ст |
| 1 |
2 |
3 |
4 |
5 |
6 |
7 |
8 |
9 |
10 |
| Основная магистраль ЦТП№11-ТЭЦ |
|||||||||
| ЦТП№11 -5 |
39,3 |
194х6 |
484 |
13,2 |
93,38 |
577,38 |
7,62 |
7,62 |
0,74 |
| 5 - 4 |
112,6 |
273х7 |
283 |
18 |
98,43 |
381,43 |
6,87 |
14,49 |
1,41 |
| 4 |
249,5 |
325х8 |
835 |
32,5 |
294,24 |
1129,24 |
36,7 |
51,19 |
4,96 |
| 2 |
357,3 |
325х8 |
416 |
67,5 |
154,7 |
570,7 |
38,52 |
89,71 |
8,69 |
| 2 - 1 |
511,9 |
377х9 |
762 |
64 |
290,6 |
1052,6 |
67,37 |
157,08 |
15,21 |
| 1- ТЭЦ |
511,9 |
478х7 |
500 |
16,2 |
244,7 |
744,7 |
12,06 |
169,14 |
16,38 |
| Невязка Δ= |
|||||||||
| продолжение таблицы 1.10 |
|||||||||
| 1 |
2 |
3 |
4 |
5 |
6 |
7 |
8 |
9 |
10 |
| Ответвления |
|||||||||
| Ответвление ЦТП№11-5 |
|||||||||
| ЦТП№10-5 |
35,5 |
194х6 |
384 |
10,5 |
74,42 |
458,42 |
4,81 |
4,81 |
0,47 |
| Невязка |
|||||||||
| Ответвление ЦТП№9-5 |
|||||||||
| ЦТП№9-5 |
37,97 |
159х4,5 |
225 |
34 |
44,24 |
269,24 |
9,15 |
9,15 |
0,89 |
| Невязка |
|||||||||
| Ответвление ЦТП№7-4 |
|||||||||
| ЦТП№7-7 |
46,31 |
194х6 |
303 |
18,5 |
51,76 |
354,76 |
6,56 |
6,56 |
0,64 |
| 7 - 4 |
91,03 |
219х7 |
296 |
39 |
86,16 |
382,16 |
14,9 |
21,46 |
2,08 |
| 4 - 4 |
136,76 |
325х8 |
316 |
9,8 |
120,07 |
436,07 |
4,27 |
25,73 |
2,49 |
| Невязка |
|||||||||
| Ответвление ЦТП№8-7 |
|||||||||
| ЦТП№8-7 |
44,72 |
194х6 |
191 |
17,3 |
35,6 |
226,6 |
3,92 |
3,92 |
0,38 |
| Невязка |
|||||||||
| Ответвление ЦТП№6-4 |
|||||||||
| ЦТП№6-4 |
45,73 |
152х4,5 |
184 |
48,7 |
28,84 |
212,84 |
10,37 |
10,37 |
1 |
| Невязка |
|||||||||
| Ответвление ЦТП№4-2 |
|||||||||
| ЦТП№4- 3 |
60,98 |
219х7 |
304 |
16,8 |
62,76 |
366,76 |
6,16 |
6,16 |
0,6 |
| 3- 2 |
107,8 |
273х8 |
405 |
16,6 |
126,43 |
531,43 |
8,82 |
14,98 |
1,45 |
| Невязка |
|||||||||
| Ответвление ЦТП№5-3 |
|||||||||
| ЦТП№5 - 3 |
46,82 |
194х6 |
243 |
19 |
36,42 |
279,42 |
5,31 |
5,31 |
0,51 |
| Невязка |
|||||||||
| Ответвление ЦТП№1-2 |
|||||||||
| ЦТП№1 - 6 |
52,88 |
194х6 |
184 |
24 |
32,76 |
216,76 |
5,2 |
5,2 |
0,5 |
| 6 - 2 |
92,68 |
273х8 |
404 |
12,3 |
132,03 |
536,03 |
1,62 |
6,82 |
0,66 |
| Невязка |
|||||||||
| окончание таблицы №1.10 |
|||||||||
| Ответвление ЦТП№2-6 |
|||||||||
| ЦТП№2 - 6 |
39,8 |
194х6 |
254 |
13,6 |
55,42 |
309,42 |
4,21 |
4,21 |
0,41 |
| Невязка |
|||||||||
| Ответвление ЦТП№3-2 |
|||||||||
| ЦТП№3-2 |
61,94 |
194х6 |
246 |
32 |
55,42 |
301,42 |
9,65 |
9,65 |
0,94 |
| Невязка |
|||||||||
Таблица 1.11 – Окончательный гидравлический расчет работы тепловой сети второго аварийного режима
| № участка |
Расход сетевой воды G, т/ч |
Наружный диа-метр х толщина стенки dн хS, мм |
Длина участ-ка, l, м |
Уд. потери давления на участке R, Па/м |
Сумма экв.длин ∑ l э , м |
Приведенная длина lпр =l + ∑ lэ , м |
Потери давления на участке, DР = R∙lпр , кПа |
Суммарные потери давления ∑ΔР, кПа |
Суммарные потери напора, ∑DН, м.вод.ст |
|
| 1 |
2 |
3 |
4 |
5 |
6 |
7 |
8 |
9 |
10 |
|
| Основная магистраль ЦТП№4-ТЭЦ |
||||||||||
| ЦТП№4 - 3 |
60,98 |
219х7 |
304 |
24 |
62,76 |
366,76 |
8,8 |
8,8 |
0,85 |
|
| 3 - 2 |
107,8 |
273х8 |
406 |
16,7 |
126,43 |
532,43 |
8,89 |
17,69 |
1,71 |
|
| 2 |
262,4 |
325х8 |
835 |
35,5 |
294,24 |
1129,24 |
36,7 |
54,39 |
5,27 |
|
| 4 |
375,13 |
325х8 |
316 |
74 |
120,07 |
436,07 |
32,27 |
86,66 |
8,39 |
|
| 4 - 1 |
511,9 |
377х9 |
850 |
64 |
290,6 |
1140,6 |
73 |
159,66 |
15,46 |
|
| 1 - ТЭЦ |
511,9 |
478х7 |
500 |
16,2 |
244,7 |
744,7 |
12,06 |
171,72 |
16,63 |
|
| Невязка Δ= |
||||||||||
| Ответвления |
||||||||||
| Ответвление ЦТП№5-3 |
||||||||||
| ЦТП№5 - 3 |
46,82 |
194х6 |
243 |
19 |
36,42 |
279,42 |
5,31 |
5,31 |
0,51 |
|
| Невязка |
||||||||||
| Ответвление ЦТП№1-2 |
||||||||||
| ЦТП№1 - 6 |
52,88 |
194х6 |
184 |
24 |
32,76 |
216,76 |
5,2 |
5,2 |
0,5 |
|
| 6 - 2 |
92,68 |
273х8 |
404 |
12,3 |
132,03 |
536,03 |
1,62 |
6,82 |
0,66 |
|
| 2 - 2 |
154,62 |
325х8 |
416 |
12,5 |
154,7 |
570,7 |
7,13 |
13,95 |
1,35 |
|
| Невязка |
||||||||||
| окончание таблицы 1.11 |
||||||||||
| 1 |
2 |
3 |
4 |
5 |
6 |
7 |
8 |
9 |
10 |
|
| Ответвление ЦТП№2-6 |
||||||||||
| ЦТП№2-6 |
39,8 |
194х6 |
254 |
13,6 |
55,42 |
309,42 |
4,21 |
4,21 |
0,41 |
|
| Невязка |
||||||||||
| Ответвление ЦТП№3-2 |
||||||||||
| ЦТП№3-2 |
61,94 |
194х6 |
246 |
32 |
55,42 |
301,42 |
9,65 |
9,65 |
0,94 |
|
| Невязка |
||||||||||
| Ответвление ЦТП№11-4 |
||||||||||
| ЦТП№11-5 |
39,3 |
194х6 |
484 |
13,2 |
93,38 |
577,38 |
7,62 |
7,62 |
0,74 |
|
| 5 - 4 |
112,6 |
273х8 |
283 |
18 |
98,43 |
381,43 |
6,87 |
14,49 |
1,41 |
|
| Невязка |
||||||||||
| Ответвление ЦТП№10-5 |
||||||||||
| ЦТП№10-5 |
35,5 |
194х6 |
384 |
10,5 |
74,42 |
458,42 |
4,81 |
4,81 |
0,47 |
|
| Невязка |
||||||||||
| Ответвление ЦТП№9-5 |
||||||||||
| ЦТП№9-5 |
37,97 |
159х4,5 |
225 |
34 |
44,24 |
269,24 |
9,15 |
9,15 |
0,89 |
|
| Невязка |
||||||||||
| Ответвление ЦТП№7-4 |
||||||||||
| ЦТП№7- 7 |
46,31 |
194х6 |
303 |
18,5 |
51,76 |
354,76 |
6,56 |
6,56 |
0,64 |
|
| 7 - 4 |
91,03 |
219х7 |
296 |
39 |
86,16 |
382,16 |
14,9 |
21,46 |
2,08 |
|
| Невязка |
||||||||||
| Ответвление ЦТП№8-7 |
||||||||||
| ЦТП№8-7 |
44,72 |
194х6 |
191 |
17,3 |
35,6 |
226,6 |
3,92 |
3,92 |
0,38 |
|
| Невязка |
||||||||||
| Ответвление ЦТП№6-4 |
||||||||||
| ЦТП№6-4 |
45,73 |
159х4,5 |
184 |
48,7 |
28,84 |
212,84 |
10,37 |
10,37 |
1 |
|
| Невязка |
||||||||||
Анализ основного и аварийных режимов работы тепловой сети
Некоторое увеличение диаметров обеих ветвей теплопроводов от узловой камеры УТ 7 до резервирующей перемычки позволило обеспечить работу тепловой сети в аварийных режимах с незначительным увеличением гидравлического сопротивления тепловой сети. Потери напора в первом аварийном режиме составляющие 16,38 м вод. ст. и во втором аварийном режиме – 16,63 м вод. ст., превышают потери напора в основном расчетном режиме, составляющие 12 м вод. ст., на 35%, что позволяет обойтись одной группой сетевых насосов.
Такое соотношение суммарных потерь напора в основном и аварийном режимах работы позволяет обеспечивать нормальную работу тепловой сети одной группой сетевых насосов. Таким образом некоторые корректировки диаметров в основном расчетном режиме работы тепловой сети и устройство резервной перемычки позволило значительно повысить ее надежность.
При работе в первом аварийном режиме сопротивление ветви ![]()
– ЦТП№4 увеличивается путем прикрытия задвижки в камере УТ3. При работе во втором аварийном режиме сопротивление ветви
– ЦТП№11 увеличивается прикрытием задвижки в камере УТ6. Таким образом для обеспечения работы тепловой сети в аварийных режимах требуется соответствующая регулировка тепловой сети.
1.8 Разработка гидравлического режима тепловой сети
1.8.1 Построение пьезометрического графика
Пьезометрический график разрабатывается для основной магистрали и ответвлений, наиболее характерных по рельефу (высшие и низшие точки).
При построении графика условно принимают, что отметки прокладки трубопроводов установки насосов и нагревательных приборов на 1 этаже зданий совпадают с отметкой земли, а наивысшее положение воды в системе принимается равным высоте зданий.
Пьезометрический график позволяет определить давление в подающих и обратных трубопроводах, располагаемые напоры на выводах тепловой сети у источника теплоты и на тепловых пунктах потребителей, давление на всасывающих патрубках сетевых и подкачивающих насосов.
Пьезометрический график строят следующим образом:
1) по имеющимся горизонталям строят профиль местности по трассе основной магистрали и характерным ответвлениям. На профиле проставляют высоты присоединенных зданий ;
2) линия вскипания воды строится параллельно профилю местности с ординатой в каждой точке Hвск = 40 м вод. ст.
3) линия статического давления S - S наносится, исходя из условий заполнения водой всех абонентских систем, т.е. линия статического давления не должна пересекать высот абонентских зданий, плюс 5 м на свободный напор;
4) наносят линии пьезометрических напоров подающей и обратной магистрали. Потери напора в сетевом оборудовании ТЭЦ: DНТЭЦ =20÷25 м вод. ст.
, а у абонентов: DНаб = 25 м вод. ст.
Пьезометрический график строится исходя из условий:
1) пьезометрическое давление в подающей магистрали не должно превышать пределов прочности трубопроводов и оборудования и должно быть больше давления вскипания;
2) пьезометрическое давление в обратном трубопроводе не должно превышать пределов прочности местных систем потребителей, подключенных к сети, но оно не должно быть менее 5 м. вод. ст. во избежание образования вакуума и подсоса воздуха.
В соответствии с этими рекомендациями разрабатывается пьезометрический график для расчетного зимнего и летнего режимов работы тепловой сети.
Потери напора на расчетных участках необходимые для построения пьезометрического графика в основном и двух аварийных режимах работы тепловой сети принимают по данным таблиц 1.9, 1.10, 1.11.
Ниже приводятся данные из таблицы 1.9 для основной магистрали и ответвлений в основном режиме работы тепловой сети.
Исходными данными для зимнего расчетного режима служат:
– для основной магистрали:
ТЭЦ – ЦТП№25:
= 2351,71 т/час;
= 19,23м вод. ст.;
7 – ЦТП№32:
= 1147,99 т/час;
= 14,15 м вод. ст.;
– для ответвлений:
ЦТП№12 – 14:
= 160,03 т/час;
= 12,93 м вод. ст. ;
ЦТП№14 – 13:
= 130,73 т/час;
= 8,97 м вод. ст.;
ЦТП№26 – 10:
= 141,82 т/час;
= 7,49 м вод. ст.;
Потери напора на любом участке в неотопительный период Н s м вод. ст. рассчитываются по формуле:
, (1.21)
где
– расход теплоносителя в летний период;
– расход теплоносителя в отопительный период;
Н – потери напора в основном расчетном режиме работы, м вод. ст.
ks
=
– коэффициент пересчета потерь напора.
Для неотопительного периода расход,
, т/час, рассчитывается по формуле:
, (1.22)
где
– максимальная нагрузка на горячее водоснабжение, кВт;
=16243,6 кВт;
– температура теплоносителя в подающем трубопроводе в точке излома графика,
=70 °С;
– температура теплоносителя на выходе из водоподогревательной установки в точке излома графика регулирования,
=30°С;
![]()
т/час;
ks
=
;
Нs =12×0,34=4,08 м .
Пьезометрические графики рабочего режима для магистрали и ответвлений изображены на листе ТС 5. Пьезометрические графики аварийных режимов для магистралей изображены на листе ТС 6.
1.8.2 Подбор сетевых и подпиточных насосов
1.8.2.1 Сетевые насосы
Производительность сетевых насосов при работе в отопительный период принимаются по основному расчетному режиму и составляют
=
821,65 т/ч, а для летнего периода
=
279,33 т/ч .
Суммарные потери напора в расчетной магистрали тепловой сети принимаются по второму аварийному режиму и составляют ∑ΔН1 =∑ΔН2 = 16,6 м вод. ст.
Рабочий напор сетевых насосов при отсутствии в тепловой сети регуляторов давления и подкачивающих насосов определяются для отопительного и летнего периода по формуле:
, (1.23)
где
– потери напора в подогревательном оборудовании источника тепла,
=
20 ¸ 25 м вод. ст.
;
ΣDH1 , ΣDH2 – суммарные потери напора в расчетной ветви (из таблицы 1.9), ΣDH1 = ΣDH2 = 16,6 м вод.ст;
– располагаемый напор на вводе в ЦТП, DHаб
= 25 м вод. ст.
м;
Устанавливается не менее двух насосов, один из которых резервный.
По справочнику [13] подбирается сетевой насос. В качестве сетевых рекомендуется принимать насосы марок СД и СЭ.
Принимаем к установке 2 насоса СЭ 2500-60, один из которых резервный. Они имеют следующие технические характеристики:
Сетевой насос типа СЭ 2500-60:
– расход воды 2500м3 /час;
– напор 60м;
– рабочее давление на входе, не более 1,13 МПа;
– КПД не менее 86 %;
– мощность (при
=20 °С,
=1000 кг/м3
) – 475кВт;
электродвигатель типа А312-41-4:
– мощностью 500кВт;
– напряжением 6000 В;
– частотой вращения (синхронного) – 1500 мин-1 ;
– диаметр рабочего колеса
= 415 мм.
Рабочий напор сетевых насосов, м вод. ст., в неотопительный период определяются по зависимости:
.
Располагаемый напор на вводе в ЦТП
принимается в рвзмере 25 м вод. ст. Потери напора в тепловой сети и оборудовании ТЭЦ принимается в рвзмере 20 м вод. ст.
=25+2×12×0,34+20=53,16 м .
Для обеспечения нормальной работы в аварийных режимах работы, сетевые насосы должны быть оборудованы частотно-регулирующим приводом.
1.8.2.2 Подпиточные насосы
Напор подпиточного насоса определяется по пьезометрическому графику. Производительность подпиточных насосов в закрытых системах теплоснабжения должна приниматься равной расходу воды на компенсацию утечек из тепловой сети.
Hпн = 46 м вод. ст.
Расход подпиточной воды принимается в размере 0,75% от расчетного объема воды в трубопроводах тепловой сети, и присоединенных систем отопления, и вентиляции зданий. Объем подпиточной воды, м3 /час, в закрытой системе теплоснабжения определяется по формуле:
, (1.24)
где 65 – объем воды, необходимой на 1 МВт тепловой нагрузки;
– общая тепловая нагрузка на отопление и вентиляцию, м3
;
. (1.25)
= 76,4 МВт;
= 0,0075∙[65∙76,4] = 37,25 м3
/час.
Принимаем к установке 2 подпиточных насоса марки К 90/55 с техническими характеристиками:
Консольный насос типа К 90/55:
– расход воды 60 м3 /час;
– напор 60 м;
– диаметр рабочего колеса
=200 мм;
– мощностью 22 кВт;
– КПД не менее 65 %;
электродвигатель типа А02-71-2:
– мощностью 22 кВт;
– частотой вращения 2900 мин-1 .
1.9 Тепловой расчет сети
Для трубопроводов тепловых сетей, включая арматуру, фланцевые соединения и компенсаторы, тепловую изоляцию необходимо предусматривать независимо от температуры теплоносителя и способов прокладки.
Теплоизоляционные конструкции тепловых сетей следует предусматривать из следующих элементов:
– теплоизоляционного слоя;
– армирующих и крепежных деталей;
– покровного слоя.
Для теплоизоляционного слоя трубопроводов при всех способах прокладки, кроме бесканальной, следует применять материалы и изделия со средней плотностью не более 400 кг/м3 и теплопроводностью не выше 0,07 Вт/м °С.
Теплоизоляционные конструкции следует предусматривать из материалов, обеспечивающих: тепловой поток через изолированные поверхности согласно нормированной плотности теплового потока; исключение выделения в процессе эксплуатации вредных, пожароопасных и взрывоопасных, неприятно пахнущих веществ в количествах, превышающих предельно допустимые концентрации; исключение выделения в процессе эксплуатации болезнетворных бактерий.
1.9.1 Расчет тепловой изоляции по нормированной плотности теплового потока при подземной прокладке в непроходных каналах
Определение толщины изоляции по заданной потере тепла является наиболее распространенным случаем расчета тепловой изоляции. Расчет может производится исходя из нормативных плотностей теплового потока(qF н , qL н )и как завершающий этап более сложного расчета, в результате которого определяются тепловые потери, удовлетворяющие производственно-техническим и технологическим требованиям.
Подземная прокладка в непроходных каналах запроектирована в зоне жилой застройки. Расчет производится для среднего диаметра.
Средний диаметр, тепловой сети по основной магистрали ЦТП№4-1 рассчитывается по формуле:
(1.26)
где
,
,
– диаметры трубопроводов на данных участках, мм;
,
,
– длина данного участка, м;
Принимается ближайший стандартный диаметр dср
= 325х8 мм.
Теплопровод диаметром
= 325х8 мм прокладывается в одноячейковом канале КС 150– 90.
В соответствии с рекомендациями таблицы 8[17] норма плотности теплового потока для подающего и обратного трубопроводов при канальной прокладке и среднегодовых температурах 90/50 составляет:
Вт/м;
Вт/м .
Принимаем непроходной канал КC 150 – 90. Норма плотности теплового
потока в европейском регионе принимаем согласно [17] при числе часов работы тепловой сети более 5000 часов по таблице 8
=79Вт/м. Температура теплоносителя в подающем трубопроводе t1
= 90°С, в обратном t2
= 50°С. Коэффициент К, учитывающий изменение стоимости теплоты в зависимости от района строительства следует принимать по таблице 13 [17].
Тепловые потери через изолированную поверхность двухтрубных тепловых сетей, прокладываемых в непроходном канале шириной b и высотой h, м , на глубине Н , м, от поверхности земли до оси канала определяются по формуле:
, (1.27)
а температура воздуха в канале tкан
, (1.28)
где
;
; (1.29)
; (1.30)
; (1.31)
где
,
– линейные плотности теплового потока от подающего и обратного трубопроводов, Вт/м;
,
– наружные диаметры подающего и обратного трубопроводов, м;
,
–
температуры подающего и обратного трубопроводов, о
С;
К- коэффициент дополнительных потерь(таблица1[17]);
,
– термические сопротивления изоляции подающего и обратного трубопроводов, м о
С/Вт;
,
– термические сопротивления теплоотдаче от поверхности изоляции подающего и обратного трубопроводов, м о
С/Вт;
– термическое сопротивления теплоотдаче от воздуха к поверхности канала, м о
С/Вт;
–коэффициент теплоотдачи в канале, принимается равным 11 Вт/(м2
о
С);
– теплопроводность изоляции в конструкции, Вт/(м о
С);
,
– толщины изоляции подающего и обратного трубопроводов, м;
– термическое сопротивление грунта, Вт/(м о
С).
Термическое сопротивление грунта, определяется по формуле:
; (1.32)
где
- теплопроводность грунта, Вт/(м о
С), (таблица 6[17]).
Затем вычисляются для каждого трубопровода величины ![]()
и
по формулам:
;
. (1.33)
Определив натуральные логарифмы В1 и В2 ,по формуле (1.34) вычисляют значения толщин изоляции
,
, (1.34)
обеспечивающих нормативные потери тепла.
При расчете изоляции двухтрубных канальных прокладок тепловых сетей в качестве температур внутренней среды принимают среднегодовые температуры теплоносителя в подающих и обратных трубопроводах(таблица 5[17]).
За расчетную температуру наружной среды принимают среднюю за год температуру грунта на глубине заложения трубопровода. При расстоянии от поверхности грунта до перекрытия канала 0,7 м и менее за расчетную температуру наружной среды должна приниматься та же температура наружного воздуха, что и при надземной прокладке.
В качестве теплоизоляционного материала принимаются маты минераловатные прошивные марки М - 100 ГОСТ 21880 - 86.
Коэффициент теплопроводности изоляции рассчитывается по формуле:
=0,04500+0,00021t,
где t – средняя температура теплоизоляционного слоя в каналах
Средняя температура теплоизоляционного слоя в каналах рассчитывается по формуле, о С:
, (1.35)
где
– температура воды, о
С;
= 90 о
С в подающем трубопроводе,
= 50 о
С в обратном трубопроводе;
= 0,04500+0,00021×
= 0,0587 Вт/(м о
С);
= 0,04500+0,00021×
= 0,0545 Вт/(м о
С).
Толщина основного теплоизоляционного слоя для подающего трубопровода – 100 мм, для обратного – 80 мм.
Определим толщину тепловой изоляции:
м о
С/Вт;
м о
С/Вт;
м о
С/Вт;
м о
С/Вт;
м о
С/Вт;
Вт/(м о
С);
о
С;
, В1
=1,69;
, В2
=
1,49;
мм ,
мм .
Принимаем толщину тепловой изоляции для подающего трубопровода
=
120 мм, для обратного
=
80 мм .
1.9.2 Расчет тепловой изоляции по нормированной плотности теплового потока при надземной прокладке
За пределами жилой зоны проложен теплопровод d=478х7мм.
Толщина изоляции цилиндрической поверхности диаметром менее 2 м определяется в соответствии с рекомендациями [17] по формуле:
, (1.36)
где
– средняя температура теплоносителя, о
С;
– среднегодовая температура наружного воздуха, о
С;
– термическое сопротивление поверхности изоляции, м о
С/Вт;
– нормируемые удельные потери тепла, Вт/м, принимаются по данным таблицы 3[17].
Определив по формуле (1.36) значение lnB, находят значение В, а затем толщину тепловой изоляции, мм:
. (1.37)
Для подающего трубопровода:
Вт/м .
Для обратного трубопровода:
= 48,2 Вт/м
Значение
принимается по данным таблицы 3 [17],
=0,02 м о
С/Вт
Коэффициент теплопроводности изоляции рассчитывается по формуле:
=0,04500+0,00021t,
где t- средняя температура теплоизоляционного слоя на открытом воздухе.
Средняя температура теплоизоляционного слоя на открытом воздухе рассчитывается по формуле, о С:
, (1.38)
где
– температура воды, о
С;
= 90 о
С в подающем трубопроводе,
=50 о
С в обратном трубопроводе;
=0,04500+0,00021×
= 0,0545 Вт/(м о
С);
=0,04500+0,00021×
= 0,0503 Вт/(м о
С);
По формуле (1.36) рассчитывается значение lnB для подающего и обратного трубопроводов:
, В1
=1,47;
, В2
=1,42;
мм ,
.
Принимается тепловая изоляция толщиной для подающего трубопровода
=
110 мм, для обратного
=
100 мм .
1.10 Выбор и механический расчет конструктивных элементов тепловой сети
1.10.1 Расчет труб на прочность
Расчет ведется для трубопроводов среднего диаметра по основной магистрали и включает в себя расчет толщины стенки трубы и определение суммарного напряжения от внутреннего давления при известной толщине стенки трубы.
1.10.1.1 Расчет толщины стенки трубы
Необходимую толщину стенки трубы определяют в зависимости от внутреннего давления теплоносителя при гибких компенсаторах и самокомпенсации, мм, по формуле:
, (1.39)
где
– рабочее давление теплоносителя, МПа;
– наружный диаметр трубы, мм;
– допустимое напряжение от внутреннего давления, принято равным 117 МПа;
– коэффициент прочности продольного или спирального сварного шва,
=0,7¸0,9;
с – прибавка к расчетной толщине стенки трубы, с=0,5 мм.
мм.
1.10.1.2 Определение суммарного напряжения от внутреннего давления теплоносителя при выбранной толщине стенки трубы
, МПа, (1.40)
где
,
– принятая толщина стенки, мм;
=7-0,5=6,5 мм.
МПа.
Должно быть выполнено условие
£
, т.е. 72,09 МПа £ 117 МПа – верно.
1.10.2 Расчет компенсации температурных удлинений
Для компенсации температурных удлинений трубопроводов принимаются П-образные компенсаторы и используются повороты трассы для самокомпенсации.
Расчет естественных компенсаций и П-образных компенсаторов заключается в определении усилий
и максимальных напряжений
, возникающих в опасных сечениях, при этом
для П-образных компенсаторов 110 МПа, для участков самокомпенсации – 80 МПа.
По номограммам для П-образных компенсаторов стр. 390¸460 [23] определяют по расчетному удлинению
: вылет компенсатора
и силу упругой деформации
.
Величина теплового удлинения трубопровода, Δl, м вычисляют по формуле:
, (1.41)
где
– коэффициент линейного расширения, который принимается равным при
= 150 °С,
=1,25×10-5
м/м °С;
=150 °С – максимальная температура стенки трубы;
– минимальная температура стенки, принимается равной
=-29°С;
– длина участка трубы, м.
Для увеличения компенсирующей способности П-образных компенсаторов и снижения напряжений предусматривается предварительная растяжка в размере 50% теплового удлинения. Поэтому расчетные тепловые удлинения рассчитываемого участка равно:
Δlp =0,5Δl мм (1.42)
Произведем расчет компенсатора К1, показанного на рисунке 1.4:
Рисунок 1.4 – Схема П-образного компенсатора
=1,25×10-5
×125 (150-(-29))= 0,280 м = 280 мм,
Δlp = 0,5×280=140 мм .
По номограммам лист [12] подбирается компенсатор К1:
– вылет компенсатора
= 7,7 м;
– полка компенсатора В= 0,5×Н= 7,7×0,5 = 3,85 м;
– сила упругой деформации
=18,62 кН.
Расчет остальных компенсаторов сведен в таблицу 1.12.
Таблица 1.12 – Расчет П-образных компенсаторов
| № компенсатора |
dхS, мм |
L, м |
∆l, мм |
∆lp , мм |
H, м |
B, м |
Pk, кН |
| 1 |
2 |
3 |
4 |
5 |
6 |
7 |
8 |
| 1,2,3,4 |
478х7 |
125 |
280 |
140 |
7,7 |
3,85 |
18,62 |
| 5,6,7 |
377х9 |
130 |
291 |
145,5 |
7,1 |
3,55 |
17,93 |
| окончание таблицы 1.12 |
|||||||
| 1 |
2 |
3 |
4 |
5 |
6 |
7 |
8 |
| 8,9,10 |
377х9 |
125,72 |
281 |
140,5 |
7,4 |
3,7 |
18,82 |
| 21,22,23 |
377х9 |
121,42 |
272 |
136 |
7,7 |
3,85 |
19,6 |
| 24,25,26 |
377х9 |
105,66 |
236 |
118 |
8,5 |
4,25 |
22,05 |
| 11,12,13 |
325х8 |
105,34 |
236 |
118 |
6,1 |
3,05 |
13,33 |
| 27,28,29,30 |
325х8 |
104 |
233 |
116,5 |
6,16 |
3,08 |
13,45 |
| 59,60,61,62,63,64,65,66 |
325х8 |
104,38 |
234 |
117 |
6,14 |
3,07 |
13,45 |
| 14,15,16 |
273х8 |
94,34 |
211 |
105,5 |
5,64 |
2,82 |
11,76 |
| 31,32,33,34 |
273х8 |
101,5 |
227 |
113,5 |
5,3 |
2,65 |
11,17 |
| 35,36 |
219х7 |
100 |
224 |
112 |
5,28 |
2,64 |
7,15 |
| 17,18 |
194х6 |
100 |
224 |
112 |
6,5 |
3,25 |
8,43 |
| 19,20 |
194х6 |
80 |
179 |
89,5 |
8,3 |
4,15 |
12,94 |
Расчет естественных компенсаций заключается в определении усилий Рх и Ру и максимальных напряжений d, возникающих в опасных сечениях.
1) Проверяется возможность использования для самокомпенсации Г-образного участка трубопровода диаметром 377 между неподвижными опорами Н8 и Н9 при следующих данных:
– наружный диаметр Dн , мм 377;
– толщина стенки трубы S, мм 9;
– угол поворота, град 90°;
– длина большего плеча lб , м 62,86;
– длина меньшего плеча lм , м 20;
– максимальная температура теплоносителя, °С 150;
– расчетная температура наружного воздуха, tн , °С -29 .
Расчетный угол b=90°-90°=0°; соотношение плеч
; расчетная разность температур Dt=150-(-29)=179 °С.
Определяется: n=3,14 и b=0 °, С=6; А=17; В=2,5.
Определяется значения вспомогательных величин для Dн =377 мм и S=9 мм:
кгс м2
/ °С;
кгсм /мм2
°С.
Продольное изгибающее компенсационное напряжение в заделке плеча, кгс/мм2 , определяется по формуле:
, (1.43)
где С – коэффициент, С = 6;
– вспомогательная величина,
= 0,0905 кгс м/мм2
°С;
Dt – расчетная разность температур, Dt =179 °С;
l – длина плеча, l = 20 м.
кгс м2
/ °С =47,68 МПа;
Полученное значение не превышает заданного предела
МПа, следовательно, размеры плеч достаточны. Силы упругой деформации в заделке плеча, кгс:
, (1.44)
где А – коэффициент, А=17;
– вспомогательная величина,
=42,3 кгс м2
/ °С.
кгс =3156,86 Н;
, (1.45)
где В – коэффициент, В = 2,5.
кгс =254,77 Н.
2) Проверяется возможность использования для самокомпенсации Г-образного участка трубопровода диаметром 377между неподвижными опорами Н27и Н28 при следующих данных:
– наружный диаметр Dн , мм 377;
– толщина стенки трубы S, мм 9;
– угол поворота, град 90°;
– длина большего плеча lб , м 60,71;
– длина меньшего плеча lм , м 20;
– максимальная температура теплоносителя, °С 150;
– расчетная температура наружного воздуха, tн , °С -29 .
Расчетный угол b=90°-90°=0°; соотношение плеч
; расчетная разность температур Dt =150-(-29) =179 °С.
Определяется: n=3,04 и b=0 °, С=5,8; А=16,7; В=2,65.
Определяется значения вспомогательных величин для Dн =377 мм и S=9 мм:
кгс м2
/ °С;
кгсм /мм2
°С.
кгс м2
/ °С =46,1 МПа.
Полученное значение не превышает заданного предела
МПа, следовательно, размеры плеч достаточны.
кгс =3101,14 Н;
кгс =269,97 Н.
3) Проверяется возможность использования для самокомпенсации Г-образных участков трубопровода диаметром 194 между неподвижными опорами Н68 и Н69 при следующих данных:
– наружный диаметр Dн , мм 194;
– толщина стенки трубы S, мм 6;
– угол поворота, град 90°;
– длина большего плеча lб , м 49;
– длина меньшего плеча lм , м 35;
– максимальная температура теплоносителя, °С 150;
– расчетная температура наружного воздуха, tн , °С -29 .
Расчетный угол b=90°-90°=0°; соотношение плеч
; расчетная разность температур Dt=150-(-29)=179 °С.
По номограммам /рис. 6, 7 [11]/ определяем значения вспомогательных коэффициентов при n=1,4 и b=0 °, С=3,5; А=12; В=6,8.
|
кгс м2
/ °С;
|
|
кгс м2
/ °С =14,32 МПа.
Полученное значение не превышает заданного предела
МПа, следовательно, размеры плеч достаточны.
кгс =167,56 Н;
кгс =52,09 Н.
1.10.3 Определение результирующих горизонтальных усилий на неподвижные опоры
Опоры в тепловых сетях устанавливают для восприятия усилий, возникающих в теплопроводах и передачи их на несущие конструкции или грунт.
Неподвижные опоры предназначены для закрепления трубопровода в отдельных точках, разделения его на независимые по температурным деформациям участки и для восприятия усилий, возникающих на этих участках.
Усилия, воспринимаемые неподвижными опорами, складываются из неуравновешенных сил внутреннего давления, реакции подвижных опор и реакций компенсаторов.
В общем виде горизонтальное усилие,
, Н, действующее на неподвижную опору рассчитывается по формуле:
, (1.46)
где
- внутреннее давление рабочее, Па;
- площадь поперечного сечения по
;
- коэффициент трения на подвижных опорах, для скользящих опор
=0,3;
- удельная нагрузка на единицу длины, Н/м;
- разность длин участков трубопроводов с обеих сторон неподвижной опоры, м;
- разность осевых сил компенсаторов с обеих сторон неподвижной опоры, Н;
- коэффициент, зависящий от направления действия осевых усилий внутреннего давления с обеих сторон опоры, что определяется конфигурацией трубопровода и способом компенсации температурных деформаций.
При применении П - образных компенсаторов силы внутреннего давления воспринимаются трубопроводом и на неподвижную опору не передаются. Таким образом, при расчете опор учитываются реакции подвижных опор и реакции компенсаторов.
На концевые неподвижные опоры горизонтальные осевые нагрузки определяются по сумме сил, действующих на опору с одной стороны.
Горизонтальные осевые нагрузки на промежуточные опоры определяются с учетом всех действующих сил по обе стороны опоры. При этом горизонтальные осевые нагрузки на промежуточные опоры должны определяться как разность сумм сил, действующих с каждой стороны опоры, при этом меньшая сумма сил принимается с коэффициентом 0,7, а когда суммы сил с обеих сторон опоры одинаковы, то берется сумма сил с одной стороны с коэффициентом 0,3.
Кроме горизонтальных осевых нагрузок на неподвижные опоры действуют горизонтальные боковые нагрузки, которые учитываются при поворотах трассы и от ответвлений трубопроводов. При двухсторонних ответвлениях трубопроводов боковая нагрузка на опору учитывается только от ответвления с наибольшей нагрузкой.
Неподвижные опоры труб должны рассчитываться на наибольшую горизонтальную нагрузку при различных режимах работы трубопроводов.
В данном проекте выполнен расчет опор (усилий на опоры) для участков трубопроводов основной магистрали.
Используемые расчетные формулы для различных схем из [7] записываются:
- для концевой опоры:
, (1.47)
- для промежуточной опоры с равными диаметрами и расстояниями:
, (1.48)
- для промежуточной опоры с разными диаметрами или расстояниями:
, (1.49)
где
- коэффициент трения на подвижных опорах, для скользящих опор
=0,3;
- сила упругой деформации П - образных компенсаторов.
q - вес 1 погонного метра трубопровода, Н/м, определяется по сортаменту труб, т/м, таблица 9 [7];
- расстояние от опоры до середины компенсатора, м.
В том случае, когда на неподвижную опору, кроме горизонтальных осевых нагрузок действует боковая нагрузка, результирующее усилие рассчитывается по формуле:
(1.50)
Таким образом, на неподвижную опору:
- Н1 (концевая) действует усилие:
=0,3∙85×62,5+18,62=1612,4 кН.
- Н2 (с равными диаметрами и расстояниями) действует усилие:
=
=0,3(0,3∙85∙62,5+18,62)=483,7 кН.
- Н5 (с разными диаметрами или расстояниями) действуют усилия:
![]()
=0,3×85×62,5+18,62=1612,4 кН;
=0,3×81,7×60,71+19,6=1507,6 кН;
=0,3×81,7×65+17,93=1611,08 кН;
=2279,34 кН.
- Н12 (с разными диаметрами или расстояниями) действуют усилия:
![]()
=0,3×81,7×62,86+18,82=1559,52кН;
=0,3×62,5×52,67+13,33=1000,9кН ;
=0,3×19×45+8,5=265кН ;
=0,3×41,6×49,33+11,2=626,84кН ;
=1622,5 кН.
Остальные опоры считаются аналогично.
1.11 Охрана окружающей среды
Стремительное наращивание производственных мощностей, развитие энергетики поставили ряд регионов страны на грань экологической катастрофы (экоцида). В экологический неблагоприятных условиях живет пятая часть населения страны, в том числе 40 % городских жителей.
По данным специалистов, на 60¸90 % здоровье населения ухудшается из-за низкого качества окружающей среды и продуктов питания. Ежегодно от экологических заболеваний на планете умирает 1,6 млн. чел.
В настоящее время перечень реально действующих негативных факторов значителен и насчитывает более 100 видов. К наиболее распространенным обладающим достаточно высокими концентрациями или энергетическими уровнями в среде обитания относятся вредные факторы:
- запыленность;
- загазованность воздуха;
- шум;
- вибрация
- электромагнитные поля;
- ионизирующие излучения;
- повышенные и пониженные атмосферные параметры (температура, влажность, подвижность воздуха, давление) и др.
Опасные факторы:
- огонь;
- ударная волна;
- горячие и переохлажденные поверхности и др.
Даже в быту нас сопровождает большая гамма негативных факторов. К ним относятся:
- воздух, загрязненный продуктами сгорания природного газа;
- антропогенные загрязнения - выбросами ТЭЦ, промпредприятий и др.
Основное антропогенное загрязнение атмосферного воздуха создают ряд отраслей промышленности, автотранспорт и теплоэнергетика. В 2009 году в атмосферу страны поступило 94 млн. т загрязняющих веществ, в том числе от промпредприятий и ТЭЦ – 58,5 млн. т. На энергетику приходится 24,8 % всех выбросов в атмосферу. Самыми распространенными токсичными веществами, загрязняющими атмосферу, являются: оксид углерода СО, диоксид серы
, оксиды азота
, углеводороды
и пыль.
Вследствие всего вышесказанного необходимо определенное расположение ТЭЦ, которое и предусмотрено в данном проекте.
ТЭЦ располагается за 500 м до черты городской застройки, что объясняется высокими требованиями санитарных норм к чистоте городов и воздушного бассейна, а также экономическими выгодами приближения тепловых станций к местным топливным базам и водным источникам.
Так же учтено, что ТЭЦ расположено с подветренной стороны, чтобы избежать попадания вредных выбросов на территорию района. Преобладающие направление ветра – В.

