| Скачать .docx |
Реферат: Природные каменные материалы
В процессе эксплуатации каменные материалы в конструкциях и сооружениях могут подвергаться медленному разрушению. Этот процесс по аналогии с разрушением горных пород на земной поверхности называется выветриванием.
Каменные материалы могут разрушаться в результате физико-химических процессов их взаимодействия с окружающей средой, а также под воздействием различных растительных организмов. Основная причина разрушения камня — воздействие воды, которая проникает в трещины и поры камня, а затем, замерзая там и увеличиваясь в объеме, разрушает его. Кроме того, резкое изменение температуры приводит к появлению на поверхности камня микротрещин, которые становятся очагами разрушения. Различные микроорганизмы и растения, поселяясь в трещинах камня, выделяют органические кислоты, которые в свою очередь разрушают камень. Различные газы, присутствующие в воздухе, например углекислый газ, интенсивно разрушают поверхность известняков и мраморов. Скорость разрушения природного каменного материала зависит от структуры, плотности, качества поверхности, химического состава породообразующих минералов и других характеристик камня, а также от интенсивности внешних воздействий на материал.
Для предохранения природных каменных материалов в конструкциях зданий и сооружений от выветривания следует выполнять определенные мероприятия — конструктивные или химические. Конструктивные мероприятия обеспечивают правильный и быстрый сток воды с поверхности камня, а также получение за счет шлифования и полирования плотной и гладкой лицевой поверхности.
Химические мероприятия предусматривают пропитку поверхности пористого камня специальными составами, которые уплотняют поверхность и предохраняют ее от проникания влаги. Среди существующих способов химической защиты каменных материалов наиболее эффективно флюатирование, т. е. пропитка поверхностного слоя пористых известняков флюатамн — растворами солей К ремнефтористоводородной кислоты. Флюаты реагируют С кальцитом СаСОз, образуя на поверхности камня нерастворимые соединения, которые заполняют все поры по перхностного слоя, препятствуя прониканию влаги в материал, и тем самым повышают стойкость его к воздействию внешней среды.
С целью повысить долговечность облицовок из природных каменных материалов рекомендуется покрывать и пропитывать их гидрофобизующими (водоотталкивающими) составами, например раствором ГКЖ-94 или ГКЖ-Ю, а также применять пленкообразующие полимерные материалы, препятствующие проникновению влаги в поры каменной облицовки.
2. При изготовлении стальных изделий расплавленную сталь разливают по изложницам. Вынутые из них стальные слитки подвергают обработки давлением. Обработка давлением основана высоких пластических свойствах стали, при этом изменяется не только форма стального слитка, но и его свойства. Существует следующие способы обработки стальных слитков давлением: прокатка, волочение, ковка, штамповка и прессование.
Прокатка – наиболее распространенный способ изготовления профилированных стальных изделий. При прокатке стальной слиток пропускают между вращающимися валками прокатного стана, в результате чего заготовка обжимается, вытягивается и в зависимости от профиля прокатных валков приобретает заданную форму (профиль). Прокатывают сталь в холодном состоянии. Сортамент стали горячего проката – сталь круглая, квадратная, полосовая, уголковая равнобокая и неравнобокая, швеллеры, двутавровые балки, шпунтовые сваи, трубы. Арматурная сталь периодического профиля и др.

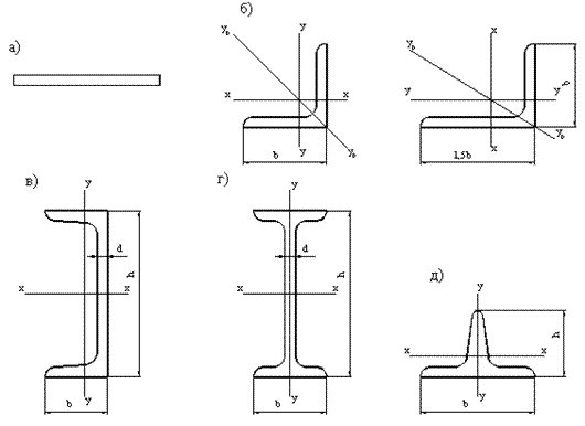
А)сталь листовая б) равнобокий уголок и неравнобокий в) швеллер г) двутавр д) тавр
Прокатную угловую сталь выпускают в виде равнобоких и неравнобоких уголков с шириной полок 20 – 250 мм; швеллеры – высотой 50-400мм при ширине полки 32-115мм; двутавры - как обыкновенные, так и широкополочные. Высота обыкновенных двутавров 100 – 700 мм, широкополочных – до 1000 мм. Отношение ширины полок к высоте колеблется от 1 : 2 (при малой высоте) до 1 : 3 (при большой высоте).
Прокатную сталь квадратного сечения, а также полосовую сталь используют в строительстве для различных целей. Круглую сталь в основном употребляют в качестве арматуры для железобетона.
Прокатная листовая сталь имеет ряд разновидностей: прокатная толстолистовая шириной 600-3800 и толщиной 4-160 мм; прокатная тонколистовая шириной 600-1400 и толщиной 0.5-4 мм; листовая кровельная, в том числе оцинкованная. Шириной 510-1500 и толщиной 0.5-2 мм, а также листовая волнистая и рифленая.
Прокатную сталь для шпунтованных свай выпускают разнообразных профилей; ее применяют для гидротехнического строительства.
Стальные трубы цельнотянутые и сварные диаметром 50-1620 мм используют для магистральных газо- и нефтепроводов, водоснабжения, отопления и других целей.
Стальная арматура является важнейшей составной частью железобетона и призвана надежно работать вместе с бетоном течение всего срока службы изделия или конструкции. Арматуру располагают главным образом в тех местах изделия или конструкции, которые подвергаются растягивающим усилиям, и она должна воспринимать эти усилия.
Чугунные изделия. В современном гражданском, промышленном, сельскохозяйственном и транспортном строительстве широко используют чугунные изделия. Среди них в первую очередь следует назвать санитарно-технические изделия и оборудование, например отопительные радиаторы, ванны, мойки, вентили. Чугунные трубы применяют для стояков санитарно-технических кабин, канализационных сетей, для отвода промышленных вод и т.д.
Чугунные литые изделия изготовляет различными способами, среди которых наиболее простым является литье в формы. Прогрессивные способы литья чугуна – под давлением и центробежный. Из серого чугуна путем отливки получают элементы строительных конструкций, работающих на сжатие: колонны, опорные подушки, арки, своды, тюбинги метрополитена, плиты для полов промышленных зданий и т.п. его используют для литья печных приборов (топочные дверцы, задвижки, колосники, решетки), а также архитектурно-художественных изделий.