| Скачать .docx |
Реферат: Возведение фундаментов в вытромбованных котлованах
ВВЕДЕНИЕ
Изобретение относится к строительству, а именно к фундаментостроению, и может найти применение при воздействии фундаментов в вытрамбованных котлованах (ФВК) различного назначения.
Известен способ возведения ФВК с помощью трамбовки в виде обращенной книзу пирамиды, включающий вытрамбовывание котлована путем подъема и сбрасывания с заданной высоты трамбовки и последующее заполнение котлована монолитным бетоном.
Устройство, позволяющее осуществлять этот способ, содержит грузоподъемный механизм со стрелой, направляющую и установленную на последней с возможностью возвратно-поступательного перемещения трамбовку в виде обращенной острием книзу пирамиды,
Недостатком известного технического решения является низкая несущая способность фундамента по грунту основания из-за малой площади взаимодействия фундамента с грунтом.
Известен способ возведения ФВК с помощью трамбовки в виде обращенной острием книзу центральной пирамиды, снабженной у основания дополнительными вершинами, обращенными книзу пирамидальными выступами, включающий вытрамбовывание котлована путем подъема и сбрасывания с заданной высоты трамбовки и последующее заполнение котлована монолитным бетоном.
Устройство, позволяющее осуществить данный способ, содержит грузоподъемный механизм со стрелой, направляющую и установленную на последней с возможностью возвратно-поступательного перемещения трамбовку в виде обращенной острием книзу центральной пирамиды, снабженной у основания дополнительными обращенными вершинами книзу пирамидальными выступами.
Фундаменты, возведенные по этому техническому решению, обладают более высокой несущей способностью по сравнению с предыдущим. Однако трамбовка известного устройства громоздка и сложна в изготовлении. В процессе вытрамбовывания котлована промежутки между дополнительными пирамидальными выступами, как показывает практика, забиваются грунтом и трамбовка приобретает форму, близкую к трамбовке по решению, что снижает эффективность возведения ФВК и существенно снижает их качество и несущую способность.
ОБЩИЕ ПОЛОЖЕНИЯ
Для уплотнения слабых глинистых, рыхлых песчаных и просадочных грунтов необходимо применять следующие способы:
в пределах деформируемой зоны основания или ее части – поверхностное уплотнение тяжелыми трамбовками, устройство грунтовых подушек и вытрамбовывание котлованов заданной формы и глубины;
в пределах всей толщи рыхлых, песчаных, водонасыщенных или просадочных грунтов основания - глубинное уплотнение виброустановкой, глубинное уплотнение грунтовыми сваями, предварительное замачивание и замачивание с глубинными взрывами.
Выбор одного или сочетание нескольких способов уплотнения определяется проектом. Уширение уплотненной зоны по периметру здания или сооружения за наружные грани фундаментов принимается не менее 3 м.
Метод возведения фундаментов в вытрамбованных котлованах состоит в том, что котлованы под отдельные фундаменты не отрываются, а вытрамбовываются на необходимую глубину (0,6-3 м) с одновременным уплотнением грунтов вокруг и под дном котлована.
Вытрамбовывание котлованов производится падающей с высоты 4-8 м по Направляющей штанге трамбовкой, имеющей форму будущего фундамента и массу 1,5-7 т.
После вытрамбовывания в котлован заливается враспор монолитный бетон (без опалубки) или устанавливается сборный фундамент, имеющий близкие к котловану форму и размеры.
Фундаментыв вытрамбованных котлованах применяются в зависимости от следующих грунтовых условий: на просадочных лессовых грунтах I типа, покровных глинистых, насыпных глинистых грунтах с числом пластичности Jp ≥ 0,03; при плотности сухого грунта γск ≤ 1,6 т/м3. При степени влажности G ≤ 0,75 для фундаментов неглубокого заложения и G ≤ 0,65 - для удлиненных фундаментов.
Примечание. В отдельных случаях возможно применение указанных
фундаментов: в супесях с числом пластичности Jp ≥ 0,03, а также в мелких и пылеватых песках; в глинистых грунтах с плотностью сухого грунта ρs = 1,65 т/м3;
в грунтах со степенью влажности G ≥ 0,75. Однако в этих условиях возможность сохранения формы котлованов и достаточная несущая способность фундаментов определяются опытными работами и испытаниями, выполняемыми в соответствии с требованиями;
на просадочных грунтах II типа применение таких фундаментов допускается, если суммарная величина просадки грунта от собственного веса и осадки фундаментов от его нагрузки не превышает предельно допустимых величин для проектируемых зданий и сооружений.
В результате вытрамбовывания вокруг котлована образуется уплотненная зона, в пределах которой происходит повышение плотности сухого грунта, модуля деформации, прочностных характеристик с и φ, а также полностью устраняются просадочные свойства грунта.
Фундаменты в вытрамбованных котлованах подразделяются:
по глубине заложения:
на фундаменты мелкого заложения,
на фундаменты удлиненные,
по способу устройства:
на обычные (без уширения основания) с плоской или клиновидной подошвой,
с уширением основания путем втрамбовывания в дно котлована отдельными порциями жесткого материала (щебня, гравия, жесткой бетонной супеси и т.п.) с последующим заполнением верхней части котлована монолитным бетоном.
Фундаменты в вытрамбованных котлованах исходя из конструктивных особенностей зданий и сооружений целесообразно применять:
столбчатые для каркасных промышленных, гражданских и сельскохозяйственных зданий при вертикальной нагрузке на них до 2000 кН;
ленточные прерывистые и столбчатые для бескаркасных жилых и промышленных зданий принагрузке до 300 кН;
с уширенным основанием при нагрузках на столбчатые фундаменты свыше 500-800 кН.
По взаимному расположению и характеру взаимодействия с грунтом основания фундаменты в вытрамбованных котлованах подразделяются на следующие виды:
отдельно стоящие (столбчатые), для которых не сказывается взаимное влияние одного на другой как при вытрамбовывании котлованов, так и при передаче нагрузки на грунт;
ленточные прерывистые фундаменты , устраиваемые в близко расположенных один от другого котлована с учетом взаимного влияния соседних фундаментов.
Вытрамбовывание котлованов трамбовками массой 3-6 т допускается выполнять при расположении фундаментов на расстоянии не менее 10 м от существующих зданий и сооружений, находящихся в удовлетворительном состоянии и не имеющих трещин; 15 м от зданий и сооружений, имеющих трещины в стенах, а также от инженерных коммуникаций, выполненных из чугунных, керамических, асбестовых и железобетонных труб.
При массе трамбовок менее 3 т указанные расстояния могут быть уменьшены в 1,5 раза.
ТРЕБОВАНИЯ К МАТЕРИАЛАМ
При вытрамбовывании котлованов, уплотнении лёссовых просадочных грунтов предварительным замачиванием и замачиванием с использованием глубинных взрывов применяются: дренирующие материалы; трубы для водопроводов и крепления стенок скважин, запорная и измерительная арматура (вентили, водомеры); взрывчатые вещества; вода.
Дно котлована покрывают дренирующим материалом слоем 0,1-0,15 м, заполняют мелкие и глубокие узкие траншеи и дренажные скважины, используемые также для создания уширений при вытрамбовывании котлованов.
В качестве дренажных материалов применяются чистые крупнозернистые пески, щебень, мелкий гравий, галька размером фракций 0,5-20 мм с коэффициентом фильтрации: для крупнозернистого песка - 30-50 м/сут; для мелкого щебня, гальки или гравия - 50-20м/сут.
Для транспортировки воды используются любые виды тонкостенных труб диаметром 50-250 мм, а для крепления скважин от заплывания тонкостенные металлические, пластмассовые, асбоцементные и другие трубыдиаметром от 50 до 400 мм. Крепление верха скважин при замачивании через инвентарную разводку производится с помощью оголовков из труб диаметром 400 мм, длиной 0,5 м.
Диаметр труб запорной и измерительной арматуры определяется гидравлическим расчетом, исходя из требуемого количества воды, подаваемой на площадку.
При уплотнении грунтов замачиванием и глубинными взрывами
применяются водостойкие взрывчатые вещества: аммонит № 6ЖВ, граммонол, гранутол (МРТУ3-324-66), зерногранулит 50/50-В, 30/70-В.
Энергетические и другие свойства ВВ приведены в справочных пособиях и руководствах по взрывным работам в строительстве.
Вода, подаваемая на площадку, должна быть чистой, содержание твердых взвешенных частиц допускается не более 2 г/л
ПРИМЕНЯЕМЫЕ МЕХАНИЗМЫ И ИХ
ТЕХНИЧЕСКАЯ ХАРАКТЕРИСТИКА

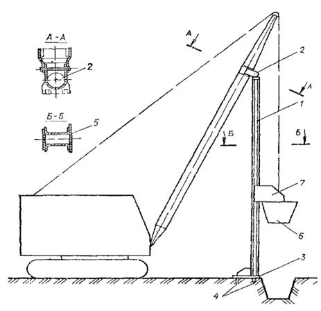
Р и с. 1. Схема оборудо в ания для в ытра м бован и я котлова н ов на экскаваторе со стрелой драгла йн
1 - направляющая штанга; 2 - шарнир; 3 - упорная плита; 4 - зубья; 5 - направляющая пластина; 6 - трамбовка; 7 - каретка

Рис. 2. Схема обор у дован ия на э кскаваторе с прямой лопатой д ля вытрамбовывания котлованов
1 -направляющая стойка;2 - распорка; 3 - опорная плита; 4 - зубья; 5 - серьга; 6 - трамбовка; 7 - каретка; 8 - оголовок

Р ис . 6. Схема оборудовани я для вытрамбовыван и я котлованов на базе трактора
1 - трамбовка; 2 - направляющая рама; 3 -система блоков; 4 - направляющая стойки;5 - противовес; 6 - каретка;7 - подвеска; 8 - элементы жесткости; 9 - аутригер

Рис. 7. Схема обору д о в ания для вытрамбо в ывания котло в анов на базе сваебойного агрегата
1 -шаблонтрамбовки; 2 - подвеска; 3 - молот
Вытрамбовывание котлованов производится с помощью навесного оборудования, состоящего из трамбовки, направляющей штанги или рамы, обеспечивающих падение трамбовки строго в одно и тоже место, и каретки, с помощью которой трамбовка скользит по направляющей штанге.
Оборудование навешивается на кран-экскаватор или трактор. При вытрамбовывании котлованов небольших размеров в плане может использоваться сваебойное оборудование.
Для подъема и сбрасывания трамбовки используется лебедка грузоподъемного механизма. При использовании сваебойного агрегата трамбовка-шаблон забивается в грунт сваебойным молотом.
Грузоподъемность механизма должна превышать массу трамбовки при соответствующем вылете стрелы в 1,2-1,3 раза.
Навесное оборудование на кран-экскаватор может быть двух видов: с шарнирным креплением направляющей штанги к стреле драглайна, обеспечивающим работу с трамбовками массой 3-6 т., и шарнирным креплением направляющей рамы к стреле прямой лопаты для трамбовок массой 6-10 т.
Направляющая штанга длиной 8-12м обычно имеет коробчатое сечение и состоит из двух швеллеров или четырех уголков, усиленных вертикальным листом, по которому скользит каретка.
В верхней части направляющая штанга заканчивается специальным шарниром, обеспечивающим перемещение ее в двух направлениях и служащим для навески ее на стрелу драглайна.
Для предотвращения горизонтальных смещений в процессе вытрамбовывания котлованов в нижней части направляющая штанга имеет опорную плиту с зубьями длиной 20-30 см, которые при установке штанги на место погружаются в грунт.
Направляющая рама состоит из направляющей стопки длиной 10-15 м и распорки, повышающей жесткость навесного оборудования и ограничивающей вылет стрелы, что позволяет повысить маневренность и более полно использовать грузоподъемность крана-экскаватора.
Конструкция направляющей стойки отличается тем, что в верхней части она имеет оголовок, на котором крепятся блоки, и серьгу для крепления стойки к стреле крана-экскаватора.
Узлы крепления направляющей рамы к крану шарнирные, благодаря чему обеспечивается возможность подъема ее на 30-40 см и перемещение крана-экскаватора.
Каретка имеет коробчатое сечение и обычно состоит из двух швеллеров, усиленных накладками и соединенных с трех сторон металлическими листами.
Каретка надевается на направляющую штангу и удерживается на ней с помощью соответствующих пазов или полок швеллера. Внутри нее располагаются катки, которые перемещаются по вертикальному листу направляющей штанги.
Крепление каретки к трамбовке осуществляется на болтах.
Трамбовка заданной в проекте формы изготавливается из металлического листа толщиной 10-16 мм путем сварки отдельных элементов в стыках. Для исключения выступов и неровностей сварные швы зачищаются.
Сверху трамбовка имеет крышку из листа толщиной 20-30 мм с болтами диаметром 30-60 мм, с помощью которых к ней крепится каретка.
Внутренняя часть трамбовки заполняется бетоном на высоту, при которой обеспечивается ее заданная масса.
Трамбовка с помощью скобы крепится к рабочему тросу крана-экскаватора через специальную вставку из троса длиной0,8-1м, благодаря чему в момент удара ее о грунт исключается закручивание рабочего троса и его преждевременный износ.
В целях снижения тягового усилия на лебедку допускается запасовка троса через полиспаст, для чего на крышке трамбовки устанавливается соответствующий блок.
Навесное оборудование на базе трактора С-100, ТМ-100 обеспечивает возможность работы с трамбовками массой до 2,5-3 т и состоит из направляющей рамы, прикрепленной к задней части трактора, системы блоков, подвесок, противовеса, устанавливаемого на передней части.
Направляющая рама высотой 6-8 м состоит из двух стоек, по которым движется каретка. Стойки по высоте соединяются элементами жесткости, внутри которых проходит трамбовка. Стойки коробчатого сечения состоят из двух уголков.
Для повышения устойчивости на период вытрамбовывания котлованов к стойкам направляющей рамы крепятся аутригеры. На время переезда механизма с одного пункта на другой и установки трамбовки на центр будущего котлована аутригеры поднимаются.
Каретка имеет коробчатое сечение с пазами, которые входят в направляющие стойки. В центре каретки располагается блок, через который проходит рабочий трос от лебедки. Крепление каретки к трамбовке выполняется на болтах. Трамбовка крепится к рабочему тросу лебедки через полиспаст.
При использовании сваебойного агрегата для вытрамбовывания котлованов в качестве трамбовки используется полый металлический шаблон, жестко закрепленный с помощью болтов на молоте.
Шаблон сваривается из металлического листа толщиной 12-16 мм с расположенными внутри ребрами жесткости. Для извлечения шаблона из грунта он с помощью подвесок крепится к станине молота.
Максимальный размер трамбовки в верхней части по ширине при применении трубчатых дизель-молотов должен быть не более 1м, а штанговых - 0,9 м.
ОПЫТНОЕ УПЛОТНЕНИЕ
Опытные работы по вытрамбовыванию котлованов производят с целью определения:
среднего количества ударов трамбовки заданной массы , размеров и оптимальной высоты сбрасывания для вытрамбовывания котлованов необходимой глубины;
для фундаментов с уширенным основанием из жесткого материала – количества и объемов засыпки жесткого материала, а также необходимого числа ударов для втрамбовывания каждой порции засыпки в дно котлована;
для ленточных прерывистых фундаментов - минимально допустимого расстояния между двумя соседними котлованами при различной глубине их вытрамбовывания;
плотности сухого грунта, влажности и прочностных характеристик φ и С уплотненного грунта, размеров уплотненной зоны вокруг вытрамбованного котлована, а также размеров уширенного основания при втрамбовывании в дно котлована жесткого материала.
Кроме того, в необходимых случаях проводятся испытания опытных фундаментов на вертикальные и горизонтальные нагрузки и определение модулей деформации уплотненных и неуплотненных просадочных грунтов штампами в соответствии с ГОСТ 12374-77 «Грунты, метод полевого испытания статическими нагрузками».
Опытные работы по вытрамбовыванию котлованов производятся на площадке, расположенной поблизости от строящегося объекта, в котловане, отрытом на проектную глубину.
В том случае, если ранее в подобных грунтовых условиях уже выполнялись опытные работы с аналогичными размерами трамбовок или производилось вытрамбовывание котлованов под здания или сооружения, они могут не выполняться и рекомендуется использовать ранее полученные результаты.
Количество назначаемых пунктов проведения опытных работ зависит от изменчивости грунтовых условий в соответствии.
Опытные работы производятся для всех видов и размеров трамбовок, применяемых при устройстве фундаментов с вытрамбовыванием котлованов на глубину, предусмотренную проектом фундаментов.
Вытрамбовывание котлованов каждой трамбовкой на заданные глубины производится, как правило, с двух кратной повторностью.
Опытное глубинное уплотнение просадочных грунтов выполняют перед разбивкой сетки грунтовых свай в основании фундаментов зданий и сооружений.
При однородном напластовании грунтов опытное уплотнение производят в одном пункте, а при разнородном напластовании или резком изменении влажности грунтов - не менее чем в двух наиболее характерных местах.
Скважины пробивают с поверхности земли или с принятой в проекте отметки дна котлована, отрытого в пределах участка строительства.
ПРАВИЛА ПРОИЗВОДСТВА РАБОТ
Вытрамбовывание котлованов под фундаменты должно выполняться с соблюдением следующих требований:
а) вытрамбовывание котлованов под отдельно стоящие фундаменты надлежит выполнять сразу на всю глубину котлована без изменения положения направляющей штанги трамбующего механизма;
б) до увлажнение грунта в необходимых случаях должно производиться от отметки дна котлована на глубину не менее полуторной ширины котлована;
в) оттаивание мерзлого грунта необходимо производить на всю глубину
промерзания в пределах площади, стороны которой равны полуторным размерам сторон котлована;
вытрамбовывание котлованов при отрицательной температуре воздуха рекомендуется выполнять без дополнительного увлажнения грунта;
г) втрамбовывание в дно котлована щебня, гравия, крупного песка для создания уширенного основания производят сразу же после вытрамбовывания котлована.
Вытрамбовывание котлованов состоит из следующих процессов:
отрывка и подготовка котлована для вытрамбовывания;
вытрамбовывание котлованов;
втрамбовывание жесткого материала в дно котлована;
устройство монолитных фундаментов;
установка сборных фундаментов.
Котлован вытрамбовывания отрывается на проектную глубину сразу по всей площади или отдельными участками в зависимости от необходимого фронта работ. При этом полностью срезается растительный слой и насыпной грунт, содержащий более 0,05 органических включений по весу.
Подсыпка дна котлована при срезке растительного слоя с содержанием растительных остатков более 0,05, а также при уклонах местности выполняется из местного глинистого грунта оптимальной влажности отдельными слоями с уплотнением каждого слоя до удельного веса сухого грунта 1,55-1,6 т/м3.
Качество уплотнения проверяется путем отбора проб из расчета одной пробы на 100 м3 уплотненного грунта, но не менее трех на каждом участке.
Подсыпку целесообразно производить из глинистых грунтов с более высоким числом пластичности, чем грунты подстилающего слоя, но не ниже 0,8.
Размеры котлована в плане должны обеспечить возможность маневрирования механизмов, выполняющих вытрамбовывание котлованов и бетонирование фундаментов, для чего с одной стороны здания делается уширение котлована, на котором осуществляются проезды и развороты машин.
В целях исключения попадания атмосферных вод с окружающей территории котлован с верховой стороны обваловывается, а съезды делаются с низовой стороны. Дно котлована в пределах каждого участка должно быть ровным, исключающим скопление атмосферных вод, и планируется с точностью ±5 см.
В тех случаях, когда необходимо до увлажнение грунтов до оптимальной влажности, производится заливка расчетного количества воды на пятно будущего котлована, огражденное грунтовым валиком или специальным шаблоном, вдавливаемым в грунт.
При необходимости увлажнения грунтов на глубину более 2,5-3 м для замачивания бурятся одна или три расположенные по вершинам равностороннего треугольника скважины диаметром 20-30 см, глубиной до 1,2 м, в которые заливается вода.
После полного впитывания воды и подсыхания верхнего слоя грунта до оптимальной влажности производится повторная планировка всей площади котлована.
При производстве работ в зимнее время, когда толщина промерзающего слоя превышает 30 см, производится оттаивание его на всю толщину промерзания на площади диаметром 3bср (bср – размер трамбовки в среднем сечении).
Перед началом работ по вытрамбовыванию котлованов производится разбивка их центров. Отклонения центров котлованов в каждую сторону не должны превышать 3 см от проектного положения.
Для фундаментов с плоской подошвой относительно их осей по шаблону очерчивается место установки трамбовки.
Для фундаментов с заостренными уширенным основанием по центрам будущих котлованов устанавливаются соответствующие шаблоны, обеспечивающие необходимую точность установки трамбовки.
При разбивке осей каждому котловану присваивается порядковый номер, который в дальнейшем используется для технического отчета, и в соответствии с выполненной нивелировкой и требованиями проекта намечается необходимая глубина вытрамбовывания.
Готовность котлована для производства работ по вытрамбовыванию оформляется актом на скрытые работы. Акт составляется представителями заказчика, технической инспекции, авторского надзора, исполнителя работ после осмотра готовности работ на месте. К акту прилагается исполнительная схема котлована с указанием проектных и фактических размеров и отметок, данных по разбивке осей зданий и центров будущих фундаментов.
Вытрамбовывание котлованов производится в соответствии с проектом или технологической картой производства работ.
Очередность вытрамбовывания котлованов и схема движения механизма с трамбовкой назначается с таким расчетом, чтобы обеспечить бетонирование фундаментов не позднее, чем через 1-2 сут после окончания вытрамбовывания с учетом расстояния между трамбуемой и бетонируемой захватками (не менее 15 м) в целях предохранения свежеуложенного бетона от сотрясений в течение первых трех суток его твердения.
При расстояниях в свету между отдельными фундаментами менее 0,8bср ширины трамбовки в среднем сечении котлованы вытрамбовываются через один фундамент. Вытрамбовывание котлованов под пропущенные фундаменты производится не менее чем через 3 сут после бетонирования фундаментов в ранее вытрамбованных котлованах.
В процессе производства работ обращается особое внимание на сохранность вытрамбованных котлованов и забетонированных фундаментов.
Вытрамбовывание котлованов начинается с установки трамбовки по центру и осям будущего фундамента. Допускаются отклонения центра трамбовки на величину не более 3 см, а разворот осей на 5°.
Вытрамбовывание котлованов производится последовательным сбрасыванием трамбовки по направляющей штанге с высоты 3-8 м, а при применении сваебойного оборудования – забивкой на заданную глубину.
Высота сбрасывания трамбовки принимается при следующих условиях: величина погружения трамбовки за один удар не должна превышать 0,15 глубины котлована, необходимо исключить засасывание трамбовки, обеспечить сохранность стенок котлована и т.п. Для до уплотнения верхнего слоя дна котлована последний удар трамбовки делается с высоты 1 м.
Вытрамбовывание котлованов на каждой стоянке механизма должно производиться сразу на всю глубину. Перемещение направляющей штанги и механизма во время вытрамбовывания, за исключением случая выправления направляющей в вертикальное положение, не рекомендуется.
Глубина вытрамбованного котлована должна соответствовать проектной с точностью ±5 см.
Вытрамбовывание котлованов под спаренные фундаменты (у осадочных швов и т.п.) должно выполняться последовательно отдельными этапами на 0,2-0,4 глубины котлована при каждом положении направляющей штанги.
Изменение положения направляющей штанги при вытрамбовывании котлованов под спаренные фундаменты выполняется перемещением механизма или поворотом стрелы.
Смещение центров вытрамбованных котлованов от проектного положения не должно превышать 0,1 его ширины поверху, а при наличии стакана для установки колонны - 0,05. При невыполнении этих условий перед сдачей котлована производится соответствующая подрезка боковых стенок котлована вручную с удалением или до уплотнением осыпавшегося грунта на дно котлована.
В процессе вытрамбовывания котлованов инженерно-техническим
персоналом участка и лабораторией строительства ведется журнал производства работ в соответствии с формой.
Приемка-сдача готовых котлованов под бетонирование фундаментов осуществляется отдельными захватками (секциями).
Каждый котлован очищается от рыхлого разуплотненного грунта на дне и стенках котлована и в целях исключения влияния атмосферных воздействий и выполнения требований техники безопасности закрывается крышкой.
Приемка котлованов выполняется комиссией на основе исполнительной схемы с указанием проектных и фактических отметок и расположения котлованов, журнала производства работ, осмотра состояния котлованов на месте и оформляется актом на скрытые работы с приложением приведенных выше документов.
Для создания уширенного основания в дно вытрамбованного котлована втрамбовывается жесткий материал (щебень, гравий, крупный песок, жесткий бетони т.п.).
Вид материала, втрамбованного в дно котлована, указывается в проекте и назначается с учетом конструкции фундамента, нагрузок на него, наличия в районе строительства того или иного материала и т.п. Прочность материала (щебня, гравия, песка) должна быть не ниже 300 кгс/см2.