| Скачать .docx |
Реферат: Теплотехнический расчет здания
Содержание
Исходные данные....................................................................................................2
Расчет коэффициента теплопередачи наружной стены…………...........………4
Расчет коэффициента теплопередачи чердачного перекрытия…………..........6
Расчет коэффициента теплопередачи пола первого этажа над подвалом.......11
Расчет коэффициента теплопередачи через заполнение световых проемов...13
Определение потерь тепла по укрупненным показателям……………............14
Список литературы………………………………………………………………17
Исходные данные
1.Район постройки здания- п. Верхняя Гутара
2. Климатические здания:
а) Температура наружного воздуха наиболее холодной пятидневки
для коэффициента обеспеченности 0,92.
б) Средняя температура отопительного периода
со среднесуточной температурой наружного воздуха ≤ 8![]()
в) Продолжительность отопительного периода ![]()
г) Ориентация главного фасада на юго-восток.
3. Характеристика здания:
Жилой дом-3этажа, Высота этажа-4,8 м.
План 3.

4. Характеристика помещений:
а) Жилая комната
б) Расчетная температура в помещении
=20![]()
в) Расчетная относительная влажность воздуха φв=50%.
5. Характеристика наружных ограждений:
а) Конструкция наружной стены:
| Штукатурка (20) |
Кирпичная кладка (250) |
Теплоизоляция (х) |
Воздушная прослойка (100) |
Плита гипсоволокнистая (10) |
Утеплитель- маты минераловатные прошивные плотностью 75кг/м³
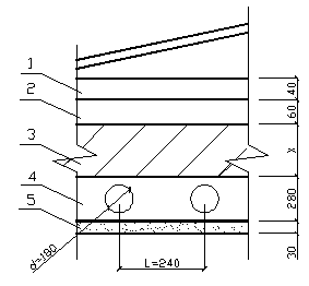
б) Конструкция чердачного перекрытия:
| Доска (40) |
| Стяжка (60) |
| Теплоизоляция (х) |
| Железобетонная плита (280) |
| Штукатурка (30) |
Утеплитель- Перлитопласт-бетон (ТУ 480-1-145-74) плотностью 200 кг/м³
в) Конструкция пола:
| Доска (40) |
| Стяжка (50) |
| Теплоизоляция (х) |
| Железобетонная плита (280) |
| Штукатурка (20) |
Утеплитель- Пенопласт ПВХ-1 (ТУ 6-05-1179-75) и ПВ-1 (ТУ 6-05-1158-78) плотностью 100 кг/м³.
Расчет коэффициента теплопередачи наружной стены

Конструкция стены:
Штукатурка цементно-песчаная (ρ=1800кг/м³)
Кирпичная кладка из керамического кирпича ρ=1400 кг/м³ на цементно-песчаном растворе (ρ=1600кг/м³)
Маты минераловатные прошивные (ρ=75 кг/м³)
Воздушная прослойка (
=100 мм). По приложению 4 СНиПа II-3-79* "Строительная теплотехника" вместо коэффициента теплопроводности берем термическое сопротивление воздушной прослойки
.
Плита гипсовая (ρ=1200 кг/м³)
Для того, чтобы найти коэффициент теплопередачи наружной стены необходимо найти сопротивление теплопередаче, вычисляемой по формуле:
, (1.1)
где
- коэффициент теплопередачи внутренней поверхности (8,7 Вт/м²*
);
- коэффициент теплопередачи наружной поверхности (23 Вт/м²*
);
- сопротивление теплопередаче воздушной прослойки, м²*
/Вт;
δ1, δ2, δ3- толщина слоя, м;
- толщина теплоизоляционного слоя, м;
λ1, λ2, λ3- коэффициент сопротивления теплопередачи, Вт/м²*
.
По приложению 3 СНиПа II-3-79* находим коэффициенты сопротивления теплопередачи для каждого слоя:
λ1= 0,19 Вт/м²*![]()
λ2= 0,58 Вт/м²*![]()
λ3= 0,41 Вт/м²*![]()
= 0,06 Вт/м²*![]()
= 0,18 м²*
/Вт
Коэффициент теплопроводности
принимается в зависимости от вида материала, от плотности этого материала и параметров эксплуатации – А или Б. Параметры эксплуатации определяются в зависимости от влажностного режима здания и зоны влажности постройки здания.
По зонам влажности п. Верхняя Гутара попадает в зону 3 – сухая зона. Режим помещения – сухой, условия эксплуатации – А.
(1.2)
Определяем градусосутки отопительного периода:
, (1.3)
где
– температура воздуха в помещении;
– средняя температура отопительного периода;
– продолжительность отопительного периода.
![]()
Из таблицы 1б * СНиП № II-3-79* "Строительная теплотехника":
При
→
=3,5
При
→
=4,2
Методом интерполяции вычисляем требуемое сопротивление теплопередачи ограждающих конструкций:
м²*
/Вт (1.4)
Из формулы 1.2 выражаем толщину утеплителя:
=0.19м (1.5)
м
м
м²*
/Вт >
м²*
/Вт
Находим коэффициент теплопередачи:
Вт/м²*
(1.6)
Расчет коэффициента теплопередачи чердачного перекрытия
Доска сосновая плотностью 500 кг/м³, коэффициент теплопроводности λ1=0,29
;
Стяжка – цементный песчаный раствор, плотностью 1800 кг/м³, коэффициент теплопроводности λ2=0,76
;
Перлитопласт-бетон (ТУ 480-1-145-74) плотностью 200 кг/м³, коэффициент теплопроводности
=0,052
;
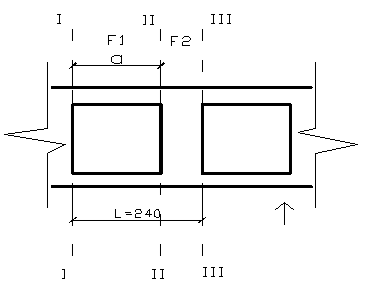
Железобетонная пустотная плита толщиной 0,28 м, плотностью 2500 кг/м³, диаметр пустот d=0,18 м и расстояние между ними L=0,24 м, коэффициент теплопроводности железобетона λ3=1,92
;
Сухая штукатурка плотностью 800 кг/м³, коэффициент теплопроводности λ4=0,19
.

Находим требуемое сопротивление теплопередачи ограждающих конструкций по следующей формуле:
, (2.1)
- сопротивление теплопередачи пустотной плиты,
.
(2.2)
Поскольку железобетонная плита неоднородная, то для этого круглые пустоты заменяются на квадратные. Считаем приведенную (эквивалентную) площадь этих пустот.

=a² (2.3)
где а – сторона квадратных пустот.
a=
=0,16 м
(2.4)
Сопротивление теплопередачи пустотной плиты находится по формуле:
, (2.5)
Для того чтобы найти
и
, необходимо рассмотреть 2 случая рассеченья плиты:
Плоскостью параллельно тепловому потоку;
Плоскостью перпендикулярно тепловому потоку.

, (2.6)
где F1, F2– площадь сечения;
R 1, R2– сопротивление теплопередачи сечения.
F1=a*l=0,16 м (2.7)
F2=(L-a)*l=0,08 м (2.8)
где l – единичная длина.
R1=
=0,2125
(2.9)
Термическое сопротивление замкнутой воздушной прослойки горизонтальной при потоке тепла снизу вверх принимаем
=0,15
по приложению 4 СНиП "Строительная теплотехника".
R2=
=
(2.10)
По формуле 2.6 находим
:
=0,1845
(2.11)

находим как сумму сопротивлений теплопередачи каждого сечения:
(2.12)
где R1,R2 и R3 определяем соответственно по формулам:
=
(2.13)
R2=R’1+R’’2=
(2.14)
По формуле 2.5 находим сопротивление теплопередачи пустотной плиты:
![]()
Градусосутки отопительного периода:
![]()
Из таблицы 1б * СНиП № II-3-79* "Строительная теплотехника":
При
→
=4,6
При
→
=5,5
м²*
/Вт (2.15)
Толщина утеплителя :
=0.235м (2.16)
![]()
м²*
/Вт >
м²*
/Вт
Находим коэффициент теплопередачи:
Вт/м²*
(2.17)
Расчет коэффициента теплопередачи пола первого этажа над подвалом

Доска сосновая плотностью 500 кг/м³, коэффициент теплопроводности λ1=0,29
;
Стяжка – цементный песчаный раствор, плотностью 1800 кг/м³, коэффициент теплопроводности λ2=0,76
;
Пенопласт ПВХ-1 (ТУ 6-05-1179-75) и ПВ-1 (ТУ 6-05-1158-78) плотностью 100 кг/м³,
=0,05
;
Железобетонная плита толщиной 0,28 м, плотностью 2500 кг/м³, коэффициент теплопроводности железобетона λ3=1,92
;
Сухая штукатурка плотностью 800 кг/м³, коэффициент теплопроводности λ4=0,19
.
Находим сопротивление теплопередаче, вычисляемой по формуле:
, (3.1)
(3.2)
Градусосутки отопительного периода:
![]()
Из таблицы 1б * СНиП № II-3-79* "Строительная теплотехника":
При
→
=5,2
При
→
=6,2
м²*
/Вт (3.3)
=0,268
0,27м (3.4)
м
м²*
/Вт >
м²*
/Вт
Находим коэффициент теплопередачи:
Вт/м²*
(3.5)
Расчет коэффициента теплопередачи через заполнение световых проемов
Градусосутки отопительного периода из пошлых расчетов
=7562,1
Из таблицы 1б* СНиП "Строительная теплотехника":
При
→
=0,6
При
→
=0,7
Методом интерполяции определяем требуемое сопротивление теплопередачи:
м²*
/Вт (4.1)
По приложению 6 СНиП «Строительная теплотехника» выбираем приведенное сопротивление теплопередачи.
– соответствует двухкамерный стеклопакет из стекла с мягким селективным покрытием.
В результате получаем следующий коэффициент теплопередачи:
Вт/м²*
(4.2)
Определение потерь тепла по укрупненным показателям

Теплопотери через ограждающие конструкции здания определяются по формуле:
, (5.1)
Где а- коэффициент учета района строительства здания;
q- удельная тепловая характеристика здания;
- объем отапливаемой части здания по внешнему обмеру, м³.
=0,926 (5.2)
12,2*10*14,4=1756,8 м³
Удельную тепловую характеристику здания определяем по следующим формулам:
, (5.3)
, (5.4)
где S – площадь здания S=12.2*10=122 м²,
P – периметр здания P=2*(12.2+10)=44.4 м;
F – площадь наружных стен;
d – степень остекления здания;
k – коэффициент теплопередачи ограждающих конструкций;
H – высота здания H=4.8*3=14,4 м.
Ведомость окон
| Обозначение |
Количество, шт |
Длина, мм |
Высота, мм |
Площадь одного окна, м² |
Суммарная площадь окон, м² |
| ОК-1 |
30 |
1470 |
1700 |
2,5 |
75 |
Степень остекления здания находим как отношение суммарной площади окон к площади наружных стен:
d=
(5.5)
Таким образом, мы получили
и
:
![]()
![]()
Находим нормативный коэффициент тепловой характеристики здания:
(5.6)
где
– удельная тепловая характеристика здания без поправочного коэффициента α, которую берем из таблицы в зависимости от объема отапливаемой части, который находим как произведения площади здания, высоты этажа и количества этажей:
| Тип здания |
|
||||
| 3 |
5 |
10 |
15 |
20 |
|
| Жилой дом |
0,49 |
0,44 |
0,39 |
0,36 |
0,34 |
Поправочный коэффициент для жилых и общественных зданий берем из следующей таблицы:
|
|
-10 |
-15 |
-20 |
-25 |
-30 |
-35 |
-40 |
|
|
1,45 |
1,29 |
1,17 |
1,08 |
1 |
0,95 |
0,90 |
Поскольку в нашем случае
, то методом интерполяции получаем:
(5.7)
Из двух найденных нами значений
и
выбираем наиболее близкое к нормативному значению
, которое и принимается к проектированию. Таким образом, теплопотери составляют
.
Список литературы
1. СНиП 23-02-2003 «Тепловая защита зданий»- М:Госстрой России, 2004г.
2. СНиП II-3-79* «Строительная теплотехника», 1998г.
3. СНиП 23-01-99* «Строительная климотология», 2003г.
4. Тихомиров К.В., Сергеенко Э.С. «Теплотехника, теплогазоснабжение и вентеляция»-4 изд., перераб. и доп. – М: Стройиздат,1991.-480с.