| Скачать .docx |
Реферат: Устройство кровли из профилированного листа
ТЕХНОЛОГИЧЕСКАЯ КАРТА (ТК)
УСТРОЙСТВО КРОВЕЛЬ ИЗ ПРОФИЛИРОВАННОГО ЛИСТА
1. Область применения
Технологическая карта разработана на устройство кровельного покрытия из профилированного листа для общественных и жилых зданий, имеющих уклон ската кровли от 15-30°, в данном случае 28-28,5°.
Профнастил - это профилированные, или гофрированные для повышения их жесткости листы, изготовленные из горячеоцинкованной стали (как с полимерным покрытием, так и без него). Волны на листах профнастила имеют различную высоту и форму: трапециевидную, синусообразную, закругленную. По этим признакам их и различают - по форме и высоте гофры; по ширине готового профиля; а также по условиям применения. Преимущества кровли из профнастила: атмосферостойкость, небольшая масса (5-13 кг/м2), простота монтажа, долговечность (до 30 лет).
Укладываются профилированные листы внахлест друг на друга и крепятся к брускам обрешетки самонарезающимися шурупов в гофру. Различные поперечногнутые и арочные профили разновидности профилированных листов расширяют возможности архитекторов, позволяя создавать криволинейные изделия для оформления углов стен, карнизов и коньков крыш.
Качество профилированных листов должно соответствовать ГОСТ 24045-94 и сертификационным документам заводов-изготовителей.
|
||||||||||||||||||||||||||||||||||||||||||||||||||||||||||||||||||||||||||||||||||||||||||||||||||||||||||||||||||||||||||||||||||||||||||||||||||||||||||||||||||||||||||||||||||||||||||||||||||||||||||||||||||||||||||||||||||||||||||||||||||||||||||||||||||||||||||||||||||||||||||||||||||||||||||||||||||||||||||||||||||||||||||||||||||||||||||
УСТРОЙСТВО КРОВЛИ ИЗ МЕТАЛЛОЧЕРЕПИЦЫ, ПРОФНАСТИЛА

Кровли из профилированного настила изготавливаются из специальных профилей горячеоцинкованной стали толщиной 0,5-0,9 мм. Такое покрытие обладает высокой устойчивостью к воздействию ультрафиолетовых лучей и температур (от -50 °С до +120 °С) и обеспечивает срок эксплуатации не менее 30 лет. Конструкции легкие (4,5-13,0 кг/м2 ) монтируются на обрешетке крепежными винтами - саморезами с герметизирующими прокладками в шляпке и для монтажа не требуют практически никакого тяжелого оборудования (рис.1). При этом фирмы предоставляют большой выбор дополнительных материалов таких, как планки (коньковые, торцевые, карнизные, для внутренних швов и др.), уплотнения, покрытые слоем пластика того же цвета, что и кровельные листы, водосточные системы, лестницы и многое другое.
Неуклонно возрастающий спрос на металлочерепицу и профнастил в последние годы объясняются сочетанием высокой долговечности, экономичности, низкой материалоемкости, промышленного изготовления и высокой готовности длинномерных листов с простотой и малыми трудозатратами на монтаж.

Рис.3 а. Комплектующие материалы для кровель из металлочерепицы и профнастила
а - планка конька на все типы профиля, длина 2000мм;
б - планка конька полукруглая, длина 2000 мм (на типы Монтеррей и Элмт);
в - конец на коньковую планку для шатровой крыши;
г - планка формы "Y" для конька шатровой крыши;
д - торцовая планка, длина 2000 мм, на все виды профиля;
е - карнизная планка, длина 2000 мм, на все типы профиля;
ж - гладкий лист для внутренних швов и стыков, на все типы профиля;
з - планка для наружных углов, длина 2000 мм, на все типы профиля
Рис.3 б. Комплектующие материалы для кровель из металлочерепицы и профнастила
а - конец на коньковую планку;
б - выходная труба;
в -торцевая планка 50x50, длина 2000 мм, на все типы профиля;
г - панель с выходным отверстием;
д - планка для внутренних швов и стыков, на все типы профиля;
е - верхняя планка, длина 2000 мм, на все типы профиля;
ж - планка для внутренних углов, длина 2000 мм, на все типы профиля;
з - уплотнения, особые для каждого профиля

Рис.3 в. Комплектующие материалы для кровель из металлочерепицы и профнастила
а - планка с внутренним и наружным углом, длина 2000 мм, на все типы профиля;
б - планка для швов и стыков, длина 300 мм, на все типы профиля;
в - боковая планка, длина 2000 мм, на все типы профиля;
г - планка для разжелобка, длина 2000 мм;
д - гвоздь с уплотнительной шайбой;
е - самонарезающий шуруп 4,8x28 с уплотнительной шайбой и головкой под любой цвет профиля

Рис.3 г. Комплектующие материалы для кровель из металлочерепицы и профнастила
а - снегозадержатель, длина 2000 мм, на все типы профиля;
б - снегозадержатель, длина 300 мм, на все типы профиля;
в - панель для сквозного выхода 400x400;
г - пожарный люк;
д - панель с выходным отверстием, тип Б;
е - лист для покрытия наружных углублений, длина 2000 мм, на все типы профиля
ОСНОВАНИЕ ПОД КРОВЛЮ ИЗ ПРОФИЛИРОВАННОГО ЛИСТА
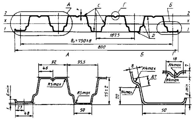
Профилированный лист - современный, прочный, долговечный, легкий, технологичный и эстетичный кровельный материал, изготавливаемый методом штамповки из листов оцинкованной стали. Листы имеют длину до размера ската крыши - 7 м, ширину 1,2 м при толщине листа до 0,9 мм. Жесткость листов профилированного листа выше, чем жесткость картин кровли из обычных листов оцинкованной стали.
Рис.4. Обрешетка
Основание кровли из профилированного листа мало чем отличается от основания под стальную кровлю, однако большая жесткость профилированного листа позволяет обрешетку выполнять из доски сечением 100*40 мм и укладывать их с шагом 300 мм, в то время как для обычной стальной кровли этот шаг составляет 200-270 мм. Безусловно, сечение обрешетки зависит и от действующих нагрузок (снег, ветер и т.п.), и от шага стропил. Требования по антисептированию, огнезащите древесины и рекомендации по породам древесины те же, что и для кровли из стальных оцинкованных листов.
ТЕХНОЛОГИЯ И ОРГАНИЗАЦИЯ ВЫПОЛНЕНИЯ РАБОТ
1. Листы профилированные поставляются на строительные объекты с заводов, как правило, по предварительно заявленным размерам, которые устанавливаются в результате тщательных обмеров ската крыши.
2. Форма крыши - односкатная, двускатная, щипцовая, мансардная и др. влияют на размеры заявляемых профильных листов, так как наиболее важное значение при обмерах ската имеют основной размер: от карниза до конька.
3. При обмерах ската учитывается непременное условие – профилированные листы укладывают на обрешетку так, чтобы край ее выступал наружу не более, чем на 40 мм. Превышение этого размера (40 мм) не допускается из-за возможной деформации листа.
4. При устройстве стропил и обрешетки не должно быть перекосов, скаты должны иметь все размеры в соответствии с проектом.
5. Для устройства кровли используются профилированные листы.
6. Зная стандартную полезную ширину листов металлочерепицы, можно подсчитать необходимое их количество. При длине скатов более 7,5 м листы рекомендуется разбивать на два куска с нахлестом 200 мм.
7. Хранить листы металлочерепицы, поступившие с завода на строительную площадку, нужно следующим образом: привезенные листы металлочерепицы в заводской упаковке должны быть уложены на ровном месте на брусья толщиной до 20 см с шагом до 0,5 м (рис.4). Если монтаж кровли планируется на срок более 1 месяца, листы металлочерепицы следует переложить рейками. Высота стопки листов не более 1 м.
Рис.5. Хранение профилированного листа.
8. Перед началом устройства кровли из профилированного листа произвести контрольный обмер скатов с установлением плоскостности и их перпендикулярности по отношению к линиям конька и карнизов. Этот процесс является контрольным потому, что он будет определяющим к соблюдению качества укладки металлочерепицы.
9. Обрешетка под профилированные листы выполняется из антисептированных досок сечением 40*100мм с расстоянием по осям: 300мм.
10. Выходящая на карниз доска должна быть на 10-15 мм толще других.
11. Обрешетку следует укладывать сверху на свободно уложенный на стропила гидропароизоляционный материал для обеспечения вентиляции под кровельными листами (между гидроизоляционным материалом и металлочерепицей) и предотвращения конденсата с нижней стороны кровельного листа.

Рис. 6
Укладка гидроизоляционной прокладки на стропила
1 - обрешетка;
2 - прокладка;
3 - стропильная балка;
4 - планка над стропильной балкой
Рис. 7
Материал гидропароизоляции должен впитывать влагу со стороны теплоизоляции. Для хорошей вентиляции гидропароизоляция делается так, чтобы струя холодного воздуха беспрепятственно могла пройти от карниза под конек крыши. Вентиляционные отверстия устраиваются и самом высоком месте кровли.
Движение воздуха от карниза к коньку
1 - обрешетка;
2 - гидроизоляционный рулонный материал;
3 – профилированный лист;
4 - направление движения воздуха
12. Гидропароизоляционный материал (прокладку) устанавливают внахлест (100-150 мм) от карниза к коньку. Воздух для вентиляции попадает под профильный лист от карниза к коньку.

Рис. 8
Карнизный участок крыши
1 - защитная доска;
2 - зашивка карниза;
3 - направление движения воздуха
13. При устройстве обрешетки под профилированные листы в сырых помещениях оставляют зазор (минимум 50 мм) между нижней поверхностью гидроизоляции и нижним покрытием. Такая конструкция требует поднять обрешетку дополнительно на 50 мм, чтобы нижняя часть гидроизоляции проветривалась. Для этого на стропила прибивают бруски сечением 50x50 мм.
Для предотвращения просачивания влаги на обрешетку под конек следует прибить полосу гидроизоляционного материала.
14. Доски на торцевых участках и доски ребристой обшивки, выходящие на карнизы, должны быть выше обрешетки на высоту профильного листа

Рис. 9
Размещение торцевой планки
1 - торцевая планка; 2 - обрешетка
2.15. Карнизная планка должна быть закреплена до укладки листов оцинкованными гвоздями через 300 мм. Чтобы коньковая планка была хорошо закреплена, под нее по обе стороны прибивают по две дополнительные доски.

Рис. 10 Укладка дополнительных досок на коньке по стропилам
1 - дополнительные доски; 2 - стропила; 3 - уплотнительный профиль
2.16. Монтаж листов металлочерепицы начинается с торцевых участков на двускатной крыше, а на шатровой крыше листы устанавливают и крепят от самой высокой точки ската по обе стороны.
2.17. Капиллярная канавка каждого листа должна быть накрыта последующим листом.
Закрепление листов над капиллярными канавками в местах нахлестов показана на Рис.


Рис.11 Закрепление мест нахлестов винтами
18. Монтаж кровельных листов можно начинать как с левого, так и с правого торца. Когда монтаж начинают с левого края, то следующий лист устанавливают под последнюю волну предыдущего листа. Край листа устанавливают по карнизу и крепится с выступом от карниза на 40 мм.
19. Крепление листов начинать с закрепления трех-четырех листов винтом самонарезающим на коньке, выровнять их строго по карнизу, затем крепить окончательно по всей длине:
Для этого установить первый лист и прикрепить его одним винтом самонарезающим у конька. Затем уложить второй лист так, чтобы нижние края составляли ровную линию. Скрепить нахлест одним винтом самонарезающим по верху волны под первой поперечной складкой.
Если окажется, что листы не стыкуются, следует сначала приподнять лист от другого, затем, слегка наклоняя лист и двигаясь снизу вверх, укладывать складку за складкой и скреплять винтом самонарезающим по верху волны под каждой поперечной складкой.
20. Скрепить 3-4 листа между собой и получившийся ровный нижний край выровнять строго по карнизу, затем скрепить листы к обрешетке окончательно.
21. Профильные листы крепить винтами самонарезающими с окрашенной восьмигранной головкой с уплотнительной шайбой, которые ввинчивают в прогиб волны профиля под поперечной волной перпендикулярно к листам . Используются, как правило, винты размерами 4,5x19 мм и 4,8x25,35 мм.
22. В местах продольных нахлестов листов рекомендуется скреплять между собой при помощи винтов самонарезающих размером 4,5(4,8)х19 мм с шагом через одну волну. В местах нахлеста листов по длине рекомендуется обеспечить "перехлест" листов не менее 200 мм.
23. Конек крыши должен закрываться коньковыми элементами после установки всех рядовых листов металлочерепицы и закрепления уплотнительной прокладки. Коньковые элементы должны закрепляться винтами самонарезающими на каждой второй профильной волне.
24. Между коньком и листами рекомендуется устанавливать специальную профильную уплотнительную прокладку. Конькову планку устанавливать строго по шнуру, шаг винтов 200-300 мм. Профильная уплотнительная прокладка кренится к обрешетке тонкими оцинкованными гвоздями.
При необходимости обрезки листов следует пользоваться ножовкой по металлу, ножницами или ручной электропилой с твердосплавными зубьями.
Все места среза, сколов и повреждений защитного слоя должны быть окрашены для предохранения листа от кромочной коррозии .

Рис.12. Окраска срезов, сколов и повреждений защитного слоя
Таблица 2.
Материально-технические ресурсы. Перечень машин, механизмов и оборудования
| Код |
Наименование машин, механизмов и оборудования |
Тип, марка, ГОСТ |
Назначение |
Количество на звено (бригаду) |
| 1 |
2 |
3 |
4 |
6 |
| 1 |
Электроножницы |
С-424 |
Обрезка листов |
1 шт. |
| 2 |
Ручные ножницы |
ГОСТ 12.2.118-88 |
Подрезка углов листа |
1 шт. |
| 3 |
Электропила ручная |
Обрезка листов |
1 шт. |
|
| 4 |
Ножовка по металлу |
Обрезка листов |
1 шт. |
|
| 5 |
Киянка по металлу |
Правка листов |
4 шт. |
|
| 6 |
Аэрозольный баллон с краской |
Окраска опиленных и поврежденных поверхностей |
1 шт. |
|
| 7 |
Электродрель с насадкой (гнездами) для винтов |
Установка винтов самонарезающих |
1 шт. |
|
| 8 |
Молоток стальной (ручник) |
ГОСТ 11042-90 |
Забивка гвоздей |
4 шт. |
| 9 |
Рулетка металлическая |
РС-20, ГОСТ 7502-98 |
Замеры |
1 шт. |
| 10 |
Рейка складная универсальная, длина Зм |
КОНДОР-ЗМ |
Проверка уклонов, ровности основания |
1 шт. |
| 11 |
Уровень |
Проверка горизонтальности |
1 шт. |
|
| 12 |
Кисть маховая |
ГОСТ 10597-87 |
Сметание металлической пыли |
2 шт. |
| 13 |
Щетка волосяная |
Уборка мусора и опилок |
2 шт. |
|
| 14 |
Каска для предохранения головы от ударов |
ГОСТ 12.4.087-84 |
Защита от ударов |
4 шт. |
| 15 |
Пояс предохранительный |
ГОСТ Р 50849-96 |
Защита от падения |
4 шт. |
| 16 |
Очки защитные |
03-3, ГОСТ Р 12.4.013-97 |
Защита глаз |
4 шт. |
| 17 |
Рукавицы |
Защита рук |
4 пары |
|
| 18 |
Трап монтажный |
Передвижение по кровле |
2 шт. |
|
| 19 |
Веревка монтажная |
Привязка рабочих к конструкциям |
4 шт. |
|
| 20 |
Гвозди |
По проекту |
3. Требования к качеству и приемке работ
3.1. В процессе подготовки и выполнения кровельных работ проверяют:
качество листов металлочерепицы;
отсутствие царапин, деформаций, изгибов, надломов, размеры по длине;
качество выполнения обрешетки - сечение обрешетин, расстояние между обрешетинами и соответствие проектному решению;
наличие прокладочного гидроизоляционного материала;
наличие торцевых, коньковых, карнизных планок;
готовность всех конструктивных элементов для выполнения кровельных работ;
равильность выполнения всех примыканий к выступающим конструкциям;
правильность выполнения вентиляционного канала;
правильность выполнения конька, ендовы, карнизов;
правильность установки и закрепления лестницы, переходных мостиков, лестницы на крыше, правильность устройства системы водоотвода.
3.2. Приемка работ должна сопровождаться тщательным осмотром ее поверхности и особенно в ендовах, на карнизных участках, в местах устройства конька, всей водоотводящей системы.
3.3. Выполненная кровля из металлочерепицы должна удовлетворять следующим требованиям:
вес листы металлочерепицы, в том числе коньковые элементы должны быть плотно прикреплены к обрешетке, без перекосов, с соблюдением нахлесток, с соблюдением размера выноса обрешетки. На поверхности листов металлочерепицы не должно быть повреждений, изломов, вмятин, царапин.
3.4. Обнаруженные при осмотре готовой кровли производственные дефекты должны быть исправлены до сдачи дома в эксплуатацию.
3.5. Приемка готовой кровли должна быть оформлена актом с оценкой качества работ.
3.6. Приемка выполненных работ подлежит освидетельствованию актами скрытых работ, в том числе выполненной пароизоляции, теплоизоляции, гидроизоляционного слоя (если эти элементы конструкции имеются), устройство антенн, растяжек, стоек, мансардных окон.
3.7. Требования к качеству кровель и предметы контроля приведены в таблице 3.
Контролируемые параметры
Таблица 3
| Код |
Наименование процессов и конструкций, подлежащих контролю |
Технические характеристики оценки качества |
Предмет контроля |
Способ контроля и инструмент |
Время проведения контроля |
Ответственный за контроль |
||||
| 1 |
2 |
3 |
4 |
5 |
6 |
7 |
||||
| 1 |
Обрешетка |
Соответствие проекту |
Сечение и ровность поверхности; антисептирование |
Измерительный, рейка КОНДОР-ЗМ; визуально |
В процессе работы |
Строительный мастер |
||||
| 2 |
Укладка торцевой планки |
То же |
Линейность, качество крепления |
Визуально по шнуру |
То же |
Тоже |
||||
| 3 |
Укладка коньковой планки |
То же |
Линейность, качество крепления |
То же |
То же |
То же |
||||
| 4 |
Укладка карнизной планки |
Соответствие проекту |
Линейность, качество крепления |
Визуально по шнгуру |
В процессе работы |
Строительный мастер |
||||
| 5 |
Монтаж кровельных листов |
То же |
Плотность (отсутствие зазоров) |
Визуально |
То же |
То же |
||||
| 6 |
Соблюдение нахлестов по ширине, по длине |
То же |
Прилегание листов друг к другу |
Измерительный, рулетка |
То же |
То же |
||||
| 7 |
Ендова |
То же |
Наличие подкладочного листа |
Визуально |
Тоже |
То же |
||||
4. Технико-экономические показатели
Значения затрат труда (ч/час), выработки па одного рабочего в смену (м
) и заработной платы рабочих (руб.) рассчитываются в целом на общий объем кровельных работ или по элементам конструкции на основании калькуляций, исходя из нормативных затрат труда.
Калькуляция затрат труда
Таблица 4
| Наименование работ |
Единица измерения |
Объем работ |
Норма времени на единицу измерения, чел. - ч |
Затраты труда на общий объем работ, чел. - ч |
| 3 |
4 |
5 |
6 |
7 |
| Подъем листов металлочерепицы на кровлю |
100 т |
0,005 |
17 |
17 |
| Укладка листов металлочерепица |
100 м |
1 |
-46 |
46 |
Потребность в материалах, изделиях и конструкциях на 100 м![]()
Таблица 5
| Код |
Наименование материалов, изделий |
Исходные данные |
Потребность на измеритель конечной продукции |
||
| Обоснование нормы расхода |
Единица измерения по норме |
Норма расхода |
|||
| 1 |
2 |
3 |
4 |
5 |
6 |
| 1 |
Обрешетка |
По проекту |
м |
В зависимости от типа применяемой металлочерепицы |
|
| 2 |
Листы металлочерепицы |
По проекту |
м |
||
| 3 |
Коньковая планка полукруглая |
м |
|||
| 4 |
Конец на коньковую планку |
шт. |
|||
| 5 |
Торцевая планка |
шт. |
|||
| 6 |
Карнизная планка |
шт. |
|||
| 7 |
Планка для внутренних стыков (ендовая) |
шт. |
|||
| 8 |
Планка для наружных углов |
шт. |
|||
| 9 |
Планка для внутренних углов |
шт. |
|||
| 10 |
Планка стыков |
||||
| 10 |
Винт самонарезающий |
шт. |
6-7 шт./м |
600-700 |
5. Техника безопасности и охрана труда, экологическая и пожарная безопасность
5.1. Все кровельные работы следует выполнять в соответствии с требованиями утвержденного проекта производства работ, с которым он должен быть ознакомлен, проект производства работ должен находиться на строительной площадке.
5.2. Запрещается производить кровельные работы во время гололеда, тумана, исключающего видимость в пределах фронта работ, грозы и ветра скоростью 15 м/с и более.
5.3. При выполнении работ на влажных кровлях, а также при работе на крыше с уклоном более 20 независимо от уклона кровельщик должен пользоваться:
предохранительными поясами и страховочными канатами толщиной не менее 15 мм; места закрепления карабина должны быть указаны мастером или прорабом; канаты для закрепления поясов не должны тереться на острых гранях строительных конструкций, а в таких местах следует уложить предохранительные подкладки;
нескользящей обувью (войлочной, валяной).
5.4. Допуск рабочих на крыши осуществляется только после проверки исправности несущего основания.
5.5. В связи с возможным падением с крыши инструмента, материалов необходимо устраивать вдоль наружных стен зданий ограждение зоны в соответствии со СНИП 12-03-2001, СНИП 12-04-2002.
5.6. Ежедневно по окончании работы крышу следует очищать от остатков материала и мусора, загружая последние в контейнеры или бачки, и опускать их на землю с помощью крана или лебедок. Сбрасывать мусор с крыши не допускается.
5.7. Пускатель или рубильник для включения электромеханизмов должен находиться в ящике, запираемом на замок. При уходе с рабочего места все электромеханизмы и электроинструмент должны обесточиваться.
5.8.При работе на скатах со значительным уклоном (более 20°) при отсутствии ограждающих парапетов или решеток, необходимо пользоваться предохранительными поясами, привязывая их к устойчивой конструкции здания. При работе на свесах кровли привязывание необходимо независимо от величины уклона крыши.
5.9. Элементы и детали кровель из металлочерепицы подавать на рабочие места в заготовленном виде.
5.10. Во время перерывов в работе инструмент и материалы должны быть закреплены на крыше или убраны. Все работающие на объекте должны быть обеспечены защитными касками.
5.11. При выполнении работ, на которые выдается наряд-допуск, кровельщик должен пройти текущий инструктаж, который регистрируется в наряде-допуске.
5.12.После каждого вида инструктажа кровельщик должен пройти проверку знаний, усвоенных им при инструктаже, которую осуществляет лицо, проводившее инструктаж.
5.13. Кровельщик, не усвоивший инструктаж или показавший при проверке знаний по безопасности труда неудовлетворительные знания, к самостоятельной работе не допускается, он обязан вновь пройти инструктаж и проверку знаний.
5.14. На крышах с уклоном от 0° до 30°, оборудованных парапетами или ограждениями, разрешается работать без привязывания. При работе на свесах кровли следует применять переносное предохранительное ограждение.
Технико-экономические показатели
Затраты труда, чел-ка:
подъем листов металлочерепицы на кровлю (ед. изм. - 100 т)+17
укладка листов металлочерепицы (ед. изм. - 100 м2 покрытия)+46
В технологической карте также даны: требования к качеству работ, калькуляции затрат труда, мероприятия по охране труда, пожарной безопасности.
Примечание. В случае отсутствия указанных в карте марок машин, механизмов, оснастки рекомендуется заменять их на другие, с аналогичными техническими характеристиками.
ИНСТРУКЦИЯ
по охране труда и технике безопасности для кровельщика
Общие требования
1. Для выполнения кровельных работ кровельщик должен быть обеспечен спецодеждой, спецобувью и индивидуальными защитными средствами в соответствии с действующими нормами.
2. При работе на высоте следует пользоваться предохранительным поясом с прочной веревкой.
3. На крышах со значительным уклоном рабочий, кроме тoгo, должен быть снабжен валяной или войлочной обувью.
4. Если на крыше установлено тросовое ограждение, прикрепленное к стропилам вдоль карниза, то карабин цепи предохранительного пояса следует зацеплять за этот трос, если вместо цепи применяю веревку, то один конец ее прикрепляют к кольцу пояса, а другой к стропилам.
5. При работе на крышах с уклоном более 25 град., а также на мокрых или покрытых инеем (снегом) крышах (независимо от их уклона), помимо предохранительных поясов, необходимо применять переносные ходовые мостики из двух досок шириной 300 мм, скрепленных планками.
6. При работе на плоских крышах, не имеющих постоянного ограждения (парапетной решетки и др.), надо устанавливать временные перильные ограждения высотой 1 м, с бортовой доской размерами 25х180 мм.
7. При любом уклоне крыши складирование па кровле штучных материалов, инструмента и емкостей с мастикой допускается только при условии прочного привязывания их, а также устройства для этой цели специальных площадок или подставок.
8. При отсутствии наружных лесов вокруг зданий производство кровельных работ следует производить при наличии внизу огражденной зоны шириной не менее 8 м.
9. Инструмент кровельщика должен быть исправным и храниться в инструментальном ящике или сумке, надеваемой через плечо.
10. Выполнять кровельные работы на крыше запрещается в случаях:
а) обледенения кровли, густого тумана, ливневого дождя или сильного снегопада;
б) ветра силой более 5 баллов;
в) наступления темноты, если нет необходимости искусственного освещения кровли и подходов к ней.
11. При работе вблизи электросетей или действующего электрооборудования последние должны быть ограждены или обесточены.
12. Оставлять материалы, приспособления и инструмент на кровле по окончании смены или во время перерывов в работе, а также сбрасывать их с крыши запрещается.
13. Хранить растворители, грунтовки и мастики вблизи открытого огня, а также курить при работе с ними запрещается.
14. Люлька, применяемая для кровельных работ, должна быть испытана двойной рабочей нагрузкой, иметь сплошной пол и боковые ограждения.
15. Лебедка, предназначенная для подъема люльки, должна быть снабжена двойным тормозным устройством с безопасными рукоятками и иметь загрузочный балласт весом не менее двойного веса люльки с рабочей нагрузкой.
16. Люлька подвешивается на гибких стальных тросах при помощи блоков на выпускных консолях, прочно укрепленных за стропила.
Закреплять тросы за карнизы и другие части здания запрещается.
Обязанности кровельщика
Перед началом работы
17. Надеть соответствующую действующим нормам спецодежду и спецобувь. При работе на мягких кровлях во избежание затекания горячих мастик в сапоги или ботинки, брюки необходимо надевать навыпуск, глаза следует защищать специальными очками.
18. Проверить исправность инструмента и приспособлений (ходовые мостики, лестницы), а также емкостей для варки и переноски разогретых мастик.
19. Убедиться в надежности подмостей и лесов, а на плоской кровле временного ограждения с бортовой доской. В случае применения тросового ограждения при устройстве жестких кровель проверить его устойчивость. Зимой участки кровли, на которых ведутся работы, надо очистить от снега и наледи.
20. Проверить исправность стропил обрешетки, опалубки, карнизных дощатых настилов и т. п.
21. Проверить, ограждено ли место работы внизу здания.
22. Надежно укрепить все материалы на крыше.
При устройстве кровли из рулонных материалов
23. При варке, транспортировании и нанесении горячих мастик необходимо во избежание ожогов соблюдать особую осторожность.
24. На участке работы, где производится варка мастики и наклейка рулонных материалов, нужно иметь аптечки с набором перевязочных материалов и медикаментов против ожогов.
25. Кровельные мастики следует варить в котлах, очищенных от гари и прочно закрепленных в корпусе печи, котлы должны иметь плотно закрывающиеся несгораемые крышки.
26. Котлы надо устанавливать на ровных площадках, удаленных от легко возгораемых зданий не менее чем на 50 м. Запас сырья и топлива следует хранить на расстоянии не ближе 5 м от котла.
27. Котел можно наполнять не более чем на три четверти его емкости. Чтобы не вызвать разбрызгивания массы, куски битума надо осторожно и постепенно опускать по борту котла со стороны, противоположной топочному отверстию.
28. Если котел для варки мастики установлен на открытом воздухе, над ним следует устроить навес.
29. Мастика в котле надо перемешивать металлическим веслом с длинной ручкой, а разливать в емкости (бачки) ковшом с рукояткой длиной не менее 1,5 м.
30. Возле котла должен иметься компакт противопожарных средств (пенные огнетушители, лопаты, сухой песок в ящике, вода в бочках).
31. При воспламенении мастики котел следует плотно закрыть крышкой. Для тушения мастики надо применять огнетушители или песок, а горящие дрова заливать водой (засыпать снегом). Тушить горящую мастику водой запрещается.
32. При появлении течи в котле необходимо немедленно прекратить работы, очистить котел и отремонтировать его.
33. Горячие мастики следует поднимать на крыши, a также опускать вниз при помощи механизмов (скороподъемники, легкие краны и т. п.) в надежно закрытых емкостях.
Во избежание несчастных случаев места подъема мастик должны быть ограждены.
34. Для приема бачков или других закрытых емкостей с горячей мастикой на крыше должна быть устроена приемная площадка с ограждением высотой 1 м и жестким бортом.
35. Доставлять разогретые мастики к рабочим местам следует в конических плотно закрытых крышками бачках, заполненных не более чем на три четверти емкости. При малом-объеме работ или нецелесообразности использования механизмов бачки можно перепоешь вручную. Бачки переносят двое рабочих, пользуясь специальными держателями с рукоятками. Переносить горячие мастики по лестницам и стремянкам запрещается.
36. При больших объёмах работ конические бачки или термосы с горячей мастикой следует транспортировать на само захватной двухколесной тележке.
37. Все проходы, по которым транспортируются мастики, должны содержаться в чистоте, зимой их следует очищать от снега и льда и посыпать песком проходы и чердачные помещения должны быть хорошо освещены.
38. При опиловке минераловатных и торфоизоляционных плит необходимо пользоваться защитными очками, респираторами и рукавицами из плотной ткани
39. При работе с зеленым маслом и изготовленными на нём холодными грунтовками и мастиками следует помнить о вредности этих материалов. Во избежание загрязнения кожи необходимо надеть защитную спецодежду, а также пользоваться инструментом и приспособлениями с длинными ручками (черпаками, ковшами, гребками, кистями и т. п.)
40. Во избежание попадания грунтовки, наносимой способом распыления, на лицо и руки нужно становится с наветренной стороны.
41. Попавшие на кожу битум, пек или мастику следует смывать теплой водой с пастой- мылом института имени Эрисмана или мыльно- ланолиновой пастой.
42. Укладку покрытия в рабочих захватах нужно вести на встречу подаче материалов, избегая их транспортирования по готовым участкам кровли.
43. При нанесении горячих мастик во избежание ожогов следует становиться с наветренной стороны и надевать защитные очки. Бачки с мастикой надо устанавливать на куске толя или рубероида, расположенных горизонтально, чтобы не допустить их опрокидывания и спекания мастики с кровли.
44. При ожоге следует немедленно обратиться к врачу медпункта или в поликлинику.
45. Работать следует только исправным инструментом и приспособлениями.
46. При эксплуатации электрокотелков КРМ-2 для подогревания и приготовления мастик необходимо работать в резиновых рукавицах и галошах (сапогах), не имеющих проколов, надрезов и других дефектов и соблюдать все правила техники безопасности при работе на соответствующих строительных машинах.
47. До перемещения электрокотелков следует выключить все рубильники и освободить котелки от мастики.
48. При эксплуатации электрокотелков запрещается:
а) работать при отсутствии заземляющих устройств или неисправности котелков;
б) загружать котелки более чем на три четверти их емкости;
в) загружать битум руками;
г) загружать один котелок одновременно с выдачей мастики из другого;
д) ремонтировать котелки, содержащие расплавленный битум.
При покрытии деталей крыши листовой сталью
49. Все работы по огрунтовке (проолифке) черной листовой стали для картин, желобов, труб, воронок, колен и т. п. следует производить в специальных заготовительных мастерских, готовые детали необходимо доставлять на строительную площадку комплектно.
50. На ручных или рычажных ножницах, применяемых для резания кровельной стали, должны быть упоры или кольца, предохраняющие руки от ранения. Электроножницы необходимо заземлять.
51. Кровельные материалы следует поднимать при помощи подъемных кранов в специальной таре или прочно увязанными пакетами.
52. При установке и креплении воронок, водосточных труб, подвесных желобов, поясков и покрытий подоконников работать следует с выпускных лесов или люлек с обязательным использованием предохранительного пояса.
53. Для удобства и безопасности работы при навеске водосточных труб следует пользоваться люлькой на одного кровельщика, которая должна иметь удобное сиденье, опору для ног и место для укладки элементов труб и вспомогательных материалов.
54. При заточке инструмента на наждачном круге точильного станка необходимо соблюдать следующие правила:
а) пользоваться предохранительными очками или защитным экраном;
б) стоять вполоборота к кругу.
Работать на непрочно укрепленном точильном станке без защитного кожуха и заземления электродвигателя, а также затачивать инструмент, если круг "бьет", запрещается.
55. Для безопасного хранения материалов на крыше следует устраивать специальные настилы или пользоваться инвентарными подставками.
56. На деревянных настилах крыши надо остерегаться торчащих гвоздей, их следует загибать или выдергивать.
При устройстве кровли из асбоцементных листов и других штучных материалов
57. Асбоцементные волнистые листы, плоские плитки или черепицу следует укладывать правильными рядами без сдвигов с равномерными напусками одного листа (плитки) на другой с предварительным обрезом углов и устройством отверстий для гвоздей или шурупов.
58. Для хождения по асбоцементной кровле должны быть уложены переносные мостики.
59. На крышах, покрытых асбоцементными листами (плитками) или черепицей, а также оборудованных подвесными желобами следует устраивать постоянные ходовые мостики вдоль карнизов и на всех подходах к дымовым или вентиляционным трубам.
60. При устройстве кровель из мелких штучных материалов передвижную скамью и ящики для материалов и гвоздей необходимо располагать позади и сбоку кровельщика, закрепляя их на обрешетинах. При работе надо обязательно пользоваться предохранительным поясом.
По окончании работы
61. Все оставшиеся после работы материалы и переносные стремянки следует уложить в чердачное помещение.
62. Люльку надо опустить вниз и снять рукоятки с ее лебедки.
63. Рабочее место необходимо очистить от остатков материала, мусора и пр.
64. Проверить, погашен ли огонь в топке котла для варки мастики. Если это не сделано, необходимо удалить дрова из топки, залить их водой или засыпать песком.
65. Предохранительный пояс вместе с ручным инструментом нужно сдать в кладовую.
66. Спецодежду и спецобувь следует очистить от грязи и сдать на хранение.

