| Скачать .docx |
Дипломная работа: 2-этажный 3-секционный 18-квартирный жилой дом в г Мирном
Введение
Строительство – одна из основных отраслей народного хозяйства страны, обеспечивающая создание новых, расширение и реконструкцию действующих основных фондов. Капитальному строительству принадлежит важнейшая роль в развитии всех отраслей производства, повышении производительности общественного труда, подъеме материального благосостояния и культурного уровня жизни народа.
Современное отечественное строительное производство создано в советский период. В наследство от царской России досталось технически отсталое строительное дело, характеризующееся большой долей ручного труда, слабо развитой промышленностью строительных материалов, как по объему производства, так и по номенклатуре изделий, сезонностью, отсутствием постоянных строительных организаций со своими инженерными и рабочими кадрами.
В 60–70-е годы масштабы строительства возрастали высокими темпами, но в последующие годы в экономике постепенно нарастают негативные тенденции. В строительстве, несмотря на значительное увеличение основных фондов, резко замедлились темпы роста производительности труда при опережающем повышении уровня заработной платы; понизилась трудовая и производственная дисциплина; продолжительность строительства по-прежнему превышала нормативную в два-три раза; качество оставалось низким; росло число маломощных строительных организаций; непомерно увеличился управленческий аппарат и стоимость строительства.
Сложившееся в строительстве положение стало препятствием в социальном и экономическом развитии страны. Принимаемые меры не обеспечивали коренного перелома.
Проводимая в Российской Федерации с 1992 г. кардинальная реформа резко изменила экономическую ситуацию к худшему. Строительство в России после многолетней опеки централизованного планирования и управления оказалось брошенным в никем не регулируемое рыночное пространство. Переход к новым условиям хозяйственной деятельности привел к снижению всех показателей в строительстве. Это связано с низкой инвестиционной активностью в сфере материального производства, неустойчивым финансированием, разрывом существовавших десятилетиями экономических и технологических связей, ничем не ограниченного роста всякого рода бюрократических разрешительных инстанций и другими объективными и субъективными причинами. Не оправдались ожидания масштабной помощи проводимым реформам со стороны западных стран.
Строительная отрасль, как и многие другие, находится в тяжелом критическом состоянии. При этом темпы снижения капвложений с начала 1990‑х гг. значительно превышают темпы сокращения промышленного и сельскохозяйственного производства. Степень износа основных фондов в стройиндустрии и промышленности строительных материалов превышает 50%, а ввод новых фондов всего 1%, т.е. происходит сокращение мощностей. Парк строительной техники устарел, в нем преобладают оборудование большой мощности вместо небольших универсальных и специальных машин.
В два раза по сравнению с 1990 г. снизился ввод жилья. Положение усугубляется правовой и административной неразберихой и непомерно тяжелыми налогами, препятствующими нормальной хозяйственной деятельности.
С 1999 г. наметилась относительная стабилизация экономики и благоприятная тенденция в улучшении основных показателей строительной деятельности. Отрасль постепенно восстанавливается на новых экономических принципах. Крупные и средние строительные организации, ранее функционировавшие в составе больших многоуровневых иерархических структур, преобразованы в акционерные общества с частичным государственным участием.
Строительство имеет повышенную, по сравнению с другими отраслями, гибкость, возможность относительно быстрого расширения объема СМР применительно к потребностям народного хозяйства в целом. Это прежде всего относится к жилищному строительству, как к самому эффективному способу вывода самой строительной отрасли из кризиса. Опыт Москвы и области может служить примером инициирования бума жилищного строительства.
Для восстановления и развития строительства на новых экономических принципах предстоит большая и длительная работа по организации новых и модернизации действующих производственных мощностей в строительстве и в смежных отраслях.
Постепенно в строительстве создаются малые предприятия, в 2000 г. по данным Госстроя РФ они выполнили 28% подрядных работ. Производительность труда на них превышает соответствующие показатели для крупного и среднего бизнеса в строительстве на 90%. На выпуск современной строительной техники постановлением правительства в порядке конверсии переведено сорок предприятий оборонной промышленности. Тем не менее, основная задача развития малого и среднего бизнеса не решена.
До сих пор не получил широкого развития лизинг, в то время, как в развитых странах он является самым распространенным механизмом привлечения инвестиций на обновление основных фондов. При сравнительно небольшом финансировании он позволяет оперативно наращивать парк машин и оборудования, преодолеть отставание в средствах малой механизации.
Необходимо снять искусственные барьеры на пути развития частного бизнеса – дебюрократизировать систему, сократить число разрешительных органов и создавший их чиновничий аппарат; нормализовать процедуры и сроки разрешительной документации. Проводимая в стране правовая реформа и мероприятия по повышению дисциплины и ответственности государственных органов должны привести к положительным результатам.
Для руководителей строительного производства сейчас недостаточно только иметь инженерные знания.
Россия обладает квалифицированными кадрами инженеров и рабочих, не уступающих по своим техническим знаниям строителям индустриально-развитых западных стран. Но руководителям отечественных строек не хватает правовой и экономической культуры, четкости и пунктуальности в работе, знания и навыков использования возможностей современных информационных технологий являются базой управленческой деятельности.
Присущие рынку жесткие условия конкуренции разворачивают строительные фирмы лицом к потребителю. Появилась необходимость изучать потенциальных заказчиков, информировать их о своих возможностях и достоинствах, а получив заказ, – тщательно исследовать поставщиков и субподрядчиков. Все это представляет собой новое для российских строителей направление деятельности – маркетинг.
В организации строительного производства предстоит освоить современные методы работы в двух основных взаимосвязанных направлениях – компьютеризация и профессиональное управление. Основная идея этого опыта состоит в том, что управление производством – не вид деятельности, которым может заниматься любой человек, а самостоятельная, отдельная профессия, требующая соответствующих навыков и знаний. Особенно это важно для руководителей строительного производства, где управление, по мнению многих специалистов, на грани искусства, которым предстоит овладеть будущим инженерам-строителям.
1 . Исходные данные для проектирования
1.1 Назначение здания и условия его эксплуатации
Площадка строительства, 4‑х этажного гарнизонного общежития на 248 человек, расположена в городе Мирный, по улице Советская.
Общежитие запроектировано кирпичным 4‑х этажным с тех подпольем. Все этажи являются типовыми жилыми этажами.
Проект разработан на следующих условиях:
- рельеф местности – условно горизонтальная площадка
- грунтовые воды в основании фундаментов отсутствуют
- грунты непросадочные, однородные, мало сжимаемые
Проект не рассчитан на применение в районах с сейсмичностью выше 6 баллов, районах горных выработок и вечной мерзлоты, а также в климатических подрайонах IА, IБ, IГ, IVА.
Оконные блоки принимаются с двойным остеклением.
За отметку 0,00 принят уровень чистого пола 1‑го этажа.
Проект разработан для производства работ в зимних условиях.
Здание II класса, II степени долговечности, II степени огнестойкости.
1.2 Место расположения здания
Площадка строительства, 4‑х этажного гарнизонного общежития на 248 человек, расположена в городе Мирный по улице Советская.
1.3 Климатические условия
В Архангельской области преобладает умеренно-континентальный климат лесной зоны.
Расчетная зимняя температура наружного воздуха: – средняя наиболее холодной пятидневки –32 0 С.
Снеговой район: IV
Вес снегового покрова: 1500Н/см2
Ветровой район: I
Скорость ветра: 35 кгс/м2
Зона влажности: влажная
Климатический район: IIА.
Глубина промерзания: 1,6 м
Количество осадков: 675 мм
Сейсмичность района: отсутствует
1.4 Генеральный план и рельеф участка
Архитектурно-планировочные решения по застройке участка, благоустройству, вертикальной планировке и инженерным сетям выполнены на основании архитектурно-планировочного задания.
Рельеф участка ровный. Организация рельефа решена из условия не затопляемости участка.
Отвод поверхностных вод запроектирован по лоткам проезжей части, Установкой дожде приемных колодцев с дальнейшим выпуском в дождевую канализацию.
Комплекс работ по благоустройству участка предусматривает:
- устройство проездов
- устройство тротуаров
- устройство площадок
- устройство зеленых насаждений
Конструкции дорожной одежды приняты:
проездов – асфальтобетонное;
тротуаров – из песчаного асфальта;
дорожек – из бетонной плитки;
площадок – щебеночное.
Благоустройство территории предусматривает создание наиболее удобных условий для жизни, отдыха населения и решается в общем комплексе.
Вся свободная от застройки территория озеленяется путем устройства газонов, посадки деревьев и кустарников. Работы по озеленению должны производится только после окончания строительства сооружения.
1.5 Грунтовые и гидрогеологические условия
Рельеф исследуемой территории относительно ровный с общим пологим (i=0,003) уклоном на север, осложненный иногда овальными карстовыми воронками глубиной 0,5–2,0 м (закрытый карст). Современный рельеф в общих чертах повторяет морфологию кровли верхнекаменноугольных известняков покрытых маломощным слоем верхнечетвертичных отложений. Абсолютные отметки рельефа колеблются от 110 м (в северной части) до 119 м (в южной части). Относительный перепад высот составляет в пределах всей площадки 0,5–2,5 м.
Верхнечетвертичные отложения (gQIII ) представлены мореными суглинками и в верхней части разреза маломощным (до 0,5 м) слоем супесей, по которым развит почвенно-растительный слой (лесные почвы) мощностью 0,2 м (pdQIV ). Мощность мореных образований колеблется от 0,4 до 1,5 м. Основными условиями благоприятными для развития карста на данной территории является близкое к поверхности залегание каменноугольных пород и маломощный покров четвертичных отложений, залегающих на карбонатных породах, легко проницаемых для обильных атмосферных осадок и поверхностных вод. Породы, слагающие район неоднократно подвергались процессам карстообразования в прошлые геологические эпохи.
По степени растворимости карбонатные породы относятся к трудно растворимым.
Ниже приводится характеристика инженерно-геологических элементов в залегании сверху вниз.
Продуктивный горизонт почв ( pdQIV ) .
ИГЭ – 1: Почвенно-растительный слой с корнями растений. Вскрыт повсеместно.
Мореные образования (gQIII )
ИГЭ – 2: Супесь палево-бурая, легкая до тяжелой, плотная, твердая. Слой залегает, как правило, под почвой, маломощный.
ИГЭ – 3: Суглинок коричнево-бурый, легкий, реже тяжелый, пылеватый, плотный, полутвердый и твердый, с гравием и галькой выветрелых известняков в 10–20%.
Верхнекаменноугольные образования (C3 )
ИГЭ – 4: Известняк серый, светло-серый, тонкозернистый, выветрелый, плитчатый, трещиноватый, средней прочности. Rc =1,0–1,5 МПа. Условно-расчетное сопротивление R0 =0.6МПа, 0,8<Квс <0,9. Коэффициент крепости по Протодьяконову –4
Подземные воды на период изысканий на всей исследуемой территории до глубины 2.7 м не отмечаются. Подземные воды пластово-трещинного типа приурочены к толще трещиноватых известняков и залегают на отметках 107 – 108 м.
В неблагоприятные периоды года возможно образование сезонной «верховодки» на малых глубинах 0,5–0,7 м и особенно в пониженных частях рельефа.
Грунты участка не засолены.

1.6 Источники водоснабжения
Водоснабжение жилого дома предусматривается от уличной сети водопровода.
При нижней разводке магистральный трубопровод от водомерного узла следует прокладывать в подвале.
Внутренние водопроводные сети проектируем из отельных оцинкованных труб.
Горизонтальный трубопровод укладываются с уклоном 0,002–0,005 в сторону ввода. Горизонтальные участки подводящих труб располагаются над полом, на высоте 0,15–0,26 м.
Кран мойки располагают на высоте 1,0–1,1 м над полом, кран умывальника -1 м, душ – 2,1 м. Подводка к низко расположенному смывному бачку унитаза находится на высоте 0,75 м.
Канализация прокладывается к городской сети.
Приемниками сточных вод служат санитарные приборы, трапы, сливы, воронки, лотки и т.п. Для приема дождевых сточных вод на поверхности кровли устанавливают водосточные воронки.
В выпусках от всех приемников (кроме унитазов) имеются решетки для задержания твердых загрязнений, могущих вызвать засорение трубопроводов.
Сеть внутренней бытовой канализации монтируют из чугунных канализационных труб. Стояки устанавливают как можно ближе к унитазам. Диаметр стояка должен быть одинаковым по всей высоте стояка и не менее 100 мм.
Выпуски укладываются с уклоном 0,000–0,01 при диаметре 150 мм, с плавным присоединением к стоякам. Наибольший уклон трубопроводов не должен превышать 0,15. Глубина заложения труб выпуска может быть на 0,3 м меньше глубины промерзания грунта. Наибольшая длина труб выпуска от стояка или от прочистки до оси смотрового колодца дворовой канализации при диаметре 150 мм – 10 м. При длине выпуска более указанной, необходимо предусматривать устройство прочисток (внутри здания) или дополнительного смотрового колодца (за его пределами).
Следует предусмотреть устройство и соответствующую заделку проемов через фундамент здания для выпусков канализации.
Продолжением стояков являются вытяжные трубы того же диаметра. Их выводят через чердак на 0,5 м выше неэксплуатируемой кровли здания. Вытяжные участки канализационных стояков выполняют из асбестоцементных или пластмассовых труб.
Для обеспечения бесперебойной роботы канализационной сети на ней должны быть ревизии и прочистки. На стояках ревизии устанавливают на верхнем и нижнем этажах. Но горизонтальных участках сети ревизии или прочистки устанавливают на поворотах и прямолинейных участках: при диаметре 100 мм – через 10 м (прочистка) или 15 м (ревизия).
1.7 Источники теплоснабжения и вентиляции
Источником теплоснабжения является городская теплосеть.
В здании запроектирована двухтрубная система теплоснабжения с нижней разводкой, внутренние сети проектируем из отельных оцинкованных труб.
В качестве нагревательных приборов принимаются чугунные радиаторы типа M-I40.
Температура теплоносителя (воды в системе отопления) принимаем: tо = 75 о С.
Нагревательные приборы следует располагать под окнами у наружных стен без ограждений. На лестничных клетках нагревательные приборы располагают при входе, не перенося их на лестничные площадки.
Кухни, ванные, уборные или объединенные санитарные узлы должны иметь вытяжную вентиляцию с естественной тягой непосредственно из помещений.
Вытяжная вентиляция жилых комнат в одно – двух- и трехкомнатных квартирах должна осуществляться через вытяжные каналы кухонь, ванных, уборных или объединенных санузлов.
При устройстве вентиляции из санитарных узлов допускается объединение вентиляционных каналов кухни и ванной, а также ванной и уборной одной квартиры.
Вентиляционные вертикальные каналы располагаются во внутренних кирпичных стенах. В местах пересечения стен каналы размещать не следует, чтобы не нарушить перевязь кирпичной кладки, от дверных притолок каналы должны отстоять на 1 кирпич. Расстояние между двумя каналами принимается в полкирпича. Размеры вертикальных каналов в кирпичных стенах должны быть кратными размерам кирпича.
При отсутствии внутренних кирпичных стен устраивают приставные каналы из блоков или плит (минимальный размер их 100х150 мм). Устройство вентиляционных каналов в наружных стенах или приставных каналов (без отступки) у наружных стен не допускается.
Вытяжные отверстия в помещениях располагаются на расстоянии 0,5 м от потолка. Внутренние поверхности каналов затираются цементным раствором.
1.8 Источники электроснабжения строительных объектов и машин
Электроснабжение предусмотрено от существующего распределительного пункта.
По степени обеспечения надежности электроснабжения объект относится к II категории.
В здании устанавливаться одно общее вводно-распределительное устройство или главный распределительный щит (ВРУ, ГРЩ), предназначенные для приема электроэнергии от городской сети и распределения ее по потребителям здания. В общественных зданиях ГРЩ или ВРУ должны располагаться у основного абонента независимо от числа предприятий, учреждений и организаций, расположенных в здании.
В жилых домах число горизонтальных питающих линий квартир должно быть минимальным. Нагрузка каждой питающей линии, отходящей от ВРУ, не должна превышать 250 А.
В домах высотой 4 этажа и более число горизонтальных питающих линий должно быть, как правило, не более двух. Разрешается увеличение числа линий, если нагрузка квартир не может быть обеспечена двумя линиями.
Электроприемники противопожарных устройств и охранной сигнализации в общественных зданиях независимо от категории по надежности их электроснабжения должны питаться от разных вводов. При этом отключение остальных потребителей не должно быть связано с отключением электроприемников противопожарных устройств.
Коммутационные и защитные аппараты линий, питающих противопожарные устройства, расположенные на ВРУ (ГРЩ), должны иметь отличительную окраску (красную).
Освещение лестниц, поэтажных коридоров, вестибюлей, входов в здание, номерных знаков и указателей пожарных гидрантов, огней светового ограждения и домофонов должно питаться линиями от ВРУ. При этом линии питания домофонов и огней светового ограждения должны быть самостоятельными. Питание усилителей телевизионных сигналов следует осуществлять от групповых линий освещения чердаков.
ВРУ И ГРЩ, как правило, должны размещаться в специально выделенных запирающихся помещениях (электрощитовых). Двери из этих помещений должны открываться наружу.
Не разрешается размещать электрощитовые в незадымляемых лестничных клетках.
ВРУ и ГРЩ разрешается размещать не в специальных помещениях при соблюдении следующих требований:
Устройства и щиты должны быть расположены в удобных и доступных для обслуживания местах (в отапливаемых тамбурах, вестибюлях, коридорах и т.п.);
Аппараты защиты и управления должны устанавливаться в металлическом шкафу или в нише стены, снабженных запирающимися дверцами. При этом рукоятки аппаратов управления не должны выводиться наружу, они должны быть съемными или запираться на замки.
Прокладка через электрощитовые трубопроводов систем водоснабжения, отопления (за исключением трубопроводов отопления щитовой), а также вентиляционных и других коробов разрешается как исключение, если они не имеют в пределах щитовых помещений ответвлений, а также люков, задвижек, фланцев, ревизий, вентилей. При этом холодные трубопроводы должны иметь защиту от отпотевания, а горячие – тепловую несгораемую изоляцию.
Электрощитовые должны оборудоваться естественной вентиляцией и электрическим освещением. В них должна обеспечиваться температура не ниже 5 °С.
В общежитиях следует предусматривать централизованный учет расхода электроэнергии счетчиками, устанавливаемыми на вводах в здания. Для возможности расчетов за потребленную электроэнергию по дифференцированным тарифам в проектах должны быть приведены данные об установленной мощности и расчетной нагрузке электрических плит, освещения жилых комнат, освещения помещений общего назначения, лифтов и других обще домовых потребителей (отдельно силовых и освещении).
Защитное заземление в электроустановках жилых и общественных зданий должно соответствовать требованиям СНиП 3.05.06–85. К помещениям общего пользования с повышенной опасностью в жилых зданиях относятся: лестничные клетки, поэтажные холлы и коридоры, технические подполья и этажи, подвалы, подсобные помещения в подвалах с токопроводящими полами, чердаки, тепловые пункты, постирочные, сушильные, гладильные, электрощитовые.
Дополнительно к требованиям в жилых и общественных зданиях заземлению подлежат:
В помещениях розетки, устанавливаемые в сети напряжением 380–220 В для подключения переносных и передвижных электроприемников, должны иметь защитные контакты, присоединяемые к сети заземления;
В электроустановках различных назначений и напряжений для заземления должно применяться одно общее заземляющее устройство. Указанное требование не относится к специальным заземлениям технологического оборудования и приборов, которые учитываются в соответствующих технологических разделах проекта здания.
Запрещается использование в качестве заземляющих проводников металлических оболочек изоляционных труб, труб из тонколистовой стали с фальцем, металлорукавом, а также брони и свинцовых оболочек кабелей и сетей газоснабжения.
В жилых и общественных зданиях рекомендуется применение устройств защитного отключения (УЗО) на ток срабатывания не более 30 мА и время срабатывания до 100 мс.
В жилых домах УЗО рекомендуется устанавливать на вводе в квартиру.
При этом номинальный ток УЗО должен быть рассчитан на нагрузку квартиры. Рекомендуется также использование УЗО для переносных электробытовых приборов.
1.9 Обеспечение строительства кадрами
Снабжение строительства материалами рекомендуется производить с предприятий строительной области расположенных в непосредственной близости со строящимся объектом, с целью уменьшения транспортных расходов.
Кадрами, необходимыми для строительства объекта будет обеспечивать Спецтрест №2. Рабочие и инженерно-технические работники будут обеспеченны бытовками в количестве, предусмотренном требованиями СНиП. Спецтрест №2 обеспечен оборудованием, необходимым для ведения строительно-монтажных работ. В случае необходимости каких-либо машин, механизмов, или оборудования они выписываются на основании заявок.
1.10 Технико-экономческие показатели
Строительный объем: 12199,9 м3
В том числе подвала: 178,4 м3
Площадь застройки: 1017,7 м2
Жилая площадь: 1552,52 м2
Общая площадь: 2391,8 м2
Строительный объем на 1 человека: 49,2 м3
Жилая площадь на 1 человека: 6,27 м2
Общая площадь на 1 человека: 9,64 м2
Количество комнат на 3 человека: 40
Количество комнат на 2 человека: 56
Количество комнат на 1 человека: 16
2. Архитектурно-конструктивная часть
2.1 Теплотехнический расчет
2.1.1 Теплотехнический расчет стены
РАСЧЕТ ВЫПОЛНЕН ПО ПРОГРАММЕ: term7, авторы: Никулин С.В. Худяков А.Д.
Расчет выполнил: Ермолов Дмитрий Алексеевич
ИСХОДНЫЕ ДАННЫЕ:
Назначение ограждающей конструкции: Стена
Назначение помещения: Жилое здание
Температура внутреннего воздуха, °С: 20
Температура наиболее холодной пятидневки обеспеченностью 0.92, °С: -31
Средняя температура отопительного периода, °С: -4.7
Продолжительность отопительного периода, сут.: 251
Требуемое сопротивление теплопередаче назначается: Конструктивно
Требуемое сопротивление теплопередаче, м2 ·°С / Вт: 3.570
Коэффициент теплоотдачи внутренней поверхности, Вт/м2 ·°С: 8.7
Коэффициент теплоотдачи наружной поверхности, Вт/м2 ·°С: 23
Коэффициент положения ограждения, n: 1
ПАРАМЕТРЫ СЛОЕВ:
№ слоя Ширина, м Коэффициент теплопроводности, Вт/м2·°С
_____________________________
1 Внутренний отделочный 0.020 0.930
2 Внутренний несущий 0.380 0.870
3 Утеплитель 0.140 0.046
4 Наружный несущий 0.120 0.870
_____________________________________________________________
Вид замкнутых воздушных прослоек: Вертикальная прослойка
Схема конструкции: Схема 2а (с неметаллическим теплопроводным включением)
Размер теплопроводных включений, м: 0.12
Коэфф. теплопр. материала теплопроводных включений, Вт/м°С: 0.87
Глубина заделки края(конца) теплопроводного включения в смежный слой, м.: 0.065
Площадь участков без теплопроводных включений, м2 : 1
Площадь участков с теплопроводными включениями, м2 : 0
Конструктивный шаг изменения толщины расчетного слоя, м: 0.01
Значение относительной влажности воздуха в помещении, %: 55
РЕЗУЛЬТАТЫ ПРОМЕЖУТОЧНЫХ ВЫЧИСЛЕНИЙ:
Общая толщина конструкции, м.: 0.660
Значение коэффициента ЭТА: 0.270
Действительная упругость водяного пара, Па: 1285.900
РЕЗУЛЬТАТЫ ОСНОВНОГО РАСЧЕТА:
Величина ГСОП: 6199.70 сут.
Требуемое сопротивление теплопередаче назначалось Конструктивно и равно: 3.570 м2 ·°С / Вт
Толщина расчетного слоя, м: 0.14
Расчетное сопротивление теплопередаче, м2·°С / Вт: 3.798
и превышает требуемое на 6.39%
Величина Ra превышает Rб на 0.00%
Температура внутренней поверхности: 18.5 °С
Температура внутренней поверхности по теплопроводному включению: 17.1 °С
Температура точки росы: 10.7 °С
Выпадения конденсата не произойдет.
2.1.2 Теплотехнический расчет чердачного перекрытия
РАСЧЕТ ВЫПОЛНЕН ПО ПРОГРАММЕ: term7, авторы: Никулин С.В. Худяков А.Д.
Расчет выполнил: Ермолов Дмитрий Алексеевич
ИСХОДНЫЕ ДАННЫЕ:
Назначение ограждающей конструкции: Перекрытие чердачное
Назначение помещения: Жилое здание
Температура внутреннего воздуха, °С: 20
Температура наиболее холодной пятидневки обеспеченностью 0.92, °С: -32
Средняя температура отопительного периода, °С: -4.7
Продолжительность отопительного периода, сут.: 251
Требуемое сопротивление теплопередаче назначается: По СНиП
Требуемое сопротивление теплопередаче, м2 ·°С / Вт: 4.690
Коэффициент теплоотдачи внутренней поверхности, Вт/м2 ·°С: 8.7
Коэффициент теплоотдачи наружной поверхности, Вт/м2 ·°С: 23
Коэффициент положения ограждения, n: 1
ПАРАМЕТРЫ СЛОЕВ:
№ слоя Ширина, м Коэфициент тепло-
проводности, Вт/м2 ·°С
___________________________________________________
Полужесткие минераловатные
плиты 0.190 0.041
Ж/плита 0.220 2.040
__________________________________________________
Вид замкнутых воздушных прослоек: Прослойка отсутствует
Схема конструкции: Без теплопроводного включения
Размер 'а' теплопроводных включений, м: 0
Коэффициент теплопроводности материала теплопроводных включений, Вт/м°С: 1
Глубина заделки края(конца) теплопроводные включения в смежный слой, м.: 0
Площадь участков без теплопроводных включений, м2 : 1
Площадь участков с теплопроводными включениями, м2 : 0
Конструктивный шаг изменения толщины расчетного слоя, м: 0.01
Значение относительной влажности воздуха в помещении, %: 55
РЕЗУЛЬТАТЫ ПРОМЕЖУТОЧНЫХ ВЫЧИСЛЕНИЙ:
Общая толщина конструкции, м.: 0.410
Действительная упругость водяного пара, Па: 1285.900
РЕЗУЛЬТАТЫ ОСНОВНОГО РАСЧЕТА:
Величина ГСОП: 6199.70 сут.
Требуемое сопротивление теплопередаче назначалось по СНиП и равно: 4.690 м2 ·°С / Вт
Толщина расчетного слоя, м: 0.19
Расчетное сопротивление теплопередаче, м2 ·°С / Вт: 4.900
и превышает требуемое на 4.49%
Величина Ra превышает Rб на 0.00%
Температура внутренней поверхности: 0.0 °С
Температура точки росы: 10.7 °С
Выпадения конденсата не произойдет.
2.2 Решение по применению строительных конструкций и материалов
Наружные стены предусматриваются из силикатного кирпича маки 100 на растворе марки 50.
Цоколь выполняется из глиняного обыкновенного кирпича марки 100 с облицовкой керамическими плитками типа «кабанчик».
Внутренние стены запроектированы из силикатного кирпича марки 75
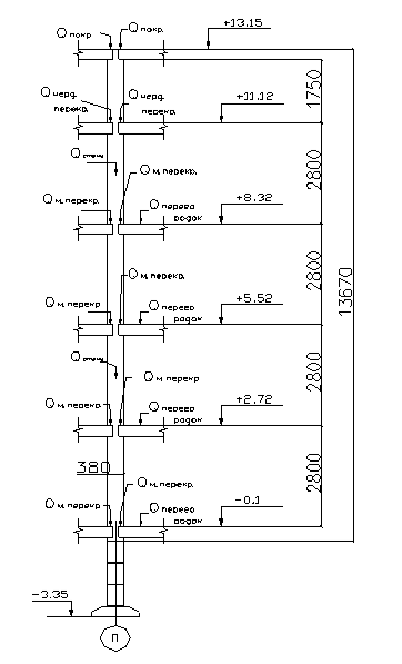
Междуэтажные перекрытия запроектированы над всеми помещениями из железобетонных пустотных панелей толщиной 22 см.
Покрытие из ребристых железобетонных плит покрытий промышленных зданий.
В качестве утеплителя приняты полужесткие минераловатные плиты.
Кровля – рулонная с внутренним водостоком.
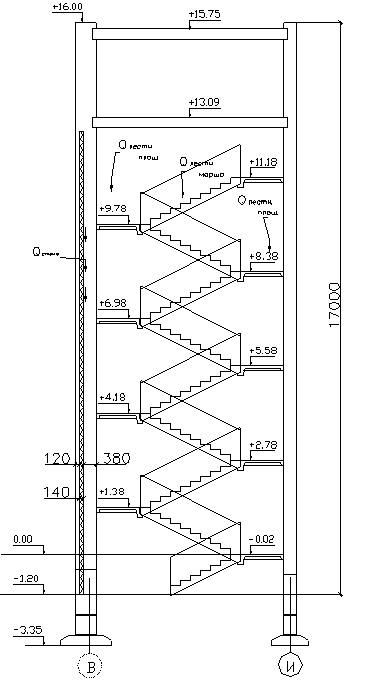
Лестницы – из крупноразмерных железобетонных маршей и железобетонных площадок с укладкой накладных проступей на марши и мозаичного отделочного слоя по верху площадок на заводе.
Перегородки – из гипсоцементных перегородочых плит размером 40
80 см; двойные толщиной 20 см с воздушным зазором 4 см и одинарные – толщиной 8 см.
Отмостка вокруг здания асфальтобетонная шириной 75 см, толщиной 3 см по щебеночному основанию толщиной 7 см. Минимальный уклон отмостки от здания 4%.
Табл. 3.1 Указания по производству полов и отделке помещений
| Наименование помещений |
Полы |
Отделка |
||
| Панель |
Стены |
Потолок |
||
| Жилые комнаты |
Линолеум |
- |
Клеевая покраска |
Клеевая покраска |
| Вестибюль |
Мозаичный |
- |
Масляная покраска |
|
| Кухни |
Плитка ПВХ |
Масляная покраска |
Клеевая покраска |
Клеевая покраска |
| Лестничные клетки |
Мозаичный |
|||
| Постирочные, санитарные узлы |
Керамическая плитка |
Глазурованные плитки |
Покраска краской ПВА |
Покраска краской ПВА |
| Сушильные |
- |
Масляная покраска |
Масляная покраска |
|
| Душевые |
- |
Глазурованные плитки |
||
| Комнаты персонала |
Линолеум |
- |
Клеевая покраска |
Клеевая покраска |
| Электрощитовая |
Бетонный |
- |
||
| Кладовые, коридоры |
Линолеум |
- |
Покраска краской ПВА |
Покраска краской ПВА |
| Комната для занятий |
- |
Клеевая покраска |
Клеевая покраска |
|
| Комната для чистки и глажения одежды |
Масляная покраска |
Покраска краской ПВА |
Покраска краской ПВА |
|
| Тамбуры |
Керамическая плитка |
Масляная покраска |
Клеевая покраска |
Клеевая покраска |
| Тепловой узел |
Бетонный |
- |
Известковая побелка |
Известковая побелка |
| Насосная |
||||
2.3 Указания по производству работ
Производство работ по возведению здания должно выполнятся в полном соответствии с действующими Строительными Нормами и Правилами.
Фасады решаются с облицовкой стен силикатным кирпичом. Вертикальные четверти для оконных и дверных проемов принять 6,5 см. Горизонтальные четверти – 7,5 см.
При производстве отделочных работ руководствоваться следующими указаниями:
Кладка наружных стен ведется с расшивкой швов фасадной стороны, внутренние поверхности стен штукатурятся. Перегородки затираются. Фасадный экран козырька выполняется из профилированного алюминия.
Нижняя поверхность козырька подшивается вагонкой, которая покрывается бесцветным масляным лаком за 2 раза. В нижней обшивке предусматриваются отверстия для установки светильников.
Оконные переплеты с наружной стороны и наружные двери окрашиваются масляной краской светло-бежевого цвета. Нижние обвязки входных и тамбурных дверей с двух сторон обшиваются алюминиевыми листами. Потолки в местах сколов затираются. Швы на потолках расшиваются.
Ограждения внутренних лестниц, трубопроводы и отопительные приборы, внутренние двери окрашиваются масляной или эмалевой краской светлого тона в цвет стен.
Оконные переплеты с внутренней стороны и подоконные доски окрашиваются масляной краской белого цвета.
При производстве работ в зимних условиях кирпичную кладку вести способом замораживания. Для обеспечения прочности кирпичной кладки на период оттаивания и первоначального твердения раствора кладки необходимо разгрузить простенки 1го , 2го и 3го этажей постановкой под концы железобетонных перемычек деревянных стоек диаметром не менее 16 см на клиньях и распределительных подкладках.
Стойки устанавливаются точно одна над другой. Разгрузочные стойки и временные крепления должны сохраняться после оттаивания.
3. Расчетно-конструктивная часть
3.1 Расчет фундаментов мелкого заложения
Фундаменты мелкого заложения возводятся в открытых котлованах. Их отличительными особенностями являются передача нагрузки на основание преимущественно через подошву и отношение высоты фундамента к ширине менее четырех. Применение таких фундаментов обычно считается рациональным при глубине заложения до 2…4 м.
Рельеф исследуемой территории относительно ровный с общим пологим (i=0,003) уклоном на север, осложненный иногда овальными карстовыми воронками глубиной 0,5–2,0 м (закрытый карст). Современный рельеф в общих чертах повторяет морфологию кровли верхнекаменноугольных известняков покрытых маломощным слоем верхнечетвертичных отложений. Абсолютные отметки рельефа колеблются от 110 м (в северной части) до 119 м (в южной части). Относительный перепад высот составляет в пределах всей площадки 0,5–2,5 м.
Верхнечетвертичные отложения (gQIII ) представлены мореными суглинками и в верхней части разреза маломощным (до 0,5 м) слоем супесей, по которым развит почвенно-растительный слой (лесные почвы) мощностью 0,2 м (pdQIV ). Мощность мореных образований колеблется от 0,4 до 1,5 м. Основными условиями благоприятными для развития карста на данной территории является близкое к поверхности залегание каменноугольных пород и маломощный покров четвертичных отложений, залегающих на карбонатных породах, легко проницаемых для обильных атмосферных осадок и поверхностных вод. Породы, слагающие район неоднократно подвергались процессам карстообразования в прошлые геологические эпохи.
По степени растворимости карбонатные породы относятся к труднорастворимым.
В практике освоения закарстованных территорий наибольшее распространение получили монолитные железобетонные фундаменты в виде лент, перекрестных лент и плит, которые должны обеспечить необходимую прочность и жесткость конструкции и несущую способность основания при образовании под ними провала. Для уменьшения силового воздействия на краях сооружений рекомендуется устройство консольных выпусков за пределы контура сооружения.
Так как на нашей строительной площадке процессы карстообразования не обнаружены, то целесообразней использовать сборный вариант фундаментов. В связи с этим нужно предусмотреть ряд мероприятий, которые помогут избежать возникновение процессов карстобразования:
Устройство закрытой ливневой и промышленной канализации;
Предотвращение сброса химически агрессивных по отношению к карстующимся породам промышленных и бытовых вод;
Регулирование откачек подземных вод;
Ограничение объема утечки промышленных и хозяйственных вод в грунт;
Ограничение числа источников вибрации;
Ограничение объема взрывных работ.
Ниже приводится характеристика инженерно-геологических элементов в залегании сверху вниз.
Продуктивный горизонт почв ( pdQIV ) .
ИГЭ – 1: Почвенно-растительный слой с корнями растений. Вскрыт повсеместно.
Мореные образования (gQIII )
ИГЭ – 2: Супесь палево-бурая, легкая до тяжелой, плотная, твердая. Слой залегает, как правило, под почвой, маломощный.
ИГЭ – 3: Суглинок коричнево-бурый, легкий, реже тяжелый, пылеватый, плотный, полутвердый и твердый, с гравием и галькой выветрелых известняков в 10–20%.
Верхнекаменноугольные образования (C3 )
ИГЭ – 4: Известняк серый, светло-серый, тонкозернистый, выветрелый, плитчатый, трещиноватый, средней прочности. Rc =1,0–1,5 МПа. Условно-расчетное сопротивление R0 =0.6МПа, 0,8<Квс <0,9. Коэффициент крепости по Протодьяконову –4. Предварительный расчет фундаментов на естественном основании произведен по программе BLOCK по расчетным сечениям. Программа BLOCK не предусматривает расчет скальных грунтов, поэтому ИГЭ – 4 (известняк) заменяем супесью с повышенными прочностными характеристиками.
Таблица 4.1 Физико-механические свойства грунтов
| №ИГЭ |
№ИГЭ |
р, г/см3 |
рs , г/см3 |
W |
Сцепление, CII |
Угол внутреннего трения |
E, мПа |
Пределы пластичности |
е |
Sr |
IL |
Iр |
|
| WL |
Wр |
||||||||||||
| 1 |
Почвенно-растительный слой |
1.8 |
2.65 |
0.18 |
10 |
25 |
11 |
0 |
0 |
0.74 |
0.65 |
0 |
0 |
| 2 |
Супесь твердая |
1.9 |
2.78 |
0.12 |
10 |
24 |
12 |
0.19 |
0.13 |
0.6 |
0.52 |
-0,17 |
0.06 |
| 3 |
Суглинок полутвердый |
2.01 |
2.8 |
0.16 |
30 |
24 |
13 |
0.28 |
0.14 |
0.54 |
0.8 |
0.14 |
0.14 |
| 4 |
Супесь твердая |
2.3 |
2.15 |
0.12 |
50 |
32 |
60 |
0.13 |
0.09 |
0.15 |
1.76 |
-0,25 |
0.04 |

Рис. 4.1 Инженерно геологический разрез площадки
Оценка инженерно-геологических условий:
Подземные воды на период изысканий на всей исследуемой территории до глубины 2.7 м не отмечаются. Подземные воды пластово-трещинного типа приурочены к толще трещиноватых известняков и залегают на отметках 107 – 108 м.
В неблагоприятные периоды года возможно образование сезонной «верховодки» на малых глубинах 0,5–0,7 м и особенно в пониженных частях рельефа.
Рис. 4.2 План буровых скважин
Грунты участка не засолены.
Территория проектируемого строительства относится к району закрытого карста. Карстообразовательные и современные эрозионные процессы развиты слабо.
Грунты по степени морозной пучинистости относятся к слабым и среднепучинистым.
Степень коррозийной активности связных грунтов к свинцовой оболочке кабеля – средняя.
Нормативная глубина промерзания для данного района составляет 1,6 м
При проектировании сооружений на закарстованных территориях следует предусматривать мероприятия, исключающие возможность образования карстовых деформаций или снижающие их неблагоприятное воздействие на сооружения, к которым относятся:
заполнение карстовых полостей;
прорезка закарствованных пород глубокими фундаментами;
закрепление закарствованных пород или вышележащих грунтов;
водозащитные мероприятия;
исключение или ограничение неблагоприятных техногенных воздействий.
Выбор одного или комплекса мероприятий должен производиться с учетом видов возможных карстовых деформаций и их параметров, степени значимости сооружения, его конструктивных и эксплутационных особенностей.
Принятые мероприятия не должны приводить к активизации карстовых процессов на примыкающих территориях.
В обоснованных случаях следует предусматривать контроль за развитием карстовых процессов в зоне сооружения во время его эксплуатации.
При проектировании сооружений на закарстованных территориях с возможностью образования провалов следует применять фундаменты с консольными выступами: неразрезные ленточные, пространственно-рамные, плоские и ребристые плитные.
При необходимости усиления оснований и фундаментов существующих сооружений следует предусматривать:
объединение отдельных фундаментов в пространственно-рамные конструкции;
устройство консольных выступов, поясов жесткости и т.п.;
закрепление грунтов основания;
заполнение образовавшихся провалов (песком, щебнем, цементным раствором и т.п.)
3.2 Сбор нагрузок
Таблица 3.2. Сбор нагрузок на элементы здания
| Наименование материалов |
Удельный вес, кН/м3 |
Толщина, м |
Нормативная нагрузка на 1м2 , кН |
Коэффициент надежности, γf |
Расчетная нагрузка на 1м2 , кН |
| Наружная кирпичная стена |
|||||
| Кирпичная стена |
18 |
0.5 |
9 |
1.1 |
9.90 |
| Утеплитель |
0.3 |
0.14 |
0.04 |
1.2 |
0.05 |
| Всего |
9.04 |
1.15 |
9.95 |
||
| Внутренняя кирпичная стена |
|||||
| Кирпичная стена |
18 |
0.38 |
6.84 |
1.1 |
7.52 |
Лестничный марш |
|||||
| Лестничный марш 10/(2.7*1.35) |
2.74 |
1.1 |
3.02 |
||
| Лестничная площадка |
|||||
| Лестничная площадка 12.8/(2.8*1.3) |
3.52 |
1.1 |
3.87 |
||
| Покрытие |
|||||
| 2 слоя рубероида |
14 |
0.01 |
0.28 |
1.2 |
0.34 |
| Цементо-песчанная стяжка |
18 |
0.02 |
0.36 |
1.1 |
0.40 |
| Пароизоляция |
6 |
0.005 |
0.03 |
1.2 |
0.04 |
| Плита покрытия 19/(6*1,5) |
2.11 |
1.1 |
2.32 |
||
| Всего |
2.78 |
1.15 |
3.09 |
||
| Междуэтажное перекрытие |
|||||
| Линолеум |
14 |
0.005 |
0.07 |
1.2 |
0.08 |
| Древесно-волокнистая плита |
10 |
0.025 |
0.25 |
1.2 |
0.30 |
| Пергамин |
6 |
0.005 |
0.03 |
1.2 |
0.04 |
| Цементо-песчанная стяжка |
18 |
0.04 |
0.72 |
1.1 |
0.79 |
| Плита перекрытия 20.6/(6*1,5) |
2.29 |
1.1 |
2.52 |
||
| Всего |
3.36 |
1.16 |
3.73 |
||
| Чердачное перекрытие |
|||||
| Досщатый пол |
5 |
0.02 |
0.1 |
1.2 |
0.12 |
| Утеплитель |
0.8 |
0.2 |
0.16 |
1.2 |
0.19 |
| Пароизоляция |
6 |
0.005 |
0.03 |
1.2 |
0.04 |
| Плита перекрытия 20.6/(6*1,5) |
2.29 |
1.1 |
2.52 |
||
| Всего |
2.58 |
1.175 |
2.87 |
||
| Перегородки |
|||||
| Перегородки 6*0.08*6*2.5*12/(6*24) |
0.6 |
1.2 |
0.72 |
||
Сечение 1

Рис. 3.3.
Таблица 3.3.
| Наименование нагрузок |
эксцентриситет, е |
Предельное состояние |
||||
| I |
Коэффициент надежности, γf |
II |
||||
| NII , кН/м.п |
МII , кН/м.п. |
NI , кН/м.п |
МI , кН/м.п |
|||
| Постоянные нагрузки |
||||||
| Собственный вес перекрытия 4*3*3.36 |
0 |
40.32 |
0 |
1.16 |
46.77 |
0 |
| Собственный вес чердачного перекрытия 3*2.58 |
0 |
7.74 |
0 |
1.18 |
9.09 |
0 |
| Собственный вес перегородок 4*0.6*3 |
0 |
7.20 |
0 |
1.20 |
8.64 |
0 |
| Собственный вес покрытия 3*2.78 |
0 |
8.34 |
0 |
1.15 |
9.59 |
0 |
| Собственный вес стеновых блоков 13*3 |
0 |
39.00 |
0 |
1.10 |
42.90 |
0 |
| Собственный вес стены 15.0*9.04*0.81 |
0 |
109.84 |
0 |
1.15 |
126.31 |
0 |
| Итого |
212.44 |
0 |
1.39 |
294.65 |
0 |
|
| Временные нагрузки |
||||||
| Снеговая 1.5*3*0.95 |
0 |
4.28 |
0 |
1.4 |
5.99 |
0 |
| Полезная нагрузка на перекрытие 1.5*0.91*4*0.95*3 |
0 |
15.56 |
0 |
1.4 |
21.79 |
0 |
| Итого |
19.84 |
0 |
1.4 |
27.77 |
0 |
|
| Всего |
232.27 |
0 |
322.42 |
0 |
||
ΨА1
= 0,4 +
=1,43 ψ
n
1
= 0.4 +
=0,91
Коэффициент остекленности Кост.
= ![]()
Сечение 2

Рис. 3.4.
Таблица 3.4.
| Наименование нагрузок |
эксцентриситет, е |
Предельное состояние |
||||
| I |
Коэффициент надежности, γf |
II |
||||
| NII , кН/м.п |
МII , кН/м.п. |
NI , кН/м.п |
МI , кН/м.п |
|||
| Постоянные нагрузки |
||||||
| Вес лестничного марша 9*2.74*1.5 |
0 |
36.99 |
0 |
1.10 |
40.69 |
0 |
| Вес лестничной площадки 9*3.52*1.5 |
0 |
47.52 |
0 |
1.10 |
52.27 |
0 |
| Собственный вес чердачного перекрытия 1.5*2.58 |
0 |
3.87 |
0 |
1.18 |
4.55 |
0 |
| Собственный вес покрытия 1.5*2.78 |
0 |
4.17 |
0 |
1.15 |
4.80 |
0 |
| Собственный вес стеновых блоков 13*3 |
0 |
39.00 |
0 |
1.10 |
42.90 |
0 |
| Собственный вес стены 17.0*9.04*0.93 |
0 |
142.92 |
0 |
1.15 |
164.36 |
0 |
| Итого |
274.47 |
0 |
1.10 |
301.92 |
0 |
|
| Временные нагрузки |
||||||
| Снеговая 1.5*1.5*0.95 |
0 |
2.14 |
0 |
1.40 |
2.99 |
0 |
| Полезная нагрузка на перекрытие 3*0.88*9*0.95*1.95 |
0 |
44.02 |
0 |
1.40 |
61.62 |
0 |
| Итого |
46.15 |
0 |
1.40 |
64.61 |
0 |
|
| Всего |
320.63 |
0 |
366.53 |
0 |
||
ΨА1
= 0,4 +
=1,86 ψ
n
1
= 0.4 +
=0,88
Коэффициент остекленности Кост.
= ![]()
Сечение 3

Рис. 3.5.
Таблица 3.5
| Наименование нагрузок |
эксцентриситет, е |
Предельное состояние |
||||
| I |
Коэффициент надежности, γf |
II |
||||
| NII , кН/м.п |
МII , кН/м.п. |
NI , кН/м.п |
МI , кН/м.п |
|||
| Постоянные нагрузки |
||||||
| Собственный вес стеновых блоков 13*3 |
0 |
39.00 |
0 |
1.10 |
42.90 |
0 |
| Собственный вес стены 15.0*9.04 |
0 |
135.60 |
0 |
1.15 |
155.94 |
0 |
| Итого |
135.60 |
0 |
1.15 |
155.94 |
0 |
|
Сечение 4

Рис. 3.6.
Таблица 3.6
| Наименование нагрузок |
эксцентриситет, е |
Предельное состояние |
||||
| I |
Коэффициент надежности, γf |
II |
||||
| NII , кН/м.п |
МII , кН/м.п. |
NI , кН/м.п |
МI , кН/м.п |
|||
| Постоянные нагрузки |
||||||
| Собственный вес перекрытия 4*6*3.36 |
0 |
80.64 |
0 |
1.16 |
93.54 |
0 |
| Собственный вес чердачного перекрытия 6*2.58 |
0 |
15.48 |
0 |
1.18 |
18.19 |
0 |
| Собственный вес перегородок 4*0.6*6 |
0 |
14.40 |
0 |
1.20 |
17.28 |
0 |
| Собственный вес покрытия 6*2.78 |
0 |
16.68 |
0 |
1.15 |
19.18 |
0 |
| Собственный вес стеновых блоков 4.5*13 |
0 |
58.50 |
0 |
1.15 |
67.28 |
0 |
| Собственный вес стены 13.67*6.84 |
0 |
123.58 |
0 |
1.10 |
135.93 |
0 |
| Итого |
309.28 |
0 |
1.10 |
340.20 |
0 |
|
| Временные нагрузки |
||||||
| Снеговая 1.5*6*0.95 |
0 |
8.55 |
0 |
1.40 |
11.97 |
0 |
| Полезная нагрузка на перекрытие 1.5*0.91*4*0.77*6 |
0 |
25.23 |
0 |
1.40 |
35.32 |
0 |
| Итого |
33.78 |
0 |
1.40 |
47.29 |
0 |
|
| Всего |
343.05 |
387.49 |
||||
ΨА1
= 0,4 +
=1,13 ψ
n
1
= 0.4 +
=0,77
3.3 Расчет фундаментов
3.3.1 Расчетная схема и исходные данные

Рис. 4.7 Расчетная схема к расчету 1‑го сечения
Исходными данными для расчета служат:
1. Инженерно-геологический разрез площадки строительства (рис. 4.1);
2. План буровых скважин (рис. 2.1);
3. Таблица физико-механических свойств грунтов (табл. 4.1);
4. Оценка инженерно-геологических условий площадки строительства (п. 4.1);
5. Сбор нагрузок по сечениям (п. 4.2).
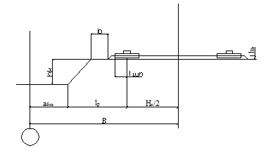
4.3.2. Определение размеров фундамента.
В большинстве случаев расчет фундаментов мелкого заложения выполняется по второй группе предельных состоянии. При этом используется расчетная схема основания в виде линейно деформируемой среды. Ее применение считается допустимым при развитии зон пластических деформаций грунтов в основании на глубину не более b/4, где b – ширина подошвы фундамента. Для выполнения этого условия среднее давление под подошвой р не должно превышать расчетного сопротивления грунта основания R, определяемого по СНиП 7, формула (7):
(4.1)
Где gc1, gc2 – коэффициенты условий работы.
K – коэффициент; принимают k=1 если характеристики грунта (φ и С) определены непосредственными испытаниями и k=1.1 если они приняты согласно СНиП;
My , Mq , Me -коэффициенты;
kz -коэффициент; при b<10 м kz =1, при b>10 м kz =8/b+0,2;
gII – удельный вес грунт, залегающего ниже подошвы фундамента при наличии подземных водопределяется с учетом взвешивающего воздействия воды;
gII 1 - то же, залегающею выше и подошвы фундамента;
СII – удельное сцепление грунта залегающего непосредственно под подошвой фундамента;
d1 – глубина заложения фундамента, для сечений без подвала берется от отметки планировки DL, для сечений с подвалом (рис. 4.7)
di = hs + hcf *gcf / gII 1 (4.2)
hs – толщина слоя грунта выше подошвы фундамента со стороны подвала;
hcf – толщина конструкции пола подвала;
gcf – удельный вес материала пола подвала, обычно удельный вес бетона;
db – глубина подвала – расстояние от уровня планировки пола подвала; при глубине свыше 2 м принимают db =2 м, при ширине подвала более 20 м принимают db =0.
В случае залегания выше или ниже подошвы фундамента нескольких слоев грунта с удельным весом g1 g2 ,…, gn мощностью соответственно h1 , h2 ,…, hn находят их средний удельный вес по формуле
gII = (g1 h1 + g2 h2 +… + gn hn ) / (h1 + h2 +… + hn ). (4.3)
Под подошвой фундамента при этом рассматривается слой мощностью h1 +h2 +… +hn =0,5b.
Давление под подошвой фундамента находят по формуле
p=(NII + Gf + Gg )/A, (4.4)
где Gf , Gg – вес фундамента и грунта на его уступах;
А – площадь подошвы фундамента.
В предварительных расчетах, когда площадь подошвы еще неизвестна, вычисляют приближенное значение давления:
p= NII /A+gm d, (4.5)
где А=(l…l, 5) b2 или А=1b – соответственно для отдельных и ленточных фундаментов;
gm – средний удельный вес грунта и материала фундамента, gm =20…22 кН/м3 – в сечениях без подвала, gm =16…18 кН/м3 – в сечениях с подвалом.
Для вычисления расчетного сопротивления грунта основании найдем значения параметров, входящих в формулу (5.1)
gc 1 =1,2; gc 2 =1,0; k=1; Мg = 1,34; Мq = 6,34; Мc= 8,55; kz = 1;
gII = (18*0,2+19*0,4+20,1*0,4+23*0,8)/1,8=20,9 кН/м3 ;
d1 = 1,13 м; gII 1 = 23 кН/м3 ; db = 0,97 м; СII = 50
Расчетное сопротивление грунта:
R=1,2*1/1*[1.34*1*b*20.9+6.34*0,83*23+(6.34–1)*0.97*23+8.55*50]=
=33,61*b+833,9
Приближенное значение давление под подошвой фундамента:
p=232,27/b2 +17*2,1 = 232,27/ b2 +35,7
Значение R и p при b=0,1; 0,5; 1 приведены в таблице 4.7
Таблица 4.7
| В |
g2 |
R |
Р |
| 0,1 |
23 |
837,26 |
23262,7 |
| 0,5 |
23 |
850,71 |
964,78 |
| 1 |
23 |
867,51 |
267,97 |
Принимаем типовой фундамент Ф‑8 с размерами подошвы b=800 мм, l=2380 мм и Ф‑8–12 b=800 мм, l=1180 мм.
Расчетное сопротивление грунта R=33,61*0,8+833,9=860,79кПа
Вес фундамента Gf =14кН
Среднее давление на основание
P=(232,27+14)/(0,8*1)=307,84кН
Условие R>p выполняется.
3.3.3 Проверка вертикальных напряжений на кровле подстилающего слоя грунта
Так как в пределах сжимаемой толщи основания слоя грунта, залегает однородный слой грунта, проверку вертикальных напряжений на кровле подстилающего слоя грунта выполнять не следует.
3.3.4 Расчет осадки основания
Определяем давление на отметке подошвы фундамента FL=115,6 м
Напряжение создаваемое почвенно-растительным слоем
18*0,2=3,6 кПа
Напряжение создаваемое слоем супеси
19*0,4=7,6 кПа
Напряжение создаваемое слоем суглинка
20,1*0,4=8,04 кПа
Напряжение создаваемое слоем супеси
23*1,0=23,0 кПа
Отсюда σzg 0 =3.6+7.6+8.04+23=46.84 кПа
Основание на большую глубину сложено однородным грунтом – супесью, поэтому при его расчленении на элементарные слои не нужно учитывать границы между различными инженерно-геологическими элементами.
P=307,84–46,84=261 кПа
Таблица 4.8. Напряжение от собственного веса грунта
| №ИГЭ |
z, м |
σzg 0, кПа |
ξ=2z/b |
α |
0,2σzg 0 , кПа |
σz р , кПа |
| - |
0 |
46.84 |
0 |
1 |
9.37 |
261.00 |
| 4 |
0.5 |
58.34 |
1 |
0.82 |
11.67 |
214.02 |
| 4 |
1 |
69.84 |
2 |
0.55 |
13.97 |
143.55 |
| 4 |
1.5 |
81.34 |
3 |
0.39 |
16.27 |
101.79 |
| 4 |
2 |
92.84 |
4 |
0.30 |
18.57 |
78.30 |
| 4 |
2.5 |
104.34 |
5 |
0.24 |
20.87 |
62.64 |
| 4 |
3 |
115.84 |
6 |
0.20 |
23.17 |
52.20 |
| 4 |
3.5 |
127.34 |
7 |
0.17 |
25.47 |
44.37 |
| 4 |
4 |
138.84 |
8 |
0.15 |
27.77 |
39.15 |
| 4 |
4.5 |
150.34 |
9 |
0.13 |
30.07 |
33.93 |
| 4 |
5 |
161.84 |
10 |
0.11 |
32.37 |
28.71 |
Таблица 4.9. Вычисление осадки основания
| Номер слоя (i) |
№ИГЭ |
σz р в , кПа |
σz р н , кПа |
σz р i кПа |
hi , м |
Ei , кПа |
Si , м |
| 1 |
4 |
261.00 |
214.02 |
237.51 |
0.5 |
60000 |
0.00158 |
| 2 |
4 |
214.02 |
143.55 |
178.79 |
0.5 |
60000 |
0.00119 |
| 3 |
4 |
143.55 |
101.79 |
122.67 |
0.5 |
60000 |
0.00082 |
| 4 |
4 |
101.79 |
78.30 |
90.05 |
0.5 |
60000 |
0.0006 |
| 5 |
4 |
78.30 |
62.64 |
70.47 |
0.5 |
60000 |
0.00047 |
| 6 |
4 |
62.64 |
52.20 |
57.42 |
0.5 |
60000 |
0.00038 |
| 7 |
4 |
52.20 |
44.37 |
48.29 |
0.5 |
60000 |
0.00032 |
| 8 |
4 |
44.37 |
39.15 |
41.76 |
0.5 |
60000 |
0.00028 |
| 9 |
4 |
39.15 |
33.93 |
36.54 |
0.5 |
60000 |
0.00024 |
| 10 |
4 |
33.93 |
28.71 |
31.32 |
0.5 |
60000 |
0.00021 |
| Итого |
0.0061 |
Таким образом, осадка основания составила 6,1 мм.

Рис. 4.8. Схема определения вертикальных напряжений в линейно деформируемом полупространстве
3 .4 Расчет каменных конструкций здания
3.4.1 Расчет простенка на вертикальную нагрузку
Так как стена здания многослойная и состоит из четырех слоев, один из которых слой утеплителя из минераловатных плит то этот слой в расчете несущей способности не учитывается. Отдельные слои стены соединены между собой жесткими связями. Жесткими называются связи, если при любом теплоизоляционном слое расстояние между осями вертикальных диафрагм из тычковых рядов кирпичей, соединяющих конструктивные слои не превышает 120 см и 10h, где h – толщина более тонкого конструктивного слоя.
При приведении сечения стены к одному материалу толщина слоев принимается фактической, а ширина слоев по длине стены определяется исходя из соотношения расчетных сопротивлений R и коэффициентов использования прочности т слоев по формуле
bred = bmi Ri /(mR),
3.9 Конструкция трехслойной стены и ее расчетное сечение

где bred – приведенная ширина слоя; b – фактическая ширина слоя; R=1.3МПа и m=1‑расчетное сопротивление и коэффициент использования прочности основного несущего слоя, к которому приводится сечение Ri =1.3МПа и mi =0.8 – то же, для любого другого слоя.
bred = 168 *1,3*1/(1,3*0,8) = 134 см
Площадь приведенного сечения 1,34*0,12+1,68*0,38 = 0,8м2
В результате приведения получается, как правило, тавровое сечение с полкой в сторону основного слоя.
Коэффициенты использования прочности слоев в многослойных стенах т и т i приведены в табл. 44, а в стенах с облицовкой табл. 45 [6].
Вес 1 м2 стены толщиной 640 мм, состоящий из веса кладки равен:
(0,380+0,120)*1*18 = 9 кН/м2 , веса штукатурки 0,02*1*18 = 0,36 кН/м2
и веса утеплителя 0,14 * 1 *0,3 = 0,04 кН/ м2
9+0,36+0,04=9,4 кН/ м2

Рис. 3.10. Расчетная схема стены жилого дома
С учетом коэффициента надежности по нагрузке и по назначению этот вес будет равен: (9*1,1 + 0,36*1,3+0,04*1,3) *0,95 = 9,9 кН/ м2
Расчетные постоянные нагрузки составляются (см. рис 4.11):
от участка стены, расположенного выше низа покрытия, т.е. выше отметки 10,9 м,
G3 = 9*1.1*0.95 * (13,8–10,9) * 3,38 = 92,18 кН
G’3 = 9*1.1*0.95 * 1,05 * 3,38 = 33,37 кН
от простенка G2 = 9,9*1.68*1.45 = 24,12 кН,
от участка стены расположенного в промежутке между низом перекрытия и низом перемычки, G1 = 9,9*3,38*0,3 = 10,4 кН
Глубина заделки панелей перекрытий в стену 12 см, тогда равнодействующая с перекрытий будет приложена на расстоянии 12/3 = 4 см от внутренней грани стены и эксцентриситет приложения этой нагрузки ео = 0,5*64 – 4 = 28 см. Изгибающий момент, вызываемый ею в сечении 1–1 Ml = 90,85*0,28 = 25,44 кН*м.
Т. к. стена имеет значительные проемы, и сечение 2–2 близко расположено к сечению 1–1, в качестве расчетных сечений принимаем сечение 2–2 и 3–3.
Нагрузка от части простенка между сечениями 2–2 и 3–3 равна 0,7*3,38*9,9 = 23,42 кН.
Статический расчет
Согласно СНиП 2.01.07–85 при расчете стен полезные (времени) нагрузки в жилых помещениях допускается снижать умножением коэффициент ψn
1
= 0.4 +
=0,91;
где Ψ
А1
= 0,4 + 0,6/
=1,43
ψn
1
= 0.4 +
=0,68
А – грузовая площадь; п – число перекрытий над рассматриваемым сечением.
В нашем случае при А
= 10,14 м2
и Ψ
А1
= 0,4 + 0,6
=0,96: коэффициент равен: для первого этажа – 0,68; второго – 0,72; третьего -0,80; четвертого – 0,96;
Обозначения расчетных усилий и точки их приложения показаны на рис 3.9., а их определение сведено в таблице 3.10.
Таблица 3.10. Усилия и моменты в сечениях стены
| Этаж |
Сечение |
Обозначение |
Формула |
Значение усилй |
| Первый |
II–II |
N |
92.8+90.85+10.4*4+24.12*3+33.37*3+53.03*3 |
556.81 |
| M |
25.44*(2.8–0.23)/2.8 |
23.35 |
||
| III–III |
N |
92.8+90.85+10.4*4+24.12*4+33.37*3+53.03*3 |
580.93 |
|
| M |
25.44*2/3 |
16.96 |
||
| Второй |
II–II |
N |
92.8+90.85+10.4*3+24.12*2+33.37*2+53.03*2 |
435.89 |
| M |
25.44*(2.8–0.23)/2.8 |
23.35 |
||
| III–III |
N |
92.8+90.85+10.4*3+24.12*3+33.37*2+53.03*2 |
460.01 |
|
| M |
25.44*2/3 |
16.96 |
||
| Третий |
II–II |
N |
92.8+90.85+10.4*2+24.12+33.37+53.03 |
314.97 |
| M |
25.44*(2.8–0.23)/2.8 |
23.35 |
||
| III–III |
N |
92.8+90.85+10.4*2+24.12*2+33.37+53.03 |
339.09 |
|
| M |
25.44*2/3 |
16.96 |
||
| Четвертый |
II–II |
N |
92.8+90.85+10.4 |
194.05 |
| M |
25.44*(2.8–0.23)/2.8 |
23.35 |
||
| III–III |
N |
92.8+90.85+10.4+24.12 |
218.17 |
|
| M |
25.44*2/3 |
16.96 |
![]()

Рис. 3.11. План и схематический разрез простенка
Конструктивный расчет
Расчет начинаем с наиболее нагруженного первого этажа для сечения 2–2, в котором действует усилие N = 383,16 кН и изгибающий момент М = 23,35 кН*м. Эксцентриситет приложения продольной силы равен:
ео = М / N = 23,35 /383,16 = 0,061 м = 6,1 см.
Расчетная высота простенка 1о = 2,8 м
Так как толщина стены 64 см > 30 см, то mgl = 1 и выделение из полной продольной силы ее длительной составляющей не требуется.
Выбираем марку кирпича 100. Жилые помещения имеют нормальную влажность, поэтому согласно табл. 4 [6] необходимо использовать марку раствора не ниже 10. Для первого этажа принимаем марку раствора 50. Тогда для принятых материалов упругая характеристика кладки по табл. 22 [6] α = 750 и расчетное сопротивление по табл. 9 [6] R=1.5MПa.
Высота сжатой зоны hc = h – 2ео = 64 – 2*4,2 = 55,61 см.
Гибкость стены λh = 280/64= 4,38 при которой по табл. 23 [6] коэффициент продольного изгиба φ= 0,997.
То же, при гибкости сжатой части сечения λh с = lo /hc =280/55,61 = 5,41
φс =0,994.
Средний коэффициент продольного изгиба φl =(0,997 + 0,994) /2 = 0,995
Коэффициент φ1 = 0,9955 принимают для средней трети высоты этажа.
Площадь сжатой зоны сечения:
Ас =А (1–2ео /h)=168*64 (1–2*4,19/64)=9342,4 см2
Коэффициент ω=1 + 6,1/ 64 = 1,09 < 1,45 (см. табл. 26 [6])
Требуемое сопротивление
R=N/φl mgl ωАс =556,81*10-3 *0,95/(0,996*1*1,09*9342,96*10-4 )=0,38МПа<1.5МПа
Несущая способность простенка в сечении 2–2:
Nadm = φl mgl ω Ас R
Nadm =0.9955*l*1.09*1.5*103 8702,4*10-4 =1704.5 кН>1165.9*0.95=1417кН
Для сечения 3–3 ω Ас изменяются не значительно, а φl = 0,9955 тогда несущая способность этого сечения:
Nadm =0.994 *1*1.009*1.5*103 * 1.1367 = 1702.3 кН >1165.9*0.95=1417 кН
При марке кирпича 100 и марке раствора 50 несущая способность простенка на уровне первого этажа обеспечена.
Аналогично производим расчет для всех остальных этажей и сводим его в таблицу.
Таблица 3.11. Расчет и подбор марки раствора и кирпича
| Этаж |
ео, см |
Марка кирпича и раствора |
hc |
φl |
Ас |
ω |
Требуемое сопротивление, R |
| Первый |
4.19 |
750–1.5 |
55.61 |
0.995 |
9342.96 |
1.01 |
0.56 |
| Второй |
5.36 |
750–1.1 |
53.29 |
0.981 |
8952.07 |
1.01 |
0.47 |
| Третий |
7.41 |
750–0.9 |
49.17 |
0.955 |
8261.07 |
1.01 |
0.37 |
| Четвертый |
12.03 |
750–0.9 |
39.93 |
0.892 |
6708.87 |
1.01 |
0.30 |
Принимаем марку кирпича и марку раствора по высоте здания исходя из унификации выполнения работ:
1 этаж марка кирпича 100, марка раствора 50.
2 этаж марка кирпича 75, марка раствора 25.
3 этаж марка кирпича 50, марка раствора 25.
4 этаж марка кирпича 50, марка раствора 25.
3.4.2 Расчет кладки выполненной способом замораживания
Необходимо рассчитать простенок кирпичной вставки. Толщина наружных, многослойных стен, из облегченной кладки, с перевязкой через 4 рядов вертикальными кирпичными диафрагмами, 64 см. Простенок возводился способом замораживания при температуре t = -15 °С. Сложен из силикатного кирпича марки 100 на портландцементном растворе марки 50. Надо рассчитать несущую способность этого простенка в момент оттаивания, когда продольная сила N = 744 кН.
1о = 280*0.9 = 252 см.
Гибкость стены λh = 252/64=3,94 и β =280/ 64 =4,38. Отношение β не превышает предельного значения даже при кладке на растворе марки 10 (группа кладки IV)
βu = 14*0.65 = 9. При такой гибкости кладка методом замораживания допустима.
Для проверки несущей способности простенка в период оттаивания, когда раствор имеет прочность 0,2 МПа по табл. 9 и 22 [6] находим R = 0,6 МПа и α = 350, а по табл. 23 [6] φ= 0.94.
Так как h = 64 см > 30 см, то mg 1 = 1
Тогда несущая способность
Nadm = 1*0.94*0.6*64*168*100=606 кН > 580 кН
Для стадии эксплуатации расчетное сопротивление кладки с учетом понижающего коэффициента для зимней кладки R=1,5*0,9=1,38 и α =1000.
Для кладки подвергшейся замораживанию αt = 2 /1 + 0.3*15 *1000 = 273
Тогда φ=0,91, а по формуле (2.1) [6] – несущая способность простенка в стадии эксплуатации:
Nadm = 1*0.91*1.38*64*168*100= 1350 кН > 580кН
Несущая способность простенка обеспечена.
4. Организационно-технологическая часть
4.1 Технологическая карта на кирпичную кладку и монтаж
4.1.1 Область применения
Технологическая карта разработана для применения при производстве каменной кладки 4‑х этажного гарнизонного общежития в городе Мирный.
Наружные стены выполнены из глиняного кирпича с утеплением толщиной 640 мм, оштукатуренные с внутренней стороны и с расшивкой швов с наружной стороны на цементно-песчаном растворе.
Марки кирпича и раствора приняты для этажей: 1 этаж марка кирпича 100, марка раствора 50. 2 этаж марка кирпича 75, марка раствора 25. 3 этаж марка кирпича 50, марка раствора 25. 4 этаж марка кирпича 50, марка раствора 25.
Утеплитель в наружных стенах – пенополистирольные плиты «Пеноплэкс»
Внутренние стены выполнены из силикатного кирпича толщиной 380 мм. Перегородки – из гипсоцементных перегородочых плит размером 40
80 см; двойные толщиной 20 см с воздушным зазором 4 см и одинарные – толщиной 8 см.
Перекрытия – сборные железобетонные плиты и монолитные участки.
В технологической карте также необходимо предусмотреть монтаж железобетонных элементов и технологическое оборудование для монтажа.
Кирпичная кладка осуществляется в зимних условиях, поэтому необходимо предусмотреть мероприятия по возведению кирпичной кладки в зимнее время.
4.1.2 Организация и технология процесса возведения кладки первого этажа и монтажных работ в пределах этажа
1. Подготовительные работы
До начала кладки стен первого этажа производителю работ или мастеру необходимо произвести инструментальную проверку соответствия проекту отметок и положения в плане фундаментов с приемкой их по акту, наличия вводов всех коммуникаций, качество выполнения перекрытия над подвалом (как монолитного, так и сборного), монтажа блоков стен подвала, наличие обратной засыпки пазух фундаментов с тщательной трамбовкой, качество выполнения работы по устройству монолитных рам в подвале, монтажа лестничных маршей и площадок в подвальном помещении, выполнения въезда в подвальное помещение, монтажа приямков, качество завезенного на строительную площадку материала, готовность фронта работ.
4.2 Организация и технология процесса возведения кладки
Рабочая зона каменщика составляет 600–700 мм. Зона складирования материалов соответствует ширине поддонов и ящиков с раствором. Расстояние между поддонами с кирпичом и ящиками с раствором равно 30–40 см. общая ширина рабочего пространства при возведении кирпичных стен составляет 2,4–2,6 м.
Число поддонов с камнем и ящиков с раствором, чередование их зависит от толщины стены и числа проёмов на данном участке. Запас кирпича на рабочем месте принимается из расчета двухчасовой потребности. Растворные ящики на рабочем месте заполняются раствором за 10–15 мин до начала кладки. Подача раствора на рабочие места каменщиков производится при помощи раздаточного бункера непосредственно в растворные ящики вместимостью 0,27–0,35 м3 . Подача строительных материалов на рабочее место осуществляется башенным краном. Система перевязки швов для данного здания однорядная.
Каменная кладка состоит из следующих операций:
– установка порядовок и натягивание причалки;
– подготовка постели, подача и разравнивание раствора;
– укладка кирпича на постель с заполнением швов;
– проверка правильности кладки внутреннего несущего слоя наружной стены;
– расшивка швов (при необходимости).
Основными инструментами каменщика являются: комбинированная кельма, предназначенная для разравнивания раствора на стене, образования швов и скалывания кирпича; молоток – кирочка для рубки и тески кирпича; лопата растворная для подачи раствора на стену, расстилания на стене при образовании швов и перемешивания в ящике; расшивка для придания швам необходимой формы.
Кирпичную кладку стен первого этажа начинают с установки и закрепления угловых и промежуточных порядовок для обеспечения правильности кладки из кирпича, их выверяют по отвесу и нивелиру. Рекомендуется применять инвентарные металлические порядовки. Порядовки устанавливают: в углах кладки, в местах пересечения стен и на прямых участках стен не реже, чем через 12 м. Длина порядовок принимается обычно равной высоте этажа. По длине порядовки для кирпичной кладки через каждые 77 мм нанесены деления, соответствующие ряду кладки из кирпича высотой 65 мм. На порядовках часто намечают уровни закладки балок, подоконников, перемычек и других элементов стен. Причалку натягивают между порядовками, во избежание её провисания через каждые 4..5 м, под нее укладывают на растворе маячные камни или деревянные бруски соответствующих размеров так, чтобы они выступали за плоскость стен на 2…3 см. Причалку сверху прижимают камнем, уложенным насухо на маяк. Причалка служит направляющей при укладке наружных и внутренних верст, причем на наружных верстах причалку устанавливают для каждого ряда кладки, а на внутренних – через 3,4 ряда.
Процесс кладки на каждом рабочем месте выполняют в следующей последовательности:
– раскладывают кирпич по стене;
– расстилают раствор под наружный верстовой ряд и ведут кладку.
Раствор подают и расстилают растворной лопатой сразу под шесть – семь кирпичей. При кладке под расшивку и с полным швом слой раствора не доходит до края стены на 1… 1,5 см; при кладке впустошовку – 2…2,5 см. под забутку раствор расстилают кельмой сплошной полосой без отступов.
Кладку стен всегда – независимо от системы перевязки, начинают с наружной, то есть с лицевой тычковой версты первого ряда.
Здание в зависимости от размеров делят на захватки, на которых работает комплексная бригада, каждая захватка делится на делянки, размеры которых рекомендуют в зависимости от толщины стены, сложности кладки и численности звена. При выполнении работ руководствуются таблицей 4.1.
Таблица 4.1 Средние рекомендуемые размеры делянок, м
| Сложность кладки |
При толщине стены, мм |
|||
| 640 |
380 |
120 |
||
| Для звена численностью, чел. |
||||
| 3 |
3 |
2 |
2 |
|
| Простая |
13–21 |
18–27 |
11–18 |
20–25 |
| Средней сложности |
11–18 |
14–26 |
10–17 |
- |
| Сложная |
10–16 |
12–20 |
8–15 |
- |
Звено «двойка» выполняет кирпичную кладку стен в такой последовательности: каменщик 4‑го или 5‑го разряда укрепляет шнур причалки для наружной и внутренней верст, каменщик 2‑го разряда подает и раскладывает кирпич на стену и расстилает раствор для кладки наружной версты. Двигаясь вслед за каменщиком 2‑го разряда, ведущий каменщик выкладывает верстовой ряд. Когда наружная верста выложена до конца делянки, ведущий каменщик (4‑го или 5‑го разряда) переставляет шнур-причалку под укладку следующего ряда наружной версты, а затем кладку внутренней версты выполняет в обратном направлении вдоль фронта работ. В это время каменщик 2‑го разряда частично выкладывает забутку. Затем переставляют шнур-причалку для следующего ряда, проверяется качество кладки.
При возведении стен и зданий каждое звено каменщиков работает на отдельной делянке. Количество делянок и их размер устанавливают в зависимости от трудоёмкости кладки и смежной выработки звеньев. Размеры делянок рассчитывают так, чтобы работающие не стесняли друг друга и чтобы не возникла необходимость перехода звеньев в течении смены на другие делянки.
При армировании кирпичной кладки необходимо следить за тем, чтобы толщина швов, в которых расположена арматура, превышала диаметр арматуры не менее чем на 4 мм при соблюдении средней толщины для шва данной кладки. Диаметр проволоки поперечных сеток для армирования кладки 3–8 мм. Расстояние между стержнями сетки должно быть не более 12 см и не менее 3 см. Применение отдельных стержней (укладываемых взаимно перпендикулярно в смежных швах) вместо связанных или сварных прямоугольных сеток запрещается.
Утеплитель, выполненный из пенополистирола, крепят к стене при помощи анкеров. Между утеплителем и защитно-декоративной наружной стенкой устраивается воздушная прослойка толщиной 50 мм. Защитно-декоративная стенка крепится к наружной стене с помощью анкеров Ø4 мм, укладываемых на всю высоту стен через 600 мм, покрытых в заводских условиях цинковой пылью.
При кладке стен по высоте оконных и дверных проемов закладываются антисептированные деревянные пробки. Все деревянные элементы должны быть антисептированны и защищены от соприкосновения с кирпичной кладкой прокладками из рулонных материалов.
Проектируемое здание разбивается на две захватки. Звенья каменщиков начинают на первой захватке. Кладка ведётся с переходом на первом, втором и третьем ярусах на всю высоту этажа. Кладку на высоту яруса выполняют в течении смены.
Особенности производства каменных работ в зимнее время
С понижением температуры твердение раствора в каменной кладке замедляется, а при температуре 0 С процесс полностью прекращается. Наступление отрицательных температур на камне практически не отражается.
Выбор способа возведения здания осуществляется в зависимости от сроков строительства и метеорологических условий.
Кладку каменных конструкций в зимних условиях следует выполнять на цементных, цементно-известковых растворах и цементно-глиняных растворах.
Способом замораживания растворов в течении одного зимнего периода допускается возводить конструкции до 15 м (четыре, пять этажей) с последующим оттаиванием и твердением при потеплении или искусственном отогреве кладки.
Кладку способом замораживания выполняют на растворах марки не ниже 100.
Использование замерзшего или отогретого горячей водой раствора не допускается.
При замерзании прочность раствора увеличивается, но с наступлением оттепели он из твердого состояния переходит в пластичное, и прочность кладки резко снижается, достигая критической величины (нулевая прочность раствора). Чем раньше раствор замерзает, тем больше потеря прочности.
При выполнении кладки на растворах без противоморозных добавок следует выполнять однорядную перевязку. Кирпич и камень следует укладывать с полным заполнением вертикальных и горизонтальных швов.
При кладке зимой пяти любых этажей способом замораживания простенки нижнего этажа армируют через два ряда кладки, следующего через три ряда и всех последующих как для летних условий.
Толщина горизонтальных швов должна быть не более 15 мм. Оконные и дверные проёмы в стенах, выполняемых по методу замораживания, должны иметь высоту больше, чем при кладке в летних условиях на 5 мм.
Для предохранения от обледенения и заноса снегом на время перерыва в работе верх кладки накрывать.
Наиболее опасным периодом для каменной кладки, выполненной методом замораживания, является период её оттаивания. За оттаиванием кладки, выполненной методом замораживания, необходимо вести тщательное наблюдение в течение всего периода оттаивания с принятием мер, обеспечивающих прочность и устойчивость возводимых конструкций.
Перед наступлением весенних оттепелей должно быть выполнено следующее:
1) Не заделанные гнёзда, штрабы и другие ослабления несущих конструкций заделать кирпичом.
2) С междуэтажных перекрытий удалить случайные, непредусмотренные проектом нагрузки.
3) О готовности объекта к периоду оттаивания кладки составить соответствующий акт.
4) Вести регулярный контроль в период оттаивания и первоначального твердения кладки. В случае обнаружения признаков перенапряжения кладки в виде трещин, неравномерных осадок и т.д. немедленно принять меры по увеличению жесткости здания путем постановки стоек, подпорок и других мероприятий.
5) Для усиления простенков применять деревянные стойки, установленные в проеме с двух сторон. Нижним концом стойки опираются на горизонтально уложенные в проеме распределительные брусья и через клинья плотно прижимаются к перемычкам. При нагружении стоек в процессе осадки кладки следить за состоянием клиньев. Временное крепление установить не позднее, чем при возведении двух этажей над тем этажом, в котором требуется крепление.
Крепление снимается после набора раствором необходимой прочности.
Результаты работ в зимнее время, а также наблюдения за состоянием кладки должны заноситься в журнал производства работ, где указывается место работ, наличие осадков, вид раствора, и другое.
Контроль качества и приемка каменных работ
Правильность кирпичной кладки проверяют с помощью контрольно-измерительных инструментов и приспособлений по мере её возведения, но реже двух раз на каждый метр высоты, чтобы своевременно внести исправления. В качестве контрольно-измерительных инструментов и приспособлений применяют: причалку – крученый шнур диаметром 2…3 мм; уровень; правило длиной 1,2… 1,5 м для контроля прямолинейности рядов и лицевой поверхности кладки; отвес для проверки её вертикальности; рулетку измерительную металлическую и складной метр; причальные скобы; угольник.
Во время работы мастер следит за тем, чтобы применялись кирпич и раствор, указанные в рабочих чертежах, а горизонтальные и вертикальные швы были хорошо заполнены раствором. Качество заполнения швов раствором каменной кладки проверяют не реже трёх раз по высоте этажа. Нельзя допускать пустошовки в вертикальных швах тела кладки. Для проверки качества кладки каменщик пользуется имеющимся у него инструментом и приспособлениями.
Правильность закладки углов здания контролируются деревянными уголками, горизонтальность рядов кладки, уровнем не реже двух раз на каждом ярусе кладки.
Периодически проверяется толщина швов. Для этого измеряют пять шесть рядов кладки, и определяют среднюю толщину шва кирпичной кладки, в пределах высоты этажа эта величина должна составлять – 12 мм, вертикальных -10 мм.
В процессе выполнения каменной кладки и до начала следующих работ проверяют приёмку (техническое освидетельствование) скрытых работ с составлением актов представителями строительной организации и технического надзора заказчика.
Такой приёмке подлежат следующие законченные элементы, узлы и выполненные работы:
– осадочные и деформационные швы;
– установленная арматура в армокаменных конструкциях;
– антикоррозийное покрытие стальных элементов и деталей, заделанных в кладку;
– установка закладных частей – связей, анкеров и др.;
– укладка теплоизоляционных материалов в многослойных стенах;
– опирание плит перекрытий на стены.
Допустимые отклонения в размерах и положении каменных конструкций, мм.
Таблица 4.2
| Проверяемые конструкции (детали) |
Предельные отклонения, мм |
Контроль (метод, вид регистрации |
| Стен |
||
| Из кирпича правильной формы |
||
| Толщина конструкций |
±15 |
Измерительный, журнал работ |
| Отметки опорных поверхностей |
-10 |
То же |
| Ширина простенков |
-15 |
" |
| Ширина проёмов |
+15 |
" |
| Смещение вертикальных осей оконных проёмов от вертикали |
20 |
" |
| Смещение осей конструкций от разбивочных осей |
10 |
Измерительный, геодезическая исполнительная схема |
| Отклонения поверхностей и углов кладки от вертикали: на один этаж на здание высотой > 2‑х этажей |
10 30 |
Измерительный, геодезическая исполнительная схема |
| Толщина швов кладки: горизонтальных вертикальных |
-2; +3 -2; +2 |
Измерительный, журнал работ |
| Отклонения рядов кладки от горизонтали на 10 м длины стены |
15 |
Технический осмотр, геодезическая исполнительная схема |
| Неровности на вертикальной поверхности кладки, обнаруженные при накладывании рейки длиной 2 м |
10 |
Технический осмотр, журнал работ |
| Размеры сечения вентиляционных каналов |
±5 |
Измерительный, журнал работ |
Окончательную приемку законченных каменных конструкций сопровождают проверкой следующих параметров: правильность выполнения перевязки швов кладки, их размеры, а также вертикальность, горизонтальность и прямолинейность поверхностей и углов кладки; правильность устройства осадочных швов; правильность устройства вентиляционных каналов; качество поверхностей фасадных стен из кирпича. Независимо от промежуточных проверок, обязательно проверяется горизонтальность и отметки верха кладки каждого этажа.
Контроль качества работ по возведению каменных зданий в зимних условиях следует осуществлять на всех этапах строительства и отвечать соответствующим главам СНиП.
В журнале производства работ помимо обычных записей о составе выполняемых работ следует фиксировать: температуру наружного воздуха, температуру раствора в момент укладки и другие данные, влияющие на процесс твердения раствора.
Возведение здания может производиться без проверки фактической прочности раствора в кладке до тех пор, пока возведенная часть здания по расчету не вызывает перегрузки нижележащих конструкций в период оттаивания. Дальнейшее возведение здания разрешается производить только после того, как раствор приобретет прочность (подтвержденную данными лабораторных испытаний) не ниже требуемой по расчету, указанной в рабочих чертежах для возведения здания в зимних условиях.
Образцы, не менее трех, испытывают после 3‑часового оттаивания при температуре не ниже 20±5 °С. Контрольные образцы-кубы следует испытывать в сроки, необходимые для поэтажного контроля прочности раствора при возведении конструкций. Образцы следует хранить в тех же условиях, что и возводимая конструкция, и предохранять от попадания на них воды и снега.
Все результаты испытаний заносятся в журнал работ.
Перед приближением весны и в период длительных оттепелей необходимо усилить контроль за состоянием всех несущих конструкций зданий, возведенных в осенне-зимний период, независимо от их этажности и произвести мероприятия по удалению дополнительных нагрузок, устройству временных креплений и определению условий для дальнейшего продолжения строительных работ. Во время естественного оттаивания, а также искусственного прогрева конструкций следует организовывать постоянные наблюдения за величиной и равномерностью осадок стен, развитием деформаций наиболее напряженных участков кладки, твердением раствора.
Наблюдение необходимо вести в течение всего периода твердения до набора раствором проектной (или близкой к ней) прочности.
Леса и подмости для каменной кладки
Установку подмостей производят на очищенное и выровненное основание. На данном объекте используются подмости типа ППУ‑4А (пакетные) и индивидуальные щиты подмащивания.
Настил на подмостях должен быть ровным и не иметь щелей более 5 мм. В случае имеющихся зазоров между подмостями на настил последних укладываются щиты для перехода каменщиков с одних подмостей на другие.
Средства подмащивания высотой 1,3 м и более должны иметь ограждения и бортовые элементы высотой не менее 1,0… 1,1 м. Для подъёма и спуска людей подмости должны быть оборудованы лестницами. Деревянный настил и бортовое ограждение настила подмостей должны быть обработаны огнезащитным составом.
Установка и перестановка подмостей осуществляется башенным краном.
Основными требованиями, предъявляемыми к подмостям, являются устойчивость, прочность, легкопередвигаемость.
Перед началом смены необходимо проверить техническое состояние подмостей, также плановые и периодические осмотры подмостей следует производить не реже одного раза в месяц.
Для возведения здания также применяют строительные леса. Требования к лесам во многом аналогичны требованиям к подмостям. Инвентарные леса должны быть снабжены паспортом предприятия-изготовителя. Фактически нагрузки на настил лесов и подмостей не должны превышать расчетных. Для обеспечения устойчивости трубчатые леса крепят к стенам возводимого здания. Места крепления намечают в шахматном порядке на уровне узлов пересечений стоек с поперечинами. Недопустимо крепить леса к малоустойчивым элементам здания (парапетам, карнизам и т.д.), все инвентарные узлы проверяют на прочность по несущей способности.
Устойчивость лесов в продольном направлении обеспечивают системой ограждающих рам и постановкой горизонтальных связей, в поперечном направлении – креплением к стене анкерами.
Срок эксплуатации лесов должен быть не менее 5 лет.
Транспортирование лесов производят транспортом любого вида, обеспечивающим сохранность элементов лесов от повреждений. При транспортировании и хранении пакеты и ящики могут укладываться друг на друга не более чем в три яруса. Элементы лесов должны храниться в закрытых помещениях или под навесом на подкладках, исключающих соприкосновение с грунтом.
3.1.4 Монтажные работы
Монтаж конструкций необходимо начинать с части здания, обеспечивающей его пространственную жесткость и устойчивость.
Монтаж конструкций каждого вышележащего этажа здания должен производиться после полного окончательного закрепления всех конструкций нижележащего этажа и достижения бетоном замоноличенных стыков несущих конструкций проектной прочности.
При монтаже конструкций должен осуществляться постоянный геодезический контроль за соответствием их положения проектному.
При окончании кладки каждого этажа обязательна проверка нивелировки горизонтальности и отметок верха кладки, независимо от промежуточных проверок горизонтальности кладки, согласно требованиям.
1. Монтаж брусковых перемычек
Исполнители: каменщики монтажники, такелажник.
До начала основного процесса должны быть выполнены работы: установка подмости; проверены и нанесены отметки опорных поверхностей перемычек; установлены ящики с раствором. Комплекс операций выполняемых звеном: подготовка перемычек; подготовка постели из раствора под перемычки; захват, подъем, установка элемента; выверка правильности положения. Все перемычки завозят на объект и укладывают в радиус действия башенного крана.
2. Монтаж плит перекрытия
Доставленные на объект плиты перекрытия складируют в зоне действия башенного крана в проектном положении в штабель высотой не более 2,5 м по маркам и типоразмерам. Монтаж начинают после того, как все элементы наружных и внутренних стен в пределах этажа или захватки возведены до проектной отметки. До начала монтажа перекрытий проверяют положение верхних опорных частей кладки. Необходимо обеспечить горизонтальность потолка образуемого перекрытием. Для этого при нивелировании опорных поверхностей наносят отметки через каждые 5–6 метров. При этом исходят из того, чтобы растворные швы должны быть наименьшей толщины. При монтаже плит натягивают шнур причалку и по нему, непосредственно под монтируемые плиты расстилают раствор. Таким образом, чтобы поверхность его была на 2–3 мм выше шнура.
Монтаж плит начинают от торцевых стен с инвентарных подмостей, а при укладке последующих плит монтажники находятся на ранее уложенных плитах. Монтажники ведут монтаж звеном из четырех человек: машинист крана; два монтажника 3‑го и 4‑го разряда; такелажник 3‑го разряда.
Поданную к месту монтажа, сориентированную и опущенную на 30–50 см над уровнем места опирания плиту принимают монтажники, которые располагаются по одному у каждой опоры монтируемой плиты, стоя на ранее уложенных плитах перекрытия. Они принимают поданную краном плиту, направляют в проектное положение. Затем машинист крана по команде одного из монтажников медленно опускает плиту, и монтажники устанавливают ее на несущие стены. При натянутых стропах они выверяют проектное положение плиты, перемещая ее с помощью монтажных ломиков.
При отсутствии отклонений плиты от проектного положения производится ее расстроповка. Плиты перекрытия после выверки закрепляют: монтажные петли плит приваривают к анкерам, заделанным при кладке в стены, смежные плиты скрепляют между собой анкерами за монтажные петли.
Стыки плит перекрытия со стенами заделывают вслед за монтажом. В пустотных плитах, при опирании их на наружные стены, обязательно заполняют пустоты легким бетоном или готовыми бетонными прокладками на глубину 120 мм. Это выполняют с целью теплоизоляции и при необходимости утепляют торец плиты эффективным утеплителем.
3. Устройство монолитных участков перекрытия
При выполнении бетонных работ предусматривают создание звеньев бетонщиков, которые входят в состав комплексной бригады. Основные операции по приему, подаче и укладке бетонной смеси выполняет звено из четырёх человек: 4 р – 1 человек; Зр – 1 человек; 2 р – 2 человек. Работают они попарно. Бетонщик 2 р принимает бетонную смесь, регулирует ее подачу. Второй бетонщик 2 р и бетонщик-плотник 3 р исправляют дефекты опалубки в процессе бетонирования, устанавливают настилы и подмости, следят за поступлением бетонной смеси в конструкцию. Бетонщик 4 р разравнивает и уплотняет бетонную смесь вибратором.
Бетонные смеси следует укладывать в бетонируемые конструкции горизонтальными слоями одинаковой толщины без разрывов, с последовательным направлением укладки в одну сторону во всех слоях.
Высота свободного сбрасывания бетонной смеси в опалубку перекрытия составляет 1 м.
В начальный период твердения бетон необходимо защищать от попадания атмосферных осадков или потерь влаги, в последующем поддерживать температурно-влажностный режим с созданием условий, обеспечивающих нарастание его прочности. Движение людей по забетонированным конструкциям и установка опалубки вышележащих конструкций допускаются после достижения бетоном прочности не менее 1,5 МПа.
4. Особенности производства монтажных работ в зимнее время
При производстве монтажных работ в зимних условиях наиболее уязвимым местом является стык сборных железобетонных конструкций. При замоноличивании стыков соединений в зимних условиях должны приниматься меры, до достижения им критической прочности, значения которых зависят от видов конструкций и сроков ее ввода в эксплуатацию. Так в вертикальных стыках наружных панелей должна быть обеспечена прочность бетона не менее 50% проектной, при которой можно вести уже монтаж, и обеспечивается прочность бетона, необходимая для защиты металлических закладных деталей от действия влаги.
Закладные детали сваривают при температуре наружного воздуха не ниже -30 °С.
Ускорение твердения бетона в стыках может быть обеспеченно и тепловой обработкой бетона электронагревательными устройствами или непосредственно прогревом бетона электрическим током.
При производстве монолитных участков следует предусмотреть: на объект должны быть завезены материалы для утепления опалубки, установлено оборудование прогрева бетона, утеплены транспортные средства и тара для бетонной смеси. Перед укладкой бетонной смеси опалубку и арматуру очищают от снега и наледи, открытые поверхности укрывают брезентом или пленкой. Для прогрева бетона используется электропрогрев.
5. Контроль качества бетонных и монтажных работ
Контроль качества монтажа ведут с момента поступления конструкций на строительную площадку и заканчивают при сдаче объекта в эксплуатацию.
До начала работ по монтажу конструкций на захватке составляют акты на скрытые работы, проверяют наличие закладных деталей. При приемке конструктивных элементов на объекте проверяют их размеры, эстетический вид (сохранность граней, наличие облицовки, отсутствие повреждений на лицевой поверхности и др.). Грани поверхностей стыка должны быть без наплывов бетона и покрыты грунтовочным материалом.
Технические критерии и средства контроля операций и процессов приведены ниже.
1) Подготовительные предмонтажные работы.
Поставляемые панели перегородок не должны иметь: жировых и ржавых пятен на лицевой поверхности; трещин, за исключением местных поверхностных усадочных, шириной раскрытия более 0,2 мм; околов бетона ребер глубиной более 2 мм и длиной более 20 мм на 1 м. Отклонения от номинальных размеров ребер, полок, вырезов, выступов, проемов, отверстий и каналов в панелях не должны превышать ±5 мм.
Поставляемые плиты перекрытий не должны иметь: околов бетона ребер глубиной более 10 мм и длиной более 50 мм на 2 м; трещин, за исключением местных, поверхностных усадочных, шириной раскрытия более 0,1 мм; раковин, местных наплывов и впадин диаметром, высотой (глубиной) более 1 мм.
2) Монтаж панелей перегородок.
До начала монтажа стен необходимо проверить соответствие марки раствора проекту. Отклонение плоскостей панелей стен в верхнем сечении от вертикали не должно превышать 10 мм. Отклонение от совмещения ориентиров (рисок геометрических осей, граней) в нижнем сечении установленных элементов с установочными ориентирами (рисками геометрических осей или гранями нижележащих элементов, рисками разбивочных осей) не должно превышать 8 мм.
Стыки панелей внутренних стен должны быть заделаны цементно-песчаным раствором марки 100 по всей высоте стыка.
3) Монтаж плит перекрытия.
Опорные поверхности ранее установленных конструкций и монтируемых перекрытий и покрытий должны быть очищены от мусора и грязи. Панели перекрытия необходимо укладывать на слой раствора толщиной не более 20 мм.
Разность отметок лицевых поверхностей двух смежных панелей перекрытий вдоль шва при длине плит от 4 до 8 м не должна превышать 6 мм.
Замоноличивание швов следует выполнять после проверки правильности установки конструкций, приемки соединений элементов в узлах сопряжения и выполнения антикоррозионного покрытия сварных соединений.
4) Монтаж лестничных маршей и площадок.
Опорные поверхности лестничных маршей, площадок и опорные поверхности конструкций, на которые они устанавливаются, должны быть очищены от мусора, грязи, наледи, снега и других поверхностных загрязнений. Лестничные марши и площадки необходимо укладывать на слой раствора толщиной не более 20 мм.
Перепад отметок между лицевыми поверхностями лестничной площадки и примыкающей ступени лестничного марша не должен превышать 3 мм.
3.1.5 Калькуляция затрат труда, машинного времени и заработной платы
Калькуляция затрат труда, машинного времени и заработной платы приведена в таблице 5.4.
| № |
Основание ЕНиР |
Описание работ |
Ед. изм. |
Объем работ |
Нормативный состав звена |
Норма времени |
Затраты труда |
Расценка |
Зарплата |
||
| чел.-ч |
маш-ч |
чел.-ч |
маш-ч |
||||||||
| 1 |
Е3–3 т3 9б |
Кирпичная кладка стен простая, толщиной 380 мм |
м3 |
108.63 |
Каменщик 3 разр. -2 |
2.2 |
- |
238.99 |
- |
1.54 |
167.29 |
| 2 |
Е3–3 т3 2б |
Кирпичная кладка стен простая, толщиной 120 мм |
м3 |
25.22 |
Каменщик 3 разр. -2 |
4.6 |
- |
116.01 |
- |
3.22 |
81.21 |
| 3 |
Е3–3 т3 9а |
Кирпичная кладка стен простая, толщиной 380 мм |
м3 |
65.77 |
Каменщик 3 разр. -2 |
1.8 |
- |
118.39 |
- |
1.26 |
82.87 |
| 4 |
Е3–16 т1.1а |
Укладка брусковых перемычек, до 0,5т |
проем |
136 |
Каменщик 4 разр. -1 3 разр. -1; 2 разр. -1 Машинист 6 разр. -1 |
0.45 |
0.15 |
61.20 |
20.40 |
0.32 |
43.52 |
| 5 |
Е3–20 т2.4 аб |
Устройство и разборка инвентарных подмостей для кладки наружной стены |
10м3 кладки |
10.86 |
Плотник 4 разр. -1 2 разр. -1 Подс.раб. 1 разр. -1 Машинист 5 разр. -1 |
0.75 |
0.25 |
8.15 |
2.72 |
0.518 |
5.63 |
| 6 |
Е3–20 т2.2 аб |
Устройство и разборка инвентарных подмостей для кладки внутренней стены |
10м3 кладки |
6.58 |
Плотник 4 разр. -1 2 разр. -1 Подс.раб. 1 разр. -1 Машинист 5 разр. -1 |
1.14 |
0.38 |
7.50 |
2.50 |
0.787 |
5.18 |
| 7 |
Е4–1–7 т1.3 аб |
Укладкаплит перекрытий до 10 м2 |
шт |
98 |
Монтажник 4 разр. -1 3 разр. -1; 2 разр. -1 Машинист 6 разр. -1 |
0.72 |
0.18 |
70.56 |
17.64 |
0.509 |
49.88 |
| 8 |
Е4–1–8 т2.16 |
Установка панелей перегородок до 5 м2 |
шт |
100 |
Монтажник 4 разр. -1 3 разр. -1; 2 разр. -1 Машинист 4 разр. -1 |
0.68 |
0.17 |
68.00 |
17.00 |
0.517 |
51.70 |
| 9 |
Е4–1–8 т2.17 |
Установка панелей перегородок до 10 м2 |
шт |
40 |
Монтажник 4 разр. -1 3 разр. -1; 2 разр. -1 Машинист 4 разр. -1 |
0.8 |
0.2 |
32.00 |
8.00 |
0.608 |
24.32 |
| 10 |
Е4–1–8 т2.18 |
Установка панелей перегородок до 15 м2 |
шт |
60 |
Монтажник 4 разр. -1 3 разр. -1; 2 разр. -1 Машинист 4 разр. -1 |
1 |
0.25 |
60.00 |
15.00 |
0.76 |
45.60 |
| 11 |
Е4–1–10 т1.8 |
Укладка лестничных маршей в каменных зданиях, весом до2,5т |
шт |
9 |
Монтажник 4 разр. -1 3 разр. -1; 2 разр. -1 Машинист 6 разр. -1 |
1.4 |
0.35 |
12.60 |
3.15 |
1.02 |
9.18 |
| 12 |
Е4–1 п. 11 |
Установка лестничных ограждений |
1 м решетки |
40 |
Монтажник 4 разр. -1; Электросварщик 3 разр. -1 |
0.37 |
- |
14.80 |
- |
0.276 |
11.04 |
| 13 |
Е4–1–26 |
Заливка швов плит перекрытия |
100 м |
28.5 |
Маш.крана 5 разр. – 1 Такелажник 2 разр. – 2 |
6.4 |
- |
182.40 |
- |
4.77 |
135.95 |
| 14 |
Е1–7 1г |
Подача кирпича 200 шт. на поддоне |
1000 шт |
411 |
Маш.крана 5 разр. – 1 Такелажник 2 разр. – 2 |
1.07 |
0.534 |
439.77 |
29.47 |
0.683 |
280.71 |
| 15 |
Е1–7 96г |
Подача раствора, 0.25 м3 |
м3 |
322.55 |
Маш.крана 5 разр. – 1 Такелажник 2 разр. – 2 |
0.87 |
0.435 |
280.62 |
14.31 |
0.055 |
17.93 |
| 16 |
Е1–7 |
Подача теплоизоляционных плит |
100т |
0.04 |
Маш.крана 5 разр. – 1 Такелажник 2 разр. – 2 |
20.1 |
10 |
0.80 |
0.4 |
12.94 |
0.52 |
| 17 |
Е1–11 п. 42 |
Устройство теплоизоляционного слоя |
м2 |
226.8 |
Изолировщик 4 разр. -1 3 разр. -1; 2 разр. -1 |
0.96 |
- |
217.73 |
- |
0.682 |
154.68 |
| 18 |
Е3–16 |
Устройство вентшахт |
100 м |
0.4 |
Каменщик 4 разр. -1 |
12.5 |
- |
5.00 |
- |
9.31 |
3.72 |
| 1934.51 |
153.28 |
1170.93 |
|||||||||
Количественный состав бригады по калькуляции определяется по формуле:
Nтр = Q (чел.-час)/М (маш-час),
Q=1934,51 чел.-час, М=153.29 маш-час. Nтр =1934,51/153,29=12 чел.
Определение количественного состава бригады.
Qчел-ч = 1934,51 чел.‑ч – общие трудозатраты по всем работам.
Qмаш-ч = 153,28 чел.‑ч – общие трудозатраты по всем работам.
Трудозатраты отдельных специальностей:
Каменщики – Qчел-ч = 813,58 чел.‑ч
Монтажники – Qчел-ч = 257,96 чел.‑ч
Плотники – Qчел-ч = 15,65 чел.‑ч
Электросварщик – Qчел-ч = 14,80 чел.‑ч
Изолировщики – Qчел-ч = 178,4 чел.‑ч
Такелажники – Qчел-ч = 742,17 чел.‑ч
Подсобные рабочие – Qчел-ч = 10,75 чел.‑ч
Каменщики – 43%; Монтажники – 10,43%; Плотники – 0,6%; Электросварщик – 0,6%; Изолировщики – 7,21%; Такелажники – 30,0%; Подсобные рабочие –
Количественный состав бригады
Каменщики – 6; Монтажники – 3; Плотники – 1; Электросварщик – 1; Изолировщики – 2; Такелажники –2.
4.1.6 Потребное количество материалов и ресурсов
Потребное количество определяем на основании общих производственных норм расхода материала в строительстве [20] и СНиП ІV‑2–82.
Таблица 4.6. Потребное количество материалов и ресурсов
| № п/п |
Наименование материала |
Единицы измерения |
Количество |
| 1 |
Кирпич силикатный |
Шт. |
411000 |
| 2 |
Строительный раствор |
м3 |
322,55 |
| 3 |
Панели перекрытий |
м3 |
156 |
| 4 |
Перемычки |
м3 |
26 |
4.1.7 Инструмент и приспособления для звена каменщиков при выполнении кладки и монтажа
Таблица 4.7. Потребности в инструменте, инвентаре и приспособлениях
| № п/п |
Наименование инструмента |
ГОСТ |
Количество |
Примечание |
| Каменщики |
||||
| 1 |
Кельма типа КБ |
ГОСТ 9533–66 |
2 |
Заполнение швов раствором |
| 2 |
Молоток-кирочка типа МКУ |
ГОСТ 11042–64 |
1 |
Кладка и теска кирпича |
| 3 |
Кирочка двухсторонняя |
ГОСТ 11042–64 |
1 |
То же |
| 4 |
Лопатка растворная |
ГОСТ 3620–63 |
1 |
Подача раствора |
| 5 |
Отвес стальной |
ГОСТ 1748–63 |
1 |
Проверка вертикальности швов |
| 6 |
Расшивка стальная |
ГОСТ 12803–67 |
2 |
Отделка швов |
| 7 |
Уровень строительный УЗС |
ГОСТ 1416–67 |
1 |
Проверка горизонтальности швов |
| 8 |
Метр складной металлический МСМ -74 |
ГОСТ 7253–54 |
1 |
Линейные измерения |
| 9 |
Правило дюралюминиевое, длина 1 м |
ГОСТ 5094–67 |
1 |
Контроль прямолинейности рядов |
| 10 |
Уголок деревянный |
ГОСТ 5094–67 |
1 |
Проверка углов кладки |
| 11 |
Порядовки |
ГОСТ 1748–63 |
1 |
Разметка рядов по высоте |
| 12 |
Шнур причалка, м |
ГОСТ 12803–67 |
28 |
Соблюдение прямолинейности и горизонт-сти рядов |
| Бетонщики |
||||
| 13 |
Скарпели для каменных и бетонных работ |
ТУ 22–4399–79 |
1 |
Укладка бетона |
| 14 |
Топор строительный |
ГОСТ 18578–73 |
1 |
То же |
| 15 |
Молоток плотничный |
ГОСТ 11042–83 |
1 |
То же |
| 16 |
Гладилки ленточные с конусным концом |
ГОСТ 10403–80 |
1 |
То же |
| 17 |
Гребок для бетонных работ |
ТУ 22–7945–81 |
1 |
То же |
| 18 |
Скребок металлический |
ТУ 22–4629–80 |
1 |
То же |
| 19 |
Лопатка растворная |
ГОСТ 3620–76 |
1 |
Накладывание растворной смеси |
| 20 |
Щетка из стальной проволоки |
ГОСТ 17–830–80 |
1 |
Укладка бетона |
| 21 |
Рулетка в закрытом корпусе |
ГОСТ 7502–80 |
1 |
Измерения |
| 22 |
Отвес строительный |
ГОСТ 7948–80 |
1 |
Проверка вертк-ти |
| 23 |
Уровень строительный |
ГОСТ 9416–83 |
1 |
Проверка гориз-ти |
| Плотники |
||||
| 24 |
Долота плотничные с шириной лезвия 16–18 мм |
ГОСТ 1185–80 |
1 |
Изготовление опалубки |
| 25 |
Ножовки по дереву |
ГОСТ 26215–84 |
1 |
То же |
| 26 |
Рубанок с одиночным ножом |
ГОСТ 14664–77 |
1 |
Работа по дереву |
| 27 |
Топор строительный |
ГОСТ 18578–73 |
1 |
То же |
| 28 |
Молоток плотничный |
ГОСТ 11042–83 |
1 |
То же |
| 29 |
Ломы гвоздодёры |
ГОСТ 1405–83 |
1 |
Извлечение гвоздей |
| 30 |
Отвёртки слесарные |
ГОСТ 17199–71 |
1 |
Изгот‑е опалубки |
| 31 |
Рулетка в закрытом корпусе |
ГОСТ 7502–80 |
1 |
Измерения |
| 32 |
Отвес строительный |
ГОСТ 7948–80 |
1 |
Проверка вертк-ти |
| 33 |
Уровень строительный |
ГОСТ 9416–83 |
1 |
Проверка гориз-ти |
| Арматурщики |
||||
| 34 |
Ломы обыкновенные |
ГОСТ 1405–83 |
1 |
Укладка арматуры |
| 35 |
Зубила слесарные |
ГОСТ 7211–42 |
1 |
То же |
| 36 |
Кусачки торцевые |
ГОСТ 7282–75 |
1 |
То же |
| 37 |
Кусачки боковые |
ГОСТ 22306–77 |
1 |
То же |
| 38 |
Кувалды кузнечные продольные остроносые |
ГОСТ 11402–75 |
1 |
То же |
| 39 |
Молоток слесарный с круглым байком |
ГОСТ 2310–77 |
1 |
То же |
| 40 |
Плоскозубцы обычные |
ГОСТ 7236–79 |
1 |
Закрепление арматуры |
| 41 |
Щетка из стальной проволоки |
ГОСТ 17–830–80 |
1 |
То же |
| 42 |
Рулетка в закрытом корпусе |
ГОСТ 7502–80 |
1 |
Измерения |
| 43 |
Штангенциркуль |
ГОСТ 166–80 |
1 |
То же |
| Электросварщики |
||||
| 44 |
Электрододержатели пассатижного типа |
ГОСТ 14651–78 |
1 |
Крепление электродов |
| 45 |
Зубила слесарные |
ГОСТ 7211–72 |
1 |
Для электродов |
| 46 |
Отвёртки диэлектрические |
ГОСТ 21010–75 |
1 |
То же |
| 47 |
Метр складной металлический |
206УССР49–77 |
1 |
Измерения |
| 48 |
Напильники |
ГОСТ 1465–80 |
1 |
Для электродов |
4.1.8 Техника безопасности
1. Техника безопасности при производстве каменных работ.
При перемещении и подаче на рабочее место грузоподъемными кранами кирпича следует применять поддоны, контейнеры и грузозахватные приспособления, исключающие падение груза при подъеме.
Уровень кладки после перемещения средств подмащивания должны быть не менее чём на 0,7 м выше уровня рабочего настила перекрытия.
В случае необходимости производства кладки ниже уровня, кладку надлежит выполнять, применяя предохранительные пояса или специальные сетчатые защитные ограждения. Не допускается кладка наружных стен толщиной до 0,75 м в положении стоя на стене. При толщине более 0,75 м разрешается производить кладку стены, применяя предохранительные пояса, закрепленные за специальное страховочное устройство.
Не допускается кладка стен здания последующего этажа без установки несущих конструкций междуэтажного перекрытия, а также площадок и маршей в лестничных клетках.
При кладке стен более 7 м необходимо применять защитные козырьки по периметру здания, удовлетворяющим следующим требованиям:
– ширина защитных козырьков должна быть не менее 1,5 м и они должна быть установлены с углом к стене так, чтоб угол, образуемый между нижней частью стены и поверхностью козырька, был 110 °, а зазор между стеной здания и настилом козырька не превышал 50 мм.
– защитные козырьки должны выдерживать распределенную снеговую нагрузку, установленную для данного климатического района, и сосредоточенную нагрузку не менее 1600Н, приложенную в середине пролета.
– первый ряд защитных козырьков должен иметь сплошной настил более 6 м от земли и сохраняться до полного окончания кладки стен.
Ходить по козырькам, использовать их в качестве подмостей, а также складирования на них материалов не допускается.
Над входом в строящееся здание необходимо устраивать навесы размером в плане 2х2 м.
Перед началом работ провести с рабочими инструктаж в соответствии с типовыми инструкциями под роспись в журнале по технике безопасности. Кирпичную кладку вести с применением подмостей ППУ‑4А и индивидуальных подмостей. Подмости поступающие на строительную площадку с завода-изготовителя допускаются к эксплуатации при наличии паспорта и акта приемки от завода изготовителя. Подмости, поступающие с других строительных площадок, допускаются к эксплуатации после приемки их по акту, составленному специальной комиссией. Перед началом смены необходимо проверять техническое состояние подмостей. Загрузку подмостей производить в соответствии со схемами загрузки. При выполнении кирпичной кладки на втором ярусе подмостей устанавливать ограждения инвентарные. Подъем на первый и второй ярусы производить'' по инвентарным металлическим лестницам. На подмостях вывесить схемы загружения. Подмости устанавливать на прочное основание, подкладывать под опоры кирпичи, обрезки досок и другие случайные предметы ЗАПРЕЩАЕТСЯ. Для обеспечения после подмащивания уровня кладки на 0,7 м выше рабочего настила подмостей использовать деревянные подставки высотой 0,5 м, которые входят в комплект подмостей.
2. Техника безопасности при монтаже конструкций
При возведении зданий и сооружений запрещается выполнять работы, связанные с нахождением людей в одной секции (захватке, участке) на этажах. Над которыми производиться перемещение, установка и временное крепление элементов сборных конструкций или оборудования. Способы строповки элементов конструкций и оборудования должны обеспечивать подачу их к месту установки в положение, близком к проектному. Запрещается подъем сборных железобетонных конструкций, не имеющих монтажных петель или меток, обеспечивающих правильную строповку и монтаж. Очистку подлежащих монтажу элементов конструкций, следует производить до их подъема.
Строповку грузов следует производить инвентарными стропами или специальными грузозахватными приспособлениями. Способы строповки должны исключать возможность падения или скольжения застропованного груза. Элементы монтируемых конструкций или оборудования во время перемещения должны удерживаться от раскачивания и вращения гибкими оттяжками.
Не допускается пребывание людей на элементах конструкций и оборудования во время их подъема или перемещения. Во время перерывов на работе не допускается оставлять поднятые элементы конструкций и оборудования на весу. Не допускается выполнять монтажные работы на высоте в открытых местах при скорости ветра 15 м/с и более, при гололеде, грозе или тумане исключающем видимость в пределах фронта работ. Работы по перемещению и установке вертикальных панелей и подобным им конструкциям с большой парусностью следует прекращать при скорости ветра 10 м/с и более. Рабочие должны быть обеспечены спецодеждой, защитными касками и предохранительными поясами.
4.1.9 Технико-экономические показатели на кирпичную кладку
1. Объем работ: 200м3 ;
2. Общая трудоемкость работ: 1934,51 чел.-час;
3. Выработка на одного каменщика в смену:
B=8V/QH =8*200/1934,51=0,82 м3 ;
4. Продолжительность работ: 12 дней
4.2 Технологическая карта на производство кровельных работ
4.2.1 Подготовка основания под кровлю
Наплавляемые рулонные кровельные материалы были изобретены в 1967 году. В Европе этот материал используется уже почти три десятилетия. Продукция, изготовленная в основном в Италии, в Голландии и в Бельгии, завоевала, благодаря своим прекрасным техническим свойствам и возможностям употребления, популярность в большинстве Европейских стран, считая и северные страны. На строительные рынки Финляндии она появилось в 1985 году.
Так как суровые северные климатические условия ставят строительным материалам дополнительные требования, согласно им был выработан специально для Севера материал, который назвали S‑КАТЕ. Экономические и социальные изменения в обществе и развитие рынков России расширяет строительные возможности, но выдвигает также и новые требования на используемые материалы. В этом отношении S‑КАТЕ отвечает полностью ожиданиям Российских потребителей.
Очень важно знать для заказчика, что покрытие S‑КАТЕ устанавливают фирмы, которые являются настоящими и достоверными экспертами своего дело. Не зависимо от того, проводятся ли работы в России или в Финляндии – на первом плане единые, особо высокие требования, как на материалы, так и на качество установки. Развитие качества и свойств наплавляемых рулонных кровельных материалов – это непрерывный процесс. Учёные и изготовители используют при этом новейшие достижения техники и науки, чтобы удовлетворить даже самые строгие требования потребления.
При подготовке поверхности основания необходимо соблюдать требования табл. 2 [10].
Качество и конечный результат кровельных работ зависит во многом от того, как выполнены подготовительные работы и какие организационные меры приняты для беспрепятственного выполнения работ.
Для проведения кровельных работ надо создать такие условия, которые позволяют достичь безупречного конечного результата. Рабочая площадь должна быть подготовлена в такой мере, чтобы избегать принуждённых простоев, из-за которых может ухудшиться качество изоляционных работ. Старайтесь всегда планировать работы так, чтобы за один раз (без перебоев) завершить одну целую часть крыши.
Основанием под рулонную кровлю служат железобетонные плиты со стяжкой из цементного раствора.
В основаниях под кровлю и изоляцию в соответствии с проектом необходимо выполнить следующие работы:
заделать швы между сборными плитами;
смонтировать закладные элементы;
оштукатурить участки вертикальных поверхностей каменных конструкций на высоту примыкания рулонного или эмульсионно-мастичного ковра кровли и изоляции.
Выравнивающие стяжки из цементно-песчаных, следует устраивать захватками шириной 2–3 м по направляющим с разравниванием и уплотнением поверхности.
Обеспыливание оснований необходимо выполнять перед нанесением огрунтовочных и изоляционных составов, включая приклеивающие клеи и мастики.
После обеспыливания на крышу наносится слой грунтовки (праймера), который связывает ещё оставшуюся на крышу пыль. Огрунтовка поверхности перед нанесением приклеивающих и изоляционных составов должна быть выполнена сплошной без пропусков и разрывов. Огрунтовку стяжек, выполненных из цементно-песчаных растворов, следует выполнять не позднее чем через 4 ч после их укладки, применяя грунтовки на медленно испаряющихся растворителях. Так как праймер огнеопасный, огневые работы по устройству наплавляемой кровли, можно начинать только на следующий день (давая праймеру просохнуть одни сутки). Данная подготовка гарантирует оптимальное сцепление (адгезию) материала с основанием.
Изоляцию смонтированных оборудования и трубопроводов следует производить после их постоянного закрепления в проектном положении.
4.2.2 Подготовка под устройство
Поддоны с рулонами надо помещать всегда на несущие балки, чтобы избегать продавливания крыши. Материалы желательно размещать, как можно рассредоточено (не концентрируя на узкую площадь). Разом берётся под работу одна единичная часть крыши, и стараются закончить её без перебоев.
Перед началом укладки материала следует произвести его примерку путем размотки.
Рулонные материалы перед наклейкой необходимо разметить по месту укладки; раскладка полотнищ рулонных материалов должна обеспечивать соблюдение величин их нахлестки при наклейке.
Полотнища рулонных материалов при устройстве кровель должны наклеиваться в направлении от пониженных участков к повышенным с расположением полотнищ по длине перпендикулярно стоку воды при уклонах крыш до 15%;
Стеклоткань при устройстве изоляции или кровли необходимо расстилать, укладывая без образования волн, сразу после нанесения горячей мастики и покрывать мастикой толщиной не менее 2 мм.
4.2.3 Техническое описание техноэласт
(Выписка из материалов Государственного научно-исследовательского центра России, (ТУ) №5774–003–00287852–99).
• Превосходная стойкость к воздействию ультрафиолетовых лучей не требует никакого дополнительного защитного рассеивающего слоя от ультрафиолетового излучения. Так же мусор (листья, пыль и т.д.) не прикрепляется к покрытию, что облегчает ухаживать за крышами.
• Высокая температура плавления (+150 °С). ТЕХНОЭПЛАСТ не поддается воздействию солнечного излучения даже на высоких вертикальных поверхностях.
• Опорный слой – длинноволокнистый несвязанный полиэфирный ткань (275г/м2 ), которая расположена на глубине 1,5 мм в слое. Благодаря этому покрытие вулканизируется с перекладкой 100 мм, давая полностью однородный, прочный и, прежде всего, водонепроницаемый шов.
• Хорошие свойства по прочности на растяжение и предельной растяжимости в зимних и летних условиях обеспечивают то, что ТЕХНОЭПЛАСТ одинаково хорошо сохраняет свою форму и свойства в жаркое летнее время и при часто меняющихся зимних условиях. (Растяжимость -20 °С: продольное – 25%, попер. -15%; +23 °С: 35%. Прочность на разрыв: продольное – 17,3 кН/м, попер. – 12,7 кН/м.)
• Сохраняет гибкость и при морозе -20 °С.
• Однослойное покрытие выдерживает давление воды до 500 кПа. Одного слоя ТЕХНОЭПЛАСТ всегда достаточно.
4.2.4 Устройство изоляции кровли из рулонных материалов
Изоляционные и кровельные работы допускается выполнять при температуре от +60 до -30 °С окружающей среды. Покрытие ТЕХНОЭПЛАСТ нельзя ни в коем случае укладывать при дожде или снеге. Рулонные изоляционные материалы при производстве работ в отрицательных температурах необходимо в течение 20 ч отогреть до температуры не менее 15 °С, перемотать и доставить к месту укладки в утепленной таре.
Наплавленный материал наклеивает звено, состоящее из четырех-трех человек: рабочий V разряда работает с горелкой пли на установке по разжижению мастики; кровельщик IV разряда наклеивает рулоны катком-раскатчиком (при плавлении мастики); два рабочих III разряда приклеивают концы рулонов, отделывают примыкания, переносят рулоны и помогают рабочим V и IV разрядов.
Перед укладкой материала, поверхность кровли должна быть полностью выровнена и очищена. После высыхания праймера можно производить работу по укладке материала, используя газовую горелку, мастерок для герметизации швов и нож для резки. В случае повышенных требований к пожаробезопасности на объекте, вместо газовых горелок открытого пламени возможно использование воздушных фенов. Не следует при укладывании материала отслаивать от него защитную полимерную пленку: она полностью сгорает при разогреве материала горелкой. Также, при наличии защитной полимерной плёнки не следует производить укладку материала на холодные мастики либо на горячий битум так как в этом случае пленка не удалиться вообще, либо не полностью, что приведет к отсутствию нормального сцепления между материалом и основанием.
При необходимости следует осуществить подгонку, используя кровельный нож. Далее следует скрутить материал обратно в рулон. Постепенно разогревая нижний покровный слой наплавляемого рулонного материала с одновременным подогревом основания (или поверхности ранее наклеенного изоляционного слоя), рулон раскатывают и плотно прижимают к основанию. Прочность приклейки должна составлять не менее 0,5 МПа. Следует помнить, что при чрезмерном нагреве материал можно испортить, поэтому рекомендуется применять насадки для горелки различной мощности, в зависимости от температуры окружающего воздуха и толщины материала. Рулонный материал укладывается в нахлест. При этом боковые нахлесты должны быть от 7 см до 10 см, торцевые от 10 см до 15 см. Для реализации боковых нахлестов, на материале с крупнозернистой посыпкой предусмотрена не посыпанная кромка вдоль всего полотна шириной 7–10 см. Для реализации торцевых нахлестов потребуется предварительно удалить посыпку в предполагаемом месте путем разогрева данного участка горелкой. Рекомендуется после основной укладки материала произвести повторный прогрев образовавшихся швов и убедится в их герметичности.
ДЕТАЛИ ПЛОСКИХ КРЫШ
ВОРОНКА – самая требовательная деталь крыши.
Воронки нужно обеспечить хорошей теплоизоляцией против возникновения конденсата. Также, для избежания засоров, воронки должны иметь фильтры, которые можно легко чистить. Против замерзания можно употреблять низковольтные электронагреватели. Желательно употреблять дополнительные фильтры, с диаметром не менее 400 мм и высотой 50 мм. Дополнительный фильтр прикрепляют надёжно к воронке. Края спада делают пологими. В каждой ванне должна находится не менее чем одна воронка, при засорении которой вода должна попасть либо в другую воронку, либо направится за пределы стен постройки.
Воронкам предъявляют высокие требование по причине, что они должны принимать и пропускать большую массу воды, которая скапливается разом с широкой поверхности кровли. Как нижняя точка крыши, она принимает и зимние нагрузки снега и льда. Воронки должны быть надёжно присоединены в канализацию. Колодцы должны лежать примерно на 20 мм ниже от поверхности крыши (площадь 1 м х 1 м). Края спада делают пологими.
ПОДЪЁМЫ
В местах примыкания к выступающим поверхностям крыши (парапетам, трубопроводам и т.д.) кровельный ковер должен быть поднят до верха бортика стяжки, приклеен на мастике с прошпатлевкой верхних горизонтальных швов.
Надо следить, чтобы гидроизоляция поднималась на вертикальные поверхности не менее 300 мм от поверхности кровли, и не менее 100 мм от плоскости водослива. В дверях построек покрытие должно подниматься под жести порогов.
На вентиляционных трубах и других кровельных надстройках желательно поднять покрытие до их верхнего края. Особое внимание надо уделять на герметичности рабочего шва. Шурупы крепления защитных жестей должны иметь герметичные прокладки.
В последнюю очередь устанавливают подъёмы. Подъемы покрытий парапетов должны достигать внешние краев парапетов. Снизу они должны переходить через край основного слоя не менее чем на 100 мм. Этим образуется в углах трёхслойное покрытие. Парапетные жести укрепляют шурупами, у которых имеются эластичные, погодоустойкие прокладки. Жести крепятся так, чтобы уберечь их от воздействия силы ветра.
На крышах бывают разные подъёмы (вентиляционные каналы, круглые проходы, трубы и т.д.). Покрытия поднимают на таких подъёмах на высоту не менее 300 мм от поверхности крыши, не менее 100 мм от плоскости водослива. При возможности поднимают покрытие до верхнего края постройки или трубы. Рабочие швы вулканизируются особо аккуратно.
4.2.5 Проектирование производства кровельных работ
В технологической карте на производство кровельных работ поточными методами предусматривают разбивку крыши на захватки. Наиболее рационально вести работы поточно-расчлененным методом.
Для этого комплексный процесс производства кровельных работ разделяют на отдельные простые процессы. Так, при устройстве рулонных кровель комплексный процесс состоит из следующих простых процессов (частных потоков): подготовки основания, грунтовки поверхности, нанесения мастики и укладки отдельных слоев кровли, устройства защитного слоя. Для выполнения работ по каждому процессу закрепляют звено рабочих.
Определяют необходимое число захваток. Размер захватки назначают, исходя из сменной выработки звена, определив требуемое число захваток; разрабатывают схему движения звеньев по захваткам, а затем схему организации рабочего места кровельщика, оснащенность его нормокомплектом, а также схему подачи и укладки кровельного материала. Состав звеньев принимают в соответствии с нормами на кровельные работы, а состав бригады – исходя из данных калькуляции трудовых затрат.
4.2.6 Калькуляция затрат труда, машинного времени и зарплаты
Калькуляция затрат труда, машинного времени и зарплаты приведены в таблице 4.8.
Таблица 4.8
| № |
Основание ЕНиР |
Описание работ |
Ед. изм. |
Объем работ |
Нормативный состав звена |
Норма времени |
Затраты труда |
Расценка |
Зарплата |
||
| чел.-ч |
маш-ч |
чел.-ч |
маш-ч |
||||||||
| 1 |
2 |
3 |
4 |
5 |
6 |
7 |
8 |
9 |
10 |
11 |
12 |
| 1 |
Е7–4 п. 1 |
Очистка основания от мусора вручную |
100м2 |
9.18 |
Кровельщик 2 разр. -2 |
1 |
- |
9.18 |
- |
0.64 |
5.88 |
| 2 |
Е7–4 п. 3 |
Просушивание влажных мест основания |
100м2 |
9.18 |
Кровельщик 4 разр. -1 |
8.6 |
- |
78.95 |
- |
0.7 |
6.43 |
| 3 |
Е7–13 п. 1 |
Пароизоляция под кровлю пергамином |
100м2 |
9.18 |
Изолировщик 3 разр. -1 2 " -1 |
6.7 |
- |
61.51 |
- |
4.49 |
41.22 |
| 4 |
Е7–14 п. 17 |
Устройство защитного слоя из керамзита для уклона |
100м2 |
5.3 |
Изолировщик 3 разр. -1 2 " -1 |
1.1 |
- |
5.83 |
- |
0.737 |
3.91 |
| 5 |
Е7–15 п. 6 |
Устройство цементно – песчанной стяжки до 30 мм |
100м2 |
9.18 |
Кровельщик 4 разр. -1 3 " -1 |
21 |
- |
192.78 |
- |
15.64 |
143.58 |
| 6 |
Е7–4 п. 8 |
Обделка водосточных воронок |
шт |
3 |
Кровельщик 5 разр. -1 |
1.3 |
- |
3.90 |
- |
1.18 |
3.54 |
| 7 |
Е7–4 п. 7 |
Обделка мест примыканий стеклотканью |
1м2 |
9 |
Кровельщик 4 разр. -1 3 " -1 |
0.75 |
- |
6.75 |
- |
0.559 |
5.03 |
| 8 |
Е7–4 п. 4 |
Огрунтовка поверхности основания |
100м2 |
9.18 |
Кровельщик 2 разр. -1 |
4.1 |
- |
37.64 |
- |
2.62 |
24.05 |
| 9 |
Е7–2 п. 1 |
Наклейка рулонных материалов |
100м2 |
18.36 |
Кровельщик 4 разр. -1 3 " -1 |
4.8 |
- |
88.13 |
- |
3.58 |
65.73 |
| 10 |
Е7–6 п. 11 |
Обделка примыканий |
1м2 |
18 |
Кровельщик 3 разр. -1 |
0.1 |
- |
1.80 |
- |
0.07 |
1.26 |
| 11 |
Е7–6 п. 8 |
Устройство парапетов |
1м2 |
133 |
Кровельщик 3 разр. -1 |
0.55 |
- |
73.15 |
- |
0.385 |
51.21 |
| 12 |
Е7–8 п. 1 |
Устройство колпаков |
шт |
34 |
Кровельщик 3 разр. -1 |
1.1 |
- |
37.40 |
- |
0.77 |
26.18 |
| 13 |
Е1–7 п. 28 |
Подъем башенным краном рубероида |
100т |
0.08 |
Маш.крана 5 разр. – 1 Такелажник 2 разр. – 2 |
20.2 |
10 |
1.62 |
0.80 |
22.03 |
1.76 |
| 14 |
Е1–21 п. 1 |
Горизонтальная транспортировка рулонов на тележке |
1т |
8 |
Подсобный рабочий 2 разр. – 1 |
1.1 |
- |
8.80 |
- |
0.704 |
5.63 |
| 15 |
Е1–7 п. 28 |
Подъем и подогрев битума |
100т |
0.001 |
Маш.крана 5 разр. – 1 Подсобный рабочий 2 разр. – 1 |
0.1 |
6.4 |
0.00 |
0.01 |
0.07 |
0.01 |
| 16 |
Е1–2 п. 1т2 |
Выгрузка и складирование гравия |
100м3 |
2.03 |
Маш.крана 4 разр. – 1 |
0.55 |
6 |
1.12 |
12.2 |
0.385 |
0.78 |
| 17 |
Е1–2 п. 1т3 |
Разгрузка и складирование рубероида |
100т |
0.8 |
Маш.крана 4 разр. – 1 |
1.1 |
1.8 |
0.88 |
1.44 |
0.77 |
0.62 |
| 18 |
Е1–7 п. 14 |
Подача цементного раствора в ящиках |
м3 |
19.84 |
Маш.крана 5 разр. – 1 Такелажник 2 разр. – 2 |
0.55 |
0.06 |
10.91 |
1.19 |
0.385 |
7.64 |
| 19 |
Е1–7 п. 15 |
Подача гравия в таре башенным краном |
м3 |
203 |
Маш.крана 5 разр. – 1 Такелажник 2 разр. – 2 |
1.1 |
0.16 |
223.30 |
32.48 |
0.77 |
156.31 |
| 843.63 |
48.10 |
550.74 |
|||||||||
4.2.7 Определение количественного состава бригады
Qчел-ч = 843,63 чел.‑ч – общие трудозатраты по всем работам.
Qмаш-ч = 48,10 чел.‑ч – общие трудозатраты по всем работам.
Трудозатраты отдельных специальностей:
Кровельщики – Qчел-ч = 529,67 чел.‑ч
Изолировщики – Qчел-ч = 67,34 чел.‑ч
Такелажники – Qчел-ч = 235,87 чел.‑ч
Подсобные рабочие – Qчел-ч = 10,75 чел.‑ч
Процентные отношения от Qчел-ч = 843,63 чел.‑ч:
кровельщики – 62,78%; изолировщики – 7,98%; такелажники – 27,96%; подсобные рабочие – 1,27%.
Требуемое количество рабочих в бригаде 10:
Из процентного отношения вычисляем: кровельщики – 6; изолировщики – 2; такелажники – 4; подсобные рабочие – 1.
Расчетный количественный состав бригады – 12 человек.
4.2.8 Материально-технические ресурсы
Перечень инструментов, инвентаря на бригаду.
Таблица 4.9
Наименование |
Ед. изм. |
Количество |
| Механизм подъемочный |
Шт. |
1 |
| Веники |
Шт. |
6 |
| Валики с длинной ручкой |
Шт. |
3 |
| Лопата доборочная |
Шт. |
4 |
| Маячные трубы |
Шт. |
4 |
| Виброрейка |
Шт. |
2 |
| Топор плотничный |
Шт. |
2 |
| Рулетка металлическая |
Шт. |
2 |
| Защитные очки |
Шт. |
4 |
| Пояс предохранительный |
Шт. |
11 |
| Нож кровельный |
Шт. |
4 |
| Тележка |
Шт. |
1 |
| Полутерки |
Шт. |
4 |
| Газовые горелки |
Шт. |
2 |
| Ножницы по металлу |
Шт. |
2 |
| Заклепочник |
Шт. |
2 |
| Перфоратор |
Шт. |
1 |
| Бочок для подноски праймера |
Шт. |
1 |
4.2.9 Технико-экономические показатели
1. Нормативные затраты труда рабочих, 843,63 чел.-час
2. Нормативные затраты машинного времени, 48,10 маш-час
3. Зарплата рабочих, 550,74 руб.
4. Продолжительность выполнения работ, 9 дней
Таблица 4.10. Потребность в материалах
Наименование |
Ед. изм. |
Количество |
| Рулонные материалы |
м2 |
2580 |
| Раствор цементный |
м3 |
19,84 |
| Заклепки |
кг |
19,84 |
| Сталь полосовая |
т |
0,015 |
| Бензин |
кг |
58 |
| Сталь кровельная оцинкованная |
т |
1,03 |
| Битум |
кг |
34 |
| Гравий |
м3 |
203 |
4.2.10 Контроль качества кровельных работ
Контроль качества и приемка кровельных работ. При кровельных работах проводят операционный контроль качества подготовки основания, устройства, пароизоляции и теплоизоляции, выравнивающей стяжки, гидроизоляционных слоев, защитного слоя и примыканий. Контролируют качество поступающих материалов и соответствие его требованиям ГОСТов.
Скрытые работы при устройстве кровли подлежат актированию.
При устройстве рулонных и мастичных кровель поверхность основания должна быть ровной, прочной, сухой, не иметь зыбкости.
Качество укладки рулонных материалов проверяют путем отрыва одного слоя от другого. Разрыв должен проходить по рулонному материалу, отслаивание не допускается. Рулонная кровля не должна иметь воздушных мешков. Если таковы имеются, их прокалывают (прорезают), обрабатывают мастикой и прикатывают катком.
Приемку готовой кровли оформляют актом и выдают заказчику гарантийный паспорт с указанием наименования объекта, объема выполненных работ, их качества и срока, в течение которого строительная организация обязана устранять дефекты.
Требования, предъявляемые к готовым изоляционным (кровельным) покрытиям и конструкциям, приведены в таблице 7 [10].
4.2.11 Пожарная безопасность
Огневые работы – это работы, где употребляется газовое пламя.
Газовые горелки должны иметь редуктор и клапан обрыва шланга. Запрещено нагревать газовые баллоны открытым огнём для улучшения испарения газа.
Организация должна при выполнении огневых работ учитывать следующие моменты:
• Указать лицо, кто отвечает за пожарную безопасность при огневых работах.
• Указать лицо, которое следит за исправностью средств огнетушения.
• Если огневые работы ведутся в местах, где повышенная пожарная или взрывная опасность, или которые содержат большие исторические, культурные или материальные ценности, эти работы согласовываются с местными пожарными должностными лицами.
• Перед началом огневых работ убедиться, что рабочие инструменты исправны.
• Соблюдать чистоту на объекте.
• Проходы должны быть свободными.
• Уметь пользоваться первичными огнетушительными средствами.
• На объекте должна быть полная санитарная аптечка.
• При работе с горелкой всегда следить, куда направляешь пламя.
• Уходя с крыши, закрывать вентиль газового баллона.
• Никогда не оставлять открытый огонь без присмотра.
4.2.12 Техника безопасности
Требования безопасности при производстве кровельных работ. К опасным факторам, которые могут привести к травмированию рабочих при производстве кровельных работ, относят: падение с высоты рабочего или материалов, инструментов с кровли; ожоги при использовании наплавляемых рулонных материалов; поражение электрическим током при применении электрифицированных машин и инструмента; отравление токсичными материалами.
В соответствии со СНиП 12.04–2002 для предотвращения падения рабочих с высоты, необходимо рабочих снабжать предохранительными поясами и строго следить за их использованием. Рабочих обеспечивают спецодеждой, спецобувью, рукавицами, переносными стремянками, которые должны быть закреплены к коньку.
Места, где возможно падение материалов, инструмента при производстве кровельных работ, должны быть ограждены.
В зимних условиях при сильном снегопаде, гололеде, а также летом при ливневых дождях, туманах, ветре силой более 6 баллов кровельные работы прекращают.
При устройстве кровель из наплавленных рулонных материалов к работе допускают рабочих, обученных по специальной программе и получивших удостоверение на допуск к ним.
При работе с токсичными материалами рабочих снабжают респираторами, а для защиты глаз – защитными очками.
Контроль за безопасным ведением работ осуществляют мастер и производитель работ.
5. Разработка календарного плана производства работ
5.1 Паспорт объекта
Проектируется 4‑этажное гарнизонное общежитие на 248 мест.
Количество комнат на 3 человека: 40
Количество комнат на 2 человека: 56
Количество комнат на 1 человека: 16.
Полная высота здания – 20 м. Имеется подвал площадью – 178,4 м². Встроенных и пристроенных помещений нет. Конструктивная схема – бескаркасная.
ТЭП
Строительный объем: 12199,9 м3
В том числе подвала: 178,4 м3
Площадь застройки: 1017,7 м2
Жилая площадь: 1552,52 м2
Общая площадь: 2391,8 м2
Материалы и конструкции.
1. Фундамент сборный.
2. Стены наружные – кирпичные, толщиной 640 мм.
3. Стены внутренние – кирпичные, толщиной 380 мм.
4. Перегородки – гипсобетон.
5. Перекрытия, лестницы и покрытия из сборных ж/б элементов.
6. Кровля – двухслойный рулонный ковер.
5.2 Нормативная продолжительность строительства
Продолжительность строительства жилого дома определяется по СНиП 1.04.03–85. Нормативная продолжительность строительства объекта зависит от назначения здания, его этажности, площади, материала стен и определяется с учетом наличия встроенных, пристроенных помещений и техэтажа.
4‑х этажное общежитие общей площадью 2391,8 м2 . Здание кирпичное. Согласно СНиП 1.04.03–85. Нормативная продолжительность строительства 4‑х этажного общежития площадью 2391,8 м2 составляет:
При наличии подвала в жилом доме следует учитывать и его площадь:
F = Fобщ + Fподв = 2391,8 + 0,5*580 = 2681,80 м2 .
По этой площади находим продолжительность:
Таблица 5.1. Определение продолжительности строительства
| Общая площадь, м2 |
2500 |
2681.8 |
|
| Продолжительность строительства, мес. |
10 |
10.24 |
|
| в том числе: |
подземная часть, мес. |
1.5 |
1.54 |
| надземная часть, мес. |
6 |
6.14 |
|
| отделочные работы, мес. |
2 |
2.05 |
|
Тп.ч. = k* Тп.ч. =1,1*1,54=1,69 мес *22=38 дн
Тн.ч. = k* Тн.ч. =1,1*6,14=6,75 мес *22=149 дн
Тотд. = k* Тотд. =1,1*2,05 = 2,82 мес *22= 50 дн
Тосн. = k* Тосн. =1,1*10,24 = 11,26 мес * 22= 248 дн
5.3 Выбор строительных машин и механизмов
Экскаватор выбираем в зависимости от объема земляных работ. Объем земляных работ определяем, как произведение площади застройки на глубину отрывки котлована.
1017,7*1,8 = 1831,86 м³ < 3000 м³. Исходя из этого принимаем вместимость ковша 0,65 м³. Принимаем экскаватор ЭО – 4321 с техническими характеристиками:
вместимость ковша – 0,65 м³
тип рабочего оборудования – обратная лопата
наибольший радиус копания – 8,9 м
наибольшая глубина копания – 5,5 м
размеры пневмоколесного хода; база – 2800 мм
полная ширина – 2740 мм
Башенный кран для возведения подземной и надземной части здания выбираем в зависимости от наибольшей высоты монтажа конструкций – 20 м. Так же следует учитывать минимальное безопасное расстояние м/у конструкциями – 0,5 м и высоту траверсы для подъема строительных конструкций – 3 м. Тогда исходя из этого допустимая высота подъема крюка – 23,5 м. Принимаем башенный кран КБ – 503 с техническими характеристиками:
грузоподъемность – 7,5 т
вылет стрелы при горизонтальной наклонной стреле:
наибольший – 35 м
при максимальной грузоподъемности – 19,6 м
наименьший – 5,5 м
Высота подъема крюка при наибольшем вылете – 53 м
колея – 4500 мм
база – 4500 мм
задний габарит – 3800 мм
мощность механизмов – 88,6 кВт
Строительный подъемник для транспортировки материалов выбираем в зависимости от высоты здания (20). Принимаем подъемник ТП 16–2 с техническими характеристиками:
грузоподъемность – 0,32 т
высота подъема – 27 м
мощность двигателя – 12 кВт
Бульдозер ДЗ – 42 на базе трактора ДТ – 75 мощностью 75 л.с.
Все строительные машины и механизмы приняты в соответствии с [23].
5.4 Проектирование календарного плана
5.4.1 Составление основной технологической модели
1. Структура работ.
Структуру работ устанавливаем с помощью типовой модели из каталога ОТМ.
2. Определение затрат труда и машинного времени (по проекту).
3. Метод организации работ на объекте. Укрупненная сетевая модель.
При возведении объекта выделяют следующие этапы строительства:
- Возведение фундаментов I цикл
- Возведение фундаментов II цикл
- Возведение надземной части
- Устройство кровли
- Специальные работы I цикл
- Отделочные работы I цикл
- Специальные и отделочные работы II цикл
- Внешние работы
- Подготовка к сдаче объекта
Метод строительства совмещенный, то есть совмещаются возведение коробки здания, специальные работы I цикла, отделочные работы I цикла.
4. Составление матричной технологической модели (каталог).
5. Составление обобщенной сетевой модели.
6. Выделение цепи напряженных работ, организационные характеристики. Выделяю напряженные, поточные и ведущие работы. Напряженные работы определяют продолжительность строительства. Признаками поточности работ являются: разделение работ между исполнителями; распределение объемов по всему фронту; совмещение работ во времени и пространстве.
7. Расчет показателей последовательности и структуры работ.
Кстр – отображает долю внутренних связей от общего числа связей между работами.
Кпосл – коэффициент последовательности работ, показывающий долю напряженных работ от общего числа.
Котм – общий коэффициент оптимальности модели.
![]()

![]()
nвн – число внутренних связей, предшествующих данной работе
n – число связей, предшествующих данной работе
Внутренними называются связи с предшествующими работами, выполняемыми той же организацией.
Nненапр – число ненапряженных работ
N – общее число работ
5.4.2 Подготовка таблицы исходных данных на напряженные работы
Таблица 6.2
| № работы |
Наименование напряженных работ |
Затраты |
Количество рабочих в звене |
Ограничение продолжительности работ |
Фронт работ |
|||
| труда чел.-дн |
маш. см. |
Еденицы измерения |
Размер полного фронта |
Размер передаваемого фронта |
||||
| 1 |
Устройство котлована |
9.27 |
4.64 |
1 |
38 |
Объект |
1 |
1 |
| 2 |
Устройство подкрановых путей и монтаж б/к |
45.62 |
16 |
5 |
Объект |
1 |
1 |
|
| 3 |
Устройство сборных фундаментов |
123.67 |
15.86 |
7 |
Объект |
1 |
1 |
|
| 4 |
Монтаж блоков стен подвала, гидроизоляция. Кирпичная кладка подземной части. Монтаж цокольного перекрытия. |
170.19 |
21.72 |
7 |
Объект |
1 |
0.5 |
|
| 5 |
Обратная засыпка и гидроизоляция. |
83.69 |
3.78 |
7 |
Объект |
1 |
0.5 |
|
| 6 |
Кирпичная кладка, монтаж конструкций 1‑го этажа |
364.29 |
16.59 |
15 |
149 |
Объект |
1 |
1 |
| 7 |
Тоже выше 1‑го атажа |
1457.3 |
75.52 |
15 |
Объект |
1 |
0.5 |
|
| 8 |
Установка оконных и дверных блоков |
67.95 |
- |
7 |
Объект |
1 |
1 |
|
| 10 |
Монтаж систем отопления, воздуховода и сантехнические работы |
351.12 |
- |
10 |
50 |
Объект |
1 |
0.5 |
| 12 |
Штукатурные и облицовочные работы |
1123.6 |
- |
10 |
Объект |
1 |
0.5 |
|
| 13 |
Плотничные работы 1 цикла |
632.65 |
- |
10 |
Объект |
1 |
0.5 |
|
| 14 |
Малярные работы 1 цикл |
623.42 |
- |
10 |
Объект |
1 |
0.5 |
|
| 18 |
Малярные работы 2 цикл |
273.52 |
- |
7.5 |
Объект |
1 |
0.5 |
|
| 23 |
Подготовка объекта к сдаче |
67.95 |
- |
5 |
Объект |
1 |
1 |
|
5.4.3 Подготовка исходных данных для расчета графика напряженных работ
Построение сетевой модели для напряженных работ.
5.4.4 Расчет и оптимизация графика напряженных работ
Таблица 5.3.
| № работы |
Наименование напряженных работ |
Затраты |
Число смен работы в день |
Наиб. кол-во |
Минимальная продолж. |
Среднее число рабочих |
План. кол-во |
Коэф. |
Плановая продолжительн |
||||
| труда чел.-дн |
маш. вр. |
машин |
рабочих в день |
машин |
рабочих в день |
интенсивность |
производительность труда |
||||||
| Qр |
Qм |
Aпл |
Mmax |
Rmax |
tmin |
Rср |
Mпл |
Rпл |
Kи |
Kпт |
tпл |
||
| 1 |
Устройство котлована |
9.27 |
4.64 |
2 |
1 |
4 |
2 |
- |
1 |
2 |
1.00 |
0.93 |
5 |
| 2 |
Устройство подкрановых путей и монтаж б/к |
45.62 |
16 |
2 |
2 |
10 |
4 |
- |
2 |
10 |
1.00 |
0.91 |
5 |
| 3 |
Устройство сборных фундаментов |
123.67 |
15.86 |
2 |
1 |
14 |
7 |
- |
1 |
14 |
1.00 |
0.98 |
9 |
| 4 |
Монтаж блоков стен подвала, гидроизоляция. Кирпичная кладка подземной части. Монтаж цокольного перекрытия. |
170.19 |
21.72 |
2 |
1 |
14 |
10 |
- |
1 |
14 |
0.98 |
1.01 |
12 |
| 5 |
Обратная засыпка и гидроизоляция. |
83.69 |
3.78 |
2 |
1 |
40 |
1 |
- |
1 |
14 |
0.35 |
1.00 |
6 |
| 6 |
Кирпичная кладка, монтаж конструкций 1‑го этажа |
364.29 |
16.59 |
2 |
1 |
40 |
8 |
- |
1 |
30 |
0.75 |
1.01 |
12 |
| 7 |
Тоже выше 1‑го атажа |
1457.3 |
75.52 |
2 |
1 |
35 |
37 |
- |
1 |
30 |
0.86 |
1.08 |
45 |
| 8 |
Установка оконных и дверных блоков |
67.95 |
- |
2 |
1 |
15 |
5 |
- |
1 |
14 |
0.92 |
0.97 |
5 |
| 10 |
Монтаж систем отопления, воздуховода и сантехнические работы |
351.12 |
- |
2 |
- |
45 |
8 |
19 |
- |
20 |
0.44 |
1.10 |
16 |
| 12 |
Штукатурные и облицовочные работы |
1123.6 |
- |
2 |
- |
98 |
11 |
34 |
- |
20 |
0.20 |
1.08 |
52 |
| 13 |
Плотничные работы 1 цикла |
632.65 |
- |
2 |
- |
67 |
9 |
25 |
- |
20 |
0.30 |
1.09 |
29 |
| 14 |
Малярные работы 1 цикл |
623.42 |
- |
2 |
- |
66 |
9 |
25 |
- |
20 |
0.30 |
1.07 |
29 |
| 18 |
Малярные работы 2 цикл |
273.52 |
- |
2 |
- |
38 |
7 |
17 |
- |
15 |
0.39 |
1.07 |
17 |
| 23 |
Подготовка объекта к сдаче |
67.95 |
- |
2 |
- |
15 |
5 |
8 |
- |
10 |
0.66 |
0.97 |
7 |
| 5394.3 |
503 |
123 |
233 |
249 |
|||||||||
Основные граничные и плановые параметры сводим в таблице 6.3. Наименование напряженных работ и затраты труда рабочих и машинного времени переносим из таблицы 6.2. Наибольшее кол-во машин определяется только для механизированных работ, Связанных с использованием крупных строительных машин (копров, кранов и т.д.) по формуле:
Mi , max = Fi ,откр / fi ,оз
где: Fi ,откр - открытый фронт по данной работе, т.е. такая часть полного фронта, в пределах которой можно выполнять работу в любом месте. Для работы, выполняемой последовательно после предыдущей, Fi ,откр = Fi ,п кроме случаев, когда возможно только поярусное выполнение работ. Для работы выполняемой с совмещением Fi ,откр = fi ,пз , т.е. участку или захватке по предыдущей работе.
fi ,оз – размер опасной зоны.
Единицы измерения Fi ,откр и fi ,оз надо выбирать одинаковыми. Для упрощения расчетов величину fi ,оз следует принимать усредненной для различных строительных машин, в размере 50 пог. м (по длине здания).
Наибольшее число рабочих в день на «механизированных» работах определяют по формуле:

Ai – планируемое число смен работы в день;
Ki – коэффициент роста производительности труда, равен 1.1.
Для «немеханизированных» работ наибольшее число рабочих определяют по формуле:
![]()
Кроме того, при определении наибольшей интенсивности потребления ресурсов необходимо учитывать установленные ране ограничения по ресурсам.
Число машин на «механизированных» работах (М i ,пл ) планируется с учетом установленных ранее граничных условий и находится в интервале:
1<Mi ,пл < Mi , max
При этом оно не должно превышать планового числа одноименных машин на непосредственно предшествующих напряженных работах
Плановое число рабочих в день принимается в пределах:
(rmin * Ai,пл )<Ri,пл <Ri,max
где: r min – наименьшее число рабочих, равное нормативному составу звена.
Число бригад одной специальности следует планировать исходя из объемно-планировочного решения здания.
После выбора Ri ,пл определяют коэффициент интенсивности работы:
Кi , = Ri, пл / Ri,max
Продолжительность любой работы рассчитывают по формуле:
t i ,пл = max [Qi , p / Ri ,пл *Кi ,пл ; Qi ,м /Мi ,пл *Аi ,пл ]
Результат округляют до целых чисел, при необходимости корректируют так, чтобы продолжительность работы на захватке или участке равнялась целому числу дней и после этого устанавливают К i ,пл по формуле:
Кi, пл = Qi , p / Ri ,пл * ti ,пл
Оценка решений производится по критерию интенсивности работ и продолжительности использования ресурсов.

![]()
-суммарная принятая трудоемкость всех напряженных работ
![]()
- непроизводственные затраты времени на переход бригады, выполняющей i‑ю работу с предыдущего объекта на данный
= 1 дн.
После этого строим график напряженных работ. Он приведен на рисунке 6.2
5.4.5 Расчет шага напряженных работ
Таблица 6.4.
| № работ |
Вид связи |
Размеры передаваемого фрронта |
Планируемая продолж. работ |
Продолж. на передаваемом фронте |
Продолж. перерыва |
Производственные ожидания |
Шаг работ |
||||||
| ед. изм. |
fi-j |
Si-j |
ti пл |
tjпл |
ti пф |
tjпф |
ti-j о(т) |
ti-j он |
ti-j ок |
ti-j шн |
ti-j шк |
||
| 4–5 |
Т |
Объект |
1 |
0.5 |
12 |
6 |
6 |
3 |
3 |
3 |
0 |
12 |
6 |
| 5–6 |
Т |
Объект |
1 |
0.50 |
6 |
12 |
3 |
6 |
0 |
0 |
3 |
3 |
9 |
| 7–8 |
ОТ |
Объект |
1 |
0.50 |
45 |
5 |
23 |
3 |
0 |
20 |
0 |
43 |
3 |
| 12–13 |
Т |
Объект |
1 |
0.50 |
52 |
29 |
26 |
15 |
0 |
12 |
0 |
38 |
15 |
| 12–14 |
Т, tт |
Объект |
1 |
0.50 |
52 |
29 |
26 |
15 |
3 |
12 |
0 |
41 |
18 |
| 13–14 |
Т |
Объект |
1 |
0.50 |
29 |
29 |
15 |
15 |
0 |
0 |
0 |
15 |
15 |
Шагом работ называется разница во времени между началами (t i - j ,ш.н. ) и окончаниями (t i - j ,ш.к. ) взаимосвязанных работ (i-j). Расчет шага работ оформляем в виде таблицы.
Просматривая сроки ранее разработанной ОТМ, выбираем из нее напряженные работы и записываем в таблицу 6.4. Исключаем работы связанные последовательными и ресурсными связями т. к. для них расчет шага можно не выполнять.
Относительную величину предаваемого фронта определяем по формуле:
S i,пф = f i,пф / F i,п
Рассчитываем продолжительности работ на передаваемых фронтах tпф .
Если 0< S i,пф <0.5 или S i,пф = 1,0 то
t i,пФ = t i,пл * S i-j,пФ
t j,пФ = t j,пл * S i-j,пФ
Продолжительности производственных ожиданий на первом (t i - j ,он ) и последнем (ti - j ,ок ) частных фронтах графы 11–12 рассчитывают по следующим выражениям:
Если 0< S i,пф <0.5 или S i,пф = 1,0 то
t i-j,он = max [0; (t i,пл – t j,пл )* (1‑S i-j,пФ )] дн
t i-j,ок = max [0; – (t i,пл – t j,пл )* (1‑S i-j,пФ )] дн
Если 0,5< S i,пф <1
t i-j,он = max [0; [t i,пл – (t i,пл – t j,пл )* S i-j,Пф ]] дн
t i-j,ок = max [0; – [t i,пл – (t i,пл – t j,пл )* S i-j,пФ ]] дн
После этого определяем шаг работ с точностью до одного дня: после вычисления шага между началами и концами работ делают проверку.
t i,пл + t i-j,шк = t j,пл + t i-j,шн
Для работ, связанных организационно только по началам, определяют лишь ti ,шн =ti - j ,пф ; связанных организационно по концам ti ,шк = ti - j ,пФ , остальные параметры не рассчитываются.
Если у работ есть несколько непосредственно предшествующих работ, то шаг определяется для каждой пары работ.
Оценка решений данного этапа производится по 2‑м коэффициентам:
1. Показатель уравновешенности напряженных работ.

t i ,пл – продолжительность предшествующих работ на передаваемом фронте.
t j ,пл – продолжительность последующих работ на передаваемом фронте.
t i - j ,он – продолжительность производственных ожиданий по началам работ.
t i - j ,ок -продолжительность производственных ожиданий по концам работ.
![]()
2. Показатель эффективности использования фронта работ.

ncc –число строк в таблице
![]()
3. Показатель совмещений работ.

Тпл – планируемая продолжительность строительства объекта.
ti – продолжительность i – ой работы.

5.4.6 Расчет ранних сроков напряженных работ
5.4.7 Проектирование производства ненапряженных работ
Исходными данными служат: ОТМ, затраты труда и машинного времени по работам, обобщенная сетевая модель, расчет графика напряженных работ, рекомендуемые составы бригад и звеньев.
Прежде чем производить увязку ненапряженных работ с напряженными по срокам их выполнения, необходимо определить граничные и плановые параметры ненапряженных работ.
Расчеты параметров работ и ресурсов занесены в таблицы.
Таблица 5.5.
| № работы |
Наименование ненапряженных работ |
Затраты |
Число смен работы в день |
Наиб. кол-во |
Минимальная продолж. |
Среднее число рабочих |
Плав. кол-во |
Коэф. |
Плановая продолжительность |
|||||
| труда чел.-дн |
маш. вр. |
машин |
рабочих в день |
машин |
рабочих в день |
интенсивность |
производительность труда |
|||||||
| Qр |
Qм |
Aпл |
Mmax |
Rmax |
tmin |
Rср |
Mпл |
Rпл |
Kи |
Kпт |
tпл |
|||
| 9 |
Устройство кровли |
843 |
48 |
2 |
2 |
64 |
2 |
- |
1 |
12 |
0.19 |
0.98 |
9 |
|
| 11 |
Электромонтажные и слаботочные сети 1ц |
16.11 |
- |
2 |
- |
6 |
3 |
4 |
- |
6 |
1.03 |
0.90 |
3 |
|
| 15 |
Плотничные работы 2 цикла |
135.42 |
- |
2 |
- |
24 |
6 |
12 |
- |
10 |
0.42 |
0.97 |
14 |
|
| 16 |
Установка сантех. приборов и технологического оборудования |
184.22 |
- |
2 |
- |
29 |
7 |
14 |
- |
10 |
0.34 |
0.97 |
19 |
|
| 17 |
Электромонтажные и слаботочные сети |
74.42 |
- |
2 |
- |
16 |
5 |
9 |
- |
10 |
0.62 |
0.93 |
8 |
|
| 19 |
Демонтаж кранов |
17.93 |
5.61 |
2 |
1 |
6 |
3 |
4 |
1 |
6 |
0.96 |
1.00 |
3 |
|
| 20 |
Внешние комуникации |
136.26 |
- |
2 |
- |
24 |
6 |
12 |
- |
8 |
0.33 |
0.95 |
18 |
|
| 21 |
Внешниеэлектро и слаботочные сети |
89.21 |
- |
2 |
- |
18 |
5 |
9 |
- |
8 |
0.44 |
0.93 |
12 |
|
| 22 |
Благоустройство территории |
191.54 |
- |
2 |
- |
30 |
7 |
14 |
- |
8 |
0.26 |
1.00 |
24 |
|
| 950.56 |
11.62 |
217.75 |
44 |
77 |
78 |
4.6 |
8.608 |
110 |
||||||
Таблица 5.6
| № работ |
Вид связи |
Размеры передаваемого фрронта |
Планируемая продолж. работ |
Продолж. на передаваемом фронте |
Продолж. перерыва |
Производственные ожидания |
Шаг работ |
||||||
| ед. изм. |
fi-j |
Si-j |
ti пл |
tjпл |
ti пф |
tjпф |
ti-j о(т) |
ti-j он |
ti-j ок |
ti-j шн |
ti-j шк |
||
| 10–11 |
ОТ |
Объект |
1 |
0.5 |
16 |
3 |
8 |
2 |
0 |
7 |
0 |
15 |
2 |
| 14–15 |
ОТ |
Объект |
1 |
0.5 |
29 |
14 |
15 |
7 |
0 |
8 |
0 |
22 |
7 |
| 14–16 |
ОТ |
Объект |
1 |
0.5 |
29 |
19 |
15 |
10 |
0 |
5 |
0 |
20 |
10 |
| 14–17 |
ОТ |
Объект |
1 |
0.5 |
29 |
8 |
15 |
4 |
0 |
11 |
0 |
25 |
4 |
| 15–18 |
Тк |
Объект |
1 |
0.5 |
14 |
17 |
0 |
9 |
0 |
0 |
0 |
0 |
9 |
| 16–18 |
Ок |
Объект |
1 |
0.5 |
19 |
17 |
0 |
9 |
0 |
1 |
0 |
1 |
9 |
| 17–18 |
Ок |
Объект |
1 |
0.5 |
8 |
17 |
0 |
9 |
0 |
0 |
0 |
0 |
9 |
| 20–21 |
Т |
Объект |
1 |
0.5 |
18 |
12 |
9 |
6 |
0 |
3 |
0 |
12 |
6 |
| 21–22 |
ОТ |
Объект |
1 |
0.5 |
12 |
24 |
6 |
12 |
0 |
0 |
6 |
6 |
18 |
5 .4.8 Расчет полного сетевого графика строительства объекта
После построения и проверки сетевой модели в верхние сектора событий записывают их коды, начиная с первого номера. Продолжительность работ и связей записывают над их изображением. При этом продолжительности напряженных работ, принимают с графика напряженных работ, а длительности и шаг остальных работ из таблиц.
Расчет заключается в определении временных характеристик сетевой модели. При этом определяются ранние и поздние сроки начала и окончания работ, продолжительность критического пути свободные и полные резервы времени.
В начале выполняют «прямой ход» расчет ранних сроков начал и окончаний работ графика. При расчете ранних сроков следят за их совпадением с уже записанными сроками соответствующих напряженных работ. В случае отклонений анализируют, какие не напряженные работы их вызвали и корректируют их параметры. Для расчета «обратным ходом» поздних сроков выполнения работ принимают поздний срок свершения завершающего события графика равным планируемой продолжительности строительства по графику напряженных работ.
5.4.9 Построение календарного плана производства работ
Календарный план состоит из левой табличной части и правой – графической (сетевой график в масштабе времени). Наименование и трудоемкость работ принимаются по технологической модели. Продолжительность и сроки напряженных работ из таблиц.
Календарная линейка в графической части плана выполняется в масштабе 5–10 дней в 1 см. В первую очередь на графике строят напряженные работы. В строке с названием данной напряженной работы отмечают моменты времени начала и окончания работы. При наличии ожидания в начале работы, его величину откладывают в масштабе влево от срока начала и ставят точку. Если ожидание имеется в конце работы, его откладывают вправо от срока окончания и также отмечают точкой. Ожидания здесь играют роль свободных резервов времени. Сроки начала и окончания работы соединяют толстой линией, ожидания отмечают тонкой линией. На линиях работ необходимо выделить момент подготовки фронта – захватки или участка – для передачи следующей работе. Для этого определяют относительный размер фронта непосредственно следующей работы и отделяют соответствующую часть предшествующей работы штрихом, подписывается число передаваемых секций, этажей и т.п.
Этот штрих соединяют пунктирной линией с началом работы (или началом ожидания) при отсутствии технологического или организационного перерыва. При наличии перерыва пунктирная линия заменяется волнистой линией соответствующей продолжительности. Отрезок линии, соответствующий продолжительности возведения коробки здания, разделяется на части по числу этажей, блоков и т.п.
Начала ненапряженных работ (или ожидания перед началами работ) привязывают к началу непосредственно-предшествующей (напряженной) работы, с отставанием на величину передаваемого фронта. Конец работы привязывается к окончанию непосредственно-последующей работы с опережением на величину передаваемого фронта (с учетом ожидания)*.
5.4.10 Сводный график потребности в рабочих
Под календарным графиком строят эпюру изменения общего количества рабочих (сводный график потребности в рабочих), занятых на работах, выполняемых в каждый период строительства. По эпюре определяют максимальное суточное число рабочих на объекте. Коэффициент равномерности использования рабочих кадров получают, разделив среднесуточное число на максимальное. Коэффициент не должен быть ниже 0,5.
Крр = Rср /Rmax
Rср – среднесуточный состав рабочих за весь период строительства объекта определяемый по полной принятой (плановой) трудоемкости деленное на его продолжительность (плановую).
Rср =Qпл /То =6049/210 = 28,8 чел.
Rmax – максимальное число рабочих в сутки по КП, Rmax =52 чел.
Крр = Rср /Rmax = 29/52 = 0,53
5.4.11 Порядок построения графиков потребности в основных строительных машинах, строительных материалах и конструкциях
Построив график потребности в строительных материалах и конструкциях, на нем же строят пунктирными линиями графики поступления материалов и конструкций с учетом времени опережения (в днях) поступления от потребности в зависимости от вида материалов, расстояний перевозки и вида транспорта.
При построении графика потребности в строительных машинах (как и при заполнении табличной части календарного плана) необходимо предусмотреть использование вспомогательных строительных машин и механизмов на отдельных работах, по которым в технологической модели не предусмотрены затраты машинного времени (подъемников, штукатурных и малярных станций и т.д.). При этом количество подъемников принимается из расчета по 1 механизму на 2 секции жилого дома или 1 блок общественного здания, число штукатурных станций равно числу бригад штукатуров, малярных станций – 1–2 на объект и т.п. Затраты машинного времени определяются произведением числа машин на число смен и продолжительность их работы.
5.4.12 Технико-экономические показатели календарного плана
С помощью ТЭП оценивают эффективность решения Календарного Плана строительства объекта. Показатели могут рассчитываться как для графика в целом, так и для оценки решений отдельных этапов строительства (показатели (коэффициенты), которые рассчитывались ранее).
Показатели решения Календарного Плана:
ОБЩИЕ ПОКАЗАТЕЛИ:
1. Продолжительность строительства объекта, дн.:
Нормативная Тн = 210 дн
Планируемая Тпл = 248 дн 0,8 Т» < Тн < Тпл
2 – Нормативная трудоёмкость возведения объекта, чел.-дн
Qрн =6528 чел.-дн.
3. Принятая трудоемкость возведения объекта, чел.-дн:
Q р пр =6049 чел.-дн.
4. Удельная трудоемкость возведения объекта, чел.-дн:
Qуд = Q р пр / Vстр = 6049/12199,9 = 0,5
5. Коэффициент производительности труда:
α = Q 0.рн / Q 0.р.пр = ∑Q i .рн / ∑ Q 0.р.пр =6528/6049 = 1,08
6. Коэффициент равномерности использования рабочих кадров
Крр = 0,53
ДИФФЕРЕНЦИАЛЬНЫЕ ПОКАЗАТЕЛИ:
Определяемые на стадии установления структуры работ:
1. Показатель структуры работ (рассчитан ранее) Кс = 0,4
2. Показатель последовательности работ Кn = 0,38
Определяемые на стадии выбора интенсивности потребления ресурсов и определения продолжительности работ:
1. Показатель интенсивности напряженных работ: Кu =0,42
2. Показатель продолжительности использования ресурсов: Кпрод =0,9
Определяемые на стадии выбора маршрутов движения бригад и расчета совмещения работ.
1. Показатель уравновешиваемости совмещаемых работ: Кур = 0,85
2. Показатель эффективности использования фронта работ: Киф = 0,37
3. Показатель совмещений работ. Ксовм =0,15
Коэффициент качества организации работ:
К к.о.р. = ∑Кi / n = (0,39+0,4+0,53+0,42+0,9+0,85+0,37+0,15)/8 =0,45
Кi – коэффициенты;
n – число коэффициентов
5.2 Проектирование объектного стройгенплана
5.2.1 Подготовка исходных данных
Объектный стройгенплан на стадии ППР проектируется самой СМО или по её заказу проектно-технологическими организациями. Для сложных объектов СГП может разрабатываться на различные этапы строительства, а иногда и на отдельные виды работ.
В данном проекте разрабатывается СГП на строительство надземной части. Исходными данными для составления объектного СГП являются:
1. Рабочие чертежи проекта;
2. ТК на отдельные виды работ и КТП;
3. КП производства работ по объекту;
4. Графики потребностей во всех ресурсах;
5. Различные ограничения;
6. Технические характеристики строительных машин и механизмов;
5.2.2 Привязка монтажных кранов и определение зон их влияния
Порядок привязки монтажных кранов:
1. Поперечная привязка крана;
2. Продольная привязка крана, проектирование подкрановых путей;
3. Определение зон влияния кранов;
4. Введение ограничений.
1. Поперечная привязка крана.
Поперечная привязка состоит в определении расстояния от оси подкрановых путей до ближайшей оси здания. Это расстояние зависит от того, с какого времени устанавливается башенный кран: для монтажа подземной части или надземной.
Рисунок 6.2.1. Продольная привязка крана

В данном проекте монтажный кран устанавливаются для монтажа надземной и подземной части, но кран устанавливается при монтаже подземной части. Поперечная привязка в этом случае производится следующим образом:
![]()
![]()
![]()
![]()
2. Продольная привязка заключается в определении крайних стоянок крана.
Для этого последовательно производят засечки на оси передвижения крана в следующем порядке: из крайних углов внешнего габарита здания со стороны, противоположной башенному крану, – раствором циркуля, соответствующим максимальному вылету стрелы крана; из середины внутреннего контура здания – раствором циркуля, соответствующим минимальному вылету стрелы; из центра тяжести наиболее тяжелых элементов – раствором циркуля, соответствующим определенном) вылету стрелы, согласно грузовой характеристике крана. Крайние засечки определяют положение крайних стоянок крана. По найденным крайним точкам определяют длину подкрановых путей:
Рисунок 6.2.2. Продольная привязка крана

Lп.п = Lкр +Нкр +2 Lторм + 2Lтуп =20.9+1,5*2+0,5*2=25
Lп.п – длина подкрановых путей;
Hкр – база крана;
Lкр – расстояние между крайними стоянками крана, определяемое по чертежу;
Lторм – величина тормозного пути крана, принимается 1,5 м;
Lтуп – расстояние от конца рельса до тупиков, равное 0,5 м.
Определяемую длину корректируют в сторону увеличения с учетом кратности длины полузвена равной 6,25 м.
В итоге: Lп.п 31,25 м
3. Определяют следующие зоны влияния крана:
- монтажная зона – пространство, где возможно падение груза при установке и закреплении элементов она равна контуру здания плюс 10 м, так как высота здания превышает 20 м;
– зона обслуживания крана – пространство, находящееся в пределах линии, описываем крюком крана. Определяется радиусом, соответствующим максимальному рабочему вылету стрелы крана;
– зона перемещения габарита груза крана – пространство находящееся в пределах в пределах возможного перемещения груза, подвешенного на крюке крана. Определяется суммой максимального рабочего вылета стрелы и принимаем равной половине длины самого длинного перемещаемого груза;
- опасная зона работы крана – пространство, где возможно падение груза при его перемещении с учетом вероятного рассеивания при его падении.
4. Введение ограничений.
Введение ограничений делают в случае одновременной работы нескольких кранов, либо в случае попадания в опасные зоны крана, других зданий и сооружений. Принудительные ограничения осуществляются установкой автоматических отключателей, производящих автоматическое отключение крана в заданных пределах. Граница запретного сектора выделяется на местности хорошо видимыми сигналами.
При расчете ограничений поворота стрелы надо учитывать ее тормозной путь. Для этого ограничители устанавливают так, чтобы отключение поворота стрелы происходило на 2–3º раньше установленной зоны.
5.2.3 Разработка схемы движения транспорта и конструкции временных дорог
Проектирование временных автодорог производится в следующей последовательности:
1. Выбор схемы движения транспорта (сквозная, тупиковая, кольцевая)
2. Расположения дорог на СГП
3. Выбор параметров дорог (число полос, ширина, размеры площадок и уширений, радиусы поворотов, расчетная видимость и т.д.)
4. Выбор конструкции дорог.
5. Выделение опасных зон дорог.
Для внутри построечных перевозок используется автомобильный транспорт. Расположение дорог должно обеспечить подъезд автотранспорта в зону действия монтажных и погрузочно-разгрузочных механизмов к стреле вертикального транспорта, площадкам укрупнительной сборки, складам, бытовым помещениям.
При устройстве внутрипостроечных дорог максимально используем существующие дороги. Внутрипостроечная дорога имеет уширение для разгрузки длиной 18 м. При трассировке дорог соблюдаем минимальные расстояния.
– м/у дорогой и складской площадкой 0,5–1 м
– м/у дорогой и подкрановыми путями 6,5–12,5 м
м/у дорогой и забором, ограждающим площадку более 1,5 м
Тупик заканчивается разворотной площадкой (минимум 12*12 м)
Параметры дороги:
Ширина проезжей части -3,5 м и 6 м.
В зоне разгрузки устраиваем площадку шириной 6 м и длиной 18 м.
Радиус закругления‑12 м. Проезды в пределах кривых уширяем до 5 м.
Расчетная видимость по направлению движения‑50 м, боковая – 35 м.
Построечную временную дорогу осуществляем из сборных ж/б плит, уложенных на песчаную постель. Толщина слоя песка принимаем 15 см. Применяем ж/б плиты марки 1П30.18.30 длиной 3 м; шириной 1,75 м; высотой 0,17 м массой 2,2 т.
Рисунок 6.2.3. Поперечный профиль временной дороги с покрытием из плит.

Опасные зоны дорог
Устанавливаются в соответствии с нормами техники безопасности. К опасной зоне относят участки дорог, через которые проходит перемещение груза или монтаж.
5.2.4 Проектирование приобъектных складов
Проектирование производится следующим образом и в следующем порядке:
1. Определение производственных запасов материалов, места хранения и способы складирования:
2. Расчет площади складов
3. Размещение складов на стройплощадке.
Расчет площади складов производится в табличной форме на строительство надземной части.
Расчетные формулы:
Требуемая площадь для основных материалов и конструкций
![]()
- расчетный запас материала.
- норма складирования на 1 м2
площади склада с учетом проездов и проходов.

-коэффициент использования площади, учитывает проход между штабелями.
Таблица 5.2.1. Расчет приобъектных складов
| № п/п |
Наименование материалов |
Ед. Изм. |
Потребность в материалах |
Коэффициент неравномерности поставок |
Коэффициент неравномерности потребления |
Норма запаса, дней |
Расчетный запас |
Норма складирования на 1м2 |
Площадь склада, м2 |
Коэффициент использования площади |
Полная расчетная площадь |
|
| общая |
суточная |
|||||||||||
| 1* |
Арматура |
т |
45.559 |
0.6 |
1.1 |
1.3 |
12.0 |
10.0 |
1.1 |
9.1 |
0.8 |
11.4 |
| 2* |
Оконные блоки |
м2 |
1215.12 |
243.0 |
1.1 |
1.3 |
4.0 |
1215.1 |
45.0 |
27.0 |
0.5 |
54.0 |
| 3 |
Сборные бетонные блоки |
м3 |
153.6 |
7.3 |
1.1 |
1.3 |
10.0 |
104.6 |
2.2 |
47.5 |
0.7 |
67.9 |
| 4 |
Плиты перекрытия |
м3 |
1040 |
18.2 |
1.1 |
1.3 |
10.0 |
260.9 |
0.8 |
326.1 |
0.7 |
465.9 |
| 5 |
Прочий сборный ж/б |
м3 |
215.94 |
3.8 |
1.1 |
1.3 |
10.0 |
54.2 |
0.7 |
77.4 |
0.7 |
110.6 |
| 6 |
кирпич |
тыс. шт. |
897.44 |
15.7 |
1.1 |
1.3 |
10.0 |
225.1 |
0.7 |
321.6 |
0.8 |
402.0 |
| 7* |
Утеплитель |
м2 |
156.85 |
2.8 |
1.1 |
1.3 |
2.0 |
7.9 |
4.0 |
2.0 |
0.8 |
2.5 |
| 8 |
Трубы стальные |
пм |
1903.2 |
100.2 |
1.1 |
1.3 |
12.0 |
1718.9 |
30.0 |
57.3 |
0.8 |
71.6 |
| 868.1 |
1185.9 |
|||||||||||
5.2.5 Проектирование временных помещений
Временные помещения проектируются в следующем порядке:
1. Определение номенклатуры временных зданий.
2. Определение числа рабочих в наиболее многочисленную смену.
3. Расчет требуемой площади.
4. Выбор типа временных зданий.
5. Расположение зданий на СГП
Временные помещения подбираются по [15]. В качестве временных помещений используются инвентарные здания передвижного контейнерного типа.
Расчет временных помещений произведен в таблице 5.2.3. Расчету предшествует расчет количества работающих в наиболее многочисленную смену. Расчет производится в таблице 5.2.2.
Таблица 5.2.2. Расчет количества рабочих
| Категория работающих |
Процентный состав, % |
Количество человек |
В том числе в 1ю смену |
|
| в% |
Количество человек |
|||
| 1. Рабочие |
85 |
52 |
60 |
31 |
| 2. ИТР и служащие |
12 |
7 |
80 |
6 |
| 3. МОП и ПСО |
3 |
2 |
50 |
1 |
| ИТОГО |
100 |
38 |
||
Таблица 5.2.3. Расчет временных помещений
| Наименование помещений |
Количество рабочих |
Наименование показателей |
Еденицы измерения |
Величины показателей |
Расчетная площадь или количество |
Примечание |
| 1. Прорабская |
6 |
S на человека |
м2 |
4 |
23 |
|
| 2. Гардеробная |
52 |
S на человека |
м2 |
0.7 |
36 |
|
| 3. Умывальная |
38 |
Кол-во человек |
чел |
7 |
5 |
0.2 м2 /чел |
| 38 |
S на кран |
м2 |
1.5 |
8 |
> 8м2 |
|
| 4. Помещение для обогрева |
38 |
S на человека |
м2 |
0.1 |
4 |
> 8м2 |
| 5. Помещение для сушки одежды и обуви |
38 |
S на человека |
м2 |
0.2 |
8 |
> 12м2 |
| 6. Уборные |
38 |
Кол-во человек |
чел |
15 |
3 |
|
| 38 |
S на чашу |
м2 |
3 |
8 |
1 м2 /10 |
|
| 7. Кладовая |
- |
S кладовой |
м2 |
60 |
60 |
5.2.6 Компоновка стройгенплана
Выполняется в графической части. На стройгенплане указываются:
1. Крайние оси здания.
2. Привязка к продольной и поперечной оси крана.
3. Контрольный груз.
4. Длина подкрановых путей.
5. Опасная зона дорог, ширина дорог.
6. Радиус поворота, направление движение автотранспорта.
7. Въезд и выезд с указанием улиц.
8. Ограждения, ворота, ограждение подкрановых путей.
9. Входы в здание.
10. Площадки складирования материалов и элементов конструкций.
11. Размещение бытовых помещений.
12. Временные и постоянные сети.
13. Пожарные гидранты.
14. Пожарный щит.
5.2.7 Проектирование временного водоснабжения, электроснабжения и канализации
1. Временное водоснабжение.
Временное водоснабжение проектируется в следующем порядке:
1. Выявление потребителей и расчет количества воды;
2. Определение наибольшего расхода по эпюре водопотребления или по формуле;
3. Определение диаметра ввода временного водопровода;
4. Выбор источника водоснабжения;
5. Проектирование схемы водоснабжения.
Во время строительства вода используется на различные нужды.
1. Производственные нужды в т.ч. технологические нужды и на обслуживание машин;
2. Хозяйственно-бытовые нужды в т.ч. хозяйственно-питьевые и на прием душа:
3. Противопожарные нужды.
Расчет количества воды производится в таблице 6.2.4.
Источником временного водопровода является сеть существующего городского водопровода. Проектирование сетей временного водопровода приведено на стройгенплане.
Показаны места подключения трассы временного водопровода к потребителям, временные и постоянные сети.
Таблица 5.2.4. Расчет количества воды
| Потребители воды |
Единица измерения |
Количество |
Удельный расход воды, л |
Коэф. неравномерности потребления |
Продолжительность работы, смены |
Число часов в смену |
Расход воды л/с |
| Производственные нужды: |
|||||||
| а) технологические нужды: |
|||||||
| Штукатурные работы |
1000Vстр |
13 |
3700 |
1.5 |
28 |
8 |
0.09 |
| Малярные работы |
1000Vстр |
13 |
1000 |
1.5 |
46 |
8 |
0.01 |
| Посадка деревьев |
шт. |
25 |
50 |
1.5 |
5 |
8 |
0.01 |
| Поливка газонов |
м² |
200 |
10 |
1.5 |
1 |
8 |
0.10 |
| б) обслуживание машин: |
|||||||
| Экскаватор |
шт. |
1 |
100 |
1.6 |
- |
8 |
0.01 |
| Трактор |
шт. |
1 |
150 |
1.6 |
- |
8 |
0.01 |
| итого |
0.23 |
||||||
| Хозяйственно-бытовые: |
|||||||
| Хозяйственно-питьевые |
чел. |
52 |
15 |
3 |
- |
8 |
0.08 |
| итого |
0.31 |
||||||
| Противопожарные |
|||||||
| Противопожарные |
- |
- |
- |
- |
- |
- |
10 |
| ИТОГО: Qв = 0,5 (Q1+Q2)+Q3 = 0.5 (0.23+0.08) +10 =10,16 л/с. |
|||||||
Расчет водопотребления
Диаметр ввода определяется по формуле:

Источник водоснабжения – существующий водопровод.
2. Временное электроснабжение.
Временное электроснабжение проектируется в следующем порядке.
1. Установление потребителей и расчет электронагрузок.
2. Определение наибольшей нагрузки по эпюре или таблице.
3. Выбор метода электроснабжения (количества и мощности временных ТП).
4. Проектирование схемы электроснабжения (размещение временных ТП, силовых сетей и сетей освещения, расчет числа прожекторов).
Расчет производится в табличной форме (табл 6.2.5).
Расчет электрической нагрузки:
1. Для силовых потребителей:

2. Для внутреннего освещения:

3. Для наружного освещения:

Количество прожекторов:
![]()
4. Суммарная потребная мощность:
![]()
Принимаем трансформаторную подстанцию КТП СКБ – 320, мощностью 320 кВА.
Подключение производим к существующей трансформаторной подстанции.
Таблица 5.2.5. Расчет электроснабжения
| Наименование потребителей |
Единица измерения |
Количество |
Удельная мощность на еденицу, кВт |
Коэффициент спроса Кс |
Коэффициент мощности, cosa |
Трансформаторная мощность, кВА |
| 1. Силовая электроэнергия |
||||||
| Башенный кран |
шт. |
2 |
89 |
0.5 |
0.7 |
127.14 |
| Подъемник мачтовый |
шт. |
2 |
12 |
0.3 |
0.7 |
10.29 |
| Электросварочный аппарат |
шт. |
2 |
20 |
0.5 |
0.4 |
50.00 |
| Краскопульт |
шт. |
3 |
0.5 |
0.1 |
0.1 |
1.50 |
| Малярная станция |
шт. |
1 |
10 |
0.5 |
0.6 |
8.33 |
| 2. Внутреннее освещение |
||||||
| Бытовые помещения, прорабская |
м² |
59 |
0.015 |
0.8 |
1 |
0.71 |
| Уборные |
м² |
8 |
0.003 |
0.8 |
1 |
0.02 |
| Навесы |
м² |
100 |
0.003 |
0.35 |
1 |
0.11 |
| Кладовая |
м² |
60 |
0.018 |
0.35 |
1 |
0.38 |
| 3. Наружное освещение |
||||||
| Территория строительства |
100 м² |
102 |
0.015 |
1 |
1 |
1.53 |
| Открытые склады и площадки |
100 м² |
14.5 |
0.05 |
1 |
1 |
0.73 |
| Внутренние дороги |
км |
0.2 |
2.5 |
1 |
1 |
0.50 |
| Площадки земляных работ |
100 м² |
10.18 |
0.08 |
1 |
1 |
0.81 |
3. Проектирование канализации
Сброс канализационных стоков будет производиться в cуществующую городскую канализацию.
5.2.8 Технико–экономические показатели стройгенплана
1. Площадь строительной площадки в ГА и м²
F = 0,439ГА=4392,8 м²
2. Площадь застройки
Fзастр = 1143,2 м²
3. Площадь временных зданий и сооружений
Fврем = 114,39 м²
4. Коэффициент использования площади
К = Fпост + Fврем / Fстр.площ. = 1143,2+2074/4392,8=0,73
6. Экономическая часть
6.1 Определение стоимости строительства
Экономическая часть дипломного проекта включает в себя:
1. Сводный сметный расчет.
2. Объектная смета на строительство жилого 4‑х этажного общежития.
3. Сводка затрат по смете на общестроительные работы.
4. Технико-экономические показатели.
5. Расчет экономического эффекта от сокращения сроков строительства.
Объектная смета составлена на основе локальных смет на отдельные виды работ и затрат.
Сводный сметный расчет к дипломному проекту на строительство 4‑х этажного гарнизонного общежития составлены в ценах и нормах введенных в действие с 01.01.84 г. в соответствии со СНиП 1.02.01 –85 «Инструкция о составе, порядке разработки, согласования и утверждения проектно-сметной документации на строительство предприятий, зданий и сооружений».
Для определения сметной стоимости использованы:
– Сборник сметных цен на местные строительные материалы
– Каталог еденичных расценок на строительные конструкции и работы
– Сборник еденичных районных расценок на строительные конструкции и работы (ЕРЕР‑84)
– Сборник ведомственных районных расценок на ремонтно-строительные работы (ЕРЕР‑84)
При составлении сметной документации приняты следующие условия:
- Территориальный район – 2
- Коэффициент к зарплате – 1,2
- Накладные расходы на общестроительные работы – 20%
6.2 Сводный сметный расчет
Таблица 7.1.
| № |
Наименование глав, объектов, работ и затрат |
Сметная стоимость, тыс. руб. |
Всего |
|||
| Строительных работ |
Монтажных работ |
Оборудования, мебели, инвентаря |
Прочих затрат |
|||
| 1 |
2 |
3 |
4 |
5 |
6 |
7 |
| Глава 1. Подготовка территории строительства |
||||||
| 1 |
Отвод участка |
- |
- |
- |
2.08 |
2.08 |
| 2 |
Подготовка трритории строительства |
- |
- |
- |
13.85 |
13.85 |
| 3 |
Итого по главе 1 |
- |
- |
- |
15.93 |
15.93 |
| Глава 2. Основные объекты строительства |
||||||
| 5 |
Объектная смета |
689.33 |
- |
- |
3.29 |
692.62 |
| 6 |
Итого по главе 2 |
689.33 |
- |
- |
3.29 |
692.62 |
| Глава 3. Объекты подсобного и обслуживающего назначения |
||||||
| 8 |
Итого по главе 3 |
- |
- |
- |
- |
- |
| Глава 4. Объекты энергетического хозяйства |
||||||
| 9 |
Наружные электросети |
7.26 |
3.91 |
- |
- |
11.17 |
| 10 |
Итого по главе 4 |
7.26 |
3.91 |
- |
- |
11.17 |
| Глава 5. Объекты транспортного хозяйства и связи. |
||||||
| 11 |
Внутренние проезды для автотранспорта |
44.36 |
- |
- |
- |
44.36 |
| 12 |
Наружные сети радиофикации и телефонизации |
14.28 |
0.73 |
0.08 |
- |
15.09 |
| 13 |
Итого по главе 5 |
58.64 |
0.73 |
0.08 |
- |
59.45 |
| Глава 6. Наружные сети и сооружения водоснабжения, канализации, тепло- и газоснабжения |
||||||
| 14 |
Сети водопровода |
2.83 |
- |
- |
- |
2.83 |
| 15 |
Сети канализации |
3.08 |
- |
- |
- |
3.08 |
| 16 |
Тепловые сети |
3.94 |
- |
- |
- |
3.94 |
| 17 |
Итого по главе 6 |
9.85 |
- |
- |
- |
9.85 |
| Глава 7. Благоустройство и озеленение территории |
||||||
| 18 |
Вертикальная планировка |
2.02 |
- |
- |
- |
2.02 |
| 19 |
Благоустройство участка |
19.06 |
- |
- |
- |
19.06 |
| 20 |
Озеленение |
4.52 |
- |
- |
- |
4.52 |
| 21 |
Итого по главе 7 |
25.6 |
- |
- |
- |
25.60 |
| 22 |
Итого по главам 1–7 |
790.68 |
4.64 |
0.08 |
19.22 |
814.62 |
| Глава 8. Временные здания и сооружения |
||||||
| 23 |
Временные здания и сооружения |
30.05 |
0.18 |
- |
- |
30.22 |
| 24 |
Итого по главе 8 |
30.05 |
0.18 |
- |
- |
30.22 |
| 25 |
Итого по главам 1–8 |
820.73 |
4.82 |
0.08 |
19.22 |
844.84 |
| Глава 9. Прочие работы и затраты |
||||||
| 26 |
Производство работ в зимнее время – 5,64% |
46.29 |
0.27 |
- |
- |
46.56 |
| 27 |
Затраты по снегоборьбе в районах Крайнего севера в размере 0,3% |
- |
- |
- |
2.53 |
2.53 |
| 28 |
Затраты связанные с аккордной оплатой труда – 1,4% |
- |
- |
- |
2.53 |
2.53 |
| 29 |
Средства на возмещение затрат за непрерывный стаж работников – 2% |
- |
- |
- |
16.90 |
16.90 |
| 30 |
Средства на единовременное вознагрождение за выслугу лет – 0,11% |
- |
- |
- |
0.93 |
0.93 |
| 31 |
Средства на дополнительные отпуска – 0,3% |
- |
- |
- |
2.53 |
2.53 |
| 32 |
Северное регулирование – 10,7% |
- |
- |
- |
90.40 |
90.40 |
| 33 |
Средства на премирование за ввод в действие в срок объекта – 2,21% |
18.14 |
0.11 |
- |
- |
18.24 |
| 34 |
Итого по главе 9 |
64.43 |
0.38 |
- |
115.83 |
180.63 |
| 35 |
Итого по главам 1–9 |
885.15 |
5.19 |
0.08 |
135.05 |
1025.48 |
| Глава 10. Содержание дирекции (технического надзора) строящегося предприятия (учреждения) и авторский надзор |
||||||
| 36 |
Затраты на осуществление авторского надзора – 0,2% |
- |
- |
- |
2.05 |
2.05 |
| 37 |
Итого по главе 10 |
- |
- |
- |
2.05 |
2.05 |
| Глава 11. Подготовка и эксплуатация кадров |
||||||
| 38 |
Итого по главе 11 |
- |
- |
- |
- |
- |
| Глава 12. Проектные и изыскательские работы |
||||||
| 39 |
Изыскательские работы |
- |
- |
- |
69.26 |
69.26 |
| 40 |
Разработка рабочего проекта при одностадийном проектировании |
- |
- |
- |
20.78 |
20.78 |
| 41 |
Итого по главе 12 |
- |
- |
- |
90.04 |
90.04 |
| 42 |
Итого по главам 1–12 |
885.15 |
5.19 |
0.08 |
227.14 |
1117.57 |
| 43 |
Резерв средств на непредвиденные расходы и затраты – 3% |
26.55 |
0.16 |
- |
6.81 |
33.52 |
| 44 |
Итого по смете |
911.71 |
5.35 |
0.08 |
233.95 |
1151.09 |
| 45 |
Всего возвратных сумм |
4.51 |
0.03 |
- |
- |
4.53 |
6.3 Объектная смета на строительство 4‑х этажного общежития
Таблица 7.2.
| № |
Наименование работ и затрат |
Сметная стоимость, тыс. руб. |
Сметная заработная плата, тыс. руб. |
Показатели еденичной стоимости, руб./м3 |
||||
| Строительных работ |
Монтажных работ |
Оборудования, мебели, инвентаря |
Прочих затрат |
Всего |
||||
| 1 |
2 |
3 |
4 |
5 |
6 |
7 |
8 |
9 |
| 1 |
Общестроительные работы |
689.33 |
- |
- |
3.29 |
692.62 |
90.04 |
56.77 |
| 2 |
Отопление |
13.35 |
0.08 |
0.10 |
- |
13.53 |
1.76 |
1.11 |
| 3 |
Водопровод |
7.59 |
- |
- |
- |
7.59 |
0.99 |
0.62 |
| 4 |
Канализация |
17.70 |
- |
- |
- |
17.70 |
2.30 |
1.45 |
| 5 |
Горячее водоснабжение |
4.26 |
- |
- |
- |
4.26 |
0.55 |
0.35 |
| 6 |
Электротехнические работы |
33.38 |
15.11 |
85.00 |
- |
133.49 |
17.35 |
10.94 |
| 7 |
Телефонизация и радиофикация |
2.35 |
2.91 |
4.26 |
- |
9.52 |
1.24 |
0.78 |
| 8 |
Итого |
767.95 |
18.10 |
89.36 |
3.29 |
878.70 |
114.23 |
72.02 |
6.4 Сводка затрат по смете на общестроительные работы
Таблица 7.3
| № |
Наименование работ и затрат |
Всего, руб |
Сметная заработная плата, руб. |
| 1 |
Земляные работы |
32920 |
4280 |
| 2 |
Фундаменты |
133462 |
17350 |
| 3 |
Перекрытие над техподпольем |
21696 |
2820 |
| 4 |
Полы подвала |
316 |
41 |
| 5 |
Стены |
199232 |
25900 |
| 7 |
Перегородки |
26646 |
3464 |
| 8 |
Встроенная мебель |
38836 |
5049 |
| 9 |
Перекрытия – покрытия |
30366 |
3948 |
| 10 |
Кровля |
18836 |
2449 |
| 11 |
Полы |
70572 |
9174 |
| 12 |
Лестницы |
9158 |
1191 |
| 13 |
Окна |
26516 |
3447 |
| 14 |
Двери |
24454 |
3179 |
| 15 |
Внутренние отделочные работы |
40044 |
5206 |
| 16 |
Наружные отделочные работы |
1712 |
223 |
| 17 |
Крыльцо главного входа |
14572 |
1894 |
| Итого |
689338 |
89614 |
6.5 Технико-экономические показатели
1. Объемно-планировочные показатели:
- площадь застройки, м2 1017,7 м2
- строительный объем здания, м3 12199,9 м3
- общая площадь, м2 2391,8 м2
- жилая площадь, м2 1552,52 м2
- отношение жилой площади к общей, К1 = 0,65
- отношение строительного объема здания к общей площади, К2 =5,1
2. Показатели сметной стоимости:
- стоимость общестроительных работ, 692,62 тыс. руб.
- сметная стоимость: 1151,09 тыс. руб.
а) на 1 м3 строящегося здания, 94,35 руб.
б) на 1 м2 общей площади, 481,27 руб.
в) на 1 м2 жилой площади, 741,43 руб.
3. Показатели текущих затрат на эксплуатацию систем инженерного оборудования, 1,38 руб.
4. Показатели потребности в основных материалах на 1 м2 общей площади:
- сборные железобетонные конструкции, 0,28 м3
- столярные изделия, 0,29 м2
- кирпич, 0,29 тыс. шт.
- минераловатные плиты утеплителя, 0,25 м3
- строительный раствор, 0,23м3
- стекло, 0,33м2
5. Продолжительность строительства, мес.:
- по проекту 10,4 мес.
- по нормам 11,3 мес.
6.6 Расчет годовых эксплуатационных расходов
Технико-экономические показатели проекта используемые для расчета эксплутационных расходов.
- Сметная стоимость общестроительных работ, 1151,09 тыс. руб.
- Строительный объем, 12199,9 м3
- Общая площадь, 2391,8 м2
- Площадь пола, 1552,52 м2
- Площадь кровли, 918 м2
1. Амортизационные отчисления
За = 1151,09*(0,8+1,1)/100 = 21,87 тыс. руб.
где 0,8 и 1,1 – нормы амортизационных отчислений для данного типа зданий
2. Затраты на текущий ремонт
Зр = 1151,09 *0,85/100 = 9,78 тыс. руб.
где 0,85 нормативные затраты на текущий ремонт.
3. Эксплуатация внутренних сантехнических систем.
Отопление и вентиляция.
Зо.в. = 13,53 * 2,6 / 10 = 3,52 тыс. руб.
Где 2,6 укрупненный показатель годовых расходов на отопление и вентиляцию зданий для районов с расчетной температурой наружного воздуха –310 С, руб. на 10 м3 строительного объема.
Непроизводственное водоснабжение и канализация.
Зв.к. = 25,29 * 3,3*1,15/10 = 9,59 тыс. руб.
где 3,3 укрупненный показатель годовых расходов на непроизводственное водоснабжение и канализацию, руб. на 10 м3 строительного объема.
1,15 – коэффициент, учитывающий непрерывную работу.
4. Электроосвещение.
Зэ = 10,94*12,62*1,8 / 10 = 24,85 тыс. руб.
где 12,65 – укрупненный показатель годовых расходов на электроосвещение лампами накаливания, руб. на 10м2 общей площади;
1,8 – коэффициент, учитывающий работу в 2 смены.
6.7 Общие годовые эксплуатационные расходы по зданию составляют
Таблица 6.4
| № |
Наименование затрат |
Тыс. руб. |
| 1. |
Амортизационные отчисления |
21,87 |
| 2. |
Текущий ремонт |
9,78 |
| 3. |
Эксплуатация сантехнических систем |
8,35 |
| 4. |
Электроосвещение |
24,85 |
| Всего |
64,85 |
|
| В процентной стоимости от строительных работ по всему зданию: |
5,63% |
|
Литература
1. СНиП 2.01.07–85* Строительные нормы и правила. Гл. 2. «Нагрузки и воздействия». – М.: ЦИТП Госстроя СССР 1986 г.
2. СНиП II‑3–79 Строительные нормы и правила. Гл. 2. «Строительная теплотехника». – М.: ЦИТП Госстроя СССР 1986 г. (с изменениями от 2.08.95 г.).
3. Худяков А.Д. «Расчет теплопередачи ограждающих конструкций»: методические указания для курсового и дипломного проектирования: РИО АЛТИ, 1998 г.
4. СНиП 2.03.01–84 Строительные нормы и правила. Гл. 2. «Бетонные и железобетонные конструкции». – М.: ЦИТП Госстроя СССР 1985 г.
5. СНиП II‑22–81 Строительные нормы и правила. Гл. 2. «Каменные и армокаменные конструкции». – М.: ЦИТП Госстроя СССР 1983 г.
6. Вахненко П.Ф. «Каменные и армокаменные конструкции» – К.: Будивэльнык, 1990. –184 с.
7. СНиП 2.02.01–83 Строительные нормы и правила. Гл. 2. «Основания зданий и сооружений». – М.: ЦИТП Госстроя СССР 1985 г.
8. Толмачев В.В., Троицкий Г.М., Хоменко В.П. «Инженерно-строительное освоение закарстованных территорий» – М.: Стройиздат, 1986. – 176 с.
9. Толмачев В.В., Ройтер Ф. «Инженерное карстоведение» – М.: Недра, 1990. – 151 с.
10. СНиП 3.04.01–87 Строительные нормы и правила. Гл. 2. «Изоляционные и отделочные покрытие». – М.: ЦИТП Госстроя СССР 1988 г.
11. Невзоров А.Л., Рюмина Е.Б. «Проектирование фундаментов» Методические указания для курсового проектирования: РИО АЛТИ, 1999 г. – 56 с.
12. СНиП 1.04.03–85 Строительные нормы и правила. Гл. 1. «Нормы продолжительности задела в строительстве предприятий, зданий и сооружений». – М.: ЦИТП Госстроя СССР 1987 г. – 550 с.
13. СНиП 3.05.06–85 Строительные нормы и правила. Гл. 3. «Электротехнические устройства». – М.: ЦИТП Госстроя СССР 1986 г.
14. Шепелев А.Л. «Нормативно-справочные материалы для проектирования возведения жилых и общественных зданий» – Архангельск: РИО АЛТИ 1984 г.
15. Дикман Л.Г. Организация и планирование строительного производства М.: Издательство АСБ, 2002. –512 стр.
16. Панибратов Ю.П., Барановская Н.И., Костюк М.Д. Экономические расчеты в курсовых и дипломных проектах: Учебное пособие для спецю ВУЗов – М.: Высшая школа –1984. –175 с.
17. ЕНиР. Сборник Е1. Внутрипостроечные транспортные работы. Госстрой СССР. – М.: Прейскурантиздат – 1987. – 123 с.
18. ЕНиР. Сборник Е3. Каменные работы. Госстрой СССР. – М.: Прейскурантиздат – 1987. – 53 с.
19. ЕНиР. Сборник Е4, выпуск 1. Монтаж сборных и устройство монолитных железобетонных конструкций. Госстрой СССР. – М.: Прейскурантиздат – 1987. – 64 с.
20. ЕНиР. Сборник Е7. Кровельные работы. Госстрой СССР. – М.: Прейскурантиздат – 1987. – 123 с.
21. СНиП 12–03–2001 Строительные нормы и правила. Безопасность труда в строительстве. Часть 1 Общие требования. – М.: ЦИТП Госстроя России 2001 г.
22. СНиП 12–04–2002 Строительные нормы и правила. Безопасность труда в строительстве. – М.: ЦИТП Госстроя России 2002 г.
23. Добронравов В.Н. «Строительные машины и механизмы» – М.: Недра, 1990. – 151 с.