| Скачать .docx |
Реферат: Металлические конструкции балочной площадки
Металлические конструкции балочной площадки
Содержание
Задание на выполнение курсового проекта
Компоновка балочной клетки
Расчёт настила
Расчёт балки настила
Расчёт главной балки
Расчёт колонны
Расчёт и конструирование узлов
Расчет связей
Список литературы
Задание на выполнение курсового проекта
Назначение помещения: покрытие перронов вокзала
Номер схемы: 1А
Высота здания: 5.5 м
Толщина защитного слоя: 170 мм
Пролёт: 10м
Шаг: 3 м
Плотность слоя: 1300 кг/м3

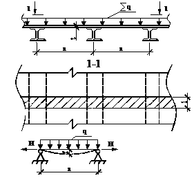
2. Компоновка балочной клетки
Исходные данные: пролет главной балки L = 10 м; шаг колонн B = 3 м;
высота верха настила H = 5,5 м


Согласно рекомендаций при B<4 м, принимаем балочную клетку нормального типа.
Настил;
Балка настила;
Главная балка;
Колонна.
3. Расчёт настила
3.1. Выбор марки стали
Настил относятся к III группе конструкций. Назначаем марку стали С 235 - т 50 [1];
Ryn= 235 МПа; Run= 360 МПа; Ry= 230 МПа; Ru= 350 МПа – т 51 [1]
gm=1,025 т 2 [1]
Rs=0.58 Ryn/gm=0.58*235/1.025=195,22 МПа
3.2. Сбор нагрузок на настил
Прикладывается распределённой по площади.
| Наименование нагрузки |
Нормативные нагрузки |
Коэффициент надежности по нагрузке |
Расчетные нагрузки
|
| Собственный вес настила
|
0,471 |
1,05 |
0,495 |
| Вес защитного слоя |
2,21 |
1,2 |
2,65 |
| Полезная нагрузка |
4 |
1,2 |
4,8 |
![]()
![]()
3.3. Определение параметров настила
Прочность настила обеспечена, необходимо обеспечить жесткость
, где
где 1/n0=[f/a] = п0=150 - отношение прогиба настила к его пролету, принимается по табл. 19/2/,
E1=E/(1-ν2)=
– цилиндрический модуль упругости:
E
=
– модуль упругости стали, принимается по табл. 63/1/,
ν - коэффициент Пуассона; ν=0.3 .

![]()
Назначаем а=1,25 м; кратно L=10м
3.4. Проверка прочности настила
Рассчитаем усилие, действующее на единицу длины сварного шва:
![]()
gc=0,9 табл.6/1/;
![]()
где
;
А=1*0,006=0,006м2
Rygc=230*0,9=207 мПа
![]()
Условие выполняется, прочность обеспечена.
3.5. Расчёт крепления настила к балке настила
Сварка ручная, тип электрода Э42 (ГОСТ 9467-75)
kf≥[kf]
[kf]min=5мм – табл.38/1/
lw=1 м – расчет ведется на ед. длины сварного шва.
Rw ¦=180 мПа – табл. 56/1/;
gw ¦=1 – п. 11.2/1/; b ¦=0,7 – табл. 34/1/;
Rwz=0,45Run=0,45*360=162 мПа – табл. 3/1/;
gс=1 – табл. 6/1/; gwz=1 –п. 11.2/1/; bz=1 – табл. 34/1/;
Разрушение по металлу шва
![]()
Разрушение по границе сплавления:
![]()
Необходимый катет сварного шва определяем по металлу шва:
;
Согласно табл. 38/1/, принимаем k ¦=5 мм.
Окончательно принимаем: а = 1,25 м; tН = 6 мм; k ¦=5 мм.
4. Расчёт балки настила
На балку настила опирается настил. Балка настила представляет собой изгибаемую конструкцию. Опорами балки являются нижележащие конструкции (второстепенные балки, главные балки, несущие стены и т.п.).
4.1. Выбор марки стали
Балка настила относится ко II группе конструкций. Назначаем марку стали C245 табл.50/1/
Ryn= 245 МПа; Run= 370 МПа; Ry= 240 МПа; Ru= 360 МПа – т 51 [1]
gm=1,025 т 2 [1]
Rs=0.58 Ryn/gm=0.58*245/1.025=155,61 МПа
4.2. Выбор расчётной схемы

4.3. Сбор нагрузок
Балка загружена равномерно распределённой нагрузкой по длине
![]()
![]()
γf=1,1ч1,2 – коэффициент надёжности по нагрузке
ρ – собственный вес балки (2ч4% от нагрузки)
4.4. Статический расчёт
Расчётные усилия в балке Мьах и Qмах определяем по правилу строительной механики.
![]()
![]()
21,63 + 21,63 – 10,3*4,2 = 0
Участок 1: 0 ≤ х2 ≤ 0,6 м
при х1 = 0, Q1 = 0; при х1 = 0,6 м, Q1 = 6,18 кН
при х1 = 0, М1 = 0; при х1 = 0,6 м, М1 = -1,85 кНм
Участок 2: 0 ≤ х1 ≤ 3 м
при х2 = 0, Q2 = 15,45 кН; при х2 = 3 м, Q2 = -15,45 кН
при х2 = 0, М2 = -1,85; при х2 = 3 м, М2 = -1,85 кНм
Найдём критическое значение момента на 2-ом участке:
![]()
![]()
![]()

4.5. Предварительный подбор сечения
Балка настила загружена статической нагрузкой, имеет сплошное сечение, следовательно, ее расчет можно выполнять с учетом развития пластических деформаций, тогда требуется момент сопротивления.
где
(табл. 6 п7 /1/)
Принимаем номер проката по сортаменту №12
![]()

4.6. Поверка балки по первой группе предельных состояний
4.6.1. Прочность по нормальным напряжениям
![]()
![]()
4.6.2. Прочность по касательным напряжениям
![]()
![]()
4.6.3. Проверка на совместное действие нормальных и касательных напряжений
![]()
; ![]()
; ![]()
![]()
<![]()
4.6.4. Проверка на устойчивость
Согласно пункту 5.16а [1] проверка на общую устойчивость может не выполняться, так как нагрузка передаётся через сплошной жесткий металлический настил, непрерывно опирающийся на сжатый пояс балки и надежно с ним связанный при помощи сварного шва.
4.7. Проверка балки по второй группе предельных состояний
4.7.1. Проверка на жесткость, или проверка предельного прогиба
Прочность обеспечена, если выполняется условие
, где
т. 40 /1/
Фактический прогиб определяем по правилам строительной механики от действия нормативной нагрузки
![]()
![]()
= ![]()
![]()
![]()
Прочность обеспечена, окончательно принимаем балку двутаврового сечения №12,
ГОСТ 8239-72
5. Расчёт главной балки
5.1. Выбор марки стали
Главная балка относится ко II группе конструкций. Назначаем марку стали C245 табл.50/1/
Ryn= 245 МПа; Run= 370 МПа; Ry= 240 МПа; Ru= 360 МПа – т 51 [1]
gm=1,025 т 2 [1]
Rs=0.58 Ryn/gm=0.58*245/1.025=155,61 МПа
5.2. Выбор расчётной схемы

5.3. Сбор нагрузок
Балка загружена равномерно распределённой нагрузкой по длине
; ![]()
![]()
γf=1,1ч1,2 – коэффициент надёжности по нагрузке
ρ – собственный вес балки (2ч4% от нагрузки)
5.4. Статический расчёт
Расчётные усилия в балке Мьах и Qмах определяем по правилу строительной механики.
Расчётные усилия в балке Мьах и Qмах определяем по правилу строительной механики.
![]()
![]()
202,4 – 202,4 = 0
Участок 1: 0 ≤ х1 ≤ 10 м
при х1 = 0, Q1 = 101,2кН; при х1 = 10 м, Q1 = -101,2 кН
при х1 = 0, М1 = 0; при х1 = 10 м, М1 = 0 кНм
Найдём критическое значение момента на 1-ом участке:
![]()
![]()
![]()

5.5. Предварительный подбор сечения
Балка настила загружена статической нагрузкой, имеет сплошное сечение, следовательно, ее расчет можно выполнять с учетом развития пластических деформаций, тогда требуется момент сопротивления.
где
(табл. 6 п7 /1/)
Принимаем номер проката по сортаменту № 45
![]()

5.6. Поверка балки по первой группе предельных состояний
5.6.1. Прочность по нормальным напряжениям
![]()
![]()
5.6.2. Прочность по касательным напряжениям
![]()
![]()
5.6.3. Проверка на совместное действие нормальных и касательных напряжений
![]()
; ![]()
; ![]()
![]()
<![]()
5.6.4. Проверка на устойчивость
Согласно пункту 5.16а [1] проверка на общую устойчивость может не выполняться, так как нагрузка передаётся через сплошной жесткий металлический настил, непрерывно опирающийся на сжатый пояс балки и надежно с ним связанный при помощи сварного шва.
5.7. Проверка балки по второй группе предельных состояний
5.7.1. Проверка на жесткость, или проверка предельного прогиба
Прочность обеспечена, если выполняется условие
, где
т. 40 /1/
RВ = 101,2 кН; RА = 101,2 кН
![]()
![]()
![]()
= ![]()
![]()
![]()
Прочность обеспечена, окончательно принимаем балку двутаврового сечения № 45,
ГОСТ 8239-72
6. Расчёт колонны
6.1. Выбор марки стали
Колонна относится к III группе конструкций (табл./50/1/). Принимаем марку стали С235.
Ryn=245 МПа; Run=365 МПа; Ry=240 МПа; Ru=355 МПа – табл. 51/1/; gm=1,025–табл.2/1/; Rs=0,58×Ryn/gm=0,58×245/1,025=138,63 МПа–табл. 1/1/;
6.2 Выбор расчетной схемы
Расчетная схема колонны:
в плоскости х–х: жесткое сопряжение с фундаментом; верхний конец свободен от закреплений
в плоскости y–y: шарнирное сопряжение с фундаментом; верхний конец закреплен от перемещений, промежуточные закрепления

- геометрическая длина колонны
- расчетная длина в плоскости x-x
;
– расчетная длина в плоскости y-y
;
6.3. Сбор нагрузок на колонну
На колонну действуют опорные реакции балок опирающиеся на неё.
кН,
Где
кН – опорная реакция главной балки.
кН,
Где
м2 - грузовая площадь колонны;
кН/м2 – расчётная нагрузка на настил.



Расчет относительно материальной оси.
Сечение стержня подбираем относительно материальной оси y-y . Задаемся гибкостью λ=70 и находим соответствующее значение φ=0,754 (табл.72/1/).
Требуемая площадь сечения:
![]()
и радиус инерции iх,тр=lх/λ=980/70=14 см.
По сортаменту принимаем 2 швеллера [ 14 со значениями A и i , близкими к требуемым:

h=140 мм; bп=58 мм; tп=8,1 мм; tст=4,9 мм; Jx=493,0см4; Jy=51,5см4; ix=5,61 см; iy=1,81см; A=15,6 см2; cечение ориентируем по осям
Сечение ориентируем по осям .Ось x-x совпадает с осью х. Материальная ось совпадает с плоскостью главной балки.
Расчет относительно свободной оси.
Определяем расстояние между ветвями колонны из условия равноустойчивости колонны в двух плоскостях λпр=λy .
Гибкость относительно свободной оси х-х :
.
Принимаем λ1=30; λх=lх/iх=980/5,61=174,6 ;
находим
.
Полученной гибкости соответствует радиус инерции iу=lу/λу=490/172 =2,84 см
по табл. 72/1/ при помощи интерполяции находим φ = 0,2
![]()

Устойчивость колонны обеспечивается.
![]()
Проверка сечения колонны относительно свободной оси (у-у):
Для этого определяем геометрические характеристики всего сечения (геометрические характеристики ветвей даны в сортаменте):
J1=51,5 см4; i1=1,81 см; z0=1,82 см; bтр=2*58=116 см;
![]()
Радиус инерции сечения стержня относительно свободной оси:

Гибкость стержня относительно свободной оси:
![]()
![]()
по табл.72/1/ при помощи интерполяции находим φ = 0,2

Устойчивость колонны в плоскости x-x обеспечена.
![]()
Сечение колонны подобрано рациональным.
7. Расчет и конструирование узлов.
7.1. Опирание балки настила на главную балку

7.1.1. Проверка устойчивости опорной части балки настила
Устойчивость опорной части обеспечивается при условии:
, где:
= 15,45 кН – опорная реакция балки настила; φоп,ч - коэффициент устойчивости опорной части, определяется по табл.72/1/ в зависимости от λоп.ч; Аоп.ч – площадь сечения опорной части:
![]()
![]()
bп – ширина полки главной балки; t – толщина стенки балки настила.
где:
h – высота стенки балки настила;
- радиус инерции опорной части;
Jоп.ч - момент инерции опорной части относительно продольной оси стенки.
![]()
=>
0,756
<![]()
Условие выполняется, установка опорных рёбер не требуется.
7.1.2 Установка поперечных ребер
Условная гибкость стенки:
![]()
следовательно укрепляем стенку поперечными ребрами из условия устойчивости стенки
Принимаем:
- шаг ребер![]()
- высоту ребра назначаем hр= 420 мм;
- ширину ребра
;
- толщину ребра согласно сортаменту на сталь tр=10 мм;
Определяем критические напряжения:
![]()
![]()
где Сcr=при помощи интерполяции принимается по табл. 21/1/, в зависимости от δ;
;
β= 0,8– табл. 22/1/;
;
где
;
=1.57 так как hcт < a
Проверим на устойчивость стенку балки, укрепленную поперечными ребрами среднего и крайнего отсека.
![]()
- табл.6/1/.
,
![]()

![]()
![]()

Устойчивость отсека обеспечивается.
7.1.3 Проверка устойчивости стенки главной балки от действия местной нагрузки
Прочность стенки обеспечивается, если:
, где:
Fоп –опорная реакция балки настила;
lef=b+2tn –условная длина распределения нагрузки;
b –ширина опорной части балки настила;
tст – толщина стенки главной балки;
tп – толщина полки балки настила.
![]()
![]()
![]()
Прочность от действия местной нагрузки обеспечивается.
7.2Оголовок колонны коробчатого сечения из прокатных профилей

Рис. Оголовок колонны
опорная плита, 2- опорное ребро, 3- окаймляющее ребро
Размеры опорной плиты назначаются конструктивно:
tpl=10 мм; bpl=116 мм; hpl=240 мм,
Опорное ребро.
Высота опорного ребра назначается из условия прочности сварных швов:
Rw¦=180 МПа – табл. 56/1/; gw¦=1–п. 11.2/1/; gс=1,1–табл. 6/1/; b¦=0,7–табл. 34/1;
Rwz=0,45Run=0,45×365=164,3 МПа –табл. 3/1/; bz=1,0–табл. 34/1/; gwz=1–п.11.2/1/;
Разрушение по по металлу шва:
![]()
Разрушение по границе сплавления:
![]()
Необходимую длина сварного шва определяем при разрушении по металлу шва:
;
где
– опорная реакция главной балки;
hp=lw +1=0,36+1=1,36 см.
Конструктивно назначаем высоту реба hp=20 см, толщину tР=10мм.
Поперечное сечение опорного ребра определяется из условия прочности смятия торцевой поверхности
– площадь опорного ребра;
где
, табл. 1/1/.
, принимаем tp=10 мм тогда bp=2,8/2*1=1,4 см принимаем bp=60 мм;
Нижнее окаймляющее ребро. Назначаем ширину ребра bок.р= 116мм < H = 140 мм, толщину tок.р–10 мм.
База калонны

Рис. База с ребрами жесткости
1 – стержень колонны, 2 – ребро, продолжение стенки, 3 – ребро продолжение полки

а) Определение площади опорной плиты
– требуемая площадь плиты.
;
где
,
N=qрср -усилие действующее на рабро, ср - длина ребра.
,- погонная нагрузка на ребро
dр - ширина грузовой площади ребра
α = 1 для бетонов ниже класса В 25;
Аƒ = 2500 см2 – площадь фундаментной плиты (50Ч50см);
Аpl = 1010,6 см2 (32,6Ч31см) – площадь базы колонны ;
Rb = 8,5 МПа – расчетное сопротивление бетона класса 15 при местном сжатии.
Принимаем плиту размером 32,6Ч31см, Аpl = 1010,6см2, а фундамент размером 50Ч50см , Аƒ = 2500 см2.
б) Определение толщины плиты:
Фактическое давление под плитой:
![]()
Рассматриваем три участка :
консольные участки плиты (участок №1),
участок опертый на три стороны,
участок опертый по контору (участок №3).
Выделяем на первом участке плиты полосу шириной 1 см и определяем момент:
![]()
Участок №2 работает как плита, опертая на три стороны, т.к. выполняется условие:
,
;
![]()
Участок №3 работает как плита опертая на четыре стороны, т.к. выполняется условие:
,
;
![]()
Толщина плиты определяется из условия
;
– требуемый момент сопротивления сечения плиты определяем по 2 участку.
– толщина плиты при ширине полосы в 1см;
Принимаем tpl=20мм.
в) Расчет траверсы колонны
Усилие с колонны передается на траверсу через сварной угловой шов. Соединение осуществляем ручной сваркой электродами Э42,
марка проволки Св-08А.
Определяем расчетные характеристики сварного углового шва:
Rw¦=180 МПа–табл. 56/1/; gw¦=1 –п. 11.2/1/; gс=1,1–табл. 6/1/; b¦=0,7 – табл. 34/1;
Rwz=0,45Run=0,45×365=164,3 МПа–табл. 3/1/; gwz=1–п. 11.2/1/; gс=1,1– табл. 6/1/;
bz=1,0 – табл. 34/1/;
разрушение по металлу шва:
![]()
разрушение по границе сплавления:
![]()
Расмчетная длина сварного шва определяется по металлу шва:
,
где kƒ=10 мм – катет сварного шва; n=4 – количество швов;
Геометрические размеры траверсы.
Примем толщину ребра tр=10мм. ![]()
Принимаем hр=200 мм; (конструктивная длина сварного шва 200-10=190 мм).
Проверка прочности ребра.
– погонная нагрузка на ребро;
где dр=Вpl/2=0.326/2=0.163 –ширина грузовой площади ребро.
Расчетная схема ребра – это однопролетная балка с консолями
Расчетные усилия в ребре:


Определение геометрические характеристики сечения
A1=20 см2; A2=31см2;
;
;
![]()

;
Проверка прочности по нормальным напряжениям:
![]()

Прочность обеспечена.
Проверка прочности по касательным напряжениям:
![]()

Прочность обеспечена.
Проверка прочности от совместного действия нормальных и касательных напряжений:
;

Прочность от совместного действия нормальных и касательных напряжений на опоре обеспечена.
Проверка прочности сварных угловых швов соединяющих ребро и колонну от действия нормальных и касательных напряжений:
![]()
;
![]()
;
;
Прочность обеспечивается.
Анкерные болты назначаем конструктивно d=20 мм.
Проверка прочности фундамента:
![]()
Условие прочности выполняется.
8. Расчёт связей
Сечение связей подбираем по предельной гибкости для растянутых элементов.
[λ] = 300 -табл.20/1/.
– требуемый радиус инерции;
где
– расчетная длина в плоскости x-x
Расчетные длины связей

По сортаменту принимаем два неравнополочных уголка 56Ч36Ч5: B=56 мм; b=36 мм; d=5 мм; А=4,41 см2; Jx=13,80 см4; Jy=4,48 см4; iy=1,01 см;
Определяются геометрические характеристики:
- момент инерции составного сечения в плоскости x-x.
- момент инерции составного сечения в плоскости y-y;
Гибкость в плоскости ![]()
![]()
Проверка устойчивости в плоскости x-x:
- радиус инерции
- расчетная длина.
Гибкость в плоскости x-x ![]()
Условие устойчивости в плоскости x-x выполняется.
8. Список литературы
СНиП II – 23 – 81. Стальные конструкции. Госстрой СССР. – М.: ЦИТП Госстроя СССР, 1988. – 96 с.
СНиП 2.01.07 – 85. Нагрузки и воздействия. Госстрой СССР. – М.: ЦИТП Госстроя СССР, 1988. – 36 с.
Металлические конструкции. Общий курс: Учебник для вузов/ Е.И.Беленя, В.А.Балдин, Г.С. Ведерников и др.; Под общей редакцией Е.И.Беленя.- 6-е изд., перераб. И доп. – М.: Стройиздат, 1986. – 560с.
Металлические конструкции. В 3-х т. Т.1. Элементы конструкций: Учеб. Пособие для строит. Вузов/ В.В.Горев, Б.Ю.Уваров, В.В.Филиппов и др.; Под ред. В.В.Горева. – М.: Высш. Шк. 1997. – 527 с.: ил.
Металлические конструкции. В 3-х т. Т.2Конструкции зданий: Учеб. Пособие для строит. Вузов/ В.В.Горев, Б.Ю.Уваров, В.В.Филиппов и др.; Под ред. В.В.Горева. – М.: Высш. Шк. 1999. – 528с.: ил.
Расчет стальных конструкций: Справ. пособие / Я.М. Лихтарников, Д.В. Ладыжский, В.М. Клыков. – 2-е изд., перераб. И доп. – Киев: Будивельник, 1984. – 386с.
Справочник проектировщика промышленных, жилых и общественных зданий и сооружений. Расчетно – теоретический. В 2-х т. Т.1 /Под ред. А.А.Уманского. – 2-е изд., перераб. и доп. – М: Стройиздат, 1972. –600с.
Стальные конструкции. Справочник конструктора. Изд.3-е, перераб. и доп. Под общ. ред. Н.П.Мельникова. М., Стройиздат, 1976. 328 с.
Швеллеры стальные горячекатаные. ГОСТ 8240-97.
Двутавры стальные горячекатаные. ГОСТ 8239—89.
Двутавры стальные горячекатаные с параллельными гранями полок. ГОСТ 26020—83.
Сталь листовая горячекатаная. (выборка из ГОСТ 19903-74*).
Сталь прокатная широкополосная универсальная. ГОСТ 82-70*.
Уголки стальные горячекатаные равнополочные. (выборка из ГОСТ 8509-93).
Уголки стальные горячекатаные неравнополочные. ГОСТ 8510-86.
Швеллеры стальные гнутые равнополочные. ГОСТ 8278-83.
| Курсовой проект |
|||||
| Изм. |
Лист |
КолУч |
№Док |
Подпись |
Дата |
| Металлические конструкции балочной площадки |
Стадия |
Лист |
Листов |
||
| У |
2 |
||||
| ГСиХ |
|||||
| Проверил |
|||||
| Студент |
|||||