| Скачать .docx |
Курсовая работа: Расчет монолитной балки и колонны
Федеральное агентство по образованию Российской Федерации
Югорский государственный университет
Кафедра «Строительные технологии и конструкции»
Курсовая работа
по дисциплине
Строительные конструкции
на тему:
Расчет монолитной балки и колонны
Вариант №10
Выполнила:
студентка группы 5460
О.В. Ермакова
Проверил:
преподаватель Н.И. Парьева
г. Ханты-Мансийск 2010
Содержание
Задание по курсовому проекту
Введение
1. Сбор нагрузок
1.1 На покрытие, на 1 м2
1.2 На перекрытие, на 1 м2
1.3 Нагрузка от железобетонной колонны
1.4 Нагрузка от монолитных балок
1.5 Нагрузка на низ колонны
2. Расчет средней монолитной балки покрытия и перекрытия
2.1.1 Начальные данные
2.1.2 Расчет изгибающего момента
2.1.3 Расчет рабочей высоты сечения
2.1.4 Расчет коэффициентаam
2.1.5 Расчет площади поперечного сечения продольной арматуры
2.1.6 Уточняющий расчет
2.2 Расчет прочности балки по наклонным сечениям
2.3 Расчет на действие поперечной силы по наклонной полосе между наклонными трещинами
2.3.1 Проверка соблюдения условия
3. Расчет колонны
3.1 Начальные данные
3.2 Расчетная схема колонны
3.3 Определение площади сечения арматуры
3.3.1 Расчет
3.3.2 Вычисление коэффициента h
3.3.3 Значение e с учетом прогиба
3.3.4 Определение требуемой площади сечения арматуры
3.3.5 Назначение диаметра и шага постановки поперечных стержней
3.3.6 Конструирование сечения колонны
3.3.7 Конструирование колонны
Список используемой литературы
Задание по курсовой работе
10 вариант
Сборное перекрытие с продольным расположением монолитных балок и колонн
Здание 2-х этажное, административное.
Район строительства г. Ханты-Мансийск.
Выполнить:
1. Схему расположения пустотных плит перекрытия, монолитных балок и колонн.
2. Рассчитать и законструировать среднюю монолитную балку и крайнюю колонну
В-20, А-II, защитный слой а = 16мм,колонны bxh = 400x400м, ![]()
Введение
Данная курсовая работа выполняется с целью закрепления теоретических знаний основ расчета строительных конструкций: железобетонных колонн и монолитных балок.
В процессе выполнения курсового проекта определяется нагрузка (нормативная и расчетная), устанавливается расчетная схема колонны и балки, задаются материалы и устанавливаются их расчетные характеристики, конструируется средняя монолитная балка и крайняя колонна.
Все расчёты производятся в соответствии с требованиями нормативно-технической литературы (СНиП, ГОСТ, и др.).
1. Сбор нагрузок
1.1 На покрытие, на 1м2 :
| № | Нагрузка | Подсчет | ||||
| Постоянная | ||||||
| 1 | Гравий | 0.021м∙ 1600 |
33,6 | 1,3 | 43,68 | |
| 2 | Рубероидный ковер | 3∙ 3 слоя | 9 | 1,3 | 11,7 | |
| 3 | Цементно-песчаная стяжка | 0.026м∙ 1400 |
36,4 | 1,3 | 47,32 | |
| 4 | Керамзит | 0.32м∙ 800 |
256 | 1,3 | 332,8 | |
| 5 | Пароизоляция (1 слой руб.) | 3 | 1,3 | 4 | ||
| 6 | Пустотная плита ПК | 320 | 1,1 | 352 | ||
| Временная | ||||||
| 1 | Снеговая нагрузка | 224 | 1,4 | 313,6 | ||
| Всего: | 882 | 1061 | ||||
1.2 На перекрытие, на 1м2 :
| № | Нагрузка | Подсчет | |||
| Постоянная | |||||
| 1 | Бетонные плитки | 0.032м∙ 2500 |
80 | 1,2 | 96 |
| 2 | Цементно-песчаный раствор | 0.024м∙ 1200 |
28,8 | 1,3 | 37,44 |
| 3 | Плита ПК | 320 | 1,1 | 352 | |
| Временная | |||||
| 1 | Административное здание | 200 | 1,2 | 240 | |
| 2 | Перегородки | 50 | 1,1 | 55 | |
| Всего: | 679 | 780 | |||
1.3 Нагрузка от железобетонной колонны
Н= 6,8 + 0,29= 7,09 – высота колонны;
bЧh=400Ч400;
;
= b ∙ h ∙ H ∙
= 0,4 .
0,4 .
7,09 .
2400 = 2722,5 кг;
= 2722,5 .
1,1= 2995 кг.
1.4 Нагрузка от монолитных балок
С учетом расчета крайней колонны сбор нагрузок от монолитных балок снимаем с длинны балки 3 м (6м /2) предварительным размером 0,25х
0,5 (b.
h),
.
= 3м .
0,25 .
0,5 .
2400 кг/м3
= 900 кг.
= 900 ∙ 1,1= 990 кг.
1.5 Нагрузка на низ колонны
;
= 882 ∙ 9 + 679 ∙ 9+
2* 900 + 2722,5= 18571,5 кг;
;
Np = 1061 ∙ 9 + 780∙ 9 + 2* 990+ 2995 = 21544 кг.
перекрытие монолитный балка колонна
2. Расчет средней монолитной балки покрытия и перекрытия
2.1.1 Начальные данные: принимаем сечение монолитной балки 250х500(h), мм. Бетон тяжелый класса В20. Расчетное сопротивление тяжелого бетона класса В20 Rb =11,5 МПа (табл.13, СНиП 2.03.01-84). Рабочая арматура класс А-II. Расчетное сопротивление арматуры Rs =280 МПа (табл. 22 [5]).
2.1.2 Расчет изгибающего момента
(1)
где: М – изгибающий момент, Н. м;
q – распределенная нагрузка, Н/м2 ;
s – площадь приложения распределенной нагрузки, м2 ;
l – длина монолитной балки, м.
Минимально допустимая толщина защитного слоя для балок
[5]. Принимаем толщину защитного слоя бетона для балок
.
2.1.3 Расчет рабочей высоты сечения:
h0 = h – a=500-26=474 мм (2)
где h0 – высота рабочего сечения, мм;
a - защитный слой бетона до оси арматуры,
;
h – высота поперечного сечения балки, мм.
2.1.4 Расчет коэффициента am :
(3)
По табл. 20 [4] находим коэффициенты
=0,49 и
=0,75. По табл. 18 [4] определяем
R
=0.65, Так как
=0,49<xR
=0.65, то размеры принятого сечения достаточны для нормального армирования.
2.1.5 Расчет площади поперечного сечения продольной арматуры:
(4)
Принимаем 3 стержня диаметром 32 А-II (АS = 2413 мм2 ). [7] В связи с уточнением размера
![]()
2.1.6 Уточняющий расчет:
h0 = h – a=500-32=468 мм.
![]()
Дальнейшие результаты аналогичны ранее полученным.
2.2 Расчет прочности балки по наклонным сечениям
Рабочая распределительная арматура на приопорных участках балки длинной 1420 мм. армируется хомутами - арматура Ш8 А-Ic шагом 150мм;
Центральная часть хомутами – арматура Ш8 А-Ic шагом 350мм;
Монтажная арматура принимаем: 2 Ш10 А-II.
2.3 Расчет на действие поперечной силы по наклонной полосе между наклонными трещинами
2.3.1 Проверяем соблюдение условия:
(5)
![]()
![]()
Где Q – поперечная сила от внешней расчетной нагрузки:
![]()
- коэффициент, учитывающий влияние хомутов, нормальных к продольной оси элемента на прочность бетона.
,
согласно условий принимаем
=1,3
![]()
![]()
Где
- коэффициент поперечного армирования элемента;
s – шаг хомутов, s = 150 мм;
b – ширина сечения элемента, b = 250;
Asw – площадь хомутов в поперечном сечении конструкции.
Asw =n. Asw 1 =28 . 1000=28000 мм2
n- количество хомутов в сечении, n = 28.
Asw 1 – площадь поперечного сечения одного хомута= 1000 мм2
- коэффициент, зависящий от прочности бетона
![]()
- коэффициент принимаемый в зависимости от вида бетона. Для тяжелого 0,01.
Исходя из нагрузок действующих на монолитную балку, и выполнения условия (5) принятая арматура удовлетворяет условиям прочности.
3. Расчет колонны
3.1 Начальные данные:
По заданию требуется рассчитать крайнюю колонну. Вследствие одностороннего приложения нагрузок, колонну рассчитываем с несимметричным армированием.
Принимаем:
-сечение колонны размерами b = 400 мм, h = 400 мм;
-защитный слой a =a' = 32 мм;
-бетон тяжелый класса B25 (Rb = 13 МПа при gb2 = 0,9; Eb = 2,7 · 104 ); арматура класса A-III (Rs =Rsc = 365 МПа);
-продольная сила N = 213,35 кН;
-эксцентриситет продольной силы относительно центра тяжести бетонного сечения е0 = 275 мм;
-расчетная длина l0 = 3,4 м.
3.2 Расчетная схема колоны
3.3 Определяем площади сечения арматуры S и S’
3.3.1 Расчет:
h0 = 400 – 32 = 368 мм.
Так как 4 < l0 /h = 3,4/0,4=8,5 < 10, расчет производим с учетом прогиба элемента согласно п. 3.54 [4].
Предположим, что m, удельная площадь армирования, m£ 0,025, значение Ncr определим по упрощенной формуле
(6)
Где – Ncr – критическая нагрузка на колонну кН ;
А – площадь сечения мм2 ;
Eb – модуль упругости бетона, МПа.
3.3.2 Коэффициент h вычислим по формуле :
(7)
3.3.3 Значение e с учетом прогиба элемента равно:
мм. (8)
3.3.4 Требуемую площадь сечения арматуры S ’ и S определим по формулам 121 и 122 [4] :
(9)
Где: A’ s - площадь арматуры в сжатой зоне, мм2;
Rsc – расчетное сопротивление арматуры, МПа.
Конструктивно принимаем вспомогательную арматуру 2 Ш 12 А-IIIA’ s = 230 мм2
(10)
Где As – площадь поперечного сечения рабочей продольной арматуры, мм2 ;
Rs – расчетное сопротивление арматуры, МПа;
Поскольку
0,017 < 0,025, значения Аs
и A’
s
не уточняем.
Принимаем
= 230 мм2
(2 Æ 12) A-III, Аs
= 2470мм2
(4 Æ 28 ) A-III.[7]
3.3.5 Назначаем d и S постановки поперечных стержней
dsw ≥ 0,25 ds ;
dsw = 0,25· 28 = 8 мм.
принимаем поперечную, арматуру ш 8 мм A-I,
Согласно [1] принимаем поперечное армирование вязаными хомутами.
S ≤ 15ds;
S ≤ 15 ∙ 28 = 420 мм, принимаем S = 400 мм.
3.3.6 Конструируем сечение колонны


3.3.7 Конструирование колонны
1. Размеры сечения колонн следует принимать не менее 250 мм, и они назначаются кратными 50 мм при размерах сторон сечения до 500 мм кратным 100 мм при размерах стороны сечения больше 500 мм.
2. Требования к материалам для колонн следующее:
· Бетон обычно принимается класса ≥ В20; для тяжело нагруженных колонн – не менее В30;
· Рабочая арматура принимается классов А- II, А – III, диаметрами от 12 до 40 мм, оптимально 16-25 мм;
· Поперечная арматура назначается из классов А- I, А – III и Вр I, диаметром dsw ≥0,25; шаг поперечных стержней не более s≤20ds , где ds – меньший диаметр продольной арматуры.
3. Правила установки арматуры в колонны и проектирование каркасов:
a) Стержни продольной арматуры располагаются у граней колонны с защитным слоем бетона не менее 20 мм и не менее 15 мм и не менее ее диаметра;
b) Для свободной укладки в формы концы продольной арматуры не должны доходить до грани торца колонны на 10 мм при ее длине до 9 м и на 15 мм при длине до 12м. При этом, если в оголовке колонны предусмотрена закладная деталь для опирания вышележащих конструкции, то продольный стержень арматуры должен не доходить до этой закладной детали не менее чем на 10 мм;
c) При сечении колонны до 400Ч400 мм можно ставить 4 стержня продольной арматуры, располагая по углам колонны, при больших размерах сечения расстояние между осями продольных стержней не должны превышать 400 мм;
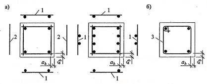
d) плоские арматурные каркасы перед постановкой в опалубку объединяются в пространственные каркасы при помощи соединительных стержней (рис 3.1.,а, 3.2.);

Рис. 3.1 Армирование колонн:
а) сварными каркасами; б) вязанными каркасами; 1- каркасы; 2 – соединительные стержни; 3 – хомуты; аb – защитный слой бетона продольной арматуры

Рис. 3.2. Постановка поперечных стержней в каркасах:
а) объемный каркас; б) плоский каркас; ds – диаметр продольных стержней арматуры; dsw – диаметр поперечных стержней; S – шаг поперечных стержней
Испытывая сжатие при работе в стадии эксплуатации, сборные железобетонные колонны при транспортировании и монтаже работают на изгиб. Это учитывается расчетами на монтажные и транспортные нагрузки, при выполнении которых к колоннам прикладывается нагрузка от ее собственного веса с учетом коэффициентов динамичности.
Список использованной литературы
1. Бондаренко В.М., Бакиров Р.О., Назаренко В.Г., Римшин В.И., Железобетонные и каменные конструкции, Учебное издание. – М.: Издательство «Высшая школа», 2004. – 876 с.
2. Заикин А.И., Проектирование железобетонных конструкций многоэтажных пролетных зданий: Учебное пособие. М.: АСВ, 2003. – 200 с.
3. Кумпяк О.Г., Железобетонные конструкции, Часть 1.: Учебное издание.- М.: Издательство АСВ, 2003. – 280 с.
4. Пособие по проектированию бетонных и железобетонных конструкций из тяжелых и легких бетонов без предварительно напряженной арматуры. (к СНиП 2.03.01-84)
5. СНиП 2.03.01-84 « Бетонные и железобетонные конструкции»
6. СНиП 2.01.07-85* «Нагрузки и воздействия»
7. Сортамент арматуры.