| Скачать .docx |
Реферат: Переработка грунта для возведения подземной части зданий
Переработка грунта для возведения подземной части зданий
Общие положения
Производство строительно-монтажных работ, в том числе возведение подземной части зданий и сооружений, сопряжено с выполнением значительных объемов земляных работ. Их объем ежегодно увеличивается.
Земляные работы относятся к наиболее трудоемким и тяжелым строительным работам, выполняемым в сложных условиях, зависящих от природно-климатических факторов, характеристик грунта, имеющейся застройки и т.д. Поэтому одной из задач, стоящих перед проектировщиками, технологами, строителями, является разработка и реализация технологий, способствующих сокращению объемов земляных работ. Конкретно это выражается в совершенствовании конструкций земляных сооружений на основе оптимизации конструктивных решений подземных частей зданий и сооружений; рациональном использовании рельефа местности; применении свайных фундаментов; технологии "стена в грунте"; исключении перевалок грунта; бестраншейной прокладке коммуникаций; повышении строительных качеств грунта (трамбование, укрепление и т.п.). Этим целям служит и развитие средств механизации земляных работ на ближайший период: переход на гидравлическое управление, создание широкого ряда типоразмеров машин и их сменного рабочего оборудования, позволяющих в конкретных условиях обеспечить заданную геометрию земляного сооружения, автоматизация землеройно-транспортных машин в целом или их отдельных рабочих процессов, в том числе учета фактически выполненного объема работ и др.
Вместе с тем необходимо учитывать и факторы, которые ведут к увеличению объемов земляных работ; снятие растительного слоя проведение рекультивации земель, расширение строительства объектов, имеющих экологическое назначение. Сложность и трудоемкость производства земляных работ может возрастать в условиях реконструкции подземных частей зданий и сооружений.
Основными элементами комплексно-механизированного технологического процесса производства земляных работ являются:
конструкция земляного сооружения, его геометрические размеры, конфигурация, пространственная форма, назначение;
состав технологического процесса по созданию земляного сооружения, количество, последовательность и содержание операций, связанных с переработкой грунта;
комплект машин, способных реализовать сформированный технологический процесс, их технические, технологические и экономические параметры;
совокупность условий производства земляных работ, обусловливаемых реальным месторасположением строительного объекта;
фактор времени, связанный с заданной или возможной продолжительностью выполнения земляных работ на объекте.
Земляные сооружения
Грунт представляет собой естественную среду, в которой размещается подземная часть зданий и сооружений. Переработка грунта является одним из основных технологических процессов при их устройстве.
В ходе производства земляных работ создается земляное сооружение, которое является частью конструкции подземной части здания или подземного сооружения. Земляным сооружением называется инженерное сооружение, устраиваемое из грунта в грунтовом массиве или возводимое на поверхности земли.
Земляные сооружения классифицируются по следующим признакам: отношению к поверхности земли, функциональному назначению, сроку службы, геометрическим параметрам, пространственной форме.
По отношению к поверхности земли их можно разделить на выемки, насыпи и подземные выработки. Выемкой называют земляное сооружение, создаваемое в грунтовом массиве ниже поверхности земли; насыпь - земляное сооружение, возводимое из грунта выше поверхности земли; подземные выработки - земляные сооружения, возводимые на определенной глубине и закрытые с поверхности земли.
По функциональному назначению земляные сооружения подразделяются на котлованы, траншеи, ямы, скважины, отвалы, плотины, дамбы, дорожные полотна, каналы, планировочные площади, тоннели, выработки. Наиболее характерные типы земляных сооружений и их элементы представлены на рис.1.

Рис.1. Профили земляных сооружений
1 - поверхность земли; 2 - котлован с откосами; 3 - котлован с вертикальными стенками; 4 - траншея с вертикальными стенками; 5 - траншея с откосами; 6, 7 - канал; 8 - яма; 9 - дорожное полотно; 10 - отвал; 11 - плотина (дамба); 12 - скважина; 13 - подземная часть здания; 14 - обратная засыпка пазух; 15 - подземная выработка; 16 - тоннель
В зависимости от срока службы земляные сооружения делят на постоянные и временные. Постоянные - предназначены для эксплуатации в течение длительного времени. К ним относятся: планировочные площади и территории, земляные полотна рельсовых и безрельсовых дорог, каналы различного назначения, плотины, дамбы и др.
Временные земляные сооружения устраивают для развертывания и выполнения последующих строительно-монтажных работ. К их числу относятся подземные выработки, котлованы, траншеи, ямы, скважины, временные отвалы грунта и др.
Геометрические параметры земляного сооружения - длина, ширина, глубина (высота), диаметр для сооружений круглого поперечного сечения - отражают основные размеры подземной части и служат для определения объема разрабатываемого грунта. От этих параметров зависит выбор состава технологического процесса и комплекта землеройной техники. Одним из параметров, оказывающим наибольшее влияние на технологию производства земляных работ, является вертикальный параметр земляного сооружения - глубина для выемки, высота для насыпи, диаметр для сооружений круглого поперечного сечения.
Исследования показывают, что в промышленном строительстве земляные сооружения, имеющие глубину до 5 м, занимают в общем объеме до 80% и лишь около 2% земляных сооружений имеют глубину свыше 10 м. Проектная глубина зависит от региона строительства. Может быть предложена следующая градация земляных сооружений по глубине: мелкие до 2 м, средние до 5 м, глубокие до 10 м, очень глубокие свыше 10 м.
Земляное сооружение может состоять из нескольких частей в зависимости от размеров и объемов. На рис.2 показано четыре типа пространственной формы земляного сооружения. Простая (куб, параллелепипед, усеченный обелиск, цилиндр и др.), простая составная форма, когда земляное сооружение представляет собой набор простых, имеющих или не имеющих общих участков примыкания; вертикально-составная форма, представляющая собой земляное сооружение, состоящее из нескольких простых в вертикальном направлении; сложная составная форма, представляющая собой комбинацию двух последних типов пространственных форм земляного сооружения.

Рис.2. Типы пространственной формы земляных сооружений
а - простая: б - простая составная; в - вертикальная составная; г - сложная составная; 1,2,3,4 - части земляного сооружения; сплошная линия - части имеют общие участки примыкания; пунктирная линия - части не имеют общих участков примыкания
Анализ земляных сооружений показывает, что на долю простой пространственной формы приходится до 50%. второй тип -30%, третий -15% и к сложно-составной форме можно отнести около 5% земляных сооружений.
Введение понятия пространственной формы приводит к созданию некоторой объемной модели земляного сооружения, использование которой повышает обоснованность решений по формированию состава комплексного технологического процесса (КТП) и механизированного комплекса.
Для формализованного описания пространственной формы можно использовать графы (см. рис.2). Вершина графа представляет собой какую-либо часть земляного сооружения, а ребра 1-2, 2-3, 3-4 показывают взаимосвязь этих частей в его общей конструкции. Формализацию такого вида целесообразно применять, когда организационно-технологические расчеты, связанные с подготовкой производства земляных работ на объекте, могут быть решены с использованием ЭВМ.
Комплексный технологический процесс
Производство земляных работ на объекте, создание земляного сооружения для размещения в нем подземной части здания или сооружения связано с переработкой грунта, который в полном объеме или частично разрабатывается, перемещается, укладывается, планируется, уплотняется. Выполнение всего необходимого набора работ происходит в результате осуществления комплексного технологического процесса. Этот процесс состоит из нескольких простых операций, выполняемых в определенной технологической последовательности, определяемой пространственной формой земляного сооружения, условиями производства работ, техническими и технологическими параметрами используемых землеройных и землеройно-транспортных машин.
Простые операции (процессы) могут быть распределены по трем группам: подготовительные, основные и вспомогательные.
К основным процессам относятся: разработка грунта в земляных сооружениях типа "выемка"; укладка грунта в "насыпи", бурение скважин, погрузка грунта, перемещение грунта в пределах строительной площадки; транспортировка грунта за пределы объекта и завоз грунта на объект; послойное разравнивание и уплотнение грунта; планировка грунта; рыхление мерзлого или трудноразрабатываемого грунта; отделка поверхности земляного сооружения; обратная засыпка выемок или пазух.
В состав подготовительных процессов входит: понижение уровня грунтовых вод, устройство противофильтрационных завес и экранов, укрепление грунтов, разбивка земляных сооружений.
К группе вспомогательных процессов относятся: подготовка забоя, содержание и ремонт землевозных дорог, временное крепление стенок и откосов земляного сооружения, бурение шпуров, нарезание щелей для производства взрывных работ, срезка недоборов грунта, устройство съездов и въездов, увлажнение грунта, укладка текстильных материалов, контроль качества работ.
Состав процессов при выполнении земляных работ на объекте определяется условиями производства работ на строительной площадке. К ним относятся физико-механические свойства грунтов, наличие подземных вод, климатические условия, степень стесненности выполнения работ на площадке, ее расположение относительно других объектов и др.
Состав комплексного процесса производства земляных работ на объекте определяется технологом при разработке проекта производства работ (ППР).
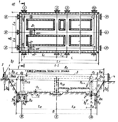
Выполнение подготовительных и вспомогательных процессов. При разбивке зданий и сооружений используют геодезическую разбивочную основу, выполненную на этапе инженерной подготовки строительной площадки, т. е. привязывают продольные и поперечные оси здания на местности.
Для детальной разбивки осей здания и обозначения контура котлована служит строительная обноска. Она может быть сплошной по всему периметру здания или прерывистой (рис.3, а). Прерывистая более удобна, так как не создает помех движению автотранспорта.
Вертикальные отметки в строящемся здании определяют относительно отметки ±0,00, которая соответствует уровню пола 1-го этажа (рис.3, б). Все отметки, расположенные выше, берут со знаком "+", а ниже - со знаком " -".

Рис.3
Привязку здания следует начинать в точке O0 , имеющей минимальное возвышение цоколя над спланированной плоскостью. В этой точке определяется наибольшая глубина котлована.
Из точек O1 ,O2 ,O3 ,O4 и других точках пересечения поперечных и продольных осей опускают отвес на поверхность земли и забивают колышки. От осей откладывают расстояние, равное
(b1 12) + b2 + b4 + b5
b1 - ширина фундаментного блока, b2 - допустимое увеличение ширины траншей под фундамент при разработке грунта экскаватором, принимают равным 10 см, b4 + b5 -величина заложения откоса котлована с учетом траншей под фундамент.
Во многих случаях возведения подземных конструкций зданий и сооружений приходится выполнять в условиях подземных (грунтовых) вод, затрудняющих производство земляных и других работ нулевого цикла. Они существенно снижают срок службы конструкций, соприкасающихся с грунтом, эксплуатационные характеристики подземных частей зданий и сооружений. В зависимости от конкретных гидрогеологических условий производство работ по осушению грунтов можно выполнять следующими способами: открытым водоотливом; дренажем; глубинным водоотливом.
Наиболее простым и экономичны способом является открытый водоотлив, который можно применять также в сочетании с глубинным водоотливом.
В процессе разработки выемки (грунта из котлована или траншеи ее дну придают небольшой уклон к устраиваемому в самой нижней части приемнику (зумпфу), из которого воду откачивают поршневым, диафрагмовым или центробежным насосом и отводят по лоткам или водоотводным канавам от выемки. Затем разработку выемки ведут наклонным слоями с заглубленным зумпфом. Дойдя до проектной отметки по периметру котлована за пределами основания сооружения устраивают водоотводящие канавы, ширина которых по дну должна быть не менее 0,3 с уклоном 0,002-0,005. Грунтовая вода, просачиваясь через откосы и дно котлована, поступает в водоотводящие канавы и по ним в зумпф, откуда также откачивается насосами.
При значительном притоке воды водоотлив должен вестись двумя насосами непрерывно. Перерывы, связанные со сменностью производства строительных работ на площадке, выходом из строя насосов, другими причинами приводят к накоплению воды в выемке, разжижению грунтов, которые затем приходится укреплять щебнем или бетоном, и в конечном счете все это увеличивает затраты и продолжительность работ нулевого цикла.
Использование открытого водоотлива может сопровождаться нежелательными явлениями (наличие в выемке воды, мелких частиц грунта, нарушение структуры и устойчивости грунтового массива), которые затрудняют производство работ, ухудшают строительные свойства грунта, как основания будущего сооружения. При интенсивном водоотливе могут быть затронуты грунты в основаниях соседних зданий.
Более совершенным является метод глубинного водоотлива или искусственного понижения уровня грунтовых вод: иглофильтровый и вакуумный методы, водопонижающие скважины.
Наибольшая эффективность применения иглофильтров обеспечивается в песчаных грунтах с коэффициентом 1-50 м/сут. Если необходимо понизить уровень грунтовых вод на глубину 7-9 м, иглофильтры устанавливают в два яруса (рис.4).

Рис.4
При необходимости понижения уровня грунтовых вод на глубину свыше 20 м применяют способ вакуумного водопонижения. В этом случае используются установки с вакуумным водопонижением (УВВ) и эжекторные иглофильтровальные установки (ЭИУ).
Сущность вакуумного водопонижения заключается в том, что в отличие от водопонижения легкой игло-фильтровальной установкой, где центробежный насос создает в грунте положительное избыточное давление, установки вакуумного водопонижения создают и непрерывно поддерживают в фильтровальном звене вакуум (рис.5, а), в результате чего обеспечивается интенсивный подсос и снижение уровня грунтовой воды.

Рис.5. Схемы иглофидьтровальных установок с вакуумным (а) и электроосмотическим (б) водопонижением
1 - фильтровое звено; 2 - депрессионная кривая после понижения иглофильтром; 3 - центробежный насос; 4 - вакуум-насос; 5 - стальная труба (анод); 6 - иглофильтр (катод); 7 - депрессионная кривая после электросушения
Водовоздушная смесь поступает в иглофильтр и откачивается вакуум-насосом. В установках с вакуумным водопонижением для того, чтобы постоянно поддерживать вакуум, через трубку, проходящую внутри иглофильтра, подают воздух, который обогащает поры грунта, и процесс откачки грунтовых вод происходит более интенсивно.
Эжекторные иглофильтровальные установки включают в себя иглофильтры с эжекторными водоподъемниками. Внутри иглофильтра находится труба, имеющая в нижней части эжекторное устройство, - диффузор с насадкой. Во время работы иглофильтра в концевую полость между его наружной и внутренней трубами центробежным насосом подается под давлением 750-800 кПа "рабочая вода". Дойдя до насадки, она через нее устремляется вверх - к диффузору (попадание рабочей воды в грунт исключается). При этом скорость движения рабочей воды резко возрастает и в пространстве между насадкой и диффузором создается вакуум, под давлением которого грунтовая вода через фильтровальное звено засасывается внутрь иглофильтра. Смешавшись с рабочей водой, она по внутренней трубе направляется вверх к коллектору и далее в водосборник. Часть воды после очистки от частиц грунта поступает в центробежный насос и используется как рабочая вода.
В слабофильтрующих грунтах ЭИУ монтируют в заранее пробуренные скважины под защитой обсадных труб. В верхней части скважин после монтажа иглофильтра устраивают глиняный тампон.
Для повышения эффективности работы иглофильтровых установок в глинистых грунтах с невысокими коэффициентами фильтрации (менее 0,1 м/сут) используют способ электроосмоса - перемещение воды в грунт под влиянием пропускаемого через него постоянного тока. В этом случае в грунт рядом с иглофильтрами на расстоянии до 1 м погружают стальные трубы или стержни из арматурной стали (рис.5, б), которые подключают в цепь к положительному полюсу источника постоянного тока с напряжением 30-60 В. По воздействием электрического тока вода, содержащаяся в порах грунта, освобождается и перемещается в сторону иглофильтра. В результате водоотдача грунта повышается более чем в 5 раз.
Для осушения больших строительных площадок, на которых разрабатывается грунт и устраиваются выемки для строительства подземной части здания или сооружения, эффективен способ, основанный на использовании открытых водопонизительных скважин-колодцев, оснащенных насосами. По периметру будущей выемки устраивают скважины диаметром до 400 мм и погружают в них фильтровые колонны. Фильтровая колонна состоит из обсадной трубы с фильтром отстойника, водоподъемной трубы; по верху вокруг фильтровой колонны устраивают грунтовую обсыпку высотой 0,2-0,3 м (рис.6). Внутрь фильтровой колонны опускают насос, производительность которого определяется параметрами, характеризующим приток грунтовых вод. Приводной двигатель насоса может находиться как внутри скважины, так и над ее устьем. В первом случае он имеет водонепроницаемое исполнение и работает в затопленном состоянии, во втором - соединяется с насосом длинным трансмиссионным валом.

Рис.6. Схема скважины-колодца
1 - привод насоса; 2 - обсыпка; 3 - фильтровая колонна; 4 - водоподъемная труба; 5 - насос
Применяют также открытые самоизливающиеся скважины. Изливающуюся из устья воду отводят к водосборникам и откачивают насосами. Скважины могут иметь различный наклон. Вертикальные скважины служат для снятия избыточного напора в нижележащих водоносных слоях грунта. Горизонтальные могут устраиваться в откосах выемок.
Использование установок для искусственного водопонижения вызывает необходимость решения задач экологического характера. В первую очередь - это необходимость применения экологически чистых технологий, которые не допускали бы загрязнения подземных вод, попадания в них вредных примесей.
Нередко при интенсивной откачке грунтовых вод в районе строительства нарушаются гидрогеологические условия. Нарушается взаимосвязь подземных вод с поверхностными, в результате чего могут произойти нарушения действующих водозаборных систем, осушение родников и т.д. Продолжительные откачки грунтовых вод особо опасны на застроенных городских территориях, так как они могут вызвать оседание земной поверхности, деформации зданий и сооружений, смещение осей инженерных сетей. Поэтому выбор способов защиты земляных сооружений от воздействия подземных вод должен сопровождаться анализом и разработкой соответствующих природоохранительных мероприятий.
Для ограждения котлованов, траншей, подземных выработок и защиты проводимых в них строительных работ от поступления грунтовых вод в зависимости от физико-механических свойств грунта, его состояния, мощности водоносных слоев существуют следующие способы закрепления грунта: замораживание, инъецирование в грунт растворов-отвердителей, устройство тиксотропных противофильтрационных экранов и завес, устройство шпунтовых ограждений.
В сильно водонасыщенных грунтах (плывунах) при разработке глубоких выемок, подземных сооружений создаются противофильтрационные завесы с помощью естественного или искусственного замораживания грунтов. Естественное замораживание применяется в районах с низкими температурами. В летнее время вскрывают котлован до уровня грунтовых вод, а затем в период наступления морозов допускают промерзание грунта на откосах и дне выемки на глубину 20-30 см. После этого послойно (10-15 см) снимают грунт, давая каждый раз промерзнуть грунту вглубь на 30 см. Таким образом, возникает льдогрунтовая оболочка, защищающая выемку от проникания в нее грунтовых вод.
При искусственном замораживании по периметру выемки устраивается временная водонепроницаемая ледяная стенка. Для этого в заранее пробуренные скважины погружают замораживающие колонки, состоящие из наружных замораживающих и внутренних питающих труб, соединенных трубопроводом, по которому подают специальную жидкость - рассол (растворы солей с низкой температурой замерзания), охлажденный в холодильной установке до -20-40 °С. В результате циркуляции рассола вокруг колонок начинают образовываться столбы замороженного грунта, которые, постепенно увеличиваясь в диаметре, соединяются в единую льдогрунтовую стенку.
В качестве хладоносителя может использоваться жидкий азот. Поступая в систему магистрального и распределительных трубопроводов и далее в замораживающие колонки, жидкий азот переходит в газообразное состояние - "кипит" при температуре - 196 °С. Газообразный азот выводится через газоотводящие трубопроводы для последующего сжижения. И хотя стоимость замораживания грунта с использованием азота возрастает по сравнению с использованием рассола, сроки создания защитной завесы сокращаются в несколько раз. Это существенное преимущество сказывается в аварийных ситуациях, например, при прорыве воды или плывунов в зону производства работ.
Способ замораживания имеет свои недостатки: временное сохранение эффекта завесы (на период работы замораживающей установки), длительный процесс наращивания и последующего оттаивания ледяной завесы повышение влажности грунта счет перемещения воды к охлажденным участкам грунта и др.
Ограждение выемок от поступления в них грунтовой воды может даваться путем инъецирования в грунт растворов-отвердителей. Проникая в поры и трещины грунта породы, они связывают зерна грунта и, твердея, превращают его в водонепроницаемый и неразмываемый монолит.
В зависимости от вида растворов существуют следующие основные инъекционные способы: цементация, битумизация, глинизация, силикатизация.
Цементацию применяют в крупнозернистых песках, гальке, гравии, трещиноватых скальных породах с коэффициентом фильтрации 80-200 м/сут. В грунт с помощью труб-инъекторов под давлением нагнетают водоцементные растворы.
При битумизации песчаных и трещиноватых скальных грунтов в качестве отвердителя используют расплавленный битум или холодную битумную эмульсию.
В качестве инъекционного материала при глинизации используют водную суспензию бентонитовых глин, которые содержат на менее 60% минерала монтмориллонита.
Силикатизацию или инъецирование, сначала водного раствора силиката натрия Na2 SiO3 , а затем хлористого кальция CaCl2 применяют при устройстве водонепроницаемой завесы песчаных и лессовых грунтах, имеющих коэффициент фильтрации 80 м/сут.
Растворы вступают в реакцию образуют гель кремниевой кислоты (nSiO2 mH2 O), который связывает частицы грунта и затвердевает.
Устройство тиксотропных противофильтрационных экранов толщиной 0,15-0,25 м производят с применением механизмов ударного, режущего, вибрационного и водовоздушного действия.
В качестве машины ударного действия используют копровый агрегат, который вплотную друг к другу погружает в грунт несколько стальных шпунтин или пустотелых свай (рис.7). Затем первый погруженный элемент извлекают гидравлическим трактором, а в образовавшуюся полость подают глиноцементный или глинистый раствор, обладающий тиксотропными свойствами. Тиксотропную суспензию приготовляют из бентонитовой глины, способной абсорбировать, т.е. поглощать воду в количестве, до 7 раз большем собственной массы, а после водонасыщения загустевать, приобретая гидрофобные (водоотталкивающие) свойства.
Извлеченный элемент погружают в месте, расположенном от последнего погружения на расстоянии не более чем ширина стороны поперечного сечения погруженного элемента. Процесс повторяется до тех пор, пока не будет сформирована противофильтрационная завеса.
Погружение и извлечение пусто-образующих элементов можно выполнять с использованием вибрационного оборудования.
Щели в грунте для заполнения их противофильтрационными материалами можно устраивать с помощью машин с режущим рабочим органом (цепной рабочий орган, бар, канат и др.).
Противофильтрационный экран может быть устроен с помощью оборудования, которое разработано шведской фирмой "Алимак" (рис.8). В массиве грунта бурится скважина глубиной до 10 м и диаметром 0,5 м. В момент, когда бур начинает извлекаться из скважины, через его полный вал под давлением подается цемент и перемешивается с разрыхленным грунтом. В грунте образуется цементно-грунтовая свая, Затем на расстоянии, меньшем диаметра сваи, бурится новая скважина, в которой также устраивается цементная колонна. Между двумя колоннами снова бурят скважину, при этом частично захватывая материал двух соседних свай. В результате образуется стенка из сомкнутого ряда свай, обладающая противофильтрационными свойствами. Оборудование позволяет устраивать не только вертикальные, но и наклонные сваи (до 15° во всех направлениях).
В последние годы в практике зарубежного строительства получил распространение вертикальный дренаж, устраиваемый с помощью дренирующих свай и дренирующих стен (рис.9). Конструкции и технология устройства дренирующей сваи показаны на рис.10. Вначале производят бурение скважины диаметром около 90 см и глубиной до 6 м в обсадной трубе (рис.10, а). В готовую скважину помещают арматурный каркас, внутри которого закреплена труба, в нижней части имеющая ряд отверстий для поступления в нее грунтовой воды. В полость между обсадной и внутренней дренажной трубами опускают бетонолитную трубу и далее ведут бетонирование сваи методом вертикально перемещающейся трубы (ВПТ). В основание сваи подают фильтр-бетон и одновременно начинают подъем обсадной трубы. Затем бетонируют сваю обычным бетоном.

Рис.7. Устройство тиксотропного противофильтрационного экрана
1 - свая, извлекаемая из грунта; 2 - свая, погружаемая в грунт; 3 - противофильтрационный экран; 4 - трубы для подачи суспензии, приваренные к сваям

Рис.8. Оборудование для устройства цементно-грунтовых свай "Алимак"
а - общий вид установки; б - схема устройства скважин; 1 - базовый трактор; 2 - емкость с цементом; 3 - рукав для подачи цемента; 4 - рама бура; 5 - привод вращения бура; 6 - бур; 7 - полый вал бура; 8 - отверстие для подачи цемента; 9 - цементно-грунтовая свая

Рис.9. Виды дренирующих свай и стен
а - отдельно стоящие сваи-опоры; б - стена из дренирующих свай; в - двухсторонняя дренирующая стена: г - односторонняя дренирующая стена: 1 - сваи-опоры; 2 - фильтр-бетон: 3 - дно котлована; 4 - сваи, 5 - стена
При возведении подземной части зданий и сооружений большие требования предъявляются откосам и стенкам выемок. Необходимость их крепления, а также конструкции крепления зависят от гидрогеологических условий и конструкции подземной части возводимого сооружения.
Вертикальные стенки в грунтах естественной влажности при отсутствии грунтовых вод допускаются без крепления: при глубине выемок в песчаных и крупнообломочных грунтах не более 1 м, в супесях - 1,25 суглинках и глинах - 1,5 м, в особо плотных грунтах - 2 м.
При больших глубинах для превращения обвалов и оползней стенок выемок устраивают откосы, метры которых определяются и регламентируются СНиПом. Необходимость устройства откосов ведет к значительному увеличению габаритов земляного сооружения и соответственно объемов разработки грунта, повышению материальных и трудовых затрат.
Для уменьшения объемов земляных работ, а также в случаях, разработка выемок с откосам возможна из-за стесненности площадки или наличия грунтовых вод, устраивают выемки с вертикальными стенками.
Временная крепь может быть выполнена в виде деревянного или металлического шпунта, металлических, железобетонных (забивных) или бетонных (буронабивных) свай, между которыми устанавливают затяжку из досок, железобетонных плит или наносят покрытие из торкрет-бетона, деревянных щитов с опорными стойками, щитов с распорными рамами и других конструкций.

Рис.10. Схема технологического процесса устройства дренирующих свай (а) и стен (б)
1 - дно котлована: 2 - поверхность земли; 3 - насос для откачки грунтовых вод; 4 - автобетоносмеситель; 5 - экскаватор-кран; 6 - арматурный каркас; 7 - грузовой автомобиль; 8 - экскаватор; 9 - установка для приготовления бетонной смеси
Шпунтовое крепление представляет собой сплошную стенку из металлических или деревянных элементов, жестко защемленную грунтом. Наибольшее распространение получил металлический шпунт с плоским, корытообразным, Z-образным профилем. С одной стороны поперечного сечения шпунт имеет паз, с другой - гребень. При забивке шпунта гребень одной шпунтины заходит в паз другой и в грунте создается сплошная стена, предохраняющая откосы глубоких котлованов от обрушения. Для забивания шпунта используют дизель-молоты или вибрационные и виброударные погружатели. После завершения работ по устройству подземной части металлический шпунт извлекают для последующего использования.
Закрепление откосов глубоких котлованов может производиться при помощи металлических или железобетонных свай, забитых на расстоянии 0,5-1,5 м друг от друга. По мере разработки стены выемки закрепляют деревянной дощатой затяжкой. Доски толщиной 5-7 см вставляют между сваями и расклинивают грунтом.
Если глубина выемки 3-4 м, свайное крепление может работать консольно, воспринимая боковое давление за счет заглубления свай в грунт на глубину 3-5 м.
При большей глубине выемки требуется дополнительное крепление свай. Оно может быть выполнено с помощью распорок-расстрелов, упираемых в продольные пояса-обвязки, устанавливаемые на сваях на расстоянии не менее 0,5 м от их верха. Расстрелы устанавливают через 4-6 м вдоль оси котлована.
В глубоких котлованах (более 10 м) расстрелы могут устанавливаться в несколько ярусов. Расстрелы изготовляют из металла составного профиля (двух швеллеров, четырех уголков) или труб диаметром 30-40 см. Конструкция расстрела может быть раздвижная, телескопическая.
Расстрелы обеспечивают достаточную жесткость и могут быть использованы многократно. Однако такой тип крепления имеет ряд недостатков. Во-первых, расстрелы располагаются в пределах контура подземной части сооружения, что значительно затрудняет ее монтаж. Во-вторых, при увеличении ширины котлована до 15- 20 м масса расстрелов достигает 2-3 т, что требует значительного времени и средств на их установку и закрепление.
В последнее время для воспринятия опрокидывающих моментов, возникающих от действия грунта на шпунтовые, свайные и другие ограждения выемок, применяют анкерные устройства (грунтовые анкеры). Анкеры устраивают в одном или нескольких уровнях по высоте откоса под углом к горизонту до 25°.
Основная деталь анкера - растягиваемый элемент (тяга)- выполняется из металла. Анкерную тяг) одним концом крепят к конструкции стенки, а другим - в грунтовой массив за пределы возможной призмы обрушения и закрепляют там с помощью инъецируемого в грунт раствора (рис.11). Грунтовой анкер устраивают следующим образом. После раз работки котлована до определенной отметки под углом к горизонту забуривают скважину диаметром 20- 30 см и глубиной 8-20 м, часто применяя при этом обсадные трубы. Тягу заводят в скважину, после чего в нее инъецируют раствор, замоноличивая анкер по всей длине или только в нижней его части. Когда раствор затвердеет, анкер натягивают. Грунтовые анкеры располагают друг от друга через 3-5 м.
Конструкции анкеров отличаются материалом, из которого изготовлена тяга, несущей способностью и способом закрепления в грунте. В качестве тяг применяют также стальные трубы, металлические рифленые стержни диаметром 18-40 мм, высокопрочную проволоку в виде пучков, прядей или канатов, профилированную сталь. Несущая способность анкера составляет 150-2500 кН, причем наибольшее значение относится к проволочным тягам. По способу заделки в грунт различают трубчатые ненапрягаемые анкеры и предварительно напряженные инъекционные анкеры без уширения или с уширением.
Рассмотренные виды крепления откосов выемок требуют значительного расхода металла. Несмотря на то, что 80% свай и шпунта удается извлечь, значительная их часть остается непригодной для последующего использования. Забивка свай и шпунта вызывает нежелательные последствия, связанные с шумом и сотрясением близрасположенных зданий. Поэтому более прогрессивными являются системы крепления с применением буронабивных свай или устраиваемые с помощью метода "стена в грунте", а также метода торкретирования.

Рис.11. Укрепление стенок котлованов с помощью грунтовых анкеров
а - схема анкерного крепления, б - технологическая последовательность установки грунтовых анкеров; 1 - свая; 2 - пояс-обвязка; 3 - контур подземного сооружения; 4 - грунтовой анкер, 5 - здание, расположенное рядом; I - бурение скважины с обсадной трубой; II - установка анкерной тяги и соединение ее с наконечником; III - извлечение обсадной трубы и инъецирование раствора; IV - натяжение тяги; V - закрепление тяг в анкерной головке
Нанесение покрытий на стенки выемки методом торкретирования осуществляется с помощью цемент-пушки или шприц-бетон-машины. В этом случае бетонная смесь под высоким давлением наносится на поверхность грунта стены котлована. Частицы первого слоя бетона проникают в грунт, а последующих слоев - в незатвердевшую еще бетонную смесь. При необходимости можно укладывать арматурную сетку по грунту или между слоями. В результате получают сплошное монолитное крепление толщиной до 75 мм. При сооружении глубоких котлованов торкретирование проводят ярусами. При значительной толщине покрытия торкрет-бетоном могут применяться грунтовые анкеры. Указанные системы креплений имеют еще одно преимущество, основанное на том, что само крепление входит в конструкцию подземного сооружения, образуя его стены.
Стенки траншей и небольших котлованов крепят с помощью деревянных щитов, закрепляемых стойками, подкосами, распорками. В последнее время при креплении стенок траншей шириной до 3 м все большее применение находят инвентарные крепления, состоящие из отдельных секций (например, конструкции ЦНИИОМТП, ВНИИГС и др.). Каждая секция состоит из сборно-раздвижных рам и инвентарных щитов ограждений. Распорные рамы опускают в траншею, после этого между стенками траншеи и распорных рам закладывают инвентарные щиты и раздвигают стойки с помощью винтовых распорок до плотного контакта щитов с грунтом.
Средства механизации комплексного технологического процесса производства земляных работ
Выполнение комплексного технологического процесса и составляющих его простых процессов и операций по созданию земляного сооружения или производства заданного объема земляных работ связано с выбором и применением землеройно-транспортной техники.
Механизация является одним из основных средств современного строительного производства, обеспечивающим замену ручного труда машинами и механизмами, повышение производительности труда, снижение стоимости и трудоемкости строительных работ. Прогресс в строительстве и, в частности, в области производства земляных работ во многом зависит от совершенствования технических параметров и технологических возможностей машин. В то же время, развитие конструктивных и технологических характеристик машин неразрывно связано с совершенствованием технологии и организации строительных процессов, потребностями в создании современных сооружений и конструкций.
В зависимости от степени охвата процессов и операций комплексного технологического процесса (КТП) техническими средствами различают частичную механизацию, комплексную механизацию и автоматизацию.
Частичная механизация обеспечивает выполнение с помощью машин лишь отдельных процессов. В этом случае затраты ручного труда сохраняются в значительных размерах. Такая форма механизации характерна, например, при производстве земляных работ на реконструкции зданий, когда из-за стесненности площадки многие операции выполняются вручную; при выполнении земляных малых объемов при разработке траншей, имеющих профиль переменной ширины. Сюда можно отнести и ситуации, когда составляющие процессы выполняются разрозненным набором машин, не соответствующих друг другу техническими и логическими параметрами.
Комплексная механизация предусматривает выполнение машинам процессов, в том числе подготовительных, вспомогательных и основных.
Автоматизация технологических процессов означает, что в условиях комплексной механизации, на части или на всех выполняемых процессах применяются машины-автоматы выполняющие не только функции производственные, но и функции управления и контроля протекающих процессов. Когда автоматизация применен частично, комплексный технологический процесс называют автоматизированным, а в случае полной автоматизации, - автоматическим. В земляных работах развитие автоматизации технологических процессов идет по пути установки на машинах автоматических устройств, выполняющих автоматизированное управление отдельными операциями машины.
Основной задачей, стоящей сейчас перед проектными и конструкторскими организациями, занятыми в области производства земляных работ, является окончательный переход от частичной и комплексной механизации.
Основное требование комплексной механизации заключается в том, что все машины, занятые на выполнении процессов и операций, должны соответствовать друг другу своими технико-экономическими и технологическими параметрами. В этом случае вводится понятие комплекта (системы) машин, а весь производственный процесс называют комплексно-механизированным технологическим процессом производства земляных работ.
В зависимости от выполняемых технологических процессов в составе КТП машины для земляных работ можно разделить на следующие группы: экскаваторы, землеройно-транс-портные машины, погрузчики, машины для уплотнения грунта, машины и оборудование для разработки мерзлых грунтов, машины и оборудование для подготовительных работ, машины и оборудование для бурения скважин, машины для гидромеханической разработки грунта, машины для транспортировки грунта.
Одноковшовые строительные экскаваторы (ЭО) относятся к машинам циклического действия. Главный параметр ЭО - вместимость ковша, м. Основные технологические параметры: глубина (высота) копания, максимальный радиус копания, высота погрузки. В народном хозяйстве применяют одноковшовые экскаваторы с вместимостью ковша до 100 м. В строительстве работают экскаваторы восьми размерных групп, имеющие вместимость ковша 0,15-4,0 м. Наибольшее распространение находят экскаваторы 4- и 5-й групп (вместимость ковша 0,65 и 1 м). На ряде моделей устанавливаются устройства, автоматизирующие отдельные операции рабочего процесса экскаватора. С помощью традиционного оборудования (прямая лопата, обратная лопата, драглайн, грейфер) одноковшовый экскаватор может быть использован на механизации следующих процессов переработки грунта, входящих в состав комплексного технологического процесса: разработка и укладка грунта в земляных сооружениях различных типов; погрузка грунта; перемещение грунта в пределах земляного сооружения.

Рис.12. Схемы работы гидравлических экскаваторов с различными видами рабочего оборудовании
а - экскаватор ЭО-4121А с прямой лопатой и поворотным ковшом; б - экскаватор ЭО-4321 с обратной лопатой; в - экскаватор с оборудованием драглайн: г - экскаватор ЭО-4121А с грейферным оборудованием
Большинство одноковшовых строительных экскаваторов - это универсальные машины, которые могут быть оснащены различными видами сменного рабочего оборудования. В последние годы в связи с широким распространением гидропривода универсальность одноковшового экскаватора еще более возросла. Современный гидравлический экскаватор может быть оснащен более чем десятью видами рабочего оборудования, которые значительно расширяют его технологические возможности.
Использование сменного рабочего оборудования дает возможность механизировать такие процессы, как:
зачистка дна выемок; дробление и удаление негабаритов и валунов;
отделка поверхности откосов земляного сооружения, дна выемок; послойное уплотнение грунта в стесненных условиях, при устройстве обратных засыпок; рыхление мерзлого и трудноразрабатываемого грунта.
На рис.12-20 приводе схемы работы гидравлических экскаваторов с различным оборудована.
Наиболее распространенными видами рабочего оборудования является прямая, обратная лопаты, драглайн и грейфер (рис.12).
Для погрузки ранее разработанного грунта, снятия верхнего слоя для планировочных работ применяют погрузочное оборудование, показанное на рис.13.
Проведение земляных работ, например, при разработке траншей под инженерные коммуникации, часто сопровождается сопутствующими работами, связанными с подачей оборудования, материалов, грузов. В этом случае используется крановое оборудование (рис.14).
Повышению качества, сокращению ручного труда при выполнении зачистных и планировочных работ способствует использование планировочного оборудования, в том числе в сочетании с телескопической стрелой (рис.15).
Для разработок выемок различных очертаний и габаритов могут применяться профильные ковши. На pис. 16 изображена схема разработки траншеи экскаватором, оснащенным таким ковшом.
Для реализации технологии производства земляных работ методом "стена в грунте" служит специальное штанговое оборудование, изображенное на рис.17.
Расширению области применения экскаваторов, в том числе при разработке трудноразрабатываемых мерзлых грунтов, способствует установка рыхлительного оборудования зуба-рыхлителя (рис.18) и гидро-молота (рис.19).
Этим же целям служит и захватно-клещевое оборудование, устанавливаемое на гидравлическом экскаваторе (рис.20). С помощью захватно-клещевого устройства можно также захватывать, грузить в транспорт или удалять в сторону крупные камни, негабариты, встречающиеся на площадке, где ведутся земляные работы.

Рис.13. Схема работы экскаватора ЭО-4121А с погрузочным оборудованием при снятии слоя грунта (а), при по грузке грунта с погрузочным ковшом (б)

Рис.14. Схема работы экскаватора с крановым оборудованием

Рис.15. Схема работы экскаватора ЭО-3332 с телескопическим планировочным оборудованием

Рис.16. Технологическая схема разработки грунта в траншее лобовым забоем экскаватором ЭО-5015А, оборудованным выгрузкой грунта в отвал

Рис.17. Схема работы экскаватора со штанговым оборудованием для выполнения работ методом "стена в грунте"
Применению экскаваторов в условиях реконструкции объектов, работе в цехах, вблизи стен и фундаментов служит оборудование для работы в стесненных условиях, изображенное на рис.21. Шарнирное сочленение основных элементов рабочего оборудования как в вертикальной, так и горизонтальной плоскости позволяет приспосабливаться к конкретным условиям производства работ.
Предполагается, что и в дальнейшем развитие одноковшовых экскаваторов будет связано с совершенствованием их технологических характеристик, разработкой рабочих органов, позволяющих гибко реагировать на изменяющиеся условия производства работ. Это позволит в полной мере использовать потенциальные возможности гидравлических машин, представляющих собой пример современных манипуляторов.
Экскаваторы непрерывного действия (ЭН) подразделяются на экскаваторы продольного, поперечного, радиального копания. Как средство комплексной механизации технологических процессов производства земляных работ в строительстве наибольшее распространение получили экскаваторы продольного копания. К ним относятся многоковшовые цепные и роторные траншеекопатели, цепные скребковые, роторные бесковшовые (фрезерные), экскаваторы-дреноукладчики, экскаваторы-каналокопатели. Эти машины менее универсальны, чем одноковшовые экскаваторы. Применение ЭН ограничено типом земляного сооружения. Обычно это сооружение простой пространственной формы, глубиной до 4 м с шириной выемки поверху до 2 м. Значительное влияние на возможность использовать ЭН оказывают стесненность условий и группа разрабатываемого грунта. Главный параметр ЭН - глубина копания. Основные технологические параметры: ширина разрабатываемой траншеи поверху и понизу. С помощью ЭН могут быть механизированы следующие процессы: разработка грунта в земляных сооружениях типа "траншея", "канал"; нарезание щелей в массиве грунта для взрывных работ при разработке мерзлого грунта; отделка дна, откосов, верха постоянных земляных сооружений с помощью ЭН поперечного копания.
На рис.22 показаны схемы разработки грунта цепным экскаватором непрерывного действия ЭТЦ-252.
На отдельных марках экскаваторов непрерывного действия устанавливают автоматические устройства, позволяющие регулировать положение рабочего органа для создания траншеи с заданным уклоном дна, согласовывать рабочие скорости движения машины и рабочего органа.

Рис.18. Схема работы экскаватора ЭО-3332А с зубом-рыхлителем

Рис.19. Схема работы экскаватора ЭО-3322Б с гидромолотом СП-71 для рыхления мерзлых и трудноразрабатываемых грунтов
Датчиком сигнала для выдерживания заданного уклона, для траншей служит копирная проволока, правильность положения которой проверяют нивелиром. Вдоль проволоки перемещается щуп, подающий сигнал на подъем или опускание рамы рабочего органа экскаватора. В последние годы в качестве датчиков используют световые лучи, в частности лазерные. Предусмотрена возможность смещения рамы рабочего органа в сторону от оси экскаватора, что позволяет производить отрывку траншей вдоль дорог, заборов, у стен зданий. Автоматизация управления рабочим процессом экскаваторов непрерывного действия значительно повышает производительность и качество работ, эффективность комплексного технологического процесса.

Рис.20. Технологическая схема разработки выемок экскаватором ЭО-4121А, оборудованным обратной лопатой и захватно-клещевым устройством
1 - экскаватор; 2 - автомобиль-самосвал; 3 - вешки

Рис.21. Схема работы экскаватора, снабженного шарнирно-сочлененной для работы в стесненных условиях
Одноковшовые погрузчики получили большое распространение при производстве земляных работ в строительстве. Это связано с тем, что современные модели этих машин своей мобильностью, маневренностью, простотой конструкции, особенно пневмоколесные фронтальные погрузчики, превосходят одноковшовые экскаваторы. Вместе с тем погрузчики имеют целый ряд ограничений по условиям производства работ, типу и параметрам земляного сооружения. Применение погрузчиков позволяет механизировать следующие процессы и операции комплексного технологического процесса: снятие и перемещение растительного слоя грунта; подготовка забоя, содержание и ремонт землевозных работ; зачистка дна выемок, срезка грунта в земляных сооружениях типа "котлован", "траншея", "яма", "планировочная площадь", "отвал"; разработка и транспортировка грунта при устройстве подземных сооружений; погрузка грунта; перемещение грунта на расстояние до 200 м; послойное разравнивание грунта; планировка грунта; обратная засыпка выемок и пазух. Главный параметр одноковшовых погрузчиков - грузоподъемность. Основные технические параметры - вместимость ковша, мощность двигателя, масса. Основные технологические параметры - высота разгрузки, длительность цикла, наименьшее расстояние от рабочей кромки ковша при разгрузке до борта транспортного средства. У нас выпускаются одноковшовые погрузчики грузоподъемностью -2, 3, 4, 6 т. Создан погрузчик грузоподъемностью 15 т с вместимостью ковша 7,5 м. Область применения погрузчика при производстве земляных работ может быть расширена за счет установки на стрелу машины бульдозерного, рыхлительного, экскавационного, толкающего и другого оборудования.

Рис.22. Технологическая экскаватором схема разработки грунта непрерывного действия при устройстве траншеи ЭТЦ-252
Широкое распространение в строительстве, в том числе в подземном, а также при устройстве подземных частей зданий и сооружений, получают многоцелевые малогабаритные погрузчики. На рис.23 показана схема одной из таких моделей грузоподъемностью до 1 т. Погрузчик может быть оснащен сменным экскаваторным оборудованием для разработки выемок глубиной до 3 м.
К землеройно-транспортным машинам относят скреперы, бульдозеры, грейдеры и грейдер-элеваторы. Несмотря на ряд ограничений по их применению, связанных с геометрическими размерами и пространственной формой земляного сооружения, дальностью транспортировки грунта, узкой специализацией отдельных типов машин, с помощью землеройно-транспортных машин можно выполнять большинство основных, вспомогательных, подготовительных процессов при различных условиях производства работ. Стоимость работ, выполняемых этими машинами, в 3-4 раза меньше стоимости работ, выполняемых одноковшовыми экскаваторами.
Скреперы подразделяются на прицепные, полуприцепные, самоходные. Главный параметр - вместимость ковша, м. Основные технологические параметры: грузоподъемность, ширина и глубина резания, толщина отсыпаемого слоя. В настоящее время в строительстве применяются скреперы с вместимостью ковша 3-15 м . В последние годы в мировой практике стали применяться скреперы, имеющие вместимость ковша до 60 м. В нашей стране разработан и изготовлен самоходный скрепер ДЗ-107-1 с вместимостью ковша 25 м. Осваивается производство скреперов с вместимостью ковша 40 м .
Ширина резания скреперов с вместимостью ковша 4-25 м колеблется в пределах 2200-2800 мм. Максимальная глубина резания для этих машин составляет 250-400 мм. Для автоматизации управления скрепером при выполнении им процессов планировки грунта и разработки грунта в земляных сооружениях типа "планировочная площадь" создана система "Стабилоплан", устанавливаемая на прицепном скрепере ДЗ-20Б с вместимостью ковша 8 м.
Для полного и быстрого заполнения грунтом ковша скреперов традиционной конструкции использую тракторы-толкачи.

Рис.23. Многоцелевой малогабаритный погрузчик
а - оборудование погрузчика; б - сменное экскаваторное оборудование
В целях повышения производительности скреперов, уменьшения времени рабочего цикла разработаны конструкции скреперов с принудительной (экскаваторной) загрузкой ковша двухмоторных скреперов, скреперных поездов 2х15 м. Это позволяет в ряде случаев работать без толкачей и снизить стоимость разработки грунта.
С помощью скрепера могут быть механизированы следующие процессы производства земляных работ: разработка и укладка грунта в земляные сооружения различных типов; перемещение грунта на расстояние от 100 до 5000 м; снятие и перемещение растительного слоя; послойное разравнивание грунта.
Расширению технологических возможностей, повышению производительности скреперов способствует применение различных схем движения при выполнении рабочего цикла; наиболее известны такие схемы, как "зигзаг", "эллипс", "восьмерка","спираль", "челночно-поперечная", "челночно-продольная".
На рис.24 представлена схема разработки грунта скрепером ДЗ-20 при отрывке котлована под фундамент многоэтажного промышленного здания.
Бульдозеры выполняют значительные объемы земляных работ в строительстве. Основные технические параметры - мощность базовой машины и масса. Технологические параметры - длина отвала бульдозера. В настоящее время находят применение бульдозеры с мощностью базового трактора свыше 600 кВт. В нашей стране освоен выпуск гусеничных бульдозеров мощностью 243 кВт. Создан колесный бульдозер, имеющий мощность базовой машины 405 кВт. Намечается освоить производство гусеничных бульдозеров с мощностью базовой машины свыше 400 кВт, колесных бульдозеров мощностью 500 кВт и в перспективе 1000 кВт.
Наибольшее применение в строительстве находят бульдозеры на базе промышленных тракторов Т-130. Расширению технологических возможностей бульдозера способствует установка на базовый трактор вместе с бульдозерным оборудованием дополнительного сменного оборудования, такого, как рыхлитель, откосник, кусторез, открылок, удлинитель, упоры (для использования бульдозера в качестве толкачей для скреперов) и др. Широкое применение гидропровода позволило улучшить систему управления отвала в плане и его поперечный перекос. Повышение эффективности работы бульдозера достигается за счет установки на них автоматизированной системы "Автоплан", обеспечивающей автоматизированное управление рабочим органом бульдозера и повышение качества планировочных работ.
Использование бульдозера в составе комплексного технологического процесса позволяет обеспечить механизацию большого числа вспомогательных, подготовительных и основных процессов: корчевку пней и кустарника; снятие и перемещение растительного слоя грунта; устройство и содержание съездов и землевозных дорог; планирование, зачистку и отделку элементов земляного сооружения; устройство дренажных канав; устройство въездов; разработку и укладку грунта в земляных сооружениях различных типов; перемещение грунта в пределах строительной площадки; послойное разравнивание укладываемого грунта; рыхление мерзлых и трудноразрабатываемых грунтов; обратную засыпку выемок и пазух.

Рис.24. Технологическая схема разработки грунта скрепером ДЗ-20 при отрывке котлована под фундамент многоэтажного промышленного здания
а - скрепер; б - технологическая схема работы скрепера
На рис.25 показана схема рыхления мерзлого грунта верхнего яруса котлована бульдозером-рыхлителем и перемещение мерзлого грунта в отвал бульдозерами.
Развитие бульдозеров как в направлении повышения мощности базовых тракторов, так и в направлении создания и выпуска малогабаритных мобильных машин позволит расширить область использования бульдозеров.

Рис.25. Технологическая схема рыхления мерзлого грунта верхнего яруса котлована бульдозером-рыхлителем ДП-9 и перемещение грунта в отвал бульдозерами ДЗ-27
1 - бульдозер ДЗ-27; 2 - рыхлитель ДП-9
Для создания устойчивых, надежных и прочных земляных сооружений укладываемый грунт необходимо уплотнять. Уплотняют грунт обычно послойно, по мере его поступления. Различают следующие способы уплотнения грунтов: укатывание, трамбование, вибрация.
Для уплотнения связных и малосвязных грунтов (суглинков, супесей) применяется способ укатки. Несвязные грунта (песчаные, гравелистые, галечные) рекомендуется уплотнять трамбованием и вибрацией. Машины для уплотнения грунтов подразделяют на следующие группы: катки статического действия с гладкими, кулачковыми и вибровальцами, с пневматическими шинами; трамбующие машины с вальцами, с падающим грузом, с трамбующими плитами, с виброплитами.
Главный параметр грунтоуплотняющих машин - масса вместе с балластом, т. Основные технологические параметры: ширина полосы уплотнения, толщина уплотняемого слоя Катки на пневматических шинах выпускаются массой вместе с балластом от 10 до 100 т. Самоходные вибрационные катки имеют массу до 8 т. Катками с гладкими вальцами н пневмоколесном ходу можно уплотнять грунты слоями по 0,4 м. Число проходов катков по одному месту при уплотнении связных грунтов колеблется от 8 до 12.
Грунтоуплотняющие машины способны выполнять лишь одну операцию в составе комплексного процесса - послойное уплотнение укладываемого грунта. Для уплотнения грунта в стесненных условиях используют различного рода трамбовки, также подвешенное к стреле экскаватора оборудование для уплотнения.
На рис.26 представлены схемы уплотнения грунта при устройств грунтовых оснований прицепным виброкатком и экскаватором с навесньм гидромолотом и трамбующей плитой.
Доля грунта, разрабатываемого в мерзлом состоянии, составляет 10-15% общего объема разрабатываемого в строительстве грунта при абсолютном значении свыше 1 млрд. м2 Совершенствование технологии разработки мерзлых грунтов является одно из важнейших проблем в области производства земляных работ. Основными методами выполнения земляных работ в зимних условиях являются:
предохранение грунтов от промерзания; тепловое оттаивание мерзлых грунтов, рыхление мерзлых грунтов с помощью взрыва; рыхление и разработка мерзлых грунтов с помощью машин и оборудования.
Механическое рыхление грунтов, находящихся в замерзшем состоянии, производится с помощью рабочих органов, навешиваемых на экскаваторы, краны, тракторы. К ним относятся свободно падающие шары, клинья большой массы. Эти механизмы являются малопроизводительными и вытесняются современным оборудованием - пневмомолотами, гидромолотами, захватно-клещевыми устройствами. Отечественной промышленностью освоен выпуск современных гидравлических молотов СО1-183, СП-70, СП-62, СО1-136, имеющих массу ударной части от 100 до 1000 кг, частоту ударов от 300 до 130 мин-1 при глубине рыхления грунта свыше 1 м за один проход.
На рис.27 показана схема рыхления мерзлого грунта экскаватором ЭО-4121А с навесным гидравлическим молотом СП-62.

Рис.26. Технологическая схема уплотнения грунт прицепным виброкатком (а) и гидравлическим экскаватором с навесным уплотняющим оборудованием (б)
1 - виброкаток. 2 - уплотняемый слой толщиной 400 мм: 3 - экскаватор с навесным оборудованием
Для послойного рыхления мерзлых и плотных грунтов применяют навесные и вибровальцовые рыхлители. Современные рыхлители на базе тракторов с бульдозерным оборудованием благодаря своим широким технологическим возможностям находят широкое применение в строительстве. Это обусловлено из высокой экономичностью. Так, стоимость разработки грунта с применением рыхлителей по сравнению с взрывным способом рыхления в 2-3 раза ниже. В нашей стране освоен выпуск мощных бульдозеров-рыхлителей на базе трактора Т-330. Глубина рыхления у этих машин составляет 700- 1400 мм.

Рис.27. Технологическая схема рыхления мерзлого грунта экскаватором ЭО-4121А с навесным гидромолотом СП-62
1 - экскаватор с навесным гидромолотом СП-62; 2 - экскаватор с зачистным ковшом
Разработка мерзлых грунтов может производиться одноковшовыми экскаваторами и экскаваторами непрерывного действия. Одноковшовые экскаваторы могут непосредственно разрабатывать мерзлый грунт традиционными ковшами при малых глубинах промерзания (0,25-0,4 м), ковшами с пневмоударными и виброударными активными зубьями, а также разрабатывать мерзлый грунт отдельными блоками, предварительно нарезанными баровыми или дискофрезерными машинами. Разработку грунта без предварительного рыхления можно вести также цепными и роторными траншейными экскаваторами непрерывного действия. В нашей стране разработаны и созданы машины для разработки грунтов, замороженных на глубину от 1 до 2 м. Для создания траншей под магистральные трубопроводы созданы машины, способные разрабатывать грунт с промерзанием на глубину до 3 м. Производительность экскаваторов при работке мерзлых грунтов состав 10-20% их нормативной производительности.
Для выполнения подготовительных процессов используют специальные машины: кусторезы, корчеватели-собиратели, а также бульдозеры, скреперы и рыхлители. Кусторезы служат для очистки площадки от кустарника и мелколесья. Кусторезом на трактора Т-130 можно очищать полосу шириной 3,6 м. Корчеватели-собиратели применяют для извлечения из грунта крупных камней, пней, уборки срезанного кустарника и повале деревьев. Корчеватели-собиратели на базе трактора Т-130 способны рать камни и негабариты массой до 3 т и корчевать пни диаметром до 0,6 м. Производительность этих машин составляет 50-60 пней в 1 ч до 0,5 га расчищенной территории в 1 ч.
В состав комплексного процесса могут входить процессы и операции, связанные с необходимостью бурения грунтов. К ним относятся: разработка грунта в земляных сооружениях типа "яма"; создание скважин для устройства фундаментов, опор, набивных свай; бурение шпуров в мерзлом грунте и горных породах для производства взрывных работ с целью рыхления грунта.
Механизация этих процессов осуществляется с помощью бурильных машин и бурового оборудования, устанавливаемого на одноковшовые экскаваторы или краны. Бурильные машины изготовляют на базе автомобиля или трактора и обеспечивают устройство скважин диаметром 0,35; 0,5; 0,65; 0,8 м, глубиной до 8 м. В последние годы, в связи с широким распространением в строительстве буронабивных свай получили развитие конструкции буровых установок для бурения скважин диаметром до 2 м и глубиной до 30 м.
Одним из основных процессов при разработке грунта является транспортировка грунта. Механизация процесса транспортировки осуществляется с помощью землеройно-транспортных машин и специальных транспортных средств - автомобилей-самосвалов и землевозов. Наибольшее применение имеют автомобили-самосвалы. Главный параметр автомобиля-самосвала - грузоподъемность, т. В нашей стране освоено серийное производство автомобилей-самосвалов грузоподъемностью до 75 т, создан самосвал, способный перевозить 120 т, начато производство новых самосвальных автопоездов грузоподъемностью 22 т. Наибольшее применение в строительстве для перевозки грунта при производстве земляных работ находят автомобили-самосвалы марок ЗИЛ, МАЗ, КамАЗ, КрАЗ грузоподъемностью 4,5-12 т. В последующие годы предполагается увеличение удельного веса автомобилей-самосвалов грузоподъемностью 10 т и выше. Совершенствуются конструкции этих машин, растет производительность за счет увеличения объема кузова, применения разных схем разгрузки, включая донную и боковые, снижения времени подъема и опускания кузова. За рубежом большое распространение получают землевозы грузоподъемностью до 40 т.
При устройстве подземных частей зданий и сооружений в комплекс земляных работ входит обратная засыпка фундаментов, коллекторов, тоннелей, пазух котлованов и траншей. Выполнение обратной засыпки в ряде случаев усложняется стесненными условиями производства работ. Если расстояние между фундаментами позволяет проезд автомобиля-самосвала, то отсыпку осуществляют полосами вдоль пролета с дальней точки котлована "на себя". При этом самосвалы передвигаются по основанию, на которое укладывается слой грунта. Если расстояние между фундаментами недостаточно для перемещения самосвалов, грунт транспортируют и разравнивают малогабаритными бульдозерами и погрузчиками. При ширине просвета между фундаментами и другими конструкциями подземной части менее 0,9 м грунт разравнивают вручную.
Обратная засыпка грунтом узких и глубоких пазух (рис. 28) производится следующим образом. Грунт доставляют к месту укладки автосамосвалами I, а затем небольшими порциями сталкивают бульдозерами с бровки II и разравнивают в нижней части экскаватором III; послойное уплотнение выполняется последовательными проходками трамбовки IV. В верхней части пазухи при достаточной ее ширине грунт разравнивают бульдозером и уплотняют самоходными катками.

Рис.28. Технологическая схема обратной засыпки пазух котлована
1 - экскаватор ЭО-4121А N1, 2 - экскаватор ЭО-4121 N 2; 3 - бульдозер ДЗ-54 N 1; 4 - бульдозер ДЗ 54 N 2; 5 - виброплита; 6 - автомобиль-самосвал МАЗ-503А; 7 - трамбовка 8 - подземная часть; 9 - виброкаток