| Скачать .docx |
Реферат: Многоэтажное здание
Федеральное агентство по образованию (Рособразование)
Северный (Арктический) федеральный университет
Инженерных конструкций и архитектуры
(наименование кафедры)
Саенко Юрий Викторович
(фамилия, имя, отчество студента)
| Институт |
ИСиА |
курс |
III |
группа |
3 |
ПОЯСНИТЕЛЬНАЯ ЗАПИСКА
по дисциплине архитектура .
_______________________________________________________ _______________
На тему Многоэтажное здание .
(наименование темы)
_______________________________________________________________________
_______________________________________________________________________
Работа допущена к защите _______________________________________________
(подпись руководителя) (дата)
Признать, что работа
выполнена и защищена с оценкой ________________________________________
Руководитель проекта ___________ Барашков Ю.А.
(должность) (подпись) (Фамилия И.О.)
___________________
(дата)
Архангельск
2011
СОДЕРЖАНИЕ:
1. Исходные данные 3
2. Расчет сопротивления теплопередаче наружной стены 4
3. Расчет сопротивления паропроницанию наружной стены 7
Список литературы 8
1. ИСХОДНЫЕ ДАННЫЕ.
· Характеристика района строительства (г. Архангельск):
-расчетная температура наружного воздуха холодного времени года- text =- 31 0 С (определяем по таблице 1 источника [2]);
-средняя температура воздуха периода со среднесуточной температурой воздуха меньшей 8 0 С – tht =-4,4 0 С (определяем по таблице 1 источника [2]);
-продолжительность периода со среднесуточной температурой воздуха меньшей 80 С – zht =253 сут (определяем по таблице 1 источника [2]);
-зона влажности – нормальная (определяем по приложению В источника [3]);
· Назначение помещения – многоэтажный жилой дом:
- температура внутреннего воздуха – tint =20 0 С (определяем по таблице 1.2 источника [1]);
-влажность воздуха в указанном помещении – φ =55% (определяем по таблице 1.3 источника [1]);
-влажностный режим помещения – нормальный (определяем по таблице 1.1 источника [1]);
-условия эксплуатации ограждающей конструкции – Б (определяем по таблице 1.4 источника [1]);
2. РАСЧЕТ СОПРОТИВЛЕНИЯ ТЕПЛОПЕРЕДАЧЕ НАРУЖНОЙ СТЕНЫ
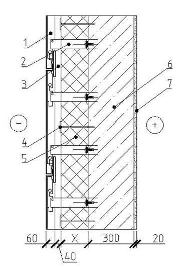
2.1. Конструкция стены:

| Теплотехнические характеристики материала стены |
|||
| Материал |
Наименование характеристик |
||
| δ , м. |
ρ , кг/м3 |
λ , Вт/м. 0 С |
|
| 1. система листовой отделки |
0,06 |
- |
- |
| 2. элемент крепления системы |
0,004 |
- |
58 |
| 3. вентилируемая воздушная прослойка |
0,04 |
- |
- |
| 4. деталь крепления минеральной ваты |
0,008 |
- |
58 |
| 4. Isover ВентФасад Моно |
х |
50 |
0,045 |
| 6. монолитная железобетонная стена |
0,30 |
2500 |
2,04 |
| 7. штукатурка |
0,02 |
7850 |
0,76 |
· Определяем градусо-сутки отопительного периода:
![]()
(0
С.
сут);
· Определяем нормируемое сопротивление теплопередаче:
;
где
;
;
Коэффициенты a и b определяем по таблице 4 источника [3];
(м2
. 0
С/Вт);
(м2
. 0
С/Вт);
· Определяем необходимую толщину утепляющего слоя через общее сопротивление ограждающих конструкций:
![]()
, где
- коэффициент теплотехнической однородности (определяем по таблице 6 источника [5]);)
![]()

![]()
(м2 . 0
С/Вт)
(м) – по конструктивным соображениям принимаем
(м);
(м2
. 0
С/Вт);
(м2 . 0
С/Вт) <
(м2 . 0
С/Вт) – конструкция соответствует требованиям показателей Б СНиП 23.02.2003.
· Проверяем возможность выпадения конденсата на внутренней поверхности ограждающих конструкций.
Температура поверхности ограждающей конструкции должна быть не ниже температуры точки росы внутреннего воздуха при расчетной зимней температуре наружного воздуха, равной средней температуре наиболее холодной пятидневки обеспеченностью 0,92:
- температура внутренней поверхности вне теплопроводного включения определяется по формуле:
(0
С);
- температура внутренней поверхности по металлическому тепловому включению определяется по формуле:

![]()
определяем по таблице 9 источника [5];
;
;
![]()
- температура точки росы -
(определяем по приложению Р источника [4]);
и
выпадение конденсата на внутреннюю поверхность стены и по теплопроводму включению не произойдет, следовательно конструкция соответствует требованиям параметров Б СНиП 23.02.2003.
3. РАСЧЕТ СОПРОТИВЛЕНИЯ ПАРОПРОНИЦАНИЮ НАРУЖНОЙ СТЕНЫ
В конструкции стены предусмотрена вентилируемая воздушная прослойка, следовательно, накопившейся конденсат на внешней поверхности будет удаляться потоками воздуха, накопление влаги в толще утеплителя происходить не будет. В расчете на паропроницаемость конструкция не нуждается. В пароизоляции нет необходимости.
СПИСОК ИСПОЛЬЗОВАННЫХ ИСТОЧНИКОВ:
1. Учебное пособие «Теплозащита зданий в северных условиях» А.Д. Худяков.
2. СНиП 23-01-99 (2003) «Строительная климатология»
3. СНиП 23-02-2003 «Тепловая защита зданий»
4. СП 23-101-2004 Проектирование тепловой защиты зданий
5. СТО 17532043-001-2005 СТО 17532043-001-2005 «Нормы теплотехнического проектирования ограждающих конструкций и оценки энергоэффективности зданий»