| Скачать .docx |
Курсовая работа: Расчет ребристой плиты и фундамента стаканного типа
1. Расчет ребристой плиты покрытия
1.1 Назначение размеров плиты
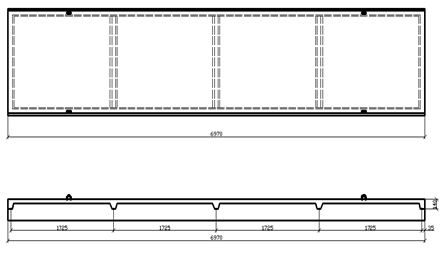
Принимаем ребристую плиту шириной 1,5 м, длиной 7 м, высотой 0,3 м.
Конструктивные размеры плиты:
Ширина 1500 – 10 = 1490 мм
Длина 7000 – 30 = 6970 мм
Принимаем толщину полки 30 мм, в плите предусматриваем 5 поперечных ребер.
В плите рассчитывается полка плиты.
1.2 Сбор нагрузок на полку плиты

Рис. 1
Таблица 1
| Вид нагрузок |
Подсчет нагрузок |
Nн , Н/м2 |
γf |
N, Н/м2 |
| Бронированный слой |
16000*0,015 |
240 |
1,2 |
288 |
| 4 слоя толькожи на мастике |
8000*0,02 |
160 |
1,2 |
192 |
| Цементно-песчаная стяжка |
20000*0,022 |
440 |
1,2 |
528 |
| Утеплитель |
7000*0,16 |
1120 |
1,2 |
1344 |
| Пароизоляция |
8000*0,005 |
40 |
1,2 |
44 |
| Вес полки плиты |
25000*0,03 |
750 |
1,1 |
825 |
| Временная снеговая нагрузка г. Житомира |
ДБН В.1.2.2.2006 |
1600 |
- |
1280 |
| Итого |
4390 |
4501 |
1.3 Характеристики материалов
Бетон класса В – 20, Rb = 11,5 мПа; Rbt = 1,05 мПа, рабочая арматура класса А-III,
Rs = 365 мПа. Принимаем поперечную арматуру класса А-I, Rsw = 175 мПа. Полку плиты армируем рулонной сеткой из проволоки класса ВР-1 Ø3 мм Rs = 375 мПа;
Rsw = 270 мПа.
1.4 Расчет полки плиты по нормальным сечениям
Рис. 2

Рис. 3
=
= 1,4 < [2]
Если отношение меньше 2, тогда полку плиты рассчитываем, как плиту опертую по контуру и тогда расчет ведется по полосу шириной 1 м.
4501 Н/м2
1 м = 4501 Н/м
Определяем максимальный изгибающий момент:
М =
277 Н/м
Определяем рабочую высоту и сечение элемента:
=
=
= 1,5 см
Определяем характеристику бетона:
Ао = 0,107 табл. 3.1 стр. 89 [1] η = 0,944
Определяем площадь рабочей арматуры:
Аs
=
= 0,52 см2
Из [5] стр. 247 принимаем сетку 200/200/3/3; Аs прод = 0,4 см2 ; Аs попер = 0,36 см2
1.5 Расчет поперечных ребер
q = 4501 Н/см2

Рис. 4
В расчете поперечное ребро рассматривается как балка пролетом l = 1,29 м, частично заземленная в продольных ребрах.
qгр
= q (2
+ bр
) = 4501 (2
+ 0,1) = 6256,4 Н/м2

Рис. 5
Принимаем а = 2 см, тогда hо = h – a = 14 – 2 = 12 см
Определяем ширину свесов полок:
bсв
= 1/3
=
= 0,215 м
b| f = 2 bсв + bp = 2 * 0,215 + 0,1 = 0,52 м
Определяем изгибающий момент
М =
=
= 867,6 Н*м
Мгр
= Rb
b|
f
h|
f
(ho
– 0,5h|
f
) = 11,5
102
52
3
(12 – 0,5
3) = 18837 Н*м
М=867,6
Мгр
= 18837 – 2 расчетный случай b = b|
f
= 52 см
Ао
=
= 0,01 из табл. 3.1, стр. 89 η = 0,995
Аs
=
=
= 0,2 см2
Принимаем 1Ø6 А – ІІІ Аs = 0,283 см2
μ% =
=
= 0,24%
μ % max
=ρ
100=
= 1,9%
Расчет поперечного ребра по наклонным сечениям. Определяем поперечную силу:
Q =
=
= 2017,6 Н
Q ≤ 0,6 Rbt
b
ho
= 0,6
0,9
102
7,5
12 = 4860 Н условие выполняется, значит расчет не требуется.
Армируем поперечное ребро поперечной арматурой конструктивно. Принимаем арматуру Ø6 А – І
S =
=
= 7 см
1.6 Расчет продольного ребра
Расчет продольного ребра по нормальным сечениям
Сбор нагрузок на 1 м2 плиты.
Таблица 2
| Вид нагрузок |
Подсчет нагрузок |
Nн , Н/м2 |
γf |
N, Н/м2 |
| Бронированный слой |
16000*0,015 |
240 |
1,2 |
288 |
| 4 слоя толькожи на мастике |
8000*0,02 |
160 |
1,2 |
192 |
| Цементно-песчаная стяжка |
20000*0,022 |
440 |
1,2 |
528 |
| Утеплитель |
7000*0,16 |
1120 |
1,2 |
1344 |
| Пароизоляция |
8000*0,005 |
40 |
1,2 |
44 |
| Вес полки плиты |
По каталогу |
1700 |
1,1 |
1870 |
| Временная снеговая нагрузка г. Житомира |
ДБН В.1.2.2.2006 |
1600 |
- |
1280 |
| Итого |
5300 |
5546 |
Нагрузка на 1 м плиты составит
q = 5546 Н/м2
1,5 м = 8319 Н/м
Определяем действующие усилия в элементе:
Ммах
=
=
= 50518 Н*м = 50,518 кН*м
Qmax
=
=
= 28992 Н = 28,992 кН
Мгр = Rb * b| f * h| f* (ho – 0,5h| f) = 11,5 * 102 * 149 * 3 (25 – 0,5 * 3) = 121 кН*м
ho = h – a = 30 – 5 = 25 см
М = 51 кН*м < Мгр = 121 кН*м – I расчетный случай x ≤ h| f

Рис. 6
Определяем характеристики бетона
Ао = 0,047
Из [1] табл. 3.1 η = 0,975
Аs
=
= 5,7 см2
Из [1] табл. 2 стр. 431 принимаем 2 Ø14 АIII и 2 Ø16 АIII по одной каждого диаметра в каждом ребре. Аs = 7,1 см2
μ% =
100% =
= 1,6%
Расчет прочности наклонных сечений
Q ≤ К1 *Rbt *b*ho = 0,6 * 0,9 * 102 * 18 * 25 = 24300 Н
Qмах = 28992 Н < Q = 24300 Н
Условие выполняется, следовательно расчет продольного ребра на перпендикулярную силу не требуется и элемент армируем конструктивно.
Принимаем поперечную арматуру Ø4 А-I, шаг поперечных стержней
S1 = h/2 = 300/2 = 150 мм принимаем S1 = 115 мм.
S2 = ¾ h = ¾ *30= 23 < [30] принимаем S2 = 230 мм.
Расчет эпюры материалов
М= 50,1 кН*м 2Ø14 АІІІ, 2Ø16 АІІІ Аs = 7,1 см2
Мсеч = 0,85 * ho * Rs * As = 0,85 * 25 * 365 * 102 * 7,1 = 55,1 кН*м
М = 50,1 кН*м < Мсеч = 55,1 кН*м
Строим эпюру материалов.
После обрыва двух верхних стержней 2Ø14 АIII Аs = 3,08 см2 в работе участвуют только нижние стержни 2 Ø16 АIII Аs = 4,02 см2 .
Определяем несущую способность.
Мсеч = 0,85 * ho * Rs * As | = 0,85 * 25 * 365 * 102 * 4,02 = 31,2 кН*м
На эпюру моментов накладываем эпюру материалов; на эти же два момента и в том же масштабе откладываем Мсеч . Через точку Мсеч проводим горизонтальную линию до пересечения с эпюрой моментов; точки пересечения и являются теоретическими точками обрыва верхнего рабочего стержня.
Расчет подъемных петель плиты
1. Определяем площадь плиты А=1,49*6,97 = 10,34 м2
2. Определяем вес плиты Q = A*q = 10,34*1870 = 19336 Н = 1933,6 кг
3. Определяем нагрузку приходящуюся на одну петлю q =
=
= 1451 кг.
4. Определяем площадь сечения арматурной петли
fsw
=
0,65 см2
Принимаем 1Ø10 А-I As = 0,785 см2 из табл. 2 стр. 431 [1]
2. Расчет столбчатого фундамента под колонну
2.1 Сбор нагрузок на колону
Определяем грузовую площадь, действующую на колону:
А = 24*7 = 168 м2
1. Нагрузка от покрытия
Nп = 5546 Н/м2 * 168 м2 = 932 кН
2. Нагрузка от фермы Nф = 55 кН
3. Нагрузка от кран-балки Qб = 80 кН
4. Q = b * h * l * ρ * γf = 0,4 * 0,4 * 8 * 25 * 103 * 1,1 = 35,2 кН
N = 1102,2 кН
Определяем нормативную нагрузку:
Nн
=
958 кН
2.2 Принимаем для фундамента бетон класса В 20; Rb = 11,5 мПа; Rbt = 0,9 мПа
Принимаем рабочую арматуру класса А III; Rs = 365 мПа; глубина заложения фундамента – 1,7 м.
2.3 Определение размеров фундамента
Глубина заложения колонны в стакан фундамента
hзал = 1.5*bk = 60 см
Глубина стакана
hст = hзал + 5 см = 65 см
Высота фундамета
hф
= hст
+ 20 см = 85 см
90 см
Рабочая высота фундамента
hо = hф – а = 90 – 5 = 85 см
Определяем площадь подошвы фундамента по усилиям
Аф
= =
= 4,4 м2
аф
= bф
= =
= 2,11 м
Принимаем аф = bф = 2,2 м, тогда Аф = 2,22 = 4,84м2

Рис. 7
Определяем среднее давление на грунт основания по подошве фундамента с учетом собственного веса фундамента.
Ргр
=
+ ρ * Нф
=
+ 20 * 1,7 = 232 кН/м = 0,232 мПа
Ргр = 0,232 мПа < Rгр = 0,25 мПа
2.4 Расчет рабочей арматуры фундамента
Изгибающие моменты в фундаменте возникают по всем граням тела фундамента.
μ1
= =
= 23 кН*м
μ2
= =
= 92 кН*м
μ3
= =
= 207 кН*м
Аs1
=
=
= 2,87 см2
Аs1
=
=
= 5 см2
Аs1
=
=
= 7,4 см2
Принимаем шаг рабочих стержней в фундаменте равный 150 мм.
Определяем количество необходимых стержней.
n = =
+ 1 = 15 стержней
Из [1] стр. 431 принимаем 15 Ø10 А – III As = 11,8 см2
Список использованной литературы
| Автор |
Наименование |
Издательство |
Год издательства |
| Т.Н. Цай |
«Строительные конструкции» т. 2 |
Стройиздат Москва |
1985 г. |
| ДБН В.1.2.2.2006 «Нагрузки и воздействия» |
|||
| Л.П. Попов |
«Строительные материалы и детали |
Стройиздат Москва |
1986 г. |
| А.П. Мандриков |
«Примеры расчета ж/б конструкций» |
Стройиздат Москва |
1989 г. |