| Скачать .docx |
Реферат: Лабораторная работа: Исследование температурного поля наружного угла методом электрического моделирования
Министерство образования Российской Федерации
Государственное образовательное учреждение
высшего профессионального образования
Череповецкий Государственный Университет
Лабораторная работа
«Исследование температурного поля наружного угла методом электрического моделирования»
Выполнил студент
группы 5 ЭН – 22
Малинин М.С.
Проверил профессор
Федорчук Н.М.
г. Череповец
2007 г.
Цель работы
Исследование двумерного температурного поля наружного угла в условиях стационарной теплопередачи, сравнение результатов с расчетными данными.
Оборудование: установка – электрическая модель наружного угла.
Основные теоретические положения
Теплопередача через ограждение конструкций зданий, вызванная перепадом температуры между наружным и внутренним воздухом помещения, зависит от геометрической формы ограждения. В частности, увеличение теплопередачи через наружные углы зданий связано, в основном, с увеличением площади теплопередачи. Температура на внутренней поверхности угла оказывается ниже температуры плоской поверхности стены вдали от угла на (4-6)0 С, что может привести к выпадению конденсата на внутренней поверхности угла, уменьшению теплового сопротивления и к дальнейшему увеличению потери тепла. Устранение этих негативных явлений необходимо предусмотреть в процессе проектирования. Математическая зависимость понижения температуры в наружном углу от теплофизических свойств стены не установлена, и эту зависимость находят с помощью электрического моделирования.
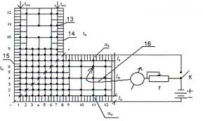
Описание экспериментальной установки

Установка выполнена из электропроводной графитовой бумаги с соблюдением принципов аналогии модели и натуры. Тепловое поле модели разбито на квадраты, размер которых в области сгиба стены уменьшен в два раза. Ширина полосы отражает в некотором масштабе толщину ограждений δ = k· lм; сопротивление тепловосприятию и теплоотдаче имитируют полоски бумаги шириной lв и lн, расположенные по периметру модели. В вершинах квадратов установлены клеммы 13 для измерения тока гальванометра, пропорционального их потенциалам. Температуру окружающей среды имитируют электрические потенциалы, подаваемые на ширине 14 и 15 от источника постоянного тока через выключатель К, переменный резистор rи гальванометр Gк шине 15 подключен свободный щуп 16. выключатель К и переменный резистор сблокированы. Электрическая модель имеет ось симметрии, которая на рисунке показана пунктирной линией.
Показания гальванометра
| . | 1 | 2 | 3 | 4 | 5 | 6 | 7 | 8 | 9 | 10 | 11 | 12 |
| 1 | 123 | 112 | 84 | 58 | 44 | |||||||
| 2 | 134 | 115 | 86 | 64 | 44 | |||||||
| 3 | 121 | 116 | 96 | 67 | 53 | |||||||
| 4 | 124 | 119 | 114 | 108 | 96 | 92 | 64 | |||||
| 5 | 136 | 129 | 120 | 113 | 103 | 91 | 80 | |||||
| 6 | 101 | 135 | 122 | 120 | 112 | 104 | 97 | 85 | 90 | 76 | 63 | 43 |
| 7 | 142 | 139 | 133 | 125 | 119 | 113 | 109 | 102 | 95 | 93 | 51 | 63 |
| 8 | 147 | 143 | 140 | 134 | 130 | 125 | 110 | 109 | 106 | |||
| 9 | 151 | 147 | 143 | 140 | 134 | 134 | 125 | 117 | 110 | 113 | 106 | 104 |
| 10 | 157 | 155 | 151 | 149 | 142 | 141 | 132 | 134 | 122 | |||
| 11 | 158 | 160 | 159 | 156 | 152 | 149 | 145 | 146 | 144 | 137 | 139 | 139 |
| 12 | 155 | 164 | 163 | 161 | 159 | 157 | 155 | 154 | 150 | 149 | 150 | 157 |
Усредненные значения гальванометра для симметричных точек
| 1 | 2 | 3 | 4 | 5 | 6 | 7 | 8 | 9 | 10 | 11 | 12 | |
| 1 | 117,7 | 105,8 | 83,7 | 57 | 43,5 | |||||||
| 2 | 121,6 | 117,7 | 90,7 | 61 | 57 | |||||||
| 3 | 127,6 | 121,6 | 105,8 | 83,7 | 61 | |||||||
| 4 | 132,4 | 127,6 | 121,6 | 117,7 | 105,8 | 90,7 | 83,7 | |||||
| 5 | 139 | 132,4 | 127,6 | 121,6 | 117,7 | 105,8 | 90,7 | |||||
| 6 | 138 | 139 | 132,4 | 127,6 | 121,6 | 117,7 | 105,8 | 90,7 | 83,7 | 61 | 57 | 43,5 |
| 7 | 147,7 | 138 | 139 | 132,4 | 127,6 | 121,6 | 117,7 | 105,8 | 90,7 | 83,7 | 61 | 57 |
| 8 | 152 | 147,7 | 138 | 139 | 132,4 | 127,6 | 121,6 | 117,7 | 105,8 | |||
| 9 | 156,5 | 152 | 147,7 | 138 | 139 | 132,4 | 127,6 | 121,6 | 117,7 | 105,8 | 90,7 | 83,7 |
| 10 | 160 | 156,5 | 152 | 147,7 | 138 | 139 | 132,4 | 127,6 | 121,6 | |||
| 11 | 161 | 160 | 156,5 | 152 | 147,7 | 138 | 139 | 132,4 | 127,6 | 121,6 | 117,7 | 105,8 |
| 12 | 155 | 161 | 160 | 156,5 | 152 | 147,7 | 138 | 139 | 132,4 | 127,6 | 121,6 | 117,7 |
Расчет температур отдельных точек на модели угла
| 1 | 2 | 3 | 4 | 5 | 6 | 7 | 8 | 9 | 10 | 11 | 12 | |
| 1 | -2,97 | -0,64 | 5,27 | 10,76 | 13,71 | |||||||
| 2 | -5,29 | -1,28 | 4,84 | 9,49 | 13,71 | |||||||
| 3 | -2,54 | -1,49 | 2,73 | 8,86 | 11,81 | |||||||
| 4 | -3,18 | -2,12 | -1,07 | 0,2 | 2,73 | 5,69 | 9,49 | |||||
| 5 | -5,71 | -4,23 | -2,3 | -0,86 | 1,25 | 3,79 | 6,11 | |||||
| 6 | 1,68 | -5,5 | -2,76 | -2,33 | -0,64 | 1,04 | 2,52 | 5,06 | 4 | 6,96 | 9,7 | 13,92 |
| 7 | -6,98 | -6,34 | -5,08 | -3,39 | -2,12 | -0,86 | -0,01 | 1,47 | 2,94 | 3,37 | 12,23 | 9,7 |
| 8 | -8,03 | -7,19 | -6,56 | -5,29 | -4,44 | -3,39 | -0,22 | -0,01 | 0,62 | |||
| 9 | -8,88 | -8,03 | -7,19 | -6,56 | -5,29 | -5,29 | -3,39 | -1,7 | -0,22 | -0,86 | -0,62 | 1,04 |
| 10 | -10,14 | -9,72 | -8,87 | -8,46 | -6,98 | -6,77 | -4,87 | -5,29 | -2,76 | |||
| 11 | -10,36 | -10,78 | -10,57 | -9,93 | -9,09 | -8,46 | -7,61 | -7,82 | -7,4 | -5,92 | -6,34 | -6,34 |
| 12 | -9,72 | -11,62 | -11,41 | -10,98 | -10,57 | -10,14 | -9,72 | -9,51 | -8,67 | -8,46 | -8,67 | -10,14 |