| Скачать .docx |
Курсовая работа: Курсовая работа: Производство земляных работ
Задание на курсовое проектирование
«Производство земляных работ»
| Фамилия, имя, отчество студента |
Гильмутдинов Тимур Зиннурович |
| Группа |
СБ-06-01 |
| Вариант |
05-05 |
| Размеры строительной площадки |
200*200 м |
| Толщина растительного слоя |
25 см |
| Тип основного грунта участка |
Насыпные |
| Состояние грунта |
Сухое |
| Длина здания |
96 м |
| Количество пролетов |
4 |
| Сетка колонн |
6*12 м |
| Размеры фундамента |
2,1*2,1 м |
| Высота фундамента |
2,4 м |
| Вид коммуникаций |
Канализация |
| Диаметр трубы |
0,2 м |
| Глубина заложения трубы |
1,7 м |
Вариант 05
![]() |
1.Определение исходных данных
План участка – 5
Толщина растительного слоя – 25 см
Тип основного грунта – насыпные
Состояние грунта – сухое
Длина здания – 96 м
Количество пролётов – 4
Сетка колонн – 6*12 м
Размеры фундамента – 2.1х2.1х2,4 м
Заложение фундаментов – 2,4 м
Размеры и заложение инженерных коммуникаций:
2К – канализация: глубина заложения – 1.7м
диаметр трубы – 0.2м

Рисунок 2. Столбчатый фундамент
Таблица 1. Объёмы работ по выемки, насыпи по заданию.
| № участка |
Объем выемки, м3 |
Объем насыпи, м3 |
| 1 |
7387,5 |
|
| 2 |
4762,5 |
|
| 3 |
2405,25 |
|
| 4 |
673,42 |
|
| 5 |
93,78 |
|
| 6 |
5381,25 |
|
| 7 |
1936,01 |
|
| 8 |
38,11 |
|
| 9 |
295,83 |
|
| 10 |
796,79 |
|
| 11 |
0,93 |
|
| 12 |
1270,82 |
|
| 13 |
3012,5 |
|
| 14 |
431,37 |
|
| 15 |
576,02 |
|
| 16 |
4275 |
|
| 17 |
6693,75 |
|
| 18 |
261,75 |
|
| 19 |
1190,39 |
|
| 20 |
3,53 |
|
| 21 |
3177,33 |
|
| 22 |
7643,75 |
|
| 23 |
9537,5 |
Реферат
Курсовой проект 46 с., 5 рис., 5 табл., 5 источников, 1 приложение.
Технология строительных процессов: земляные работы; объем работ; калькуляция трудовых затрат и заработной платы; скрепер; бульдозер; экскаватор; грунтоуплотняющая машина; технико-экономические показатели.
Задачей курсового проектирования является разработка технологии земляных работ: срезки растительного слоя, выполнения вертикальной планировки, разработки котлована, обратной засыпки и уплотнения грунта в котловане после устройства фундаментов.
В результате работы над проектом выполнен подбор комплекта механизмов для производства работ на основе сравнения технико-экономических показателей. Рассчитаны сроки выполнения земляных работ, общая себестоимость и трудоемкость. Выполнена технологическая карта на производство земляных работ.
Содержание
1. Определение исходных данных
2. Определение объемов работ
2.1 Определение объемов работ по снятию растительного слоя
2.2 Определение объемов работ по вертикальной планировке
2.3 Распределение объёма земляных масс при вертикальной планировке
2.4 Определение объемов котлованов и траншей
2.5 Определение объемов работ по обратной засыпке
2.6 Составление баланса земляных масс
3. Подбор комплектов машин для производства земляных работ
3.1 Выбор землеройно–транспортной машины для снятия растительного слоя
3.2 Выбор землеройно–транспортной машины для выполнения вертикальной планировки площадки
3.3 Подбор экскаваторов для разработки грунта в котловане и траншеи
3.4 Подбор типа и расчёт количества транспортных средств для перевозки грунта
3.5 Подбор машин для уплотнения грунтов для вертикальной планировки
3.6 Подбор механизмов для обратной засыпки
3.7 Выбор землеройно–транспортной машин
4. Составление калькуляции трудовых затрат и стоимости работ
5. Технико-экономическое сравнение механизации земляных работ
6. Технология и схемы производства земляных работ
6.1 Схемы производства и перемещения грунта бульдозером
6.2 Схема производства и перемещения грунта скрепером
6.3 Схемы обратной засыпки и уплотнения пазух фундаментов
7. Техника безопасности при производстве земляных работ
8. Библиография
2. Определение объёмов работ
2.1 Определение объемов работ по снятию растительного слоя.
Снятие растительного слоя производится по всей площадке, которая отводится под строительную площадку, до начала работ по вертикальной планировке.
Объем работ по снятию растительного слоя определяется по выражению
![]()
2.2 Определение объемов земляных работ при вертикальной планировке

Рисунок 3. Схема подсчета объемов земляных работ в откосах площадки
Определение объемов работ в откосах площадки
Для угловых откосов объем земляных масс равен

где m-крутизна откосов для выемки: h до 1,5м m=0,25
для выемки: h до 3м m=1
для насыпи: m=1,5
h - рабочая отметка угла площадки, м
Для рядовых откосов
![]()

где сторона квадрата а=50 м
h1 ,h2 -рабочие отметки соседних вершин квадратов, расположенных по периметру площадки, м
Для рядовых откосов с одной нулевой рабочей отметкой

где а1 -часть стороны квадрата от рабочей отметки до нулевой точки, м.
Таблица 2.1 Определение объемов откосов
| № фигуры |
Сторона квадрата |
Крутизна откоса |
Рабочие отметки H1 H2 |
Объем выи,м3 |
Объем насыпи,м3 |
|
| 24 |
24,87 |
0,25 |
-0,96 |
- |
5,73 |
|
| 25 |
- |
0,25 |
-0,96 |
- |
0,0184 |
|
| 26 |
50 |
1 |
-0,96 |
-1,86 |
44,17 |
|
| 27 |
50 |
1,25 |
-1,86 |
-3,13 |
207,13 |
|
| 28 |
50 |
1,25 |
-3,13 |
-4,44 |
461,1 |
|
| 29 |
50 |
1,25 |
-4,44 |
-4,2 |
583,65 |
|
| 30 |
- |
1,25 |
-4,2 |
- |
38,58 |
|
| 31 |
50 |
1,25 |
-4,2 |
-3,41 |
457,31 |
|
| 32 |
50 |
1,25 |
-3,41 |
-2,23 |
259,39 |
|
| 33 |
50 |
1 |
-2,23 |
-0,6 |
266,645 |
|
| 34 |
26,56 |
1,5 |
0,68 |
- |
18,42 |
|
| 35 |
- |
1,5 |
0,68 |
- |
0,235 |
|
| 36 |
50 |
1,5 |
0,68 |
0,84 |
21,9 |
|
| 37 |
50 |
1,5 |
0,84 |
1,87 |
78,79 |
|
| 38 |
50 |
1,5 |
1,87 |
2,89 |
222,17 |
|
| 39 |
50 |
1,5 |
2,89 |
3,85 |
434,52 |
|
| 40 |
- |
1,5 |
3,85 |
- |
42,79 |
|
| 41 |
50 |
1,5 |
3,85 |
3,21 |
471,12 |
|
| 42 |
50 |
1,5 |
3,21 |
2,41 |
194,65 |
|
| 43 |
50 |
1,5 |
2,41 |
0,97 |
126,54 |
|
| 44 |
25,13 |
1,5 |
0,97 |
- |
35,47 |
|
| 45 |
23,44 |
0,25 |
-0,6 |
- |
2,11 |
|
Таблица 2.2 Откорректированная ведомость объемов (с учетом откосов)
| № участка |
Объем выемки, м3 |
Объем насыпи, м3 |
| 1 |
8335,93 |
|
| 2 |
4984,67 |
|
| 3 |
2484,04 |
|
| 4 |
713,975 |
|
| 5 |
95,89 |
|
| 6 |
5575,9 |
|
| 7 |
1936,01 |
|
| 8 |
38,11 |
|
| 9 |
295,83 |
|
| 10 |
796,79 |
|
| 11 |
0,93 |
|
| 12 |
1537,465 |
|
| 13 |
3139,04 |
|
| 14 |
431,37 |
|
| 15 |
576,02 |
|
| 16 |
4275 |
|
| 17 |
6953,14 |
|
| 18 |
297,22 |
|
| 19 |
1240,3 |
|
| 20 |
3,53 |
|
| 21 |
3384,46 |
|
| 22 |
8104,85 |
|
| 23 |
10617,04 |
|
| итого |
37619,065 |
28198,445 |
2.3 Распределение объёмов земляных масс при вертикальной планировке
Расчеты по распределению объёмов земляных масс при вертикальной планировке выполняются для определения среднего расстояния перемещения Lср . Среднее расстояние перемещения также можно определить методом статических моментов.
Последовательность выполнения расчетных операций по методу статических моментов:
-выбираем систему прямоугольных координат;
-находим центры тяжести площадей элементарных фигур выемки и насыпи;
-определяем расстояние от этих центров тяжестей до соответствующих осей координат;
-определяем статические моменты объемов элементарных фигур относительно осей координат за центры тяжести их объемов;
-определяем координаты центров тяжести всей выемки и всей насыпи по следующим формулам:
![]()
Табл 2.3. Определение центра тяжести фигур
| Номер фигуры |
XB |
YB |
XH |
YH |
Объем выемки Vв, м3 |
Объем насыпи Vн, м3 |
| 1 |
2 |
3 |
4 |
5 |
6 |
7 |
| 1 |
25 |
175 |
8335,93 |
|||
| 2 |
75 |
175 |
4984,67 |
|||
| 3 |
125 |
175 |
2484,04 |
|||
| 4 |
178,36 |
176,01 |
713,975 |
|||
| 5 |
180,23 |
158,05 |
95,89 |
|||
| 6 |
25 |
125 |
5575,9 |
|||
| 7 |
72,83 |
128,15 |
1936,01 |
|||
| 8 |
97,3 |
120,57 |
38,11 |
|||
| 9 |
120,01 |
131,92 |
295,83 |
|||
| 10 |
167,75 |
130,65 |
796,79 |
|||
| 11 |
151,09 |
149,5 |
0,93 |
|||
| 12 |
176,11 |
124,29 |
1537,465 |
|||
| 13 |
25 |
75 |
3139,04 |
|||
| 14 |
83,51 |
87,13 |
431,37 |
|||
| 15 |
84,88 |
69,23 |
5760,2 |
|||
| 16 |
125 |
75 |
4275 |
|||
| 17 |
175 |
75 |
6953,14 |
|||
| 18 |
18,91 |
31,7 |
297,22 |
|||
| 19 |
27,33 |
19,1 |
1240,3 |
|||
| 20 |
51,03 |
49,5 |
3,53 |
|||
| 21 |
76,53 |
24,47 |
3384,46 |
|||
| 22 |
125 |
25 |
8104,85 |
|||
| 23 |
175 |
25 |
10617,04 |
Координаты центра тяжести насыпи:
![]()
![]()
Координаты центра тяжести выемки:
![]()
![]()
находим среднюю дальность перемещения грунта, т.е. расстояние между центрами тяжести всей выемки и всей насыпи.
Lср
=
м.
определяем объем кавальера т.к. у нас имеется лишний грунт
![]()
2.4 Определение объемов котлованов и траншей
Сетка колонн: 12х18м – грунт разрабатывается в виде отдельных котлованов.
Объем котлована с четырьмя наклонными стенками определяется по формуле:
,
где HK - глубина разработки котлована, м;
а и b - длина и ширина котлована по низу, м;
с и d - длина и ширина по верху, м;
N-количество котлованов.
Ь=bз +bф +0,6 ; d=b + 2т*Нк,
а=аз+bф+0,6 ; с=а + 2т*Нк,
bф - ширина фундамента, м;
m - коэффициент откоса грунта (m=1)
b =12*4+2.1+0.6 =50.7м, d = 50.7+2*1*2.4 = 55.5м,
а = 96+2.1+0.6 = 98.7 м, с = 98.7+2*1*2.4 = 103.5 м.
.
2.5 Определение объемов траншей под коммуникации
![]()
где F0 – площадь поперечного сечения на середине, м2
L - длина траншеи, м (L=72 м)

Рисунок 7. Схема для определения объема траншеи.
Тип коммуникации: Канализация.
![]() |
|
Рисунок 8. Схема расположения коммуникаций
,
гдеН1 , Н2 – глубина выемки в начале и в конце траншеи, м;
m – коэффициент откоса грунта (m = 1).

![]()
2.6 Определение объемов работ по подчистке дна котлована
1. Механизированным способом
VH =FК *hH ,
где FК - площадь котлована по низу, м2 ;
hН - толщина "недобора" грунта, м.
При разработке грунта - песка мелкозернистого II класса применяем экскаватор с «обратной» лопатой с емкостью ковша 1 м3 .
Величина зачищаемого слоя
,
где h МЕХ Н - зачистка недобора зачистным устройством, см;
hН - общий "недобор" грунта при данном типе ковша, см , при q = 1м3 ,
hН =20см;
hР Н - величина зачистки вручную, осуществляемая только по площадке заложения фундаментов, см.
hР Н =5 см.
![]()
FК =с*d = 55.5*103.5=5744.25 м2 ;
VH = 5744.25 *0,25 =1436 м3 .
2. Объем разработки грунта вручную
,
где FФ - площадь подошвы фундамента, м2 .
FФ = a*b =2.1*2.1 = 4.41 м2 ;
,
где n – количество фундаментов n=44 ( см. раб. чертежи).
2.7 Определение объемов работ по обратной засыпке пазухов фундаментов и траншей
Объем обратной засыпки пазух фундаментов.
,
где VK – объем грунта при разработке котлована, м3 ;
VФ – объем фундаментов, м3 ;
kО.Р. =1.02 – коэффициент остаточного разрыхления.
.
Объем обратной засыпке траншеи.
,
где VТ – объем грунта при разработке траншеи, м3 ;
VТ =208.8 м3 ;
VС – объем сооружения, возводимого в траншеи, м3 ;
kО.Р. =1.02 – коэффициент остаточного разрыхления.
.
Таблица 2.4 Сводная балансовая ведомость земляных масс
| Приход грунта |
Расход грунта |
||
| Наименование |
Объем выемки, м3 |
Наименование |
Объем насыпи, м3 |
| Снятие растительного слоя |
10000 |
Восстановление растительного слоя |
9843.318 |
| Планировочная выемка с откосами |
37619.065 |
Планировочная насыпь с откосами |
28198.445 |
| Выемка из котлована |
10645.848 |
Обратная засыпка котлована |
10255.93 |
| Выемка из траншеи под коммуникации |
208.8 |
Обратная засыпка траншеи под коммуникации |
202.49 |
| Привоз недостающего грунта |
- |
Вывоз излишнего грунта |
9973.53 |
| Итого |
∑=58473.713 |
Итого |
∑=58473.713 |
3. Подбор комплекта машин для производства земляных работ
3.1 Выбор землеройно-транспортной машины для снятия растительного слоя
Срезка растительного слоя грунта обычно выполняется бульдозерами.
Для наиболее полного сохранения растительного слоя грунта рекомендуется следующая технологическая схема и организация работ:
1. Строительная площадка делиться на 2 захватки шириной по 100 м.
2. Два бульдозера разрабатывают и перемещают растительный грунт на середину захватки: Lпер = 50 м.
3. После окончания снятия растительного слоя бульдозеры переходят на ll захватку.
4. На первой захватке производиться погрузка растительного грунта экскаватором на автосамосвалы с последующим вывозом за пределы строительной площадки.
По данной технологической схеме производства работ при снятии растительного слоя максимальная длина перемещения составляет 50 м, поэтому для снятия растительного слоя используются бульдозеры средней мощности. Схема движения – прямая.
Нормативная сменная производительность бульдозера, при Lср > 30 м
Характеристика бульдозера ДЗ-8
Тип отвала Неповоротный
Длина отвала, м 3.03
Высота отвала, м1.3
УправлениеГидравлическое
Мощность, кВт (л.с.)79 (108)
Марка трактора Т-100
Масса бульдозерного оборудования, т1.58
Глубина резания (м)0.3

где
-нормативная сменная производительность
tсм -продолжительность смены в часах , tсм =8.2
-норма времени на перемещение 100 м3
грунта на расстояние 10 м, чел-ч;
- то же, добавляя на каждые последующие 10 м перемещения, чел-ч
Нвр - норма времени на снятие растительного слоя с площади 1000 м3 , чел-ч.
Продолжительность срезки растительного слоя грунта при работе 2-х бульдозеров:

где Vр.с. - объём растительного слоя, м3
αт – коэффициент перевыполнения нормы, αт =1.2
Ксм - коэффициент сменности, Ксм = 2;
N – количество машин, работающих на срезке, N = 2.
![]()
Продолжительность работ при погрузке
Применяем экскаватор марки Э-5015А с емкостью ковша 0.5м3 . Грунт по разработке экскаватором относится к I классу.
Производительность экскаватора определяем по формуле:

гдеtсм -продолжительность смены в часах , tсм =8,2
-норма времени на разработку 100 м3
, чел-ч;
Кп.р – коэффициент первоначального разрыхления грунта, Кп.р = 1.05
смены
3.2 Выбор землеройно-транспортных машин для выполнения вертикальной планировки площадки
Разработка и перемещение грунта при вертикальной планировке выполняется скрепером.
Согласно условию производства работ (объем работ VB >5000) применяем скрепер самоходный емкостью ковша VK = 6.7м3 .Класс грунта по разработке скрепером II . Применяем скрепер ДЗ-20А.
Характеристика скрепера ДЗ-20А
Объём ковша (м3 )6.7
Ширина захвата (м) 2.59
Глубина резания (м)0.3
Толщина срезаемого слоя (м)0.35
Мощность, кВт (л.с.)79 (108)
Масса (т) 7
Нормативная сменная производительность скрепера
,
где tCM - продолжительность смены в часах, tCM = 8,2 ч;
Нвр - норма времени на перемещение 100 м3 грунта на расстояние 300 м.
Расчет количества скреперов
скрепер
![]()
3.3 Подбор экскаваторов для разработки грунта в котловане и траншеях
Разработка грунта в котловане производится одноковшовым экскаватором, оборудованным «обратной лопатой», ёмкостью ковша 0.5 м3 , который разрабатывает грунт ниже уровня своей стоянки с погрузкой в транспортное средство и отвал независимо от уровня грунтовых вод. Глубина котлована до 3 м.
Разработка ведётся экскаватором Э – 5015А.
Характеристика экскаватора Э-5015А
Объём ковша (м3 )0.5
Наибольшая глубина копания (м) 4.5
Наибольшая высота выгрузки (м) 3.9
Максимальный радиус копания (м) 7.3
Мощность, кВт (л.с.)59 (80)
Масса (т) 13
Нормативная сменная производительность экскаватора
,
где tCM - продолжительность смены в часах, tCM = 8,2 ч;
Нвр - норма времени на разработку 100 м3 грунта, чел.-ч.
Продолжительность работы экскаватора в котловане
[смен]
Или
0[дней
]
Продолжительность разработки котлована меньше директивного срока, т.е. ТЭ ДН =1<ТДИР =11 дням, следовательно, применяем один экскаватор.
Разработка грунта в траншеях.
При разработке траншей под коммуникации также используем одноковшовый экскаватор «обратная лопата» Э – 5015А.
Продолжительность работы экскаватора:
![]()
![]()
3.4 Подбор типа и расчет количества транспортных средств для перевозки грунта
Расчет количества автосамосвалов для перемещения грунта выполняется из условия обеспечения непрерывной работы экскаватора.
Техническая характеристика Маз-205
Расчетная грузоподъемность, т 5

где tа/с ТР.Ц. – продолжительность транспортного цикла по доставке грунта на место отвала, мин;
tП.Ц. – продолжительность транспортного цикла погрузки автосамосвала грунтом, мин
,
где tМ. – время на маневрирование автосамосвала при установке машины под погрузку и разгрузку, мин, tМ. = 2 мин;
tП.Ц. – продолжительность транспортного цикла погрузки автосамосвала грунтом, мин;
,
где n. – количество ковшей, погружаемых в автосамосвал;
tЦ. – продолжительность одного цикла экскавации, при емкости ковша 1м3 tЦ. =1мин;
,
где Vа/с – объем кузова автосамосвала м3 ; Vа/с =3,2 м3 ;
VЭ К – объем ковша экскаватора м3 ; VЭ К =0,5 м3 ;
tТР – время выделяемое на транспортировку грунта и возврат автосамосвала под погрузку, мин;
,
где L – дальность транспортирования грунта, км; L=5 км;
VСР – средняя скорость движения км/ч; VСР =40 км/ч;
tВ – время выгрузки автосамосвала, мин; tВ =1 мин;
tТЕХ – продолжительность технологического перерыва, мин; tТЕХ =5 мин.
![]()
.
3.5 Подбор машин для уплотнения грунтов для вертикальной планировки
Машины для уплотнения грунтов выбираются в зависимости от свойств грунтов. Для уплотнения насыпи при вертикальной планировке применяем самоходные катки на пневмошинах. Они обеспечивают равномерность укатки слоя толщиной до 50см. Мы выбираем каток ДУ–31А. Технические характеристики:
1 ширина уплотняемой полосы – 2,22м
2 толщина уплотняемого слоя – до 0,4
3 мощность двигателя – 96(130) кВт (л.с.)
4 масса катка – 30т
Нормативная сменная производительность самоходного катка:
,
где tCM - продолжительность смены в часах, tCM = 8.2 ч;
НУП вр - норма времени на уплотнение грунта площадью 1000 м2 с учетом 4 проходок , чел.-ч;
Продолжительность работы самоходного катка
[смен]
Или
[дни]
где FУП . – площадь уплотнения грунта, м2;
,
где VН . – объем грунта насыпи,
hСЛ – толщина уплотняемого слоя насыпи, hСЛ =0.3 м;
aТ – коэффициент перевыполнения нормы, aТ =1.2
kCM - коэффициент сменности, kCM =2 ;
N - количество машин, работающих на уплотнение грунта. N = 1.
смен
дней
3.6 Подбор механизмов для обратной засыпки
– обратная засыпка пазух фундаментов по периметру:
- засыпка выполняется бульдозером
- уплотнение – гидромолотом СП-71.
Обратная засыпка траншей с коммуникациями выполняется в 4 этапа:
1 этап – засыпка бульдозером на 0.3 м над коммуникациями;
2 этап – уплотнение вручную на всю ширину траншеи;
3 этап – окончательная засыпка бульдозером;
4 этап – уплотнение трамбовочной плитой.
Обратная засыпка фундаментов в котловане:
обратная засыпка пазух фундаментов по периметру:
Работа бульдозера ДЗ-8:

![]()
![]()

Уплотнение – гидромолотом СП-71.
Техническая характеристика гидромолота СП-71:
Энергия удара, Дж9000
Частота ударов, мин-1 120
Масса ударника, кг 600
Масса молота, кг2100
Модель экскаватора ЭО-4121А
![]()
![]()
![]()

2 этап - обратная засыпка внутри котлована:
Подача грунта в котлован осуществляется экскаватором, оборудованным грейферным ковшом ЭО-504,т.к. глубина котлована 2.4м.
Технические характеристики:
1 вместимость ковша – 0,5 м3
2 наибольшая глубина копания – 3 м
3 наибольшая высота выгрузки – 6.7 м
4 угол наклона стрелы-45 град.
5 радиус захвата и выгрузка грунта-6 м
6 мощность двигателя – 48(65) кВт(л.с.)
7 масса экскаватора – 19.7 т
Производительность одноковшового экскаватора при разработке грунта:
м3
/см.
tCM - продолжительность смены в часах, tCM = 8,2 ч;
Нвр - норма времени на разработку 100 м3 грунта, чел.-ч;
Продолжительность работы экскаватора при разработке котлована:
![]()
![]()
![]()
Количество экскаваторов определяется по формуле:
- объём грунта разрабатываемого в смену

;
V О.З . – объем грунта в котловане ,
aТ – коэффициент перевыполнения нормы, aТ =1,2;
kCM - коэффициент сменности, kCM =2 ;
N - количество машин, работающих на вертикальной планировке. N =1
разравнивание грунта бульдозером ДЗ-08 на базе трактора Т-100:
Нормативная сменная производительность бульдозера:
Продолжительность работ:
![]()
![]()
уплотнение – осуществляется самоходным катком ДУ-29:
![]()
![]()
.
Обратная засыпка траншей с коммуникациями
1 этап: засыпка бульдозером на 0,3 м над коммуникациями:
![]()

2 этап: уплотнение на всю ширину траншеи:

![]()
![]()

3 этап: окончательная засыпка бульдозером :
![]()

4этап – уплотнение трамбовочной плитой ИЭ-4502:
Технические характеристики:
8 глубина уплотнения – 40 см
9 размер трамбовочного башмака - 350Ч450 мм
10 частота ударов – 9.3
11 напряжение – 220 В
12 частота тока – 50 Гц
13 габариты – 970Ч475Ч960 мм
14 мощность двигателя – 0.4(0.5) кВт(л.с.)
15 масса экскаватора – 81.5 кг
16
![]()
![]()
![]()

Таблица 3.1. Ведомость машин для производства земляных работ
| номер |
Наименованиепроцесса |
||
| марка |
кол |
||
| 1 |
2 |
3 |
4 |
| 1 |
Срезка растительного слоя |
Бульдозер ДЗ-8 на базе трактора Т-100 |
2 |
| 2 |
Погрузка растительного грунта в автотранспорт |
Экскаватор Э-5015А |
1 |
| 3 |
Транспортирование |
Маз 205 |
5 |
| 4 |
Вертикальная планировка площадки |
Скрепер Д3-20А |
1 |
| 5 |
Уплотнение при вертикальной планировке |
Самоходный каток ДУ -29А |
1 |
| 6 |
Разработка котлованов и траншей |
Экскаватор Э- 5015А |
1 |
| 7 |
Транспортирование грунта |
Маз 205 |
5 |
| 8 |
Обратная засыпка котлованов и траншей |
Э-504 |
1 |
| 9 |
Уплотнение при обратной засыпке |
Гидромолот СП-71 |
1 |
4. Составление калькуляции трудовых затрат и стоимости работ
Таблица 4.1. Калькуляция трудозатрат и заработной платы
| Обоснование ЕНиР |
Наименование работ |
Ед изм |
Объём работ |
Нормы времени |
Расценки рубкоп |
Трудоёмкость челсм |
Машиноёмкость машсм |
Зарплата рубкоп |
|
| НВР, чел.-ч. |
НВР, маш.-ч. |
||||||||
| 1 |
2 |
3 |
4 |
5 |
6 |
7 |
8 |
9 |
10 |
| 2-1-22 |
Срезка растительного слоя |
100 М3 |
100 |
0,62 |
0,62 |
0,657 |
907,3 |
907,3 |
7884 |
| 2-1-11 |
Погрузка растительного слоя в автотранспорт |
100 М3 |
100 |
2.3 |
2.3 |
2.44 |
3365,9 |
3365,9 |
29280 |
| 2-1-20 |
Разработка и перемещение грунта скреперами |
100 М3 |
376,19 |
2,9 |
2,9 |
3,51 |
6732,6 |
6732,6 |
66821 |
| 2-1-31 |
Уплотнение грунта самоходными катками |
1000 М2 |
94 |
1,1 |
1,1 |
1,17 |
3289,7 |
3289,7 |
28692 |
| 2-1-11 |
Разработка грунта в котловане экскаваторами |
100 М3 |
106,45 |
2,9 |
2,9 |
3,17 |
4492,1 |
4492,1 |
40263,8 |
| 2-1-60 |
Подчистка дна котлована вручную |
100 М3 |
14,36 |
9,5 |
- |
6,08 |
287,3 |
287,3 |
1507,8 |
| 2-1-34 |
Засыпка пазух фундаментов по периметру бульдозерами |
100 М3 |
2,08 |
0,43 |
0,43 |
0.456 |
37,7 |
37,7 |
3274 |
| ТЕР |
Уплотнение гидромолотом |
100 М3 |
2,08 |
3,33 |
3,33 |
2,61 |
291,6 |
291,6 |
1873,98 |
| 2-1-15 |
Подача грунта экскаватором, оборудованным грейферным ковшом |
100 М3 |
102,55 |
3,11 |
3,11 |
3,29 |
4546,3 |
4546,3 |
39437,2 |
| 2-1-34 |
Разравнивание грунта внутри котлована бульдозерами |
100 М3 |
102,55 |
0,43 |
0,43 |
0,456 |
628,6 |
628,6 |
5466,1 |
| 2-1-31 |
Уплотнение грунта внутри котлована самоходными катками |
1000 М2 |
26,6 |
0,4 |
0,4 |
0,424 |
1461,9 |
1461,9 |
12706,4 |
| 2-1-34 |
Засыпка траншеи бульдозером на 0.3 м. над коммуникациями |
100 М3 |
2,08 |
0,43 |
0,43 |
0,456 |
1,3 |
1,3 |
11 |
| 2-1-34 |
Окончательная засыпка траншеи бульдозером |
100 М3 |
2,02 |
0,43 |
0,43 |
0,456 |
2,5 |
2,5 |
22 |
| 2-1-59 |
Уплотнение грунта о.з. траншеи трамбовочной плитой |
100 М2 |
5,22 |
1,9 |
1,9 |
1,33 |
27,8 |
27,8 |
159,6 |
5. Технико-экономическое обоснование варианта механизации производства земляных работ
Технико-экономический анализ показателей:
1 продолжительность работы в сменах
2 затраты на разработку 1м3
грунта ![]()
3 расчётная себестоимость разработки 1м3 грунта Се
1. Продолжительность выполнения всего комплекса земляных работ складывается из суммы продолжительностей выполнения отдельных видов работ.

где
-продолжительность всего комплекса земляных работ, см;
-продолжительность i-ой работы, см;
n- количество видов земляных работ;

2. Удельные затраты земляных работ определяется по формуле:

где Тмi - трудозатраты на обслуживание машин при выполнении i-того технологического процесса, чел-см.;
Ттр - трудоемкость ручных работ по подчистке недобора грунта в котловане, чел-см. (Ттр =0,3 чел-см. )
Vi -объем i-ой работы , м3 ;
Трудозатраты на механизированные работы рассчитываются по формуле:
Тмi =Тсмi *nмi *tсм
гдеТcмi - продолжительность работы в сменах( подсчитывается для каждого вида работ);
nмi - количество машинистов в звене, чел;
tсм -продолжительность рабочей смены, tсм =8,2 ч.

3. Расчетная себестоимость разработки 1 м3 грунта определяем по выражению:

где Соб - общая стоимость комплекса земляных работ, руб.
![]()
где См-см -стоимость машино-смены, руб;
Тсмi -продолжительность выполнения i-ой работы, см.;
Зр -заработная плата рабочих, выполняющих объем работ вручную,определяемая покалькуляции, руб; 1,08;1,5- коэффициенты накладных расходов.
Стоимость машино-смены определяем по формуле:
См-см =См,час *tсм
где См,час -стоимость машино-часа:
tсм -продолжительность смены;
СМСМ =СМ.ЧАС ЧtСМ =3,35*14+5,34*28+7,37*10+5,34*20+6,05*0,5+3,35*8,8+5,34*20+6,94*34+3,35*0,8+5,34*1,3+3,35*32+5,34*17+6,05*0,1+3,35*0,4+7,34*0,1=962,469часЧруб
![]()
![]()
6. Технология и схемы производства земляных работ
6.1 Схемы производства и перемещения грунта бульдозером
Для наиболее полного сохранения растительного слоя грунта рекомендуется следующая технологическая схема и организация работ:
1) Строительная площадка делится на две захватки шириной по 100 м.
2) Два бульдозера разрабатывают и перемещают растительный грунт на середину захватки. В этом случае дальность перемещения не превышает 50м, поэтому бульдозеры разрабатывают и перемещают грунт без промежуточного вала.
3) После окончания снятия растительного слоя бульдозеры переходят на 2 захватку.
Разработку грунта производим бульдозером типа ДЗ-8 на базе трактора Т-100.
Для снятия растительного слоя разработку производим послойным способом.
При послойном способе грунт разрабатывается слоями на толщину снимаемой стружки за один проход бульдозера последовательно по всей ширине выемки.
Объем грунта, разрабатываемого и перемещаемого бульдозером, определяется по формуле:
![]()
где Н-высота отвала, м;
φ-угол установки ножа в плане с направлением движения, равный 60°-65°
ψ-угол естественного откоса грунта
кр - коэффициент разрыхления грунта.
Длина пути набора грунта при этом определяется по выражению:
![]()
где Vг -объем грунта в твердом теле, перемещаемого в отвале;
a ширина отвала, м;
h- толщина стружки, срезаемой бульдозеров за один проход, принимается 15-20 см;
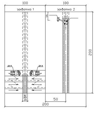
Технологическая схема снятия растительного слоя грунта.

Рисунок 9. Технологическая схема снятия растительного слоя грунта.

Рисунок 10. Послойный способ разработки грунта.

Рисунок 11. Фрагмент снятия растительного слоя.
6.2. Технология и схема разработки и перемещения грунта скрепером
Вертикальную планировку выполняем прицепным скрепером марки Д3-20А.
Длина пути наполнения ковша скрепера находим по формуле:
![]()
где q-емкость ковша скрепера, м3 ;
Кн - коэффициент наполнения ковша;
а- ширина срезаемого слоя, м;
h1 - толщина срезаемого слоя, м;
kp -коэффициент разрыхления грунта;
Длина пути разгрузки скрепера определяется по формуле:
![]()
где h2 -толщина укладываемого слоя;
Длина пути наполнения ковша скрепера меньше, чем длина выемки, следовательно, используем схему эллипс.
Для выполнения вертикальной планировки у линии нулевых работ применяем схему восьмерка.
При вертикальной планировке площадки скреперы будут работать по следующим схемам: по «эллипсу», по «восьмерке».
Для уплотнения грунтов при вертикальной планировке площадки применяются самоходные катки на пневматических шинах марки ДУ – 29А. Количество проходок грунтоуплотняющих машин или число ударов трамбовок определяется по данным лабораторных испытаний, которые проводятся на специальных испытательных участках. В соответствие с заданным коэффициентом уплотнения и свойствами грунта определяются оптимальная влажность грунта и технология уплотнения.
6.4 Схемы обратной засыпки и уплотнения пазух фундаментов
Подача грунта для обратной засыпки пазух фундаментов по периметру котлована выполняется бульдозером по перекрестно-параллельной схеме.
Подача грунта внутрь котлована предусматривается экскаватором, оборудованным грейферным ковшом.
Отсыпка грунта в пазухи осуществляется горизонтальными слоями, толщина отсыпаемого грунта зависит от типа уплотняющей машины и характеристик грунта.
В естественных условиях не представляется возможным применение габаритного оборудования, и уплотнение грунта выполняется гидромолотом типа СП-71.
В пролетах между фундаментами отсыпанный грунт разравнивается малогабаритными бульдозерами и катками.
Количество проходок грунтоуплотняющих машин или число ударов трамбовок определяется по данным лабораторных испытаний, которые проводятся на специальных испытательных участках. В соответствии с заданным коэффициентом уплотнения и свойствами грунта определяются оптимальная влажность грунта и технология уплотнения.

Рисунок 15. Технологическая схема работ по обратной засыпке котлована.
7. Техника безопасности при производстве земляных работ.
Указания по технике безопасности согласно СНиП 12-03-2001 «Безопасность труда в строительстве»
1) Место производства работ должно быть очищено от валунов, деревьев и строительного мусора.
2) Котлованы и траншеи, разрабатываемые на улицах, проезды, во дворах населенных пунктов должны быть ограждены защитным ограждением с учетом ГОСТ 23407.Для безопасного спуска в котлован устраиваются пандусы.
3) Разрабатывать грунт в котлованах и траншеях «подкопом» не допускается. Извлеченный из выемки грунт необходимо размещать на расстоянии 0,5 м от бровки этой выемки.
4) При работе экскаватора не разрешается производить другие работы со стороны забоя и находиться работникам в радиусе действия экскаватора плюс 5м.
5) При разработке, транспортировании, разгрузке, планировке и уплотнении грунта двумя или более самоходными или прицепными машинами (скреперами, грейдерами, катками и т.п.), идущими одна за другой, расстояние между ними должно быть не менее 10м.
6) При механическом ударном рыхлении грунта не допускается нахождение людей на расстоянии ближе 5м. от места рыхления.
7) Автомобили-самосвалы при разгрузке на насыпях, а также при засыпке выемок следует устанавливать не ближе 1м. от бровки естественного откоса; разгрузка с эстакад, не имеющих защитных брусьев, запрещается.
8) Линии временного электроснабжения к прогреваемым участкам грунта надлежит выполнять изолированным проводом, а после каждого перемещения электрооборудования и перекладки электропроводок следует визуально проверить их исправность.
8. Библиография
1. В.А. Бондарик, Э.В.Овчинников. Производство земляных работ:- Минск.: Высшая школа,1979.-с128.
2. А.И. Филипович, С.В. Филиппович. Основные правила оформления курсовых, дипломных проектов и работ:-Уфа.:1998.-110.
3. СНиП 12-03-2001 «Безопасность труда в строительстве»
4. СНиП 12-04-2002 «Безопасность труда в строительстве».
5. Гареев Р.Г. Лекционные материалы по технологии строительных процессов.
6. Хузина Л.С.Лекционные материалы по технологии строительных процессов.
7. В.И. Теличенко, А.А. Лапидус, О.М.Терентьев. Технология строительных процессов. II тома.:-М.: Высшая школа,2003-с 390.

