| Скачать .docx |
Курсовая работа: Курсовая работа: Расчет теплотехнического оборудования. Камера ямного типа
ФЕДЕРАЛЬНОЕ АГЕНСТВО ПО ОБРАЗОВАНИЮ
Белгородский государственный технологический университет
им. В.Г. Шухова
Кафедра энергетики теплотехнологии
Курсовая работа по дисциплине:
«Теплотехника и теплотехническое оборудование технологии строительных изделий»
на тему:
«Расчет теплотехнического оборудования.
Камера ямного типа»
Выполнил:
студент группы ПС-31
Миргород С.
Принял:
Губарева В.В.
Белгород 2011
ЗАДАНИЕ
на курсовую работу по теплотехнике и теплотехническому оборудованию технологии строительных изделий студента группы ПС-31 Миргород.
Выбрать рациональную схему теплоснабжения, рассчитать и спроектировать ямную камеру для тепловлажностной обработки строительных изделий.
Исходные данные :
| Производительность камеры, м3 /год |
Вид изделия |
Размеры изделия, м |
Вид бетона |
Теплоноситель |
| 25000 |
колонны |
5,0´0,3´0,3 |
тяжелый |
пар |
СОДЕРЖАНИЕ
| ВВЕДЕНИЕ I. Литературный обзор Классификация установок для тепловлажностной обработки бетона Установки периодического действия Установки непрерывного действия Обзор основных типов тепловлажностных установок 1. Кассетные установки 2. Автоклавные установки 3. Термоформы 4. Горизонтальные щелевые камеры 5. Вертикальные пропарочные камер 6. Камеры ямного типа a. Конструкция и способы повышения КПИ b. Организация подачи пара Сравнительная характеристика тепловых установок II. Подбор состава бетонной смеси III. Конструктивный расчет тепловой установки IV. Расчет производительности установки V. Расчет коэффициента теплообмена между греющей средой и прогреваемым изделием VI. Расчет тепловыделения бетона при тепловой обработке VII. Расчет распределения температур в бетонных и железобетонных изделиях VIII. Теплотехнический расчет VIIIa. Материальный баланс VIIIб. Тепловой баланс Период подъема температур Период изотермической выдержки IX. Расчет диаметров паро- и конденсатопроводов ЗАКЛЮЧЕНИЕ БИБЛИОГРАФИЧЕСКИЙ СПИСОК |
4 6 6 7 7 7 7 9 10 11 11 13 13 18 22 25 27 28 30 31 33 35 35 37 37 42 46 47 48 |
ВВЕДЕНИЕ
Сумма мероприятий, обеспечивающих благоприятные условия твердения уплотненной бетонной смеси, а также способы, предохраняющие бетон от повреждения его структуры в раннем возрасте, составляют уход за бетоном. Организация ухода за бетоном должна быть проведена сразу после укладки и уплотнения бетонной смеси. Прочность бетона нарастает в результате физико-химических процессов взаимодействия цемента с водой, которые нормально проходят в теплых и влажных условиях. Бетон при нормальных условиях постепенно набирает свою прочность и к 28 сут приобретает марочную прочность, причем в первые 3–7 сут прочность бетона растет более интенсивно и на 7-е сутки составляет 60–70 % марочной прочности. Для заводской технологии такие условия твердения бетона не приемлемы, так как они требуют больших площадей и большого количества форм.
В заводской технологии применяют ускоренные методы твердения –тепловую обработку изделий при обязательном сохранении влажности изделий. Чаще всего применяют прогрев изделий при атмосферном давлении в паровоздушной среде с температурой 80–85 °С или выдерживание в среде насыщенного пара при 100 °С. Стремятся применять насыщенный пар, чтобы исключить высыхание бетона и создать хорошие условия для гидратации цемента.
На заводах сборного железобетона применяют различные способы тепловой обработки изделий: пропаривание при нормальном давлении, электропрогрев, контактный обогрев, обработку лучистой энергии, обогрев в газовоздушной среде и др.
Процесс тепловой обработки бетона обычно состоит из подъема температуры до максимально установленного уровня, выдерживания при нем и охлаждения изделия до температуры окружающей среды.
Установки для тепловлажностной обработки предназначены для ускоренного твердения изделий. Обычно тепловлажностную обработку ведут до достижения 70% полной проектной прочности бетона. Установки для теп-ловлажностной обработки разделяют по следующим признакам:
По режиму работы – на установки периодического и непрерывного действия. Установки периодического действия в свою очередь подразделяются на две группы: на работающие при атмосферном и избыточном давлении. Установки непрерывного действия могут работать только при атмосферном давлении. В качестве установок периодического действия применяют ямные камеры, кассеты, пакеты, термоформы и автоклавы. Установки непрерывного действия изготовляют в виде горизонтальных и вертикальны камер, в которых происходит непрерывное или импульсное передвижение подвергаемого обработке материала.
По виду используемого теплоносителя различают установки, в которых используют водяной пар при атмосферном и избыточном давлениях; паровоздушную смесь, горячую воду, электроэнергию, продукты горения топлива и высокотемпературные органические теплоносители (горячие масла, даутерм, дитолилметан и др.).
Кроме установок для тепловлажностной обработки в технологии сборного бетона и железобетона применяют установки для разогрева бетонной смеси и подогрева заполнителей.
I. Литературный обзор
Тепловлажностная обработка бетона, железобетона и силикатных изделий является заключительной стадией технологического процесса, исключая отделку. Это – наиболее длительный и ответственный процесс технологии. Поэтому правильная организация такого процесса и выбор конструкции установок, в которых он протекает. Во многом определяют количество готовой продукции.
Конструкции тепловых установок в зависимости от технологического назначения разнообразны. При изучении конструкций тепловых установок в зависимости от технологического назначения разнообразны. При изучении конструкций тепловых установок необходимо основное внимание обращать на создаваемые в них условия тепло- и массообмена, сравнивать их достоинства и недостатки.
Классификация установок для тепловлажностной обработки бетона[2].
Установки для тепловлажностной обработки разделяют по следующим признакам:
1. По режиму работы – установки периодического и непрерывного действия. Первые в свою очередь, делятся на установки, работающие при атмосферном давлении, и на установки, работающие при избыточном давлении. Установки непрерывного действия могут работать только при атмосферном давлении. Из установок периодического действия, работающих при атмосферном давлении, применяют камеры ямного типа, кассетные и пакетные установки, термоформы. В качестве установок периодического действия работающих при избыточном давлении используют автоклавы.
Установки непрерывного действия изготовляют в виде горизонтальных и вертикальных камер, в которых происходит непрерывное, а чаще импульсное передвижение изделий, подвергаемых тепловлажностной обработке.
2. По виду используемого теплоносителя или применяемых источников теплоты — установки, использующие водяной пар при атмосферном и избыточном давлениях, паровоздушную смесь, горячую воду, продукты горения топлива и электрофизические источники теплоты.
Кроме установок для тепловлажностной обработки бетонных изделий в технологии бетона применяют установки и устройства для подогрева и размораживания заполнителей бетона, разогрева бетонной смеси.
Установки периодического действия.
Первыми установками периодического действия, предназначенными для тепловлажностной обработки бетона, были камеры ямного типа и туннельные. С развитием промышленности туннельные камеры периодического действия перестали применять, а ямные, претерпев некоторые изменения, продолжают использоваться в качестве основного типа установок (около 80% всех работающих) тепловлажностной обработки бетона.
Главный конструктивный недостаток ямной камеры заключается в системе загрузки изделий в камеру. Частое снятие крышек нарушает герметичность верхней части камеры, которая приводит к постепенному увеличению выбивания пара через неплотности. Решение поставленных перед строительной отраслью задач потребовало создания установок непрерывного действия. Наряду с ними используются периодически действующие установки: кассетные, пакетные, термоформы и др.
Установки непрерывного действия.
С развитием механизации и автоматизации строительного производства для термовлажностной обработки бетонных изделий стали применять установки непрерывного действия. При их использовании значительно возрастает производительность труда, и улучшаются условия труда.
Из пропарочных установок непрерывного действия в промышленности строительных материалов широко применяются горизонтальные щелевые различных типо и вертикальные камеры.
Обзор основных типов тепловлажностных установок
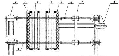
1. Кассетные установки (рис. 1.1) [2].
В кассетных установках изготовляются изделия для жилищного строительства. В таких установках формование и тепловая обработка производятся в вертикальных сборно-разборных формах. Кассетные установки применяются для изготовления как плоских (панели), так и сложных по форме изделий (лестничные марши, ребристые плиты и т.д.).
Изготовление изделий в кассетных формах обеспечивает высокую точность сборных деталей и хорошее качество поверхности. Отпадает необходимость в виброплощадках, бетоноукладчиках, сложных быстроизнашивающихся формах и пропарочных камерах.
Масса бетона в кассетах находится в замкнутом пространстве; открыто всего 1,5...6 % поверхности. Это дает возможность применять интенсивную тепловую обработку бетона, не опасаясь быстрого испарения из него влаги и образования трещин. Температура бетона в кассетных установках достигает 100 °С.

Рис. 1.1. Схема кассетной установки:[1].
1 – станина;
2 – отсеки пара;
3 – разделительная стенка, металлическая гибкая или жесткая в виде короба;
4 – отсеки для изделий;
5 – теплоизолированные подвижная и неподвижная стенки;
6 – фиксирующие упоры;
7 – механизм сжатия;
8 – привод;
9 – упорный дожимной винт
Недостаткам являются периодичность работы, необходимость применять пластичные бетонные смеси, требующие значительно большего расхода цемента по сравнению с жесткими смесями; неудобство чистки и смазки кассет; неравномерность прочности и структуры бетона по высоте изделия и значительная металлоемкость кассет (вес до 60 т)
В кассетных установках массообмен между изделием и теплоносителем и между изделием и окружающей средой не происходит, что позволяет нагревать отсеки кассет любым источником тепла (воздух, пар, дымовые газы, электрический нагрев).
При любом обогреве изделия из бетона нагревают до 80...90 °С в течение 1,0..1,5 ч и далее выдерживают при этой температуре 4...6 ч. Расход пара в кассетах (или в пересчете на пар при других видах теплоносителей) составляет 150...250 кг на 1 м3 бетона.
2. Автоклавные установки [2]
Автоклавы представляют собой герметически закрывающиеся сосуды, предназначенные для ТВО изделий из теплоизоляционных и силикатных бетонов паром под давлением выше атмосферного (рис. 2.1). Автоклавы могут быть прямоугольные или цилиндрические, тупиковые (с одной крышкой) или проходные (с двумя крышками). Рабочее избыточное давление составляет от 0,8 до 2,5 МПа.

Рис. 2.1. Схема автоклавной установки:
1 — наружная поверхность корпуса;
2 — крышки;
3 — затворы;
4 — перепускной клапан;
5 — предохранительный клапан;
6 — паровпускная труба;
9 — рельсовые пути;
10 — вентиль для спуска конденсата;
11 — неподвижная опора;
12 — вентиль для выпуска воздуха
Автоклав работает следующим образом: сначала путем подачи пара при атмосферном давлении поднимают температуру до 100 °С, потом до максимальной температуры, при которой проводится изотермическая выдержка. При изотермической выдержке пар подается только на компенсацию потерь теплоты. По окончании выдержки начинается двухступенчатое охлаждение.
Выбор типа и размера автоклава зависит от габаритов изделий, технологии их изготовления и производительности предприятий. Чаще всего применяют автоклавы диаметром от 2 до 3,6 м. При большой мощности предприятий наиболее эффективны проходные автоклавы длиной до 40 м, обеспечивающие поточность производства. Длина автоклава должна быть кратна размерам изделий, потому что неиспользуемая длина снижает коэффициент заполнения объема и увеличивает удельный расход пара, который обычно составляет 300...400 кг/м3 .
Тип автоклава выбирают, исходя из соображений технологии и по наибольшему коэффициенту заполнения, который должен составлять 0,1...0,35.
Автоклавная обработка изделий из изоляционных и силикатных бетонов в автоклаве дает возможность получать высококачественные изделия при применении даже низкомарочных цементов или местных вяжущих. Этому способствует повышенное давление в сочетании с высокой температурой.
3. Термоформы [1,2]
Изготовление и эксплуатация тепловых установок требуют больших капитальных вложений. При низком коэффициенте заполнения расходуется большое количество пара на периодический прогрев ограждений, свободного пространства, прокладок и др. В связи с этим целесообразнее тепловую обработку изделий проводить непосредственно в формах, полые борта и поддон которых выполняют роль тепловых отсеков, Такие формы получили название термоформ.
По условиям работы они бывают стационарными (имеют постоянное место) и передвижными (перемещаются в процессе изготовления изделий).
Материалом для изготовления термоформ служит металл и железобетон. Наиболее распространены металлические термоформы.
По условиям тепловой обработки изделий термоформы подразделяются на открытые, состоящие из поддона и бортоснастки, и герметизированные, имеющие еще и крышку. Последние могут состоять из поддона, к которому крепятся боковые стенки и крышка, или из двух крышек и боковых стенок, представляющих собой самостоятельную конструкцию.
Масса одной термоформы - 4200 кг. Удельный расход пара составляет 200...300 кг/м3. Применяются они на ДСК при производстве стеновых панелей.
Для повышения эффективности тепловой обработки изделий в открытых термоформах надо исключить массообмен с окружающей средой и надежно их тепло- и влагоизолировать и пригрузить (желательно). Для этого используют тяжелую резиновую ленту, пленку или тяжелый щит с пароизоляционной прокладкой.
4. Горизонтальные щелевые камеры [2]
Горизонтальные щелевые камеры (рис. 4.1) бывают одноярусные и многоярусные (чаще - трехъярусные). Одноярусная щелевая камера располагается ниже уровня пола и представляет собой туннель. Длина составляет 60... 127 м. Ширина туннеля проектируется в расчете на движение одного-двух изделий на каждой форме-вагонетке и находится в пределах 5...7 м. Высота равна 0,7... 1,2 м. В камере помещается 17-27 вагонеток с изделиями. Щелевые пропарочные камеры по длине разделя¬ются на зоны (при длине 127 м ): 1) подъема температуры (24 м); 2) изотермической выдержки (68 м); 3) охлаждения (35 м). В первую и вторую зоны подводится тепловая энергия, третья, наоборот, вентилируется холодным воздухом. Разделение камеры на функциональные зоны позволяет экономить тепловую энергию за счет экономии затрат теплоты на нагрев конструкций после каждого цикла.

Рис. 4.1. Схема горизонтальной пропарочной камеры щелевого типа:
1 — вагонетка с изделием;
2 — снижатель;
3 — механическая штора;
4 — уровень рельсов;
5 — герметизирующая штора;
6 — подъемник
5. Вертикальные пропарочные камеры [2]
Вертикальные пропарочные камеры (рис. 5.1) позволяют рационально расходовать теплоту и производственные площади. Эти камеры внизу у двух противоположных стен имеют проемы для загрузки и выгрузки форм-вагонеток. Размеры загрузочного проема на 5...10 см превышают габариты форм-вагонеток, высота проема обычно не превышает 1 м.
Приямок оборудован механизмами для подъема форм по вертикали, перемещения по горизонтали и опускания. Механизмы транспортирования состоят из гидроподъемника, гидроснижателя и передаточной тележки. Конструкция гидроподъемника и гидроснижателя одинакова и состоит из стола 5 двух направляющих колонн, гидропривода, плунжерного гидроцилиндра и отсекателя. Передаточная тележка 3 перемещает формы из подъемной части в опускную. Она представляет собой раму в виде портала с четырьмя жесткими консолями для опускания форм. Тележка перемещается канатом лебедки, установленной вне камеры.

Рис. 5.1. Вертикальная пропарочная камера:
1 — ограждение камеры;
2 — формы с изделиями;
3 — передаточная тележка;
4 — стол-снижатель;
5 — стол-подъемник;
6 — вход в камеру;
7 — трубчатое кольцо;
8 — кольцевой паропрогрев
В камерах вертикального типа используется естественное расслоение пара и воздуха по высоте. В верхней зоне камеры создается среда чистого насыщенного пара с температурой 100 °С. Ниже камера заполнена паровоздушной смесью, температура которой у пола 20...30 °С и по мере подъема изделий повышается до 100 °С.
Подогреваются и охлаждаются изделия по принципу противотока: нагретые до 100 °С, опускаясь, охлаждаются, встречая холодную среду, а свежеотформованные при подъеме встречают все более горячую и влажную среду. Таким образом, нижняя часть камер для движущихся вверх свежеотформованных изделий служит зоной подогрева, а для изделий опускающихся - зоной охлаждения.
Основное достоинство вертикальных камер - их устойчивый тепловой режим, что упрощает эксплуатацию, позволяет точно планировать сроки тепловой обработки и обеспечивает возможность поточности технологической линии.
Недостатки вертикальных камер - возможность выхода из строя механизмов в среде насыщенного пара и низкий коэффициент использования объема.
Удельный расход пара 100... 150 кг/м3 бетона.
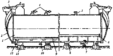
6. Камеры ямного типа.
Простой и самой распространенной на предприятиях сборного бетона является пропарочная камера ямного типа. Эти камеры применяют на заводах и полигонах.
a. Конструкция и способы повышения КПИ
Изготовляемая из железобетона пропарочная ямная камера имеет прямоугольную форму (рис. 6.1). Стены камеры 3 для уменьшения тепловых потерь делают комбинированными (конструкции стен, днища и крышки рассматриваются далее). По боковым стенам камеры установлены стойки с кронштейнами 4. В одной из боковых стен делается отверстие для забора воздуха 5 из атмосферы при охлаждении, снабженное водяным затвором. Сопряжение крышки 7 со стенками камер снабжено также водяным затвором 6. Для отбора паровоздушной смеси устроен канал 9, сообщающийся через водяной затвор 8 с системой вентиляции. В днище предусмотрена система отбора конденсата 10, пропускающая его и не пропускающая пар[2].
Для нагрева изделий через паропровод 2 в камеру подается пар. Камеры размещаются в технологических линиях и соединяются в блоки. Габариты камеры в плане соответствуют габаритам обрабатываемых изделий. Изделия размещаются в зависимости от размеров в один-два штабеля. Высота камеры 2,5—3 м. Для удобства обслуживания основная часть (до 3/4 высоты) камеры заглубляется в землю.

Рис. 6.1. Схема пропарочной ямной камеры [2]
Принцип работы камеры заключается в следующем. С камеры 1 снимается крышка. Изделие в форме опускается краном в камеру и устанавливается на нижние кронштейны стоек 4 (см. рис.6.1). Нагруженные кронштейны заставляют раскрыться следующий ряд и так далее. После загрузки камеры закрывается крышка, заполняются водяные затворы и начинают подавать пар. Изделия нагреваются (период прогрева) и выдерживаются (изотермическая выдержка) при достигнутой температуре. [2]
В процессе прогрева и изотермической выдержки пар конденсируется, отдает теплоту и в виде конденсата удаляется через систему 10. По окончании выдержки подача пара прекращается, и через канал 9 из камеры удаляется паровоздушная смесь. При этом вода в затворах вскипает и в виде паровоздушной смеси также удаляется. Через освободившийся от воды затвор 5, а также через затвор 6, соединяющий крышку со стенками, в камеру поступает воздух, который охлаждает изделия, сам нагревается и также удаляется в канал 9. После охлаждения изделий камера раскрывается, а изделия, набравшие 70–80 % марочной прочности, выгружаются из камеры краном.
Необходимость экономии топливно-энергетических ресурсов заставила искать возможности снижения расходов пара на тепловлажностную обработку. В связи с этим были приняты усовершенствования стенок, днища и крышек пропарочных камер, а также принципов подачи пара в камеры. Рассмотрим эти усовершенствования.[3]
Фактический коэффициент полезного использования тепловой энергии (КПИ) в пропарочных ямных камерах не превышает 20%. Вводя усовершенствования в конструкции, а также устранив утечки и выбросы пара, можно обеспечить увеличение КПИ до 85%. Для этого вместо днища из тяжелого бетона рекомендуется днище с воздушными прослойками (рис. 6.2).


Рис. 6.2. Схемы конструкций днищ ямной камеры с воздушными прослойками [2]
а — днище с ребристыми плитами;
б — днище с плоской плитой;
1 — цементная стяжка;
2 — ребристая (для а), плоская (для б) плита;
3 — воздушная прослойка;
4 — днище из керамзитобетона; 5 — песчаная подготовка

Рис. 6.3. Схема конструкции днища ямной камеры без воздушных прослоек [3]
1 — цементная стяжка;
2 — керамзитобетонные плиты;
3 — песчаная подготовка;
4— керамзитовый гравий;
5 — фундаментная балка;
6 — опорная балка
Основное днище 4 выполняется из керамзитобетона и кладется на песчаную подготовку 5. Над основным днищем, которое выполнено с уклоном к месту отбора конденсата, находится воздушная прослойка 3, перекрытая фальш-днищем. Уклон фальш-днища делается в обратном направлении для создания гидравлической петли из стекаемого конденсата в целях лучшего разделения находящегося в камере пара и удаляемого конденсата. При этом возможность «пролетного» пара в конденсатоотводящую систему резко снижается.
Предлагается и днище без воздушных прослоек (рис. 6.3). В конструкции такого днища роль теплоизолятора отведена керамзитобетонной пустотной плите в совокупности с подсыпкой из керамзитового гравия. Указанная конструкция является меньшим теплоизолятором, так как имеет опорные и фундаментные блоки[2].

Рис. 6.4. Схема наружной стены ямной камеры с водяным затвором [2]
1 — железобетонный каркас;
2 — закладные бруски;
3 — швеллер водяного затвора;
4 — опорное ребро водяного затвора (гидрозатвора);
5 — уплотняющее ребро;
6 — крышка камеры;
7 — деревянные прокладки;
8 — асбестоцементный лист;
9 — фольгоизол;
10 — экраны из стеклопластика;
11 — цементная стяжка

Рис. 6.5 Схема конструкции перегородочной стенки ямной камеры [2]
1 — цементная стяжка;
2 — прокладки;
3 — фольгоизол;
4 — экраны;
5 — металлический каркас
Основным источником потерь теплоты в ямных камерах были массивные стены из тяжелого бетона. Значительное количество теплоты они отдавали в окружающую среду; много теплоты расходовалось на их разогрев; кроме того, теплота терялась при охлаждении и разгрузке камер. Поэтому для стен ямной камеры предложены легкие теплоизолирующие конструкции (рис. 6.4). Наружная стена камеры состоит из железо-бетонного каркаса 1, на котором монтируются экраны 10 с воздушными прослойками. Шаг прослоек регулируется деревянными прокладками. Вся конструкция экранов с обеих сторон гидроизолируется фольгоизолом по которому прокладывается асбестоцементный лист 8. Претерпел изменения и гидрозатвор, для уплотнения которого кроме опорного ребра 4 введено дополнительное уплотняющее ребро 5.[3]
На рис. 6.5 показана схема конструкции перегородочной стенки, применяемая при блокировке камер. Стенка имеет металлический каркас 5 с обязательным антикоррозионным покрытием. Внутри каркаса устроена изоляция, состоящая из трех стеклопластиковых экранов. Экраны изолируются от среды с двух сторон фольгоизолом 3.[3]
Кроме того, разработаны разделительные стенки с бетонным каркасом и экранной изоляцией. Для внутренних и наружных стен с экранной изоляцией разработаны конструкции с металлической изоляцией. Рассмотренные стеновые конструкции обладают малой массой, хорошей теплоизоляционной способностью и почти не аккумулируют теплоту.

Рис. 6.6. Схема конструкции плоской крышки ямной камеры [3]
1 — металлический каркас;
2 — минераловатиая плита;
3 — нижняя и верхняя стальные обшивки;
4 — стальные экраны; 5 -г - опорное ребро;
6 — швеллер гидравлического затвора
Претерпели изменение и конструкции крышек ямных камер. Значительно увеличилась толщина теплоизоляционного слоя. Плоские крышки (рис. 6.6) снабжаются стальным экраном для стока конденсата в гидравлический затвор и для предохранения поверхности изде¬лия от попадания конденсата. Глубина швеллера 6, используемого в качестве гидравлического затвора, не менее 100 мм (а в большинстве случаев доводится до 150 мм)
Все рассмотренные конструктивные изменения в значительной мере увеличивают количество полезно используемой теплоты на тепловлажностную обработку изделий. Однако основной недостаток, заложенный в конструкции ямной камеры, продолжает оставаться. При загрузке изделий в камеры краном они ударяются о борта камеры, о гидравлический затвор, постепенно нарушая герметизацию. Пар начинает выбивать через неплотности, и его расход через определенное время начинает возрастать.
b. Организация подачи пара.[2]
Одним из условий рационального расходования пара на тепловлажностную обработку изделий в ямных камерах, а также на создание равномерного нагревания этих изделий является организация подачи пара. Как правило, в качестве паропровода используют кольцевую перфорированную (с отверстиями через 100—150 мм) трубу, проложенную по основанию периметра камеры. В этом случае по высоте камеры наблюдается неравномерное температурное поле, которое приводит к неодинаковому нагреванию изделия, а значит и к разной прочности. В одном месте изделие получило 80% прочности марочной, в другом 60%, в третьем 40%. Все это заставляет удлинять сроки тепловой обработки и увеличивать удельные расходы пара. Поэтому организации подачи пара в ямные камеры уделяется большое внимание.
Существуют различные схемы снабжения паром ямных камер. На рис. 6.7 показана схема паропровода с вертикальными стояками. Пар от магистрали через подводящий паропровод 1 подается в камеру. Регулировка подачи пара осуществляется вентилем 3. Пар поступает в горизонтальный разводящий паропровод 5расположенный по нижнему периметру камеры, откуда попадает в стояки 6, где через перфорации (отверстия) под небольшим избыточным давлением поступает в камеру. Такая подача пара создает циркуляцию, позволяющую уменьшить неравномерность прогрева изделий.

Рис. 6.7. Схема паропровода с вертикальными стояками
1 — паропровод;
2, 4 — вентили;
3 — регулирующий вентиль;
5 — горизон¬тальная разводка;
6 — перфорированные стояки
Более рациональная система снабжения паром ямных камер заключается в интенсификации циркуляции пара (рис. 6.8), для чего предусмотрена основная ветвь подачи пара из магистрали, снабженная регулятором 3; обводная ветвь включается в случае отказа регулятора 3. Обе магистрали снабжены запорными вентилями 2, для включения их в работу раздельно.


Рис. 6.8. Схема парораспределения в камере
а — камера в разрезе;
б — парораспределение;
1 — подача пара;
2 — вентили;
3 — регулятор;
4 — подводящий паропровод;
5,6 — нижний и верхний паропроводы с соплами;
7 — сопла;
8 — съемная дроссельная шайба
По магистрали пар разводится в нижний и верхний паропроводы — коллекторы, расположенные по противо-положным стенам камеры и снабженные соплами 7. В нижнем коллекторе, находящемся на уровне 0,2—0,3 h (высоты камеры) сопла направлены вверх и создают циркуляцию по ходу выброса пара. Верхний коллектор расположен'на высоте 0,7—0,8 h. В нем сопла направлены вниз. Такое расположение сопел создает доста¬точную циркуляцию для равномерного нагревания изделий. Паропровод 4 снабжен съемной дроссельной шайбой для стока конденсата, образующегося при транспортировке пара.


Рис. 6.9. Схема парораспределения с внешним эжектором
а — схема паропроводов; б —схема эжектора
Схема рационального парораспределения с внешним эжектором (рис. 6.9). Принцип ее работы заключается в следующем. Пар из паровой магистрали 5 подается через регулирующий клапан 6 в эжектор 7, а затем в верхние раздаточные коллекторы 1 с соплами 2, направленными вниз. В нижней части камеры создается эжектором отрицательное давление, которое заставляет паровоздушную смесь засасываться в перфорированные трубопроводы 3. Тем самым в камере создается необходимая циркуляция паровоздушной смеси.
Отобранная паровоздушная смесь поступает в перфорированные трубопроводы 3 внизу камеры через трубопровод 4, а затем в эжектор 7 и за счет давления, созданного паром, выбрасываемым через сопло 9, эжектируется в смесительную камеру эжектора 8. В смесительной камере свежий пар смешивается с паровоздушной смесью и поступает в коллекторы 1 для подачи в камеру через сопла 2.
Рассмотренная схема, как и предыдущие, позволяет создать необходимую циркуляцию в камере и повысить равномерность обработки бетона.

Рис. 6.10. Схема пропарочной камеры, работающей в среде чистого пара (вентиляционное устройство и траверсы не показаны)
Для тепловлажностной обработки шлакобетонных изделий необходима температура порядка 373 К. В ямных камерах она может быть достигнута при следующем принципе организации снабжения пара (рис. 6.10). Камера оборудуется нижней 1 и верхней 2 раздачей пара, кроме этого, устраивается труба 3 с запорным вентилем 4, снабженная змеевиком с проточной холодной водой. В камеру подается пар П, а из нее удаляется конденсат К. После загрузки камеры включается нижняя перфорированная труба 1, закрывается вентиль подачи пара в верхнюю трубу и вентиль 4 на трубе 3. Камера и изделия одновременно нагреваются до темпе¬ратуры порядка 355—360 К.
Общее давление в камере атмосферное (≈0,1 МПа); оно складывается из парциального давления пара и парциального давления воздуха. При достижении температуры 355—360 К отключают нижнюю подачу пара и включают верхнюю. Пар начинает поступать в верхнюю часть камеры.
Открывают вентиль, и паровоздушная смесь начинает через трубу 3 вытесняться из камеры. Воздух выходит в цех, а пар вследствие охлаждения трубы 3 холодной водой конденсируется и стекает по желобу. Как только вся паровоздушная смесь будет вытеснена из камеры, термометр у устья трубы 3 покажет 373 К. Тогда вентиль 4 закрывают. Следовательно, весь воздух из камеры вытеснен; в ней находится чистый пар (0,1 МПа). Дальнейший процесс аналогичен процессу обработки изделий в ямной камере.
Пропарочные ямные камеры работают по циклу 12—15 ч. Цикл включает время на загрузку, разогрев изделий, изотермическую выдержку при максимальной температуре, охлаждение и выгрузку изделий. Удельный расход пара в ямных камерах колеблется в зависимости от их состояния. Средний удельный расход пара составляет 250—300 кг/м3 бетона. В хорошо оборудованных и правильно эксплуатируемых камерах удельный расход пара может быть снижен до 130—150 кг/м3 бетона.
Сравнительная характеристика тепловых установок
Сравнительная характеристика тепловых установок приведена в таблице 1.
Таблица 1
| СРАВНИТЕЛЬНАЯ ХАРАКТЕРИСТИКА УСТАНОВОК ПЕРИОДИЧЕСКОГО ДЕЙСТВИЯ
|
||||||
| Вид установки |
Вид изделия |
Температура обработки 0 С |
Продолжительность обработки, ч |
Удельный расход пара, кг/м3 |
Источник тепла |
Преимущества |
| Ямная камера |
Сборные и ж/б изделия |
80-90 |
10-12 |
140-250 |
пар |
Отличаются системами разводки пара, отвода конденсата, вентиляции |
| Кассетная установка |
Панели, лестничные марши, ребристые плиты |
80-90 |
6-8 |
150-200 |
Пар, дымовые газы, элект-рический нагрев |
Высокое качество поверхности, точность изготовления |
| Автоклав |
Бетонные и ж/б изделия |
до 100 |
− |
300-400 |
пар |
Получение высококачест-венные изделия при при-менении даже низкома-рочных цементов |
| Термоформы |
Крупноразмерные изделия |
130-140 |
8-9 |
200-300 |
Пар, вода, высокотемпературные носители. |
Мобильность, высокое качество поверхности, точность изготовления |
| СРАВНИТЕЛЬНАЯ ХАРАКТЕРИСТИКА УСТАНОВОК НЕПРЕРЫВНОГО ДЕЙСТВИЯ
|
||||||
| Вид установки |
Вид изделия |
Температура обработки, 0 С |
Продолжительность обработки, ч |
Удельный расход пара, кг/м3 |
Источник тепла |
Преимущества |
| Горизон-тальные щелевые камеры |
Сборные и ж/б изделия |
80-85 |
6-7 |
300-400 |
Острый пар, |
Экономия тепловой энергии за счет функциональных зон и экономии затрат теплоты на нагрев конструкции после каждого цикла |
| 130-190 |
электронагреватели, |
|||||
| 120-130 |
глухой пар |
|||||
| Верти-кальные пропароч-ные камеры |
Сборные и ж/б изделия |
до 100 |
6-7 |
100-150 |
пар |
Устойчивый тепловой режим, поточность, технологичность линии малая площадь( в 2-3 раза меньше чем ямных и в 10-12 раза меньше туннельных при той же пропускной способности. |
II. Подбор состава бетонной смеси.
Необходимо рассчитать и выбрать состав бетона для колонны из тяжелого бетона.
1. Выбираем подходящий по виду и свойствам бетон [4]:
Класс бетона B30.
Марка (активность) цемента 400.
Kм.п. =1,09 – коэффициент межпартионной вариации.
νn = 0,11 – коэффициент вариации прочности бетона.
2. Расчет лабораторного состава бетона [5].
- Расчет средней прочности бетона:
Rб
=1,1
Kм.п.
Rб
=1,1
1,09=43,89 МПа
- Определение водоцементного отношения В/Ц:
В/Ц=
=
=0,43
- Определение расхода цемента:
Ц=![]()
В=158,7 (расход воды определяется по графикам [5] таблица зависимости расхода воды, для осадки конуса около 5...9см).
Ц=
=369,1 кг/м3
- Определение расхода щебня:
Щ=
, где
α – коэффициент раздвижки зёрен; α=1,38 (из таблицы в зависимости от расхода цемента [5]).
Пщ – пустотность щебня в %; Пщ = 0,43 % .
γщ – насыпная плотность щебня; ущ = 1,48 кг/м3 ;
ρщ – истинная плотность щебня; рщ = 2,6 кг/м3
Щ=
=1270 кг/м3
- Определение расхода песка:
П=[1000–(
)]×
, где
ρщ – истинная плотность щебня; рщ = 2,6кг/л.
ρп – истинная плотность песка; рп = 2,63 кг/л.
ρц – истинная плотность цемента; рц = 3,1 кг/л.
П=[1000–(
)]×2,63 = 622,3кг.
3. Производственный состав бетона
- Влажность песка 3%, П = 622,3кг, тогда:
Вп – содержание воды в песке; Вп =622,3×0,03=18,7л.
- Влажность щебня 2%, Щ = 1270кг, тогда:
Вщ – содержание воды в щебне; Вщ =1270×0,02=25,4л.
Итого: Впщ =44,1л.
- Тогда пересчитаем:
П=622,3+18,7=641кг
Щ=1270+25,4=1295,4кг
В=158,7–44,1=145,8л.
- Найдём коэффициент выхода смеси:
, где
,
,
- насыпная плотность цемента, песка и щебня соответственно.
- Расчётная плотность смеси:
П+Щ+В+Ц=369,1+1295,4+641+145,8=2451,3 кг/м3
III. Конструктивный расчет тепловой установки.
- Длина камеры составляет
где
L – длина одного изделия, м;
n – количество изделий укладываемых по длине камеры, шт.;
L1 – расстояние между изделиями, изделием и стенкой камеры с учетом размера формы.
![]()
- Ширина камеры составляет
где
B – ширина одного изделия, м;
n1 – количество изделий укладываемых по ширине, шт.;
B1 – расстояние между изделиями, изделием и стенкой камеры с учетом размера формы, B1 =0,35…0,40 м. Так как ширина изделия превышает 2м, то значение B1 принимаем равным 1.
![]()
- Глубина камеры равна
где
H-высота одного изделия, м;
H1 -расстояние между отдельными изделиями по высоте, м, с учетом размера форм. H1 принимается равным не менее 0,03 м;
H2 - расстояние между нижней формой и дном камеры, H2 =0,15 м;
H3 -расстояние между верхним изделием и крышкой камеры, H3 >0,05 м.
![]()
- Полезный объем камеры Vп , м3 ,
где
Vи - объем одного изделия, м3 ;
n0 -общие количество изделий в камере, шт.
- Коэффициент использования камер по объему определяется как отношение полезного объема камеры Vп , м3 , к полному геометрическому объему камеры V, м3 :
![]()
согласно нормам технического проектирования K³0,1.
![]()
IV. Расчет производительности установки
Производительность установок периодического действия определяется длительностью цикла работы установки и оборачиваемостью ее полезных объемов.
Длительность цикла работы установки равна:
где
з
– время загрузки изделий в установку, ч;
п.в
– время предварительной выдержки изделия в установке перед тепловой обработкой, ч;
т.о
– время тепловой обработки, ч;
в
– время выгрузки изделий из установки, ч.
1. Примем: [1,приложение 2 ]
предварительное выдерживание – 2,5 ч
прогрев – 3 ч
изотермический прогрев – 5ч
охлаждение – 2 ч
2. Время загрузки определяется по выражению
, где
ф
– цикл формирования одного изделия, ч;
Mф , – количество формовочных постов, обслуживающих одновременно данную установку,
n0 – количество изделий, загружаемых в установку, соответственно, шт.
=0,875
3. Время выгрузки установки
где
Pкр - производительность крана по выгрузке изделий, м3 /ч.
Так как изделия выгружаются из камер в общем технологическом ритме, то можно считать
=
.
![]()
4. Оборачиваемость установок периодического действия, 1/сут:
где
24 – суточный фонд рабочего времени, ч/сут;
Кв – коэффициент использования камер во времени. При двухсменной работе формовочного отделения Кв =0,85, при трехсменной – Кв = 0,9...0,95.
![]()
5. По рассчитанной теоретической оборачиваемости От определяется производительность одной установки, м 3 /год:
где
N – расчетное количество рабочих суток в году, сут/год;
Кс – коэффициент, учитывающий возможные срывы производства, аварии, неблагоприятные метеорологические условия и т.д., Кс = 0,85...0,9.
![]()
6. В зависимости от исходных данных определяется потребное количество установок по заданной общей производительности:
где
М – потребное количество установок для обработки заданного количества изделий, шт.;
Р – заданная годовая производительность отделения тепловой обработки или технологической линии, м3 /год;
Ру – производительность одной установки, м3 /год.
![]()
7. Возьмем в своей курсовой работе число установок равное 15.
V. Расчет коэффициента теплообмена между
греющей средой и прогреваемым изделием.
- Выбираем режим тепловой обработки в ямной камере[1,приложение 2 ]:
t0 = 20 °C (начальная температура среды)
tиз = 80 °C
tn = 3 ч (время подъема температуры, т.е. период прогрева)
tиз = 5 ч (время изотермической выдержки)
tox л = 2 ч (время охлаждения)
= 80%
- Скорость подъема температуры среды в установке
b =
°C/ч
- Средняя температура конденсатной пленки
tср
= tс
–
, где
tc – температура среды в определенный момент времени t
tc
= to
+b×
.
- По номограмме определяем коэффициент теплообмена a при
=80 %
1) для середины периода прогрева
tc = 20+20×1,5=50 °С
tср
= 50–
=45 °C
aп =12 Вт/(м2 ×°С)
2) для конца периода прогрева
tc =20+20×3=80 °С
tcp
= 80–
=75 °С
aкп =48,7 Вт/(м2 ×°С)
3) в период изотермической выдержки
tc = 80 °С
tср =80–5/2=77,5 °С
aиз =51,5 Вт/(м2 ×°С)
VI. Расчет тепловыделения бетона при тепловой обработке
Для проведения расчета с помощью номограммы определяют критерии подобия Био и Фурье:
1. В начале периода подъема температуры
Biп
=
=
=1,15 Foп
=
=
=0,373, где
aп – средний за период прогрева коэффициент теплообмена между греющей средой и поверхностью изделий, Вт/(м2 ×°С);
R – характерный размер изделия, м;
а – коэффициент температуропроводности, м2 /ч.
Количество градусо-часов в период прогрева
, где
– средняя температура бетона за период прогрева, °С
, где
C2 =f (Foп , Biп ) определяется по графикам [1, прил.27]
С2 =0,02 при F0 =0,37; Bi=1,15;
=20+
=23,22 °С/ч
QП =23,22×3=69,66 °С
2. В конце периода подъема температуры:
=t0
+
×
, где
– средняя температура бетона в конце периода прогрева, °С :
С1 =f(Fокп ,Вiкп ) определяется по графикам [1, прил.26]
Biк.п.
=
=
=4,68; Foк.п.
=
=
=0,37
С1 =0,26
=20+
=61,86 °С
3. В период изотермической выдержки
![]()
С3 =f(Fоиз ,Вiиз ) определяется по графикам [1, прил.28]
Biиз
=
=
=4,95 Foиз
=
=
=0,62
С3 =0,15
Q=80×5-(80-61,86)×
= 378,1°С/ч
Количество градусо-часов за весь период ТВО
Q=QИЗ +QП =378,1+69,66=447,76 °С/ч
По номограмме определяем [1, прил.21]:
а) общее удельное тепловыделение цемента за весь цикл тепловой обработки qэ – по общему количеству градусо-часов Q:
qэ =53,5 ккал/кг=224,7 кДж/кг
б) удельное тепловыделение цемента в период подъема температуры qэ п – по количеству градусо-часов, полученным бетоном за период подъема температуры QП :
qэ п =15 ккал/кг=63 кДж/кг
в) удельное тепловыделение цемента в период изотермического прогрева:
qэ и = qэ - qэ n =224,7-63=161,7 кДж/кг
Соответствующие значения удельного тепловыделения бетона кДж/м3 , будут равны:
Qэ =qэ ×Ц=224,7×369,1=82936,77 кДж/м3
Qэ п =qэ п ×Ц=63×369,1=2325,33 кДж/м3
Qэ и =qэ и ×Ц=161,7×369,1=59683,47 кДж/м3
Величина, характеризующая тепловыделение бетона
m=![]()
,
где А=0,0023×Qэ 28(B/Ц)0.44 – коэффициент, учитывающий водоцементное отношение. Для ПЦ 400: Qэ28 =419кДж/кг
А=0,0023×419×(0,43)0.44 =0,67
m=
=6,4 °С/ч
VII. Расчет распределения температур
в бетонных и железобетонных изделиях
Период подъема температур
Если испарения влаги из бетона нет и начальная температура его равна начальной температуре среды, то температуру бетонного изделия в любой его точке в зависимости от продолжительности нагрева, теплофизических констант, скорости подъема температуры и тепловыделения бетона можно рассчитать по следующим формулам:
t(r,t)=t0
+bt–
[R2
(1+
)–rц
2
]+
R2
, где
rц – координаты точки рассматриваемого тела,
An , mn – постоянные, зависящие от формы тела и критерия Bi,
I0 – функция Бесселя первого рода нулевого порядка [1, прил. 8].
· Так как Fo>0,2, то ограничиваемся только первым рядом суммы и соответственно значениями A1 и m1 [1, прил. 32].
A1 =1,54, m1 =1,92,
· Температура центра изделия (r=0)
t(0;t)=
[0,152
(1+
]+0,152
× ×
=55°C
· Температура поверхности изделия (r=0,15 м)
t(0,15;t)=20+20×3–
[0,152
(1+
]+
× ×
=72,25 °C
Период изотермической выдержки
Для определения температур по сечению изделия служат те же дифференциальные уравнения, что и для периода подъема, но при других начальных условиях. За начало отсчета времени следует брать время конца периода прогрева. При этом изделия будут иметь начальное распределение температур, определяемое вышеприведенными уравнениями, в которых следует положить t = tпод . Величину mиз рассчитываем по формуле:
mиз
=
, где
QЭ
– тепловыделение 1 м3
бетона в зависимости от
, кДж/м
mиз
=
=8°С/ч
Таким образом, получаем решения, которые удобно представить в следующем виде:
![]()
Aиз
=![]()
Bиз
=
Для Biиз =4,95 и Foиз =0,62 значения A1 и m1 соответственно равны[1, прил. 32]:
A1 =1,57, m1 =2
Для центра:
Aиз
=
=0,191
Bиз
=
=1,188
![]()
=80,08 °C
Для поверхности изделия
Aиз
=
=0,043
Bиз
=
=1,143
![]()
=80,09 °C
Определим средние температуры изделий в начале и конце каждого периода.
=60,75 °С
=40,38 °С
=80,09 °С
=70,42 °С
VIII. Теплотехнический расчет
Этот расчет выполняют путем составления материального и теплового балансов установки. Материальный баланс установок тепловлажностной обработки позволяет учесть массы всех материалов, участвующих в процессе (сырьевых материалов, закладных деталей и арматуры, форм, ограждающих конструкций). Тепловой баланс позволяет определить удельный расход теплоты на единицу продукции, максимальный часовой расход тепла, теплоносителя или топлива. На основе этого расчета подбирают диаметры труб для подвода теплоносителя, дроссельные диафрагмы, регуляторы давления и температуры, основные элементы системы автоматики.
Тепловой баланс для установок периодического действия выполняют отдельно по периодам, поскольку часовой расход тепла в период нагревания в несколько раз превышает расход тепла в период изотермической выдержки.
Расчет ведем для одной установки.
VIIIa. Материальный баланс
Приход материалов
1. Масса сухой части изделия
, где
Ц – удельный расход цемента, кг/м3
П – удельный расход песка, кг/м3
Щ – удельный расход щебня, кг/м3
Vб – объем бетона в расчетной загрузке, м3 .
Gc =(369,1+622,3+1270)∙6,3=14250 кг
2. Масса воды затворения
,где
В – удельный расход воды, кг/м 3
Gв1 =158,7∙6,3=1000 кг
3. Масса арматуры и закладных деталей
, где
А – удельный расход арматуры и закладных деталей, кг/м 3 (находится по [7]).
кг
4. Масса форм или поддонов
, где
Gф1 – масса одной формы или поддона, кг[1, прил.9];
n – количество форм или поддонов в расчетной загрузке, шт.
=112840 кг
5. Масса материалов ограждающих конструкций
, где
Vогр - объем ограждений, м3 ;
ρогр - плотность материала ограждений, кг/м 3 [1, прил.11].
Gогр =2∙7∙2,48∙0,38∙1700+2∙1,65∙2,48∙0,38∙1700+7∙1,65∙0,2∙300+ +7∙1,65∙0,2∙2400=33950 кг
6. Приход материалов
Gприх = Gc +Gв1 +Ga +Сф +Gогр
Gприх =14250+1000+945+112840+33955=162990 кг≈163 т
Расход материалов
Gрасх = Gc +Gв2 +Ga +Gф +Gогр , где
Gв2 - масса оставшейся после испарения воды в материале, кг, равная Gв2 = Gв1 -W, где
W»0,01rб Vб - масса испарившейся воды, кг.
Gв2 =1000–0,01∙2400∙6,3=848,8 кг
Gрасх =14250+848,8+945+112840+33955=162838,8 кг
Потери материалов
Из общего уравнения материального баланса находим потери массы
![]()
162990–162838,8=151,2 кг
VIIIб. Тепловой баланс
Период подъема температур
Приход теплоты
1. Теплота сухой части бетона
, где
Сс – удельная теплоемкость сухой части бетона, кДж/(кг×°С) [1, прил.11];
– средняя температура изделия в начале периода, °С.
=14250∙0,84∙20=239400 кДж
2. Теплота воды затворения
, где
Св – удельная теплоемкость воды, кДж/(кг°×С) [1, прил.13].
=1000∙4,185∙20=83700 кДж
3. Теплота арматуры и закладных деталей
, где
Са – удельная теплоемкость арматуры и закладных деталей, кДж/(кг×°С) [1, прил.11] .
=945∙0,46∙20=8700 кДж
4. Теплота форм или поддонов
, где
Сф – удельная теплоемкость материала форм или поддонов, кДж/(кг×°С) [1, прил.11].
=112840∙0,46∙20=1038130 кДж
5. Теплота экзотермии цемента при средней температуре бетона за период прогрева ![]()
, где
- удельное тепловыделение цемента, кДж/кг;
В/Ц- водоцементное отношение;
- масса цемента в загруженных в камеру изделиях, кг.
=0,0023∙419∙(0,43)0,44
∙40,38∙3∙369,1=29720 кДж
6. Теплота насыщенного пара, затраченного на обработку изделия в период прогрева
, где
-масса пара, поступившего в установку за период прогрева, кг;
- энтальпия пара, кДж/кг[1, прил.194].
∙2571,5
7. Теплота конструкций ограждения
, где
– удельная теплоемкость материала ограждений, кДж/(кг°С) [1, прил.11];
–температура ограждений в начале периода прогрева, °С.
=2∙11214,56∙0,88∙20+2∙2643,432∙0,88∙20+693∙0,75∙20+5544∙0,84∙20= =591340 кДж
Суммарный приход теплоты за период подъема температуры
![]()
=239400+83700+8700+1038130+29720+2571,5
+591340= =(1990990+2571,5
) кДж
Расход теплоты
1. Теплота сухой части бетона
, где
– средняя температура изделий в конце периода прогрева, °С.
=14250∙0,84∙60,75=727177,5 кДж
2. Теплота воды в изделиях
![]()
=1000∙4,187∙60,75=254360 кДж
3. Теплота арматуры и закладных деталей
![]()
=945∙0,46∙60,75=26410 кДж
4. Теплота форм или поддонов
.
=112840∙0,46∙60,75=3153310 кДж
5. Теплота материала ограждающих конструкций к концу периода
, где
– температура ограждающих конструкций к концу периода прогрева, °С, равная
, где
– толщина материала ограждений, м;
аогр – коэффициент температуропроводности материала ограждений, м2 /ч[1, прил.11];
– подсчитывается отдельно для различных элементов ограждений(подземных, надземных, пола, крышки).
Для стен:
С1 =f(Fокп , Вiкп ) определяется по графикам [1, прил.22]
Biп
=
=
=24,5 Foп
=
=
=0,038
С1 =0,03
=20+
=67,6 °С
Для крышки:
С1 =f(Fокп , Вiкп ) определяется по графикам [1, прил.22]
Biп
=
=
Foп
=
=![]()
С1 =0,05
=20+
=60 °С
Для пола :
С1 =f(Fокп , Вiкп ) определяется по графикам [1, прил.22]
Biп
=
=
=6,24 Foп
=
=![]()
С1 =0,11
=20+
=51,48 °С
=2∙11214,56∙0,88∙67,6+2∙2643,432∙0,88∙67,6+693∙0,75∙60+5544∙ ∙0,84∙51,48=1919694 кДж
6. Потери теплоты в окружающую среду от различных элементов ограждений
, где
– коэффициент теплопередачи, зависящий от внешнего и внутреннего теплообмена, Вт/(м2
×°С);
- толщина ограждений, м;
и
- коэффициенты теплоотдачи Вт/(м2
×°С).
В установках ТВО принимают:
=50…75 Вт/(м2
×°С) – внутренний теплообмен;
=5…10 Вт/(м2
×°С) – внешний теплообмен.
Теплоту, потерянную с 1 м2 подземной части установки, принимают в размере 1/3 потерь надземной части в окружающую среду.
Для стенок
H=0,6 – высота над уровнем пола.
=2∙7∙0,6+2∙1,65∙0,6=10,38 м2
=0,51 Вт/(м2
×°С)
=3,6∙0,51∙10,38∙(60,75–20)∙3=2330 кДж – для надземной части
=2330/3=777 кДж – для подземной части
=3107 кДж
Для пола
м2
=2,87 Вт/(м2
×°С)
=3,6∙2,87∙11,55∙(60,75–20)∙3=14590 кДж
Для крышки
м2
=0,3
=3,6∙0,3∙11,55∙(80–20)∙3=2245 кДж
=3107+14590+2245=19942кДж
7. Теплота, уносимая конденсатом пара
, где
– энтальпия конденсата, кДж/кг;
– потери пара за счет пропусков в атмосферу, кг;
– масса пара, занимающего свободный объем, кг
, где
– плотность пара, кг/м3
[1, прил.14];
– соответственно объемы камеры, загрузки бетона и форм, м3
.
=0,135∙22,5=3 кг
=80∙4,187=335 кДж/кг
![]()
![]()
8. Теплота пара, заполняющего свободный объем камеры
где
- энтальпия пара, кДж/кг[1, прил.14].
=3∙2607=7821 кДж
9. Теплота паровоздушной смеси, выбивающейся через неплотности в установке
![]()
=0,1∙(611528+302,4
)=(610770,65+30,15
) кДж
Суммарный расход теплоты за период подъема температуры составляет
![]()
=727177,5+254360+26410+3153310+1919694+19942+301,5
–
–1005+7821+610770,65+30,15
=(6718477,15+331,65
) кДж
Приравнивая статьи прихода и расхода и решая полученные уравнения теплового баланса по неизвестным, находим необходимое количество пара поступающего за период подъема температуры
кг.
6718477,15+331,65
=1990990+2571,5![]()
=(6718477,15–1990990)/(2571,5–331,65)=2110,63 кг
Максимальный расход пара, за период подъема температуры
![]()
=1,2∙2110,63=2532,75 кг
Максимальный часовой расход пара
.
=844,25 кг/ч≈0,23 кг/с
Удельный расход пара в период подъема температуры
![]()
=335кг/м3
Период изотермической выдержки
Приход теплоты
1. Теплота сухой части бетона
=
=727177,5 кДж
2. Теплота воды в изделиях
=
=254360 кДж
3. Теплота арматуры и закладных деталей
=
=26410 кДж
4. Теплота форм и поддонов
=
=3153310 кДж
5. Теплота материалов ограждающих конструкций
=
=1919694кДж
6. Теплота пара, поступившего в камеру
, где
– масса пара, поступившего в установку за период изотермической выдержки, кг.
∙2675
7. Теплота экзотермии бетона при средней температуре бетона за период изотермической выдержки
![]()
=0,0023∙419∙(0,43)0,44
∙70,42∙5∙369,1=86761 кДж
Суммарный приход теплоты за период изотермической выдержки равен
![]()
=727177,5+254360+26410+3153310+1919694+2675∙
+86761= =(2675∙
+6167712,5) кДж
Расход теплоты
1. Теплота сухой части изделия
, где
– средняя температура изделий к концу периода изотермической выдержки, °С.
=14250∙0,84∙80,09=958677,3 кДж
2. Теплота на испарение части воды затворения
, где
2493 – теплота, затраченная на испарение 1 кг влаги, кДж/кг;
1,97 – теплоемкость водяного пара, кДж/(кг×°С);
- температура среды в установке в период изотермической выдержки.
=(2493+1,97∙80)∙151,2=4007701 кДж
3. Теплота воды, оставшейся в изделиях к концу периода
.
=848,8∙4,2∙80,09=285518 кДж
4. Теплота арматуры и закладных деталей
.
=945∙0,46∙80,09=34815 кДж
5. Теплота форм или поддонов
.
=112840∙0,46∙80,09=4157184 кДж
6. Теплота материала ограждающих конструкций к концу периода изотермической выдержки
, где
– температура ограждающих конструкций к концу периода изотермической выдержки, °С.
=2∙11214,56∙0,88∙70,42+2∙2643,432∙0,88∙70,42+693∙0,75∙70,42+ +5544∙0,84∙70,42=2082092 кДж
7. Теплота пара, заполняющего свободный объем камеры
=
=7821 кДж
8. Потери теплоты в окружающую среду от различных элементов ограждений
, где
– коэффициент теплопередачи, зависящий от внешнего и внутреннего теплообмена, Вт/(м2
×°С);
- толщина ограждений, м;
и
- коэффициенты теплоотдачи Вт/(м2
×°С).
В установках ТВО принимают:
=50…75 Вт/(м2
×°С) – внутренний теплообмен;
=5…10 Вт/(м2
×°С) – внешний теплообмен.
Теплоту, потерянную с 1 м2 подземной части установки, принимают в размере 1/3 потерь надземной части в окружающую среду.
Для стенок
H=0,6 – высота над уровнем пола.
м2
=0,448 Вт/(м2
×°С)
=3,6∙0,448∙10,38∙(80,09–20)∙5=5030 кДж – для надземной части
=5030/3=1677 кДж – для подземной части
=6707 кДж
Для пола
м2
=2,87 Вт/(м2
×°С)
=3,6∙2,87∙11,55∙(80,09–20)∙5=35854 кДж
Для крышки.
м2
=0,295
=3,6∙0,295∙11,55∙(80–20)∙5=3680 кДж
=6707+35854+3680=46241 кДж
9. Теплота, уносимая конденсатом пара
![]()
=(0,9∙
–22,5∙0,3027)∙335=(301,5∙
–2281,6) кДж
10. Теплота паровоздушной смеси, выбивающейся через неплотности в установке
.
=0,1∙(958677,3+4007701+285518+34815+4157184+2082092+7821+ +46241+301,5∙
–2281,6)=(1157777+30,15
) кДж
Суммарный расход теплоты за период подъема температуры составляет
![]()
=958677,3+4007701+285518+34815+4157184+2082092+7821+ +46241+301,5∙
–2281,6+1157777+30,15∙
=(12735544,5+331,65∙
) кДж
Приравнивая статьи прихода и расхода и решая полученные уравнения теплового баланса по неизвестным, находим необходимое количество пара поступающего за период изотермической выдержки
кг.
12735544,5+331,65∙
=2675∙
+6167712,5
=(12735544,5–6167712,5)/(2675–331,65)=2802,75 кг
Максимальный расход пара, за период подъема температуры
=1,2∙![]()
=1,2∙2802,75=3363,3
Максимальный часовой расход пара
.
=3363,3/5=672,66 кг/ч≈0,19 кг/с
Удельный расход пара в период подъема температуры
![]()
=2802,75/6,3=445 кг/м3
Тогда
=2802,75+2110,63=4913,38 кг
=4913,38/6,3=780 кг/м3
XI. Расчет диаметров паро- и конденсатопроводов
Выполняется расчет диаметров магистрального паропровода, диаметров паропроводов разводящей системы, а также конденсатопроводов:
, где
G — расход пара или конденсата, кг/с;
- скорость пара или конденсата, м/с;
— плотность пара или конденсата при соответствующей температуре, кг/м.
Для пара скорость в трубопроводе принимается равной 15...20 м/с, для конденсата при движении самотеком – 0,1...0,5 м/с. При расчете конденсатопровода количество образующегося конденсата принимают равным расходу пара, учитывая испаряющуюся из изделия влагу.
Для паропровода:
=255 мм
Для конденсатопровода:
=55 мм
Полученные при расчете диаметры паропровода (подбор по [6]) принимают равными:
Для паропровода:
Труба 150 ´ 4,5 ГОСТ 3262-75 — 2 штуки;
Для конденсатопровода:
Труба 65 ´ 4,0 ГОСТ 3262-75.
ЗАКЛЮЧЕНИЕ
В данной курсовой работе я запроектировал ямную камеру с размерами 7´1,65´2,48 для термовлажностной обработки колонн. Общее число изделий укладываемых в камеру составляет 14 штук.
Теплоносителем в камере является пар. Удельный расход пара в этой камере равен 780 кг/м3 .
Потребное количество установок для заданной производительности равно 9.
Основным источником потерь теплоты в данной установке является пол камеры из тяжелого бетона, поэтому для экономии пара необходимо использовать днище с применением керамзитобетона и воздушных.
БИБЛИОГРАФИЧЕСКИЙ СПИСОК
1. Губарева В.В. Теплотехника и теплотехническое оборудование технологии строительных изделий. — Ч. I. Термовлажностная обработка бетонных и железобетонных изделий : Учебное пособие / В.В. Губарева.—Белгород : Изд-во БГТУ им. В. Г. Шухова, 2004.—107с.
2. Кокшарев В.И. Тепловые установки / В.И. Кокшарев, А.А. Кучеренко.—Киев : Вища школа, 1990.—335 с.
3. Перегудов В. В. Теплотехника и теплотехническое оборудование : Учеб. для техникумов / В.В. Перегудов ; под ред. Н. Ф. Еремина.—М. : Стройиздат, 1983.—357 с.
4. ГОСТ 18105-86. Бетоны. Правила контроля прочности.—Введ. 01–01–87 - М. : Госстандарт СССР : Изд-во стандартов, 1992.—13 с.
5. Баженов Ю.М. Технология бетона / Ю.М. Баженов.—М.: Изд-во АСВ, 2003.—500с.
6. ГОСТ 3262-75. Трубы стальные водогазопроводные. Технические условия.—Введ. 01–01–77 —М. : Госстандарт СССР : Изд-во стандартов, 1991.—8 с.
7. ГОСТ 18979-90. Колонны железобетонные для многоэтажных зданий.—Введ. 01–07–90 —М. : Государственный строительный комитет СССР : Изд-во стандартов, 1990.—23 с.