| Скачать .docx |
Курсовая работа: Курсовая работа: Расчет и конструирование многопустотной панели покрытия ПК63.15-6Ат800
Расчет и конструирование многопустотной панели покрытияПК63.15-6Ат800
1. Исходные данные
Для изготовления панели принимаем:
Бетон кл. С12/15 (кл.В15); fск=7,7Мпа; fсtк=0,67Мпа;
. Продольную арматуру – из стали класса S400; Rs=365Мпа; и поперечную арматуру из S240; Rs=225Мпа; армирование – сварными сетками в верхней и нижней полках из проволоки класса Вр-IRs=365Мпа.
2. Нагрузки , Н/м2 .
№ п/п |
Вид и расчет нагрузки | Постоянная | Коэф. перегрузки | Расчетная |
| 1 | Постоянная | |||
| 2 слоя изопласта | 100 | 1,1 | 110 | |
Цем.-песчаная стяжка толщ.20мм 0,02х18000= |
360 | 1,3 | 468 | |
Утеплитель плиты пенополистирольные Y=35кг/м3 толщ. 300мм 350х0,3= |
105 | 1,1 | 116 | |
Ж..-бет. пустотная плита т.220мм Вес плиты/площадь =41900/1,49х8,98= |
3130 | 1,1 | 3440 | |
| Итого | 3695 | 4140 | ||
| 2 | Временная снег | 800 | 1,5 | 1200 |
| Всего | 4495 | 5340 |
Полная нагрузка при расчете панелей qн =4495 qр=5340
Определение нагрузок и усилий
1п.м. панели шириной 150см нагрузка равна, Н/м:
qн =4495х1,5=6740Н/м; qр =5340х1,5=8010Н/м.
l0 =6280-24/2=6160мм;
Расчетный изгибающий момент от полной нагрузки:

Максимальная поперечная сила на опоре от расчетной нагрузки:
Q=![]()
Расчетная схема

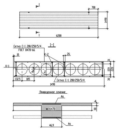
3. Расчетные данные для подбора сечений.
Панель рассчитываем, как балку прямоугольного сечения с заданными размерами bхh=15х22см, где b – номинальная ширина и h- высота панели. В расчете поперечное сечение пустотной панели приводим к эквивалентному двутавровому сечению. Заменяем площадь пустот прямоугольниками той же площади и того же момента инерции. Вычисляем:
h1 =0.9d=0.9х15,9=14,3см;
hn
= ![]()
Приведенная толщина ребер b=147-7
14.3=46.9см
Расчетная ширина сжатой полки ![]()

4. Расчет по прочности нормальных сечений.
Предварительно проверяем высоту сечения панели перекрытия из условия обеспечения прочности при соблюдении необходимой жесткости:
h=![]()
где qн =qн +рн =3695+800=4495Н/м2
Принятая высота сечения h=22см достаточна.
Отношение h
=3.8/22=0.173
в расчет вводим всю ширину полки ![]()
Вычисляем по формуле:
А0
=![]()
где h0 =h-a=22-3=19cм
по табл. 2.11 находим
=0,1;![]()
Высота сжатой зоны ![]()
нейтральная ось проходит в пределах сжатой зоны полки.
Площадь продольной арматуры.
Аs=![]()
Принимаем 6 Æ10S400 с Аs=4,71см,
а также учитываем сетку 200/250/5/4 ГОСТ 8478-66) Аs.прод.
=7
0,116=1,37см2
, всего Аs=1.37+4,71=6,08см2
, стержни Æ12мм распределяем по 2 в крайних ребрах и по1 в 2х средних ребрах.
5. Расчет по прочности наклонных сечений.
Проверяем условие:
Q≤0.35xfск xγb xbxh0
Q=24600Н<0.35х13.5(100)х0.85х46.9х19=358000Н,
условие удовлетворяется, размеры сечения достаточны.
Проверяем условие необходимости постановки поперечной арматуры для многопустотных панелей по формуле:
Q![]()
Q=24600H<k1
fс
t
к
y
=0.6
0.67(100)
0.9
46.9
19=32240H,
следовательно количество поперечной арматуры по расчету не требуется.
Поперечную арматуру предусматриваем по конструктивным условиям, располагая ее с шагом не более:
![]()
назначаем поперечные стержни диаметром 6мм, класса S240 через 10см у опор на участках длиной ¼ пролета. В конце этих участков, т.е. на расстоянии 5,98/4=1,5м от опоры. В средней части панели для связи продольной арматуры ставим поперечные стержни через 0,5м.
Проверяем прочность наклонного сечения у опоры:
усилие на единицу длины панели, воспринимаемое поперечными стержнями:
![]()
где As=
0.283
3=0.849см2
(для Æ6S240 в трех каркасах).
Поперечная сила, воспринимаемая бетоном и поперечными стержнями:

значит прочность наклонного сечения обеспечена.
6. Определение прогибов.
Момент в середине пролета равен: от полной нормативной нагрузки:
![]()
от постоянной нагрузки
![]()
от кратковременной нагрузки
![]()
Определяем прогиб панели приближенным методом, используя значения![]()
Для этого предварительно определяем
при
и арматуре класса S400
Общая оценка деформативности панели по формуле:
![]()
т.к. ![]()
условие не удовлетворяется, требуется расчет прогибов.
Прогиб в середине пролета панели по формуле:
![]()
где
- кривизна в середине пролета панели по формуле:

здесь коэфф. к1.кр
=0,58; к1дл.
=0,48; к2дл
=0,39; при
и
для двутавровых сечений.
Вычисляем прогиб:
что меньше
для элементов перекрытий с плоским потолком
см. табл.8.2.2 – 3см.
7. Расчет панели по раскрытию трещин.
Панель перекрытия относится к третьей категории трещиностойкойсти, как элемент, эксплуатируемый в закрытом помещении и армированный стержнями класса S400. Предельно допустимая ширина раскрытия трещин ат.кр. =0,4мм и ат.дл. =0,3мм.
Для элементов третьей категории трещиностойкойсти, рассчитываемых по раскрытию трещин, нормальных к продольной оси, при действии кратковременных и длительных нагрузок должно соблюдаться условие:
ат.дл. =ат.1 -ат.2 +ат.3 <ат.пред.
где (ат.1 -ат.2 ) – приращение ширины раскрытия трещин в результате кратковременного увеличения нагрузки от постоянной и длительной до полной; ат.3 -ширина раскрытия трещин от длительного действия постоянных и длительных нагрузок.
Ширину раскрытия трещин определяем:
![]()
где k1 =1 – как для изгибающих элементов;
- для стержневой арматуры периодического профиля;
d=1.0 см по расчету
Еа
=2,1
105
Мпа – для стали кл.S 400
kc
=1.0, т.к. с=3см<0,2h=0.2
h=0.2
22=4.4см;
сД =1,0 – при кратковременных нагрузках;
сД =1,5 – при постоянных и длительных нагрузках.

Определяем Z1 :

Здесь
1
=0,55;
h0
=19см;
Находим

![]()
Значения L от действия всей нагрузки:
![]()
Тоже, от действия постоянной и длительной нагрузки:

Вычисляем
при кратковременном действии всей нагрузки:

Продолжаем расчет как тавровых сечений.
Величина 
Упругопластический момент сопротивления ж.-бет. таврового сечения после образования трещин:
Wa
=As
Z1
=6.08
17.1=104см3
Расчет по длительному раскрытию трещин:
Мдл
=26290Н
м.
Напряжение в растянутой арматуре при действии постоянных и длительных нагрузок:
![]()
Ширина раскрытия трещин от действия постоянной и длительной нагрузок при сД =1,5
![]()
Расчет по кратковременному раскрытию трещин:
Мн
=31980 Н
м; Мдл
=26290 Н
м;
ат = ат1 - ат2+ ат3 ; где ат3 =0,11 мм.
Напряжение в растянутой арматуре при совместном действии всех нагрузок:
![]()
Приращение в растянутой арматуре при совместном действии всех нагрузок:
Приращение напряжения от кратковременного увеличения нагрузки от длительно действующей до ее полной величины:
![]()
Соответствующее приращение ширины раскрытия трещин при сД =1
![]()
Ширина раскрытия трещин при совместном действии всех нагрузок:
аТ =0,11+0,021=0,123мм < ат.кр =0,3м, т.е. условие удовлетворяется.
См. табл.8.1 пункт б акр. =0.3мм
8. Проверка плиты на монтажные нагрузки.
Панель имеет четыре монтажные петли из стали класса S240, расположенные на расстоянии 70см от концов панели. С учетом коэффициента динамичности qД= 1,5 расчетная нагрузка от собственного веса панели равна
q=qД
2*1.1*2750*1.19=7200н/м
гдеgn =hпр *γ=0,11*25000=2750н/м2 – собственный вес панели; hпр - приведенная толщина панели; γ – плотность бетона, н/м3
а) Расчетная схема

Отрицательный изгибающий момент консольной части панели:
M=q*l1 2 /2=7200*0.72 /2=1770Н*м
Этот момент воспринимается продольной монтажной арматурой каркасов.
Полагая, что Z1 =0.9h0 ; требуемая площадь сечения указанной арматуры составляет
:
Что значительно меньше принятой конструктивно арматуры 3Ø6 S240 c Аа =0,85см2