| Скачать .docx |
Курсовая работа: Расчёт и проектирование конструкций балочной клетки
МИНИСТЕРСТВО ОБРАЗОВАНИЯ РФ
КАФЕДРА СТРОИТЕЛЬНЫХ КОНСТРУКЦИЙ И ГИДРОСООРУЖЕНИЙ
Курсовая работа по дисциплине
«Металлические конструкции»
Тема: РАСЧЁТ И ПРОЕКТИРОВАНИЕ КОНСТРУКЦИЙ БАЛОЧНОЙ КЛЕТКИ
2009 г.
РЕФЕРАТ
В данной пояснительной записке рассмотрены два типа балочных клеток. Дана последовательность расчёта и проектирования стального настила, главной балки и центрально сжатой колонны для наиболее экономичного варианта.
Пояснительная записка состоит из страниц, таблиц, рисунков.
СОДЕРЖАНИЕ
Введение
1.Компоновка в балочной клетке
Расчёт стального настила
Расчёт и конструирование главной балки
2. Расчёт и конструирование главной балки
Расчётные нагрузки и усилия
Подбор сечения главной балки
Изменение сечения балки по длине
Проверка общей устойчивости главной балки
Проверка прочности поясных швов
Расстановка рёбер жёсткости. Проверка местной устойчивости стенки
Сварной монтажный стык главной балки
Расчёт и конструирование монтажного стыка главной балки на высокопрочных болтах
Расчёт и конструирование опорной части балки
Расчёт и конструирование центрально – сжатой колонны
Расчётное усилие и длина
Подбор и компоновка сечения колонны
Расчёт и конструирование базы колонны
Заключение
Литература
ВВЕДЕНИЕ
Балочная клетка представляет собой систему пересекающихся несущих балок, предназначенных для опирания настила перекрытий. В зависимости от схемы расположения балок балочные клетки делят на три типа: упрощенные, нормальные и усложненные.
В упрощенной балочной клетке нагрузка от настила передается непосредственной на балки, располагаемые обычно параллельно короткой стороне перекрытия, затем на вертикальные несущие конструкции (стены, стойки и др.). Такой вариант балочной клетки используется обычно в гражданских бескаркасных зданиях, где небольшие нагрузки и небольшие пролеты.
В промышленных здания обычно используют нормальную и усложненную компоновку балочных клеток. Здесь настил опирается на балки настила, которые опираются на главные балки (нормальны вариант балочной клетки) или на вспомогательные балки, а последние - на главные балки (усложненный вариант балочной клети). В данной курсовой работе рассмотрены эти варианты опирания и приведен расчет наиболее экономичного из них.
В настоящее время металлические конструкции применяют во всех видах зданий и инженерных сооружений.
В зависимости от конструктивной формы и назначения металлические конструкции делят несколько видов.
Конструкции одноэтажных промышленных зданий выполняют в виде цельнометаллических или смешанных каркасов. Цельнометаллические каркасы в основном применяются в зданиях с большими пролётами.
Большепролётные здания с пролётами до 150 м наиболее целесообразно перекрывать металлическими конструкциями. Системы и конструктивные схемы большепролётных покрытий очень разнообразны. Здесь возможны балочные, рамные, арочные, висячие, комбинированные, причём как плоские, так и пространственные системы.
Листовые конструкции являются тонкостенными оболочками различной формы и должны быть не только прочными, но и плотными.
1. КОМПОНОВКА В БАЛОЧНОЙ КЛЕТКЕ
1.1. Расчёт стального настила
Определим отношение пролёта настила к его толщине из условия обеспечения допустимого относительного прогиба:
, (1.1.1)
где
пролёт настила, мм;
толщина настила, мм;
норма прогиба, задаётся по заданию
;
, МПа
цилиндрическая жёсткость настила (пластины);
коэффициент Пуассона;
кПа
величина заданной полезной нагрузки, МПа.

Рисунок 1 – Расчётная схема стального настила

1.2. Сравнение вариантов компоновки балочной клетки

Рисунок 2 –Варианты компановки балочной клетки
а) Нормальный;
б) Усложнённый.
1.2.1 Нормальная компоновка
количество пролётов настила на длину главной балки:

Тогда шаг балок настила
, м, (1.2.1)
мм.
Нагрузки на балку настила:
- нормативная
, кН/м, (1.2.2)
где
вес 1 м2
настила при его толщине равной 10 мм;
, кПа, (1.2.3)
кПа;
временная равномерно-распределённая нагрузка, кПа.
кН/м.
- расчётная полная
, кН/м, (1.2.4)

кН/м.
Расчётный изгибающий момент:
кН*
м.
Условия прочности по I группе предельных состояний:
;
где
коэффициент условия работы.
Относим балки настила к III группе конструкций по [4].
Назначаем для балок настила Ст 18КП (С235), с расчётным сопротивлением
.
Требуемый момент сопротивления балки настила с учётом упругопластичной стадии работ:
;
Выбираем по сортаменту прокатный I 30Б1 c
;
;
.
Проверим жёсткость выбранного сечения:
условие удовлетворяется.
Расход материала:
.
1.2.2 Усложнённый вариант (рисунок 2б).
Шаг вспомогательной балки принимаем кратно (2.5…4 м):
;
; ![]()
;
![]()
;
;
Назначим по сортаменту I 23Б1 c
;
;
.
Проверим жёсткость выбранного сечения:
условие удовлетворяется
Рассчитываем вспомогательные балки:


;
.
Назначим по сортаменту I 70Б1 c
;
;
.
Проверим жёсткость выбранного сечения:

условие удовлетворяется
Расход материала:
,
.
ВЫВОД: расход материалов приблизительно одинаков, но по трудоёмкости второй вариант сложнее, поэтому для дальнейшей разработки принимается первый вариант, так как он более удобен для изготовления, монтажа и сокращает строительную высоту перекрытия.
2. РАСЧЁТ И КОНСТРУИРОВАНИЕ ГЛАВНОЙ БАЛКИ
2.1. Расчётные нагрузки и усилия
Нагрузки на наиболее нагруженные балки по средним осям:
;
.
Момент в середине пролёта:
;
Поперечная сила на концах:
.
Относим главную балку к II группе конструкций по [4] и назначаем для неё сталь 18ПС (С245) с расчётным сопротивлением
.
2.2. Подбор сечения главной балки

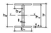
Рисунок 3 – Поперечное сечение главной балки
Минимальная высота сечения главной балки по требованиям жёсткости при норме прогиба
.
Найдём наименьший момент сопротивления:
,
где
коэффициент условия работы конструкции.
Определяем высоту сечения
:
Минимальная высота сечения из соображения жёсткости при
:

Оптимальная высота сечения из соображений экономии:
,
где
гибкость стенки.
![]()
Предельная высота сечения главной балки определяется из условия обеспечения заданной строительной высоты перекрытия.
![]()
Исходя из условия
, назначаем высоту сечения, близкой к оптимальной:
.
Определим толщину стенки:
Из условия прочности на срез в опорном сечении:
,
где
;
.
Из условия постановки только поперечных рёбер жёсткости, толщина стенки:

Из условия получения оптимальной, ранее предполагаемой гибкости стенки
:
.
Окончательно назначим толщину стенки по сортаменту
.
Определяем сечение поясных листов:




Окончательно по сортаменту принимаем размеры поясных листов:
![]()
;
;
.
Проверим условие свариваемости:

условие свариваемости выполнено.
2.3. Проверка принятого сечения
Вычисляем геометрические характеристики сечения:
Момент инерции:
, (2.3.1)
,
где
,
.
Момент сопротивления:
![]()
условие удовлетворяется.
Определим относительное превышение:

условие удовлетворяется.
Проверка по нормальным напряжениям:
кН/см2
, (2.3.2)
![]()
условие прочности выполняется.
Изменение напряжения (недогруз):
.
2.4. Изменение сечения главной балки по длине

Рисунок 4 – Схема к расчёту
Проектируем изменение сечения балки изменением сечения поясных листов на расстоянии
м от каждой из опор, уменьшаем сечения поясных листов.
Расчётные усилия в месте изменения сечения
, кН*
м, (2.4.1)
кН*
м;
, кН, (2.4.2)
кН
В месте изменения сечения расположен стыковой сварной шов. Сварка полуавтоматическая Св – 08А с расчётным сопротивлением шва
.
Предполагается наличие физического контроля шва, поэтому назначаем:
Определяем геометрические характеристики уменьшенного сечения:
см3
;
см2
;
см;
, (2.4.4)
Принимаем лист
мм
см2
см4
см3
, (2.4.5)
![]()
![]()
Статический момент
, см3
, (2.4.6)
см3
Проверка по наибольшим касательным напряжениям на опоре:
, кН/см2
, (2.4.7)
кН/см2
,
кН/см2
.
Условие
,кН/см2
, (2.4.8)
- условие выполняется.
2.5. Проверка по приведённым напряжениям
Проверка приведённых напряжений в стенке в месте изменения сечения балки производим в верхней точке стенки:
, кН/см2
, (2.5.1)
где
, кН/см2
, (2.5.2)
кН/см2
;
кН/см2
, (2.5.3)
кН/см2
;
;
;
.
1) С учётом локальных напряжений;
![]()
2) Без учёта локальных напряжений:
![]()
Вывод: условие прочности по приведённым напряжениям удовлетворяется.
2.6. Проверка прогиба главной балки
условие удовлетворяется
жёсткость балки обеспечена.
2.7 Расчёт поясных швов
Так как балка несёт статическую, семетрично – приложенную нагрузку, то проектируем односторонние поясные швы.
Сварка полуавтоматическая- свариваемая проволока Св 08А.
Расчётные сопротивление шва
;
![]()

Рисунок 5 – Схема поясного шва
Положение шва «в лодочку».
,![]()
Первоначально назначим катет шва
при ![]()
Проверяем катет шва на минимальное значение:
, кН/см, (2.7.1)
кН/см ;
, кН/см, (2.7.1)
кН/м;
кН/см;
таблица 38*
[4].
Проверка прочности швов
,
,
.
Условия прочности выполняются, следовательно минимального катета
шва достаточно.
2.8. Расстановка рёбер жёсткости. Проверка местной устойчивости
Условная гибкость стенки равна:
, так как
то поперечные рёбра жёсткости необходимо устанавливать.
Так как балка несёт статическую нагрузку, то применяем односторонние рёбра жёсткости, устанавливая их со стороны противоположной односторонним поясным швам.

Рисунок 6 – Сечение стенки
Для одностороннего ребра
.
Толщина ребра
мм.
Назначаем ширину выступающей части ребра
мм, толщину ребра
мм.
Рекомендуемое расстояние между нормами жёсткости для стальных балок несущих статическую нагрузку:
мм. Принимаем
мм.

Рисунок 7 - Расстановка рёбер жёсткости
Проверка местной устойчивости стенки производится по формуле:
(2.8.1)
Проверку местной устойчивости стенки выполняем для отсека, в котором меняется сечение верхнего пояса, так как в нём относительно высокий уровень и нормальных и касательных напряжений в стенке, а локальные напряжения одинаковы во всех точках приложения нагрузок на главную балку (от балок настила), устойчивость стенки в приопорном отсеке обеспечена его небольшими размерами.
В запас устойчивости полагаем расчётные значения нормальных и касательных напряжений в пределах отсека равными их величине в месте изменения сечения.
Расчётные значения напряжений:
- нормальные
кН/см2
(из проверки по приведённым напряжениям в стенке);
- касательное
кН/см (2.8.2)
кН/см.
Для вычисления критических значений напряжений вычисляем вспомогательные параметры:
(2.8.3)
;
Фактическое значение:
.
Коэффициент условного защемления:

Определим граничное условие:
по таблице24 [4].
![]()
выбираем второй вариант.
Критические напряжения местного смятия определим по формуле:
, кН/см2
(2.8.4)
где 
коэффициент принимаемый по таблице 23 [4]
кН/см2
, кН/см2
(2.8.5)
кН/см2
где ![]()
коэффициент принимаемый по таблице 25 [4]
, кН/см (2.8.6)
кН/см.
где
(2.8.7)
![]()
местная устойчивость стенки обеспечена с установкой поперечных рёбер жёсткости в 2000 мм.
2.9. Расчёт и конструирование монтажного стыка на высокопрочных болтах
Принимаем для стыка болты ø24 мм из стали 40Х “ Селект ” с
.
Отверстия под болты
.
Способ подготовки поверхности – газопламенный без консервации.
Способ регулировки усилия натяжения болтов – по моменту закручивания.

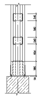
Рисунок 8 – Монтажный стык главной балки на высокопрочных болтах
Расчётное усилие, воспринимаемое одной поверхностью трения при наличии одного болта:
, (2.8.1)
где ![]()
- принимаем по таблице 62*
[4]
коэффициент условия работы болтовых соединений,
- так как число болтов >10;
.
кН.
2.9.1. Расчёт стыков поясных швов
Количество болтов в стыке поясов определяем по расчётному усилию растяжения воспринимаемому растянутым (нижним) поясом
, кН, (2.8.2)
кН.
Количество болтов с каждой стороны от стыка поясов
,
где
число поверхностей трения (число отрезов);
.
Принимаем 14 болтов.
Ширина накладки снаружи 560 мм (равны ширине пояса).
Толщину накладок определяем из условия их равнопрочности с поясом:
, см, (2.8.3)
.
2.9.2. Расчёт стыка стенок
Определяем шаг:

Стенку балки перекрываем парными накладками
из условия их равнопрочности со стенкой на изгиб.
2.9.3. Проверка ослабленного сечения
Для расчёта стыка стенки определяем долю изгибающего момента воспринимаемого стенкой:
, кН*
м, (2.9.3.1)
кН*
м.
Стенку балки перекрываем 2-мя накладками толщиной 10 мм:

![]()
Назначаем шаг болтов по высоте стенки 100 мм.
Исходя из соображений конструирования, назначаем:
.
Для расчёта стыка стенок, определяя долю изгибающего момента, воспринимающему стенкой балки
, кН*м, (2.9.3.2)
, кН, (2.9.3.3)
,где
см4
.
Из опыта проектирования принимаем 2 вертикальных ряда, n=2

Наиболее нагруженный болт в соседней стенке удовлетворяет требованиям прочности.
Проверим прочность сечения поясов по ослабленному сечению:
условие удовлетворяется.
Определим расчётное значение площади:
.
Определим действующие усилия в поясных листах:
.
Проверка ослабленного сечения.
Условие прочности:
,
условия прочности ослабленного сечения соблюдаются.
2.10 Конструкция сварного монтажного стыка главной балки
Ручная электродуговая сварка.
На монтаже сжатый пояс и стенку соединяют прямым стыковым швом, растянутый – наклонным под углом 600 для обеспечения равнопрочности.
Чтобы уменьшить сварочные напряжения: сначала сваривают поперечный стыковой шов стенки (1) и поясов (2), имеющие небольшую поперечную усадку. Остальные незаверенные на заводе участки поясных швов длиной около 500 мм дают возможность поясным листам несколько вытянуться при усадке швов (2). Последними завариваются угловые швы (3), имеющие небольшую продольную усадку.

Рисунок 9 – Монтажный стык составной сварной балки
2.11 Расчёт и конструирование опорной части

Рисунок 10 – Опирание сварной балки на колонну
Назначаем ширину опорных рёбер
.
Требуемая площадь сечения рёбер:
, см2
, (2.9.1)
где
кН/см2
;
см2
.
Толщина ребра:
, см, (2.9.2)
где
см;
см.
Принимаем ближайшее по сортаменту значение:
мм.
Проверяем опорную часть балки на устойчивость:
см;
см.

Рисунок 11 – Сечение опорной стойки
Определим геометрические характеристики:
, см2
, (2.9.3)
см2
.
, см4
, (2.9.4)
см4
;
см;
;
приложение IV, таблица 1 [2].
кН/см2
кН/см2
– условие устойчивости удовлетворяется.
Сварка полуавтоматическая сварочной проволокой Св 08ГА с расчётным сопротивлением
кН/см2
.
Положение шва нижнее, ![]()
;
;
;
![]()
;
Длина шва:
см.
см
см, значит принимаем.
см.
3. РАСЧЁТ И КОНСТРУИРОВАНИЕ ЦЕНТРАЛЬНО-СЖАТОЙ КОЛОННЫ
3.1 Расчётная нагрузка на колонну

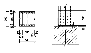
Рисунок 12 – Центрально-сжатая сквозная колонна
, кН, (3.1.1)
кН.
Расчётная длина колонны
, м, (3.1.2)
где
отметка верха настила, м;
толщина настила, м;
высота сечения балки настила, м;
высота сечения главной балки, м.
![]()
м.
Расчётная длина:
м.
Верхний и нижний конец колонны предполагаются шарнирно-опёртыми, значит
.
3.2. Подбор и компоновка сечения колонны
Колонна относится к III группе конструкций по СНиП2-23-81* «Стальные конструкции», назначим для неё сталь 18кп (С245) с
![]()
Определяем требуемую площадь поперечного сечения:
, см2
, (3.2.1)
Задаёмся параметром гибкости из опыта проектирования:
![]()
, тогда ![]()
см2
.
Площадь сечения 1 ветви:
см2
.
Зададимся профилем.
см.
Назначим по сортаменту I 40Б2 c
;
;
;
;
,
.
Определим гибкость относительно материальной оси:
.
Условие устойчивости:
.
Зададимся гибкостью ветви:
![]()
Определим расстояние между планками в свету:
см , следовательно назначаем
см.
Определим требуемую гибкость колонны относительно не материальной оси:
.
Определим радиус инерции:
см.
.
Конструктивное условие:
условие удовлетворяется.
Назначаем размеры планок:
.
Толщина планки:
.
Проверка принятого сечения.
Определим геометрические характеристики:
см4
,
условие удовлетворяется.
Для определения гибкости колонны относительно свободной оси, находим соотношение погонных жёсткостей планки и ветви:
,
где
см4
,
.
Условие экономичности:
условие удовлетворяется.
3.3. Расчёт и конструирование базы колонны
Соединение базы колонны с фундаментом условно принимаем шарнирным.

Рисунок 13 – База колонны
Принимаем фундамент из бетона В12,5 с
0.75кН/см2
- призменная прочность бетона – по СНиП 2.03.01-87*
«Бетонные и железобетонные конструкции».
Определим расчётное сопротивление бетона смятию:
кН/см2
,
где
,
при классе бетона меньше В25,
площадь смятия, равна площади плиты базы колонны,
расчётная площадь сечения, равна площади обреза фундамента.
Тогда требуемая площадь:
условие удовлетворяется.
Фактическая площадь плиты:
см2
.
Фактическое напряжение в плите под фундаментом:
условие выполнено.
Толщину плиты определяем из условия её прочности на изгиб.
Определяем изгибающие моменты на отдельных участках плиты:
кН*
см/см, (3.3.1)
кН*
см/см,
где
вылет консоли, см.
, кН*
см/см, (3.3.2)
где
определяем из таблицы 8.7 [1]., в зависимости от
.
Hо
, значит второй участок рассматриваем как консольный,
, получаем:
кН*
см/см,
, кН*
см/см, (3.3.3)
где
определяем из таблицы 8.6 [1]., в зависимости от
.
![]()
большая сторона,
меньшая.
кН*
см/см.
Толщина плиты:
см, (3.3.4)
см,
назначаем толщину плиты
мм.
Высоту траверсы определяем из условия прочности на срез 4 угловых швов, крепящих траверсы к стержню колонны.
Назначаем катет шва
мм.
Сварочная проволока Св-08ГА с
кН/см2
.
Положение шва нижнее, следовательно
.
Требуемая длина одного шва:
(3.3.5)
условие выполняется.
Назначим высоту траверсы 500 мм.
ЗАКЛЮЧЕНИЕ
В данной работе была рассчитана балочная клетка, а именно:
-Произведён расчёт стального настила;
-Выполнен расчёт и конструирование главной балки с проверкой устойчивости стенки;
-Выполнены расчёт и конструирование центрально-сжатой колонны, куда входит подбор и компоновка сечения колонны.
ЛИТЕРАТУРА
1. «Металлические конструкции» - под редакцией проф. Е.И.Беленя, М., Стройиздат 1996г.,
2. «Примеры расчёта металлических конструкций» - 2-е издание, переработанное и дополненное – под редакцией А.П.Мандрикова, М., Стройиздат 1998 г.,
3. «Металлические конструкции» - под редакцией А.А. Васильева, М., Стройиздат 1976 г.,
4. СНиП 2-23-81* «Стальные конструкции»,
5. СНиП 2-01-07-85* «Нагрузки и воздействия»,
6. СНиП 2.03.01-87* «Бетонные и железобетонные конструкции».