| Похожие рефераты | Скачать .docx |
Реферат: Воздушные завесы
МИНИСТЕРСТВО ОБРАЗОВАНИЯ И НАУКИ РФ
БЕЛГОРОДСКИЙ ГОСУДАРСТВЕНЫЙ ТЕХНОЛОГИЧЕСКИЙУНИВЕРСИТЕТ
ИМ. ШУХОВА
Кафедра ТГВ
РЕФЕРАТ
На тему: «Воздушные завесы. Принцип действия. Назначение. Классификация. Воздушные завесы периодического и постоянного действия. Расчёт воздушных завес шиберирующего и смесительного типа»
Выполнил: студент гр. ТВ-42
Нормальный парен
Проверил: Кущев урод
Белгород 2004
Содержание
Введение …………………………………………………………………………….3
Принципы установки воздушных завес……………………………………………5
Принцип работы завес………………………………………………………………7
Расчет воздушных завес…………………………………………………………….9
Пример I расчёта воздушных завес……………………………………………….11
Расчет боковой двусторонней завесы шиберирующего типа…………………..12
Расчет и устройство воздушно-тепловых завес у входных дверей общественных зданий в три и более этажей……………………………………………………….14
Заключение………………………………………………………………………….15
Список литературы………………………………………………………………....17
Введение
С наступлением холодов любой владелец, как маленького павильона, так и большого супермаркета начинает задумываться, как сохранить тепло в своем магазине, т.к. поток посетителей входящих и выходящих не прекращается в течение всего дня и двери практически всегда открыты
, то мерами защиты помещения от проникания холодного наружного воздуха являются тамбуры (а), шлюзы (б), вращающиеся двери (в) (рис. 1).
В тех случаях, когда названные способы по разным причинам неприемлемы, следует устраивать воздушные завесы.
Утечка теплого воздуха через открытые двери зависит от трех факторов:
- Разница давлений внутри и снаружи
- Разница температур внутри и снаружи
- Скорость ветра в дверном проеме
Правильно подобранная тепловая завеса предотвращает утечку теплого воздуха, максимально уменьшая эти факторы.
В теплое время года завесы без источника тепла создают заграждение наружному воздуху в проемах кондиционируемых помещений и холодильных камер.
Теплоносителем в завесе может быть электричество или горячая вода. Устроена завеса очень просто – в металлическом или пластиковом корпусе размещаются электрические тэны (или змеевики из труб в случае водяного теплоносителя) и мощный вентилятор, напор которого должен быть таким, чтобы перекрывать величину дверного проема. Также завеса может комплектоваться пультом управления (встроенным или выносным) и термостатом. [4 стр. 67]
Существуют также завесы без источника тепла предназначены для создания чисто воздушных завес в проемах больших размеров, в промышленных зданиях, депо и ангарах. Кроме того, воздушные завесы без источника тепла – идеальная защита холодильных камер и кондиционируемых помещений.
Завесы без нагревательных элементов могут использоваться для разделения смежных производственных помещений, соединенных открытыми проемами, с различным внутренним климатом.
Наконец, завесы такого типа могут найти применение для ограждения источников вредных выделений (совместно с вытяжкой вентиляцией).
На основе завес без источника тепла можно создавать оригинальное решение экономичной защиты проемов отапливаемого помещения в зимнее время.
ПРИНЦИПЫ УСТАНОВКИ ВОЗДУШНЫХ ЗАВЕС
Воздушные или воздушно-тепловые завесы устанавливают:
1. У ворот, открывающихся чаще 5 раз или не менее чем на 40 мин в смену, расположенных в районах с расчетной температурой наружного воздуха для холодного периода года - 15°С и ниже (параметры Б), если исключена возможность устройства тамбуров или шлюзов.
2. У ворот или технологических проемов при любых наружных температурах и любой продолжительности открывания при соответствующем обосновании.
3. В тамбурах и шлюзах у входных дверей вестибюлей общественных зданий и вспомогательных зданий промышленных предприятий.
4. В тамбурах и шлюзах у входных дверей общественных и производственных зданий и помещений, оборудованных системами кондиционирования воздуха. [2 стр. 153]
Завесы должны обеспечить во время открывания ворот в помещениях температуру на рабочих местах не ниже 14°С при легкой работе, 12°С — при средней и 8°С — при тяжелой работе. При отсутствии вблизи ворот рабочих мест допускается понижение температуры до 5°С, в вестибюлях общественных зданий — до 12°С.
Температуру воздуха завесы, как правило, принимают не выше 50°С. Скорость выхода воздуха из устройств завесы не более 25 м/с (в производственных зданиях).
Типы воздушных завес . Воздушные завесы устраиваются с подачей воздушной (шиберирующей) струи: а) снизу вверх; б) сверху вниз; в) сбоку ворот. По режиму работы завесы делят на периодически и постоянно действующие.
Принцип работы завес
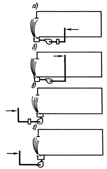
. Воздушная завеса — это результат взаимодействия двух потоков: воздушной струи и набегающего на нее горизонтального потока воздуха. Воздушная струя, не препятствуя движению людей и транспорта, как правило, существенно уменьшает количество проникающего в помещение наружного воздуха. При этом воздушная завеса может, быть устроена по месту воздухозабора и температуры подаваемого воздуха (рис.2): а —
с забором внутреннего воздуха с температурой t
в
и подогревом его перед подачей в завесу до t
з
; б -
с забором внутреннего воздуха и подачей его в завесу без подогрева
( t з = t в ); в — с забором наружного воздуха и подогревом его перед подачей в завесу ( t з > t в ); г — с забором, наружного воздуха и подачей его в завесу без подогрева ( t з = t в ).
По варианту а устраиваются завесы, если необходимо сохранить неизменными параметры микроклимата производственных помещений, обычно если в последних вблизи ворот расположены рабочие места. По варианту б устраиваются завесы, если допустимо понижение температуры в зоне ворот или при устройстве завес в проемах внутренних стен, разделяющих два помещения.
По варианту в воздушные завесы могут быть использованы, в качестве агрегата приточной вентиляции, в этом случае воздушная завеса может работать постоянно; по варианту г воздушная завеса как бы преграждает полностью доступ наружного воздуха в помещение.
Следует отметить, что воздушные завесы в зависимости от местных условий устраиваются с подачей воздуха, через горизонтальную щель, расположенную внизу проема; с подачей воздуха через горизонтальную щель, расположенную вверху проема; как правило, с боковой подачей воздуха через вертикальные щели по обеим сторонам проема.
При устройстве завесы с боковой подачей воздуха следует обеспечить усиленную подачу воздуха в нижнюю часть проема (в нижнюю треть по высоте ворот). С этой целью нижнюю часть щели следует делать шире верхней. По эффекту действия лучшими являются двусторонние боковые завесы. При их действии не наблюдается уменьшения температуры воздуха в районе ворот в момент прохождения транспорта. [1 стр. 252]
Воздушную завесу можно рассматривать как плоскую неизотермическую струю, действие которой развивается на границе двух сред: наружного и внутреннего воздуха.
При открывании ворот в открытый проем направляется поток воздуха снаружи. Причинами, вызывающими движение воздуха через ворота, шляются: ветер, разрежение в нижней части здания вследствие различных плотностей внутреннего и наружного воздуха и разрежение в здании вследствие преобладания объема воздуха вытяжной вентиляции над приточной. Слишком большое разрежение вследствие превышения вытяжки над притоком может свести на нет действие воздушной завесы, т. е. в открытые ворота будет поступать воздух наружный в количестве намного больше расчетного. Поэтому при эксплуатации завесы нужно обязательно устранить излишние объемы вытяжного воздуха.
Расчет набегающего потока. Скорость набегающего потока
, (1)
где
р — разность между наружным и внутренним давлениями по обе стороны ворот (наружное давление учитывается как комбинированное действие; трех причин, см. выше).
Однако в расчет удобнее вводить не разность давлений, а геометрическую высоту z , т. е. высоту расположения нейтральной зоны (на которой внутреннее и внешнее давления равны).
Разность давлений на высоте х от пола вычисляется по формуле
, (2)
где
q — разность плотностей внутреннего и наружного воздуха.
Местная скорость высоте х будет
. (3)
При х = 0 скорость будет максимальной:
. (4)
(пограничный слой вблизи пола не учитывается).
Разделив формулу (3) на формулу (4), получим
. (5)
Выражение для скорости vx может быть записано в виде
. (6)
где
t —разность температур внутренней t
B
и наружной t
H
.
Так как числовое значение радикала
мало меняется с изменением Тв
то для 10°С<t
B
<30°С формулу (6) можно упростить:
. (7)
Тогда максимальная скорость у пола (при х = 0)
. (7')
По формулам (7.) и (7') можно для конкретных условий построить график распределения скоростей (рис. З).
Средняя скорость свободной струи, выходящей из щели завесы,
,
где v o — начальная скорость истечения из щели; b — ширина щели; s — длина струи (вместо х введена длина, так как ось завесы не совпадает с осью х координат); а — коэффициент турбулентной структуры.
Длину s можно выразить через проекцию на координатную ось х формулой
![]()
где
— угол наклона струи; h —длина завесы.
Одновременное действие струи и набегающего потока определяется (фиксируется) количеством воздуха LH , пересекающего ось О х (в пределах проема):
,
— линия тока; В —
ширина ворот.
Количество воздуха Lo, выпущенного через щель размером B
b
(b — ширина щели), определяется по формуле
,
где v o - начальная скорость струи.
Характеристика завесы определяется по формуле
,
где L B — расход воздуха через ворота при бездействии вентиляции; L н — расход наружного воздуха, допускаемого к прорыву в помещение; L o — расход воздуха на завесу.
Для завес с нижней подачей характеристика завесы следующая:
;
для завес с боковой подачей характеристика завесы
.
Функции
и
определяются графически: ![]()
Физический смысл характеристики завесы R : она показывает количество задержанного завесой воздуха, приходящегося на 1 м3 воздуха завесы. Характеристика зависит и от конструктивного оформления завесы.
Величина
= (LB
— LH
)/LB
называется коэффициентом полезного действия завесы.
Методика проектирования и расчёта завес приводится в призере.
Пример I .
Рассчитать воздушную завесу у ворот гаража, выполнимую по схеме с забором внутреннего воздуха и подачей его в завесу без подогрева. Размеры ворот: ширина В = 3,5 м, высота Н = 2,5 м. Расчетные темпер туры наружного tн и внутреннего tB воздуха: t H = -20°С; tB = -10°С.
Решение
Находим скорость врывания воздуха в ворота. Выявление скорости врывания представляет весьма сложную задачу. Лучшим решением можно было бы считать данные экспериментальных наблюдений — замеренные скорости движения воздуха в условиях, аналогичных решаемой задаче; при отсутствии экспериментальных данных можно применить методы расчета аэрации; возможно также применение формулы (7').
Найдем максимальную скорость у пола, принимая высоту расположения нейтральной зоны z =4 м:
![]()
Расход наружного воздуха через ворота при бездействии завесы
м3
/ч.
Задаемся геометрическими размерами завесы: принимаем ширину щели
b = 0,1 м, угол наклона струи к плоскости ворот
= 30°, при этом коэффициент турбулентной структуры а
= 0,2.
По графику рис. 5 при а
= 0,2 и
= 30°, если подача воздуха через цель завесы производится снизу,
= 0,41.
При назначении угла начального наклона струи к плоскости ворот следует иметь в виду, что при углах наклона 50° и больше струя налипает на землю и при этом теряется смысл завесы.
Определяем далее характеристику завесы:
![]()
Задавшись КПД завесы
— 0,6, находим расход воздуха на завесу:
м3
/ч.
Определяем начальную скорость струи:
м/с.
Найдем количество входящего в помещение наружного воздуха:
м3
/ч.
Определим температуру смеси, если воздух завесы не подогревается:
![]()
Повысить температуру смеси можно двумя способами: 1) подогреть воздух завесы; 2) увеличить расход воздуха на завесу.
Повысим температуру завесы, например, до tсм = 0°. Определим начальную температуру воздуха путем подогрева воздуха завесы:
![]()
Расход теплоты на подогрев воздуха калориферами в этом случае составит
ккал/ч.
Определим расход воздуха, если t c м — 0°C:

Найдем начальную скорость струи завесы
м/с.
Найдем КПД завесы при новых условиях:
[3 стр. 328]
Расчет боковой двусторонней завесы шиберирующего типа.
1. Расчет ведут на параметры наружного воздуха Б (средняя температура наиболее холодной пятидневки), не учитывая ветрового давления.
2. Общий расход воздуха для завесы шиберирующего типа
,
где q
— отношение расхода воздуха завесы к расходу воздуха, проходящего через проем при работе завесы;
— коэффициент расхода проема при работе завесы зависит от типа и конструкции завесы, вида проема, величины q
;
F
пр
— площадь открываемого проема, оборудованного завесой, м2
;
р — разность давлений воздуха снаружи и внутри помещения на уровне проема; qcm
— плотность смеси воздуха завесы и наружного (при температуре, нормируемой в районе ворот).
3. Значение относительной площади
=
F
пр
/
F
щ
(щели); в первом приближении следует принимать
= 20
30 и относительный расход для боковых завес
= 0,6
0,7, а для нижних завес
=1.
4. Расчетная разность
р = h(qн
– qв
) (— расстояние но вертикали от центра проема до нейтральной зоны уровня рапных давлений; qн
, qв
— плотность воздуха соответственно при наружной и внутренней температурах).
5. Значение h определится по формуле
![]()
где h1 - расстояние от центра проёма оборудованного завесой, до центра приточных проемов; h2 — расстояние между центрами приточных и вытяжных проемов; l п — длина открываемых в теплый период года притворов приточных проемов; l в — то же, вытяжных проемов.
6. Требуемая температура воздуха завесы t 3 определяется на основании уравнения теплового баланса.
![]()
где tн
—.температура наружного воздуха (для холодного периода — по параметрам Б
) t
CM
— температура смеси воздуха, проходящего, через открытый проем (обычно нормируемая в районе ворот);
— отношение, количества теплоты, теряемой с воздухом, уходящим через проем наружу, к тепловой мощности калориферов
7. Тепловая мощность калориферов
,
где С — теплоемкость воздуха; tнач — температура воздуха, забираемого для завеса; t3 — температура завесы.
Температура завесы
![]()
8. Дополнительное количество теплоты для догрева воздуха, проходящего через ворота, от температуры смеси tсм до температуры tв
,
где п — продолжительность открывания проема в течение часа, мин.
Расчет и устройство воздушно-тепловых завес у входных дверей
общественных зданий в три и более этажей.
При расчете воздушно-тепловых завес у входных дверей учитываются число проходящих людей, конструкция входа (одинарные, двойные, тройные или вращающиеся), месторасположение забора воздуха.
Входные двери рассматриваются как приточный проем, а действие завесы — как отопительное устройство для нагрева наружного воздуха, поступающего через вход в здание.
Устройство завесы: воздух рекомендуется подавать при воздухозаборе внутри здания в тамбур (внутренний при тройных дверях), а при воздухозаборе снаружи — в вестибюль. Раздачу воздуха следует принимать двустороннюю через боковые отверстия воздуховода высотой 1,2 м, как можно ближе к открываемым дверям через отверстия не ниже 0,1 м от пола; скорость воздуха, поступающего из воздушно-тепловой завесы, 4-5 м/с.
Количество наружного воздуха,- поступающего через вход в здание при сбалансированных расходах приточной и вытяжной вентиляции, определяется по формуле
![]()
где К
— поправочный коэффициент в зависимости от числа проходящих людей, места забора воздуха для агрегата завесы и конструкции входа; Fвх
— площадь одной открываемой створки наружных входных дверей, м2
;
зх
—коэффициент расхода (для одинарных дверей
вх
= 0,7, для двойных
вх
— 0,65, для двойные с тамбуром
вх
= 0,6, для вращающихся дверей
вх
= 0,1);
hлк — высота лестничной клетки от уровня земли, м; hэт —полная высота одного этажа, м; Hдв — высота входных дверей, м.
Производительность воздушной завесы при заборе внутри или снаружи здания
.
Пример II .
Рассчитать воздушно-тепловую завесу для общественного здания при заборе на завесу внутреннего воздуха.
Дано: tн = -26°С; .qh = 1,43 кг/м3 ; hл.к = 9 м, tв = 16°С, qb = 1,22 кг/м3 , h эт = 3 м,
Ндв
= 2,5 м. Площадь открываемой створки двери Fвх
= 0,8 .
2,5 = 2 м2
, количество проходящих людей n=1000 чел/ч, K = 0,38,
вх
= 0,1 (входные вращающиеся двери).
Решение.
1. Количество наружного воздуха, поступающего через вход,
кг/ч.
2. Определяем расход воздуха на завесу:
![]()
откуда
кг/ч.
3.Определяем расход теплоты на завесу:
Вт.
Следовательно, коэффициент расхода через вход для вращающейся двери uвх = 0,1, для других типов дверей он меньше в 4,5—7 раз, что является причиной естественного снижения расхода теплоты на завесу, т. е. вращающиеся двери позволяют существенно экономить теплоту и соответственно электротермию.
Заключение
В заключении надо отметить, что воздушные завесы имеют ряд существенных преимуществ перед другими видами устройств идентичных по назначению:
Защита
· внутрь помещения не проникает холодный воздух зимой
· тепло не уходит из помещения
· воздушная завеса служит эффективной защитой от проникновения пыли, насекомых, выхлопных газов с улицы.
Экономия
· Выравнивается температурный градиент, в результате экономится до 30% электроэнергии
o теплый воздух легче холодного, поэтому обычно скапливается под потолком‚ возникает разность температур по высоте помещения - температурный градиент. Поток теплого воздуха, выдуваемый завесой, направлен вниз, поэтому вертикальная разница температур уменьшается, и повышается температура в области нахождения людей.
· Происходит эффективный дополнительный обогрев помещения.
o При правильной установке тепловой воздушной завесы основной поток теплого воздуха попадает внутрь помещения, даже если дверь открыта. Если же дверь закрыта, приток тепла станет еще больше. Каким образом, завеса может служить дополнительным средством обогрева.
Комфорт
· Отсутствуют сквозняки, а значит, уменьшится число простудных заболеваний
· Летом Вы можете кондиционировать помещение и поддерживать в нем приятную свежесть и прохладу. Завеса не пропустит жаркий воздух с улицы
Библиографический список
1. Дроздов В.Ф. Отопление и вентиляция. М.: Высшая школа 1984. – 390 с.
2. Какорин О.Я. Установки кондиционирования воздуха. Основы расчёта и проектирования. М.: Машиностроение 1978. - 264 с.
3. Нестеренко А. В. Основы термодинамических расчётов вентиляции и кондиционирования воздуха. М.: Высшая школа 1971. - 495 с.
4. Фильнев М.И. Проектирование вентиляционных установок. М.: Высшая школа 1966. - 206 с.
Похожие рефераты:
Теория безопасности жизнедеятельности
Вентиляция промышленного здания
Шпаргалки к экзамену по ОБЖ (Брянск)
Разработка автоматизированной системы управления установкой кондиционирования воздуха
Строительные Нормы и Правила (СНиП 2.08.02-89*)
Устройства очистки воздуха от загрязняющих веществ
Испытательная станция турбовинтовых двигателей ТВ3–117 ВМА–СБМ1 серийного производства
Правила и нормы метеорологических условий рабочей зоны
Газоснабжение населёного пункта
Проектирование участка грунтования кузова легкового автомобиля ХТОП 0934.240501.006 КР
Проектирование вентиляционной системы деревообрабатывающего цеха
Проектирование системы кондиционирования воздуха
Охрана труда - основные термины, понятия, определения
Организация поста технического обслуживания и ремонта карбюраторов двигателей легковых автомобилей