| Скачать .docx |
Реферат: Штукатурення елементів віконних і дверних прорізів
Тема: Штукатурення елементів віконних і дверних прорізів
Зміст
1. Загальні відомості про штукатурні роботи.
2. Пристрої для виконання опоряджувальних робіт на висоті
3. Ручний інструмент, інвентар та пристрої
4. Штукатурні розчини та їх властивості
5. Приготування розчинів вручну
6. Штукатурення елементів віконних і дверних прорізів
7. Дефекти штукатурки і якість виконання робіт
8. Організація праці опоряджувальників
Використана література
1. Загальні відомості про штукатурні роботи
Штукатурні роботи — це процес нанесення покриття на поверхні будівельних елементів. Таке покриття може бути виконане нанесенням на поверхню шарів штукатурного розчину (так звана мокра штукатурка) або обшиванням опоряджуваної поверхні штукатурними листами заводського виготовлення (суха штукатурка). Шар розчину (штукатурка) після затвердіння і наступного оброблення поліпшує захисні властивості конструкції (теплотехнічні, звукоізоляційні тощо), створює необхідні санітарно-гігієнічні та естетичні умови. Штукатурка захищає поверхні будівельних елементів від шкідливих атмосферних і техногенних впливів, високих температур і подовжує термін експлуатації будинків і споруд.
Обштукатурені приміщення більш гігієнічні, значно тепліші, менш звукопровідні. За допомогою штукатурки фасад і внутрішні приміщення будівлі можна прикрасити архітектурними деталями, виконати найрізноманітніші фактури поверхні.
Незважаючи на розвиток індустріального опорядження, обштукатурення залишається одним із найпоширеніших видів опоряджувальних робіт, особливо у цегляному домобудівництві.
Залежно від призначення штукатурки класифікують на звичайні, декоративні та спеціальні.
Звичайні штукатурки виконують з єдиною метою — вирівнювання поверхні будівельних елементів, які потім опоряджують шпалерами або фарбують різноманітними малярними сумішами. ЇЇ, як правило, наносять на поверхні окремими шарами, що виконують певні функції.
За якістю виконання звичайна штукатурна буває простою, поліпшеною і високоякісною.
Декоративні штукатурки призначені для надання поверхні закінченого кольорово-фактурного вигляду, що не потребує наступного фарбування поверхні чи її опорядження іншими матеріалами.
Спеціальні штукатурні покриття надають будівельним елементам, що обробляються, тих чи інших певних властивостей. Спеціальні штукатурки можуть бути гідро-, тепло-, звуко- та газоізоляційними, хімічно та біологічно стійкими, рентгено- і пожежозахисними.
Вимоги до готовності будівлі під штукатурення
До початку штукатурних робіт у будинку потрібно закінчити такі роботи:
-улаштування всіх видів основ під «чисті» підлоги;
-улаштування перегородок із законопачуванням щілин по периметру;
-улаштування віконних і дверних блоків із законопачуванням щілин між коробками і стінами;
-улаштування вбудованих шаф і підвіконників, обштукатурення ніш, стін за приладами опалення і борозен під приховану проводку опалення, обштукатурення поверхні за трубами і ніш електрощитків;
-установлення вентиляційних коробів, прочищення вентиляційних каналів;
-установлення шаф для електроосвітлювальних і низьковольтних приладів;
-закріплення перегородок до несівних конструкцій із заповненням розчином і затиранням місць прилягання;
-основні санітарно-технічні роботи (монтаж і випробовування систем центрального опалення, водопроводу, каналізації і газопроводу);
-перевірка у стінах вентиляційних каналів і газоходів;
-прокладання прихованої електропроводки для силових освітлювальних і слабких струмів;
-закріплення гачків для підвішування світильників;
-установлення огорож, сходів, балконів;
-установлення стояків електрообладнання (електроосвітлення, телефонізації, радіофікації, телебачення).
2. Пристрої для виконання штукатурних робіт на висоті
Штукатурні роботи на висоті до 4 м виконують з помосту, а у разі невеликого обсягу ремонтних робіт - з пересувних інвентарних столиків; ремонтні і реставраційні роботи - з колисок або пересувних вишок; зовнішні і внутрішні роботи - з риштовання.
Поміст роблять з інвентарних столиків, котрі встановлюють вздовж однієї із стін приміщення на відстані 1,5-2 м один від одного і перекривають спеціально виготовленими щитами або окремими дошками. Тимчасовий поміст можна зробити з дощок, які укладають на дерев'яні козла. Настелені дошки прибивають до козел цвяхами.
Пересувні інвентарні столики конструктивно схожі, але їх призначення і застосування різні. Виробляють їх з металевих труб або кутикової сталі.
Пересувний різновисотний столик (рис. 2.1а) складається з чотиристоякового опорного каркаса, драбини і дерев'яного настилу. Конструкція столика передбачає можливість піднімання настилу завдяки висувним стоякам, які переміщують уздовж нерухомих стояків і закріплюють штирями або спеціальними затискними гвинтами на потрібній висоті (від 0,7 до 1,7-2,5 м). За настил використовують інвентарний дерев'яний щит розміром від 60x120 до 80x160 см. Якщо настил столика необхідно підняти на висоту більшу за 1,1 м, його з одного боку обгороджують захисним поручнем.

Рис. 2.1.Пересувні інвентарні столики:
а - різновисотний; б - двовисотний; в — універсальний; 1 - нерухомий стояк;
2 - драбина; 3-висувний стояк; 4- настил;
5 - штир; 6 - підкіс; 7 - полиця; 8 - поручень
Двовисотний столик (рис. 2.1б) складається з опорного каркаса, драбини, захисних засобів (поручнів), настилу і полиці для розміщення пристроїв та інструментів. Столик призначений для виконання опоряджувальних робіт в приміщеннях заввишки 2,5-2,7 м. Конструкція його дає змогу фіксувати положення настилу на двох рівнях - 0,7 і 0,9 м. Розмір робочої площадки столика - 60x100 см, маса - 22 кг.
Універсальний столик (рис. 2.1в) складається з чотиристоякового прямого опорного каркаса, різновисотного опорного каркаса, драбини, настилу і полиці. Столик призначений для виконання опоряджувальних робіт в приміщеннях заввишки 2,5-2,7 м, а також на сходових клітках. Конструкція його дає можливість фіксувати положення настилу в двох рівнях. Працюючи у звичайному приміщенні, настил можна встановити на висоті 0,7 або 0,9 м. Для роботи на сходовій клітці до столика приєднують різновисотний опорний каркас, обладнаний підкосами. При такому положенні столика настил можна встановити на висоті 0,75 або 0,95 м. Розмір робочої площадки столика - 60x100 см, маса - 24 кг.
Колиски за принципом переміщення бувають самопідйомні, обладнані електролебідками, та такі, які піднімають за допомогою лебідок, встановлених на землі. Самопідйомні колиски різних марок ЛОС-100-120, ЛС-80-250, ЛЗ-30-250, ЛП-11М, ТП-11 тощо відрізняються одна від одної габаритами та вантажопідйомністю.
Самопідйомна колиска ТП-11 (рис. 3.2, а) найбільш зручна в експлуатації. Вона призначена для піднімання двох робітників і 100 кг вантажу на висоту до 100 м. Робоча площадка колиски розміром 0,97x4,4 м витримує навантаження до 300 кг. Колиска складається з металевого каркаса 1 з поручнем 3, двох електролебідок 2, суцільнометалевого настилу 4 із захисним бортом 5 заввишки 15 см.
Піднімають колиску за допомогою двох сталевих тросів, які перекидаються через блоки, розміщені на кінцях консольних балок, що закріплюються на даху або горищному перекритті. Після включення лебідок в електромережу троси починають намотуватися на барабани лебідок і піднімають колиску. При переключенні лебідки на зворотній рух троси розмотуються і колиска опускається.
Одномісну самопідйомну колиску ЛОС-100-120 (рис. 2.2, б) застосовують для виконання дрібних ремонтних робіт на фасадах будинків. Вона складається з металевого каркаса 1 із поручнем 3, електролебідки 2, суцільного металевого настилу 4 з захисним бортом 5. Колиска призначена для піднімання одного робітника і 20 кг вантажу на висоту до 100 м. Піднімається вона за допомогою одного троса.
Пересувні вишки бувають самопідйомні та збірно-розбірні, їх використовують при опорядженні фасадів будівель висотою до чотирьох поверхів і для робіт в приміщеннях з високо розміщеною стелею.
Пересувна самопідйомна вишка ВО-10,6-12 (рис. 2.3, а) складаєтья з двох колон 2, візка 1 та робочої платформи 3. Платформа за допомогою лебідки з електроприводом пересувається вздовж колон, як по напрямних, з відмітки 1,25 до 10,6 м і може зупинятись на різній висоті в цих межах.

![]()
Рис. 2.2. Колиски:
а - самопідйомна; б - одномісна самопідйомна ЛОС-100-120
1 - каркас; 2 - електролебідки; 3 - поручень; 4 - настил; 5 - захисний борт
Розмір робочої площадки платформи - 2x4 м. Переміщення платформи здійснюється з пульта управління, що міститься на ній. Якщо електроенергії немає, то платформа пересувається за допомогою ручного привода лебідки, обладнаного поряд з електричним. Вишка спирається на чотири колеса з гумовими ободами. На нове місце роботи в межах одного будинку вишку пересувають вручну, попередньо опустивши платформу на нижню відмітку 1,25 м. Максимально допустиме навантаження на платформу 500 кг.
Пересувна збірно-розбірна вишка (рис. 2.3, б) дає змогу виконувати роботи на висоті до 6 м. Вона складається з металевого збірного каркаса 6, що спирається на чотири колеса, драбини 7, захисного поручня 4 та дерев'яного настилу 5. На робочому місці вишку збирають з окремих секцій, нарощуючи їх до потрібної висоти. Розмір робочої площадки вишки - 2x2 м, максимально допустиме навантаження - 200 кг.
У межах приміщення або вздовж фасаду будинку вишку пересувають вручну.
Риштовання - тимчасові допоміжні пристрої, використовувані для створення на потрібній висоті умов для проведення будівельних робіт.
Залежно від способу піднімання і пересування риштовання бувають висячі, драбинні, виставні, пересувні, збірно-розбірні, встановлювальні. їх виготовляють з металу і деревини.

Рис. 2.3. Пересувні вишки:
а - самопідйомна ВО-10,6-12;
б - збірно-розбірна
1 - візок; 2 - колони; 3 - платформа;
4 - поручень; 5 - настил; 6 - каркас;
7-драбина
Під час виконання опоряджувальних робіт використовують інвентарні риштовання.
Трубчасті безболтові риштовання (рис. 2.4) застосовують для штукатурення фасадів будинків заввишки до 40 м. Вони складаються з опор, прогонів, поперечок, поручнів та дерев'яного настилу. До кінців прогонів і поперечок приварено гачки, а вздовж опор на відстані 2 м один від одного - спеціальні патрубки (втулки). Під час монтажу риштовань гачки прогонів 2 і поперечок 5 вставляють у відповідні патрубки опор 1. Опори встановлюють уздовж стіни на відстані 2 м одна від одної. Ширина риштовань 1,65 м. Нижні кінці опор вставляються у спеціальні башмаки, які спираються на дерев'яні підкладки, підмощені під кожну пару опор. Риштовання прикріплюють до стін гачками, які закладають у петлі анкерних болтів, заздалегідь закріплених у стіні.
На прогони укладають інвентарні дерев'яні щити настилу 3. Настили риштовань обгороджують інвентарним поручнем 4 заввишки не менше 1 м, у нижній частині якого закріплюють бортову дошку заввишки 15 см.

Рис. 2.4. Трубчасті без болтові риштовання:
1 - опора; 2 - прогін;
3 - дерев'яний настил;
4 - поручень; 5 - поперечка
Рис. 2.5. Підвісні (струнні) риштовання:
1 - консольна балка; 2 - поручень;
3 -бортова дошка; 4 -дерев'яний настил;5 - струни; 6 – шарніри
Окремі яруси риштовань поєднують сходами.
Підвісні (струнні) риштовання (рис. 2.5) підвішують до металевих або дерев'яних консольних балок 1, які закріплюють під дахом. Струни риштовань 5 складаються з окремих ланок завдовжки 4 м кожна. До струн приварені спеціальні гачки, в які закладають прогони настилу, поручні 2 та бортову дошку 3. Відстань між струнами вздовж стіни становить 2,5-4 м, ширина настилу 2 м. Щоб риштовання не розгойдувались, їх у відповідних місцях прикріплюють до стіни жорсткими стяжками.
3. Ручний інструмент, інвентар і пристрої
Для підготовки поверхонь під штукатурення, нанесення та розрівнювання штукатурного розчину використовують відповідні ручні та механізовані інструменти.
Штукатурний молоток (рис. 3.1, а) застосовують для прибивання дранки, дерев'яних рейок до поверхні і насікання кам'яних поверхонь та як ударний інструмент для інших операцій. Молоток з одного боку має бойок, а з другого - проріз для витягування цвяхів. Маса молотка 500-600 г.
Для насікання кам'яних поверхонь користуються спеціальним насікальним молотком (рис. 3.1, б), маса якого близько 1 кг.
Бучарда (рис. 3.1, в) застосовується для створення шорсткості на кам'яних поверхнях при підготовці їх під штукатурення, а також для обробки шару затверділої декоративної штукатурки ("під бучарду"). Бучарда металева, маса її 1,2-1,5 кг. На торцевих боках зроблена насічка у вигляді маленьких зубців пірамідальної форми. Кількість зубців різна (16 і 32), що дає змогу під час обробки декоративної штукатурки одержати різну фактуру поверхні.

Рис. 3.1. Інструменти для підготовки поверхонь під штукатурення:
а - молоток штукатурний; б - молоток насікальний;
в - бучарда; г - троянка; д – скарпель
Рис. 3.2. Інструменти для нанесення будівельних розчинів на поверхню:
![]() |
а - алюмінієвий сокіл б - штукатурна лопатка (кельма) в - ківш
Троянкою (рис. 3.1, г) розчищають та поглиблюють шви у цегляній кладці, а також насікають бетонні і цегляні поверхні для збільшення їхньої шорсткості. Робоче лезо троянки зубчате. Замість троянки з цією ж метою використовують скарпель (рис. 3.1, д) або звичайне зубило.
Для механізованого насікання поверхні застосовують електричні або пневматичні молотки та перфоратори.
Штукатурний розчин на поверхню вручну наносять соколом, штукатурною лопаткою або ковшем.
Сокіл (рис. 3.2, а) використовують для підтримання невеликої кількості розчину на певній відстані від поверхні під час штукатурення. Соколом можна також наносити (намазувати) розчин на поверхню і ущільнювати його. Виготовляють цей інструмент з алюмінієвого листа чи пластику. Оптимальні розміри 400x400 чи 400x450 мм. Верхня робоча поверхня сокола має бути рівною, без щілин і пошкоджень.
Штукатурна лопатка або кельма (рис. 3.2, б) призначена для накидання розчину з сокола або ящика на поверхню. Лопаткою можна при потребі також наносити розчин на невеликі ділянки поверхні. Виготовляють лопатку серцеподібної форми з листової сталі завтовшки до 1 мм. До неї прикріплено дерев'яну ручку завдовжки 125 мм.
Ківш (рис. 3.2в) використовують для накидання з ящика на поверхню здебільшого рідких розчинів. Його застосування значно підвищує продуктивність праці, оскільки за один рух ковшем, залежно від його місткості, можна накинути на поверхню 0,8-1,5 л розчину.
Для розрівнювання, ущільнення і оброблення штукатурного шару застосовують напівтерки, малку, правило і терки.
Напівтерки (рис. 3.3, а, б) призначені для розрівнювання й ущільнення штукатурного шару, нанесеного на поверхню штукатурною лопаткою, ковшем або механізованим способом. Виготовляють їх з просоченої гарячою оліфою деревини (сосни, ялини) або алюмінію. Дерев'яні напівтерки залежно від довжини бувають малі (35 см), середні (80 см) і великі (120 см).

Рис. 3.3. Інструменти для розрівнювання й оброблення нанесеного на поверхню штукатурного шару:
а - напівтерки дерев'яні б - напівтерка алюмінієва в - малка, г – правило
Малою напівтеркою можна розрівнювати штукатурний шар у кутах приміщення або на невеликих важкодоступних ділянках поверхні; середньою - розчин на рівній поверхні; великою - фаски на зовнішніх кутах конструкцій.
Звичайні алюмінієві напівтерки, а також з робочим полотном з пінопласту, яке приклеєне до основи водостійкою фарбою або синтетичною смолою, здебільшого застосовують для згладжування і натирання накривного (лицьового) шару штукатурки.
Під час нанесення високоякісної штукатурки, штукатурний шар розрівнюють малкою (рис. 3.3, в), яку пересувають уздовж спеціальних рейок (маяків). Довжина робочої кромки малки має відповідати відстані між маяками.
Правилом (рис. 3.3, г) завдовжки 1,2-2 м розрівнюють штукатурний шар. Виготовляють його з дерева або з дерев'яної рейки, підбитої з одного боку алюмінієвим полотном. Вивірене двометрове правило називається контрольним і застосовується для перевірки рівності опоряджених поверхонь.
Остаточно штукатурний шар обробляють (затирають) дерев'яною, гумовою або повстяною теркою, а також гладилкою.

Рис. 3.4. Кутові напівтерки:
а-деревяні б-алюмінієві

а б
Рис. 3.5. Щітки
а - рогожна б - махова
Поряд з традиційними інструментами для штукатурних робіт існують спеціальні інструменти і пристрої, за допомогою яких наносять і обробляють декоративні опоряджувальні шари штукатурки.
Різні за розмірами лопатки (кельми) застосовують для нанесення декоративного розчину на поверхню і його опорядження (рис. 3.7, а).
Відрізачкою (рис.3.7,б) прорізують і очищують прорізані русти в декоративному шарі.
Дерев'яні або алюмінієві кутові напівтерки (рис. 3.4, а, б) використовують для опорядження кутів. Напівтерку для опорядження внутрішнього кута називають лузговою, зовнішнього - вусиковою. Для зручності в роботі їх роблять з двома ручками.
Для змочування поверхні водою перед штукатуренням користуються рогожною або маховою щіткою (рис. 3.5, а, б), а для зберігання і переміщення розчину на робочому місці - металевими або дерев'яними ящиками (рис. 3.6, а) і відрами. Для зручності в роботі штукатурні ящики можуть бути на колесах чи котках (рис. 3.6, б).
Шкребками (рис. 3.8) створюють шорсткість на підготовленому шарі під декоративний шар.
Рис. 3.6. Ящики для приготування розчинів
а – дерев’янии б - металевий
Русторізки і розшивки застосовують для прорізування рустів у пластичному шарі штукатурки. Найпростішу русторізку подано на рис. 3.9, а. Вона складається з дерев'яного бруска, на одному з кінців якого закріплено вигнуту металеву пластинку. Для виконання увігнутих рустів використовують розшивку (рис. 3.9, б), яку під час роботи пересувають вздовж металевої лінійки з прорізом посередині (рис. 3.9, г). Довжина лінійки 1 м.
З цією ж метою застосовують розшивку із змінними лезами (рис. 3.9, в), що дає змогу виконувати русти різної ширини і профілю. Змінне робоче лезо цієї розшивки закріплюється на держаку спеціальним гвинтом.
Металеві циклі (рис. 3.10, а), шкребок-циклю (рис. 3.10, б), цвяхову щітку (рис. 3.10, в) використовують для циклювання (подряпування) опоряджувального шару. Шкребок-цикля складається з дерев'яної основи розміром 120x180 мм, на нижній площині якої рядами закріплені металеві зубці, а зверху -ручка.
Штамповками (рис. 3.11) виконують поглиблені рисунки в пластичному шарі декоративної штукатурки.
За допомогою шаблонів, а також валиків-шаблонів з дерева та сіток (рис. 3.12) опоряджують поверхні штукатурки борознами і штрихами.


Рис. 3.7. Інструменти для нанесення декоративного розчину на поверхню і його опорядження
а - лопатки (кельми); б - відрізачка

Рис. 3.8. Шкребок для створення борозен у пластичному шарі штукатурки
Рис. 3.9. Інструменти і пристрої для виконання рустів:
а - русторізка, б - розшивка, в - розшивка зі змінними лезами; г – лінійка

Рис. 3.10. Пристрої для циклювання опоряджувального шару декоративної штукатурки: а- циклі, б - шкребок-цикля; в - цвяхова щітка
Рис. 3.11. Штамповка

Рис. 3.12. Інструменти для опорядження штукатурки борознами і штрихами:
а - гофрований шаблон з листового металу б - валик-шаблон з дерева;
в - валик-шаблон, обтягнутий сіткою
4. Штукатурні розчини та їхні властивості
Штукатурні розчини бувають прості і складні. Якщо у складі розчину присутній один в'яжучий матеріал, розчин називають простим (вапняковий, цементний, гіпсовий тощо), два і більше в'яжучих - складним (цементно-вапняний, вапняно-гіпсовий тощо).
Розчин повинен бути пластичним, мати потрібну рухомість і водоутримувальну здатність. Пластичним називають розчин, який легко розрівнюється на поверхні штукатурним інструментом, не утворюючи тріщин. Пластичний розчин добре прилипає до поверхні і зчеплюється з нею.
Пластичність залежить від співвідношення в розчині в'яжучого матеріалу і заповнювача. У пластичних розчинах міститься 25-35 % в'яжучого матеріалу, для економи якого в розчин додають пластифікатори: глину, пластифікатор БС тощо. Розчин з недостатньою кількістю в'яжучого матеріалу називають пісним, а з надмірною - жирним. Аби визначити пластичність (жирність) розчину, його досить пригладити штукатурною лопаткою. Якщо смуга від лопатки утворюється гладенькою, без тріщин, то розчин пластичний. З цією ж метою можна занурити у розчин і витягнути дерев'яну рейку або держак лопати. Якщо розчин прилипне до дерева, то він пластичний, має достатню жирність.
Рухомість розчину залежить від кількості води в ньому: чим більше води, тим він рухоміший, і навпаки. Його вимірюють за допомогою стандартного металевого конуса масою 300 г, який має поділки від 1 до 15 см (рис. 4.1, а). Для визначення рухомості конус встановлюють так, щоб його вершина дотикалась до поверхні розчину (рис. 4.1, б), і відпускають. На скільки сантиметрів конус занурився у розчин, така й буде його рухомість (рис. 4.2, в).
Рухомість розчинів для штукатурних робіт повинна бути: для першого підготовчого шару (оббризку) - 10-12 см; для другого підготовчого шару (ґрунту) - 7-9 см; для опоряджувального шару (накривки) - 10-12 см.
Властивість розчину утримувати в собі воду під час зберігання, транспортування і нанесення на пористу поверхню називається водоутримувальною здатністю. Високу водоутримувальну здатність мають пластичні розчини.
За міцністю штукатурні розчини поділяють на такі марки: 25,50,75,100.
Для звичайних штукатурних робіт застосовують цементні, цементно-вапняні, вапняні, вапняно-гіпсові, а для декоративних -вапняно-піщані, теразитові і каменеподібні розчини.
Склад розчину записують цифровим співвідношенням його масових або об'ємних (здебільшого) частин, наприклад: цементний розчин 1:3. Це означає, що для приготування такого розчину слід брати за об'ємом одну частину цементу і три частини піску (простий розчин). Для приготування цементно-вапняного розчину 1:1:5 треба брати одну частину цементу, одну частину вапняного тіста і п'ять частин піску (складний розчин).

Рис. 4.1. Визначення рухомості розчину:
а - стандартний конус; б - початкове положення конуса;
в - глибина занурення конуса
Розчини приготовляють механізованим способом у розчинозмішувачах. При невеликих обсягах робіт або в разі застосування розчинів з додаванням гіпсу їх готують вручну в ящиках.
Для штукатурення кам'яних поверхонь у сухих приміщеннях застосовують вапняні розчини. Склад розчину підбирають залежно від його призначення і якості вапна: для оббризку - 1:2; 1:2,5; 1:3; для ґрунту - 1:2,5; 1:3; 1:5; для накривки -1:1,5; 1:2; 1:2,5.
5. Приготування розчинів уручну
Необхідні властивості розчину забезпечують правильним підбиранням його складу, а саме: кількістю матеріалів за масою чи об'ємом, що припадають на 1 м3 розчинової суміші, або відношенням кожної складової розчину до в'яжучого також за масою або об'ємом, при цьому витрати в'яжучого беруть за одиницю. В'яжучі для звичайних штукатурок вибирають залежно від матеріалу основи і умов експлуатації штукатурки (табл. 1).
Таблиця 1. В'яжучі для звичайних штукатурок

Склад розчину записують цифровим співвідношенням його масових або об'ємних (здебільшого) частин, наприклад: цементний розчин 1: 3. Це означає, що для приготування такого розчину слід брати за об'ємом одну частину цементу і три частини піску. Для приготування цементно-вапняного розчину 1:1:5 треба брати одну частину цементу, одну частину вапняного тіста і п'ять частин ліску, а для вапняного розчину 1 : 2 треба одну частину вапна і дві — піску. Вода додається до потрібної консистенції розчину.
Для приготування 1 м3 штукатурного розчину використовують вихідні матеріали у кількості, зазначеній у табл. 2.
Таблиця 2. Матеріали, потрібні для приготування 1 м3 штукатурного розчину

Складові розчинів для звичайних штукатурок добирають також залежно від цільового призначення приміщень (табл. 3).
Таблиця 3. Складові розчинів для звичайних штукатурок

Приготування вапняного розчину. У посудині розводять вапно водою до утворення вапняного молока. Потрібну кількість піску насипають у ящик, додають вапняне молоко і добре перемішують.
Приготування вапняно-гіпсового розчину. В ящику приготовляють вапняний розчин так само, як описано вище, а в окремій посудині — рідке гіпсове тісто. Для цього в посудину наливають води (70...80 % від об'єму гіпсу) і під час перемішування засипають потрібну кількість гіпсу. Утворене гіпсове тісто додають до вапняного розчину і ретельно перемішують.
Вапняно-гіпсовий розчин приготовляють у такій кількості, щоб його можнайуло використати за 15...20 хв. Витрата гіпсу на 1 м^штукатуркистановить 3...8 кг.
Приготування цементного розчину. Потрібну кількість піску і цементу/насипають в ящик і перемішують їх у сухому вигляді (гарцюють). У лерегарцьовану суміш ллють воду до потрібної рухомості розчину і добре переміщують^
Приготування цементно-вапняного розчину. В ящик насипають потрібну кількість піску і цементу, суміш гарцюють. У перегарцьовану суміш вливають окремо приготовлене вапняне молоко і добре перемішують.
6. Штукатурення елементів віконних і дверних прорізів
Основними елементами віконного прорізу, які підлягають штукатуренню, є укоси, заглушини та злив , а дверного — укоси. Укоси бувають зовнішні та внутрішні, які, в свою чергу, поділяють на верхні та бокові. Нижній зовнішній укіс, призначений для відведення дощової води від віконного блока, називають зливом. Поверх нижнього внутрішнього укосу влаштовують підвіконня ( Рис. 6.1.).
У сучасному будівництві лише в деяких випадках застосовують подвійні (літні й зимові) вікна, які закріплені в окремих коробках. Між ними залишаються проміжки, які називають заглушинами. Вони також бувають верхні , бокові та нижні.
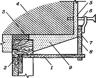
Рис. 6.1. Елементи віконного прорізу
1 – злив; 2 – нижня заглушина; 3 – зовнішній боковий укіс; 4 – віконні коробки;
5 – бокова заглушина; 6 – ввнутрішній боковий укіс; 7 – підвіконня
Штукатурення внутрішніх укосів. До початку штукатурення укосів потрібно перевірити міцність закріплення та вертикальність коробки. Після встановлення коробки проміжки між нею і стіною заповнюють теплоізоляційним матеріалом. Для цього традиційно використовували шлаковату, паклю, змочену в гіпсовому або глиняному розчині, будівельну повсть тощо. Нині для тепло- і гідроізоляції застосовують ущільнювальну монтажну піну. Перед цим підготовлюють коробку: перевіряють вертикальність, прямокутність та закріплення її у віконному прорізі. Поверхні стіни і коробки мають бути чистими і сухими. Перед безпосереднім нанесенням монтажної піни їх трохи зволожують.
Потім за допомогою монтажного пістолета наносять у простір між коробкою і стіною з аерозольного балона тонким шаром пасту. З'єднуючись із повітрям, вона збільшується в об'ємі і заповнює простір, створюючи теплоізоляційний прошарок. Застиглу піну зрізують врівень з коробкою і покривають шаром силіконового герметика, який захищає коробку від вологи та гниття.
Після герметизації коробки встановлюють підвіконну дошку: дерев'яну на вапняно-гіпсовому розчині, а скляну, бетонну чи мозаїчну на цементному. Місце, де встановлюватиметься дошка, очищають від пилу і будівельного сміття, а потім змочують водою. Встановлена дошка повинна мати нахил 1...2° у бік підлоги. Правильне положення дошки вивіряють дерев'яними клинками або кусочками цегли, які підкладають під неї до нанесення розчину. Вивірену дошку знімають і на це місце накладають розчин так, щоб він трохи виступав за рівень клинків. На цей розчин кладуть дошку і притискують її до клинків. Залишок розчину, що виступив з-під дошки, знімають кельмою до рівня стіни, а це місце затирають.
Після встановлення підвіконня на стіні по периметру прорізу прикріплюють напрямні рейки для пересування малки. Рейки прикріплюють до поверхні затискачами, прибивають цвяхами або «приморожують» гіпсовим розчином. Спочатку закріплюють верхню рейку, перевіряючи рівнем її горизонтальність, потім бокові, вертикальність яких можна перевірити виском. Для підвищення продуктивності праці можна використовувати рамки для обштукатурення укосів потрібних розмірів з шириною дощок 100 мм. Усі напрямні мають бути паралельні відповідним брускам коробки.
Площини укосів завжди роблять під тупим кутом до поверхні стіни. Розмір кута для верхнього і бокових укосів прорізу має бути однаковим. Для визначення місця закріплення напрямних рейок до коробки віконного блока застосовують дерев'яний кутник (рис. 6.2.). Роботу виконують у такий спосіб. Заклавши кутник 1 у чверть коробки 2, реєчкою 5 визначають відстань між лінійкою кутника і напрямною рейкою 7. Затиснувши рукою реєчку в місці перетину її з кутником, їх приймають від коробки, а потім рейку міцно прибивають до кутника.
![]() |
Рис. 6.2. Установлення кута укосу за допомогою дерев’яного кутника
1 – кутник, 2 – коробка, 3 – теплоізоляційний шар, 4 – стіна, 5 – шар штукатурки на стіні, 6 – рейкоутримувач, 7 – рейка, 8 – реєчка, 9 – укіс із штукатурного розчину
При користуванні цим пристроєм визначають відстань від брусків коробки до напрямних рейок, які закріплюють на стіні.
Частіше замість дерев'яного кутника використовують металевий. Пластинка кутника, яка фіксує положення рейок, пересувається на потрібну відстань і закріплюється спеціальним гвинтом.
Для штукатурення внутрішніх укосів здебільшого використовують розчин такого самого складу, як і для стін. При штукатуренні стін вапняним розчином до нього додають гіпс, який сприяє швидкому твердненню розчину і надалі збільшує міцність укосів. Перший рідкий шар розчину накидають ковшем, другий -кельмою з сокола. Нанесений шар розчину розрівнюють спеціальною малкою, яку прикладають так, щоб один кінець її пересувався вздовж чверті коробки, а другий — по напрямній рейці.
На вертикальних укосах малку пересувають знизу вгору . Знімають рейки, коли розчин частково затвердне. Місця, пошкоджені затискачами, підмазують і затирають теркою «врозгін». На верхньому укосі слід виконати натирання усьонка, на бічних — залишити зверху відрізок гострого усьонка 200...300 мм завдовжки, а на іншому відрізку усьонка до низу зробити плоску чи заокруглену фаску.
Штукатурення заглушин. Для створення певного профілю заглушин застосовують дерев'яні малки. Верхню і бічні заглушини роблять прямокутними, пересуваючи прямокутну малку профілю вздовж двох коробок. Штукатурять їх вапняно-цементним розчином. Для оберігання віконних рам від гниття нижню заглушину роблять жолобчастою, застосовуючи спеціальну фігурну малку , яку пересувають по нижніх брусках коробки. Штукатурять нижню заглушину цементним розчином. Коли розрівняний розчин частково затвердне, поверхню залізнять. Для цього на свіжу розрівняну поверхню заглу-шини насипають шар сухого цементу 2...З мм завтовшки і відразу ж розгладжують і ущільнюють його галтельною теркою, оббитою жерстю.
Зовнішні укоси і злив штукатурять цементним або цементно-вапняним розчином. Це роблять так. До зовнішнього підвіконня прибивають напрямну рейку, паралельну нижньому бруску коробки, перевіряють її горизонтальність рівнем. Нанесений розчин розрівнюють спеціальною малкою , прикладаючи її так, щоб один кінець, з вирізаною чвертю, пересувався вздовж коробки, а другий — по напрямній рейці. Після розрівнювання розчину злив залізнять так само, як і нижні заглушини
7. Дефекти штукатурки і якість виконання робіт
У будівельних організаціях на основі технічних умов визначені показники якості опоряджувальних робіт. Оцінка виконаної роботи залежить від кількості помічених на опорядженій поверхні дефектів і може бути відмінною, доброю і посередньою. У разі великої кількості дефектів роботу бракують і робітник її переробляє.
При штукатуренні жирними чи пісними розчинами або правильно приготовленими розчинами, але по сирих чи недостатньо шорстких поверхнях штукатурка матиме дефекти і пошкодження. Тому перед фарбуванням поверхні ці дефекти слід усунути.
Наведемо найпоширеніші дефекти штукатурки.
Щілини на поверхні з'являються від штукатурення до закінчення повного осідання будівлі, якщо в місцях стиків дерев'яних і кам'яних поверхонь немає металевої сітки, а також від штукатурення дуже тонким шаром і застосування в роботі жирних розчинів.
Дутики утворюються при використанні в штукатурному розчині недостатньо погашеного вапна. Малі недогашені грудочки вапна, потрапляючи в шар штукатурки, продовжують у ній гаситись. Під час гашення вапно збільшується в об'ємі, чим порушує штукатурний шар і утворює на поверхні горбочок, який через деякий час відпадає (рис. 61). На місці дутика утворюється раковина, всередині якої завжди помітна біла грудочка вапна.
Груба фактура (шорсткість) на поверхні штукатурки може залишатись у вигляді слідів від терки, подряпин зернинами піску, борозен та інших дефектів, що утворилися внаслідок неякісного затирання, а також застосування в штукатурних розчинах крупнозернистого піску.
Відшарування штукатурки виникає і окремих місцях або на великих ділянка: поверхні внаслідок штукатурення вологих або недостатньо шорстких (без насічки) поверхонь, використанні маломіцних розчинів, приготованих із застосуванням в'яжучих матеріалів низької якості, штукатурення промерзлих або вкритих інеєм поверхонь тощо. Дутики

До початку декоративного опорядження фасадів контролюють умови зберігання застосовуваних матеріалів (температуру, відносну вологість), а також готовність об'єкта загалом до виконання робіт.
Контроль якості штукатурно-декоративного опорядження фасадів. У процесі виконання штукатурних робіт треба перевіряти:
- підготовку основи під штукатурення;
- якість сухих сумішей;
- температуру і вологість навколишнього середовища;
- дотримання технологічної послідовності операцій;
- товщину шару розчинової суміші;
- відповідність кольору, товщини шару та отриманої фактури обштукатуреної поверхні вимогам проекту;
- наявність, якість і справність необхідних для виконання роботи інструментів і пристроїв.
У ході приймання виконаних штукатурних робіт потрібно перевірити:
- відповідність виду штукатурки вимогам проекту;
- якість штукатурного покриття;
- міцність зчеплення штукатурки з основою.
Виконавець робіт та інспектор спочатку мають візуально оглянути обштукатурені поверхні, потім за допомогою контрольно-вимірювальних приладів здійснити вибірковий контроль якості штукатурки. На кожні 10 м2 штукатурки потрібно виконати 3 — 5 вимірювань.
Методи контролю якості штукатурно-декоративного опорядження фасадів наведено в табл. 4.
Допустимі відхилення та вимоги до штукатурного покриття наведено в табл. 5. Тріщини, дутики та пропуски штукатурки не допускаються. Наявність штукатурки, відшарованої від поверхні, перевіряють легким простукуванням дерев'яним молотком. Такі місця штукатурки допускається перевіряти методом ультразвукового (наскрізного або поверхневого) прозвучування. В окремих місцях можливе контрольне розкриття штукатурки.
Таблиця 4. Методи контролю якості декоративного опорядження фасадів штукатурними сумішами
| Вид опорядження |
Контрольований параметр |
Метод контролю |
Засіб контролю |
| Опорядження декоративними штукатурками |
Якість підготов- ки поверхні Товщина шару декоративної штукатурки Вертикальність (гор изонта л ь- ність) поверхні штукатурки Відхилення ві- конних і двер- них косяків від вертикалі (гори зонталі) |
Відповідно до табл. Г.1, поз. 3 - 10 ДБН В.2.6-22- 2001 Вимірювання товщини в процесі нанесення штука- турки Визначення маси декора- тивної суміші, що нано- ситься на одиницю площі Вимірювання відхилень від вертикалі (горизонта- лі) — не менше 5 вимірю- вань на кожні 50 - 70 м2 площі або на окремій ді- лянці меншої площі в місцях, виявлених під час суцільного візуального контролю Візуально — суцільний контроль; вимірювання відхилень, виявлених під час суцільного візуально го контролю |
Відповідно до табл. Г.1, поз. 3-10 ДБН В.2.6-22-2001 Набір щупів (ТУ 22-034-0221197- 011); металева лінійка (ТОСТ 427) Ваги для статич- ного зважування (ГОСТ 29329) Контрольна дво- метрова лінійка РН-4; набір щупів (ТУ 22-034- 0221197-011); металева лінійка (ГОСТ 427) Металева лінійка (ГОСТ 427); конт- рольна лінійка РН-4; набір щупів(ТУ 22-034-0221197-011) |
| ня декора- |
Колір, відтінок і фактура декоративної штукатурки мають відповідати встановленому проектом зразку. Допускаються незначні (до 10 % площі) зміни меж у стиках, а також малопомітні сліди стиків штукатурки через перерви в роботі на коротких лініях, наприклад між вікнами і дверима, та на ділянках стін завдовжки до 10 м.
Не допускаються смуги, що різняться за кольором або тоном від основного кольору штукатурки, а також плями від ремонту і закладання місць кріплення риштувань і правил.
Стики або межі захваток декоративної штукатурки мають бути в найменш помітних місцях (за водостічними трубами, колонами, в лузгах пілястр, міжповерхових поясках). На межах захваток не допускаються рвані краї.
Таблиця 5. Вимоги до обштукатурених поверхонь
| Технічна вимога |
Метод контролю |
Вид реєстрації |
| Допустима товщина одношарової штукатурки залежно від групи сухої суміші, мм Ш1 — від 2,5 до 5 Ш2 — від 5 до 30 ШЗ — від 2,5 до 5 Ш4 — від 10 до 30 |
Вимірювальний. Не менше 5 вимірювань на 70 - 100 м2 поверхні покриття в місцях, виявлених суцільним візуальним контролем |
Журнал робіт |
| Відхилення поверхні від вертикалі — не більше 1 мм на 1 м висоти, але не більше 5 мм на всю висоту приміщення чи його частину, обмежену прогонами, балками та ін. |
Вимірювальний. Не менше 5 вимірювань на кожні 70 - 100 м-поверхні покриття |
Те саме |
| Відхилення поверхні від горизонталі — не більше 1 мм на 1 м довжини, але не більше 7 мм на всю довжину приміщення чи його частину, обмежену балками, прогонами та ін. |
Те саме |
» |
8. Організація праці опоряджувальників
Організація праці опоряджувальників має забезпечувати ефективне використання робочого часу, засобів механізації і матеріальних ресурсів із метою підвищення продуктивності праці, скорочення термінів будівництва, поліпшення його якості.Це досягається дотриманням вимог наукової організації праці (НОП), яка передбачає здійснення комплексу організаційно-технічних і соціально-економічних заходів.
Найважливіша вимога НОП — поділ і кооперування праці. Кількісний і професійно-кваліфікаційний склад бригади має відповідати виду, трудомісткості й термінам виконання робіт із дотриманням стабільного складу виконавців. В умовах ринкової економіки найефективніші збільшені комплексні бригади, які суміщують кілька професій. Під час виконання опоряджувальних робіт застосовують ланкову або бригадну систему організації праці. За ланковою системою ланки спеціалізуються на певному виді опоряджувальних робіт згідно з планом-завданням. Бригадну систему застосовують частіше, при цьому бригада та її складові ланки мають спільний план-завдання.
Бригади бувають спеціалізовані та комплексні. Спеціалізовані бригади складаються з робітників однієї професії, які виконують один вид опоряджувальних робіт (штукатурні, малярні тощо). Праця у таких бригадах поділяється за складністю робіт відповідно до розрядів робітників.
Комплексні бригади виконують кілька видів робіт, пов'язаних з опорядженням будинку, і складаються з робітників кількох професій (штукатурів, плиточників, малярів). У таких бригадах існує суміщення професій.
Ефективною формою організації виробництва і праці при виконанні опоряджувальних робіт (штукатурних, малярних тощо) є застосування спеціалізованих екіпажів. їх формують за професійною ознакою, застосовують прогресивну технологію виконання робіт та комплексну механізацію, використовують штукатурні й малярні станції. Екіпажна форма організації передбачає застосування потоково-розчленованого методу для проведення опоряджувальних робіт. Комплекс робіт поділяють на окремі процеси, які виконують спеціалізовані ланки.
До складу бригади можуть входити робітники (машиністи), які обслуговують окремі машини, що забезпечить загальну зацікавленість у створенні кінцевої продукції. При цьому машиніста зараховують до складу будівельної організації або залишають у складі управління механізації. Продуктивність праці робітника залежить від правильної організації його робочого місця. Робочим місцем називають частину виробничої площі, призначену для виконання певного обсягу трудових дій одним або кількома працівниками.
Робочі місця можуть бути стаціонарними і пересувними. На будівництві при виконанні опоряджувальних робіт майже немає стаціонарних робочих місць, адже робітник разом із пристроями і матеріалами під час виконання роботи пересувається з однієї ділянки приміщення на іншу.
На робочому місці опоряджувальника мають бути обладнання, матеріали і знаряддя праці, потрібні для виконання опорядження, їх розміщують так, щоб під час роботи не доводилося робити зайвих рухів. Ручний інструмент, який беруть правою рукою, має лежати справа, а той, що беруть лівою рукою, — зліва. Якщо для роботи потрібен столик, то його встановлюють так, щоб з цього місця можна було виконати якнайбільший обсяг роботи.
Велике значення для організації робіт має своєчасна підготовка матеріалів і поточне забезпечення ними опоряджувальнигав. Тому в спеціально відведених приміщеннях заздалегідь сортують плитки, розкроюють лінолеум, приготовляють розчини і мастики. Підготовлені матеріали в процесі роботи ритмічно подають на робочі місця.
Під час виконання робіт обов'язково слід дотримуватися всіх правил техніки безпеки і виробничої санітарії. Робочі місця опо-ряджувальників обладнують засобами зв'язку, а також пристроями, які забезпечують нормальні гігієнічні умови (освітлення, захист від протягів тощо).
Використана література
1. Бруква В.В. Михальчук В.М. Технологія декоративно-штукатурних і ліпних робіт: Підруч. Для учнів проф.-техн. навч. закл. – К.: Техніка, 2004.- 280с.
2. Карапузов Є.К., Соха В.Г., Остапченко Т.Є. матеріали і техннології в сучасному виробництві: Підручник. – К.: Вища освіта, 2006. – 495с.: іл.
3. Остапченко Т.Є. Технологія опоряджувальних робіт:
Підручник. – К.: Вища освіта, 2003. – 384 с.: іл.

