| Скачать .docx |
Курсовая работа: Проектирование и расчёт конструкций из дерева
Костромская
Государственная
Сельскохозяйственная
Академия
Кафедра строительных конструкций
ПОЯСНИТЕЛЬНАЯ ЗАПИСКА К
КУРСОВОМУ ПРОЕКТУ
Коровник на 200 голов привязного содержания
на тему: «Проектирование и расчёт
конструкций из дерева»
по дисциплине: «Конструкции из дерева и пластмасс»
Выполнил: студент 4 курса
2 группы АСФ Белов Д.Ю.
Руководитель: Борисова И.С.
Кострома 2002
Содержание
Введение
Сравнение вариантов
Теплотехнический расчет ограждающих конструкций
Расчет утепленной клеефанерной панели покрытия
Расчет гнутоклееной деревянной трехшарнирной рамы
Расчет стеновой панели
Мероприятия и способы продления срока службы деревянных конструкций
Список литературы
Введение.
Одним из важнейших направлений прогресса строительства, которое ведётся во всё возрастающих масштабах, является производство и применение лёгких и эффективных строительных конструкций. Повышение качества строительства, ускорение его темпов, снижение материалоёмкости, трудоёмкости и стоимости имеют огромное значение. Широкое применение в строительстве эффективных лёгких сборных конструкций заводского изготовления позволит существенно ускорить сооружение строительных объектов, упростить и снизить трудоёмкость работ по сооружению фундаментов, транспортированию и монтажу зданий и сооружений и получить благодаря этому значительный технико-экономический эффект.
К числу лёгких строительных конструкций в первую очередь относятся деревянные конструкции. Деревянные конструкции являлись основными в течение многих веков и имеют широкие перспективы применения в современном облегчённом капитальном строительстве. Огромные лесные богатства нашей страны являются надёжной сырьевой базой производства деревянных строительных конструкций. Деревянные конструкции характеризуются малой массой, малой теплопроводностью, повышенной транспортабельностью и их перевозки на значительные расстояния вполне рациональны. Ценные строительные свойства древесины определяют и области её эффективного использования.
Высокая прочность древесины позволяет создавать деревянные конструкции больших размеров для перекрытий зданий, имеющих свободные пролёты до 100 м и более.
Деревянные конструкции подвержены загниванию. Однако современные методы конструктивной и химической защиты от загнивания позволяют снизить до минимума опасность их гнилостного поражения и обеспечить им необходимую долговечность в самых различных условиях эксплуатации.
Древесина является стойким материалом в ряде агрессивных по отношению к бетону и металлу сред. Кроме того, деревянные конструкции проявляют необходимую долговечность в ряде сооружений химической промышленности.
Создание высокопрочных и стойких синтетических полимерных клеев и разработка высокопроизводительной заводской технологии склеивания позволили из пиломатериалов ограниченных размеров создавать клееные элементы и конструкции практически любых размеров и форм, имеющих повышенную прочность и стойкость против загнивания и возгорания и при минимальном количестве отходов. Производство и применение клееных деревянных конструкций является одним из главных направлений прогресса в области строительства из дерева. Основной задачей промышленности клееных деревянных конструкций является строгое и точное выполнение всех операций технологического процесса, с тем чтобы обеспечить высокое качество и снизить стоимость этих прогрессивных конструкций. Наибольший технико-экономический эффект даёт их использование в следующих областях строительства: большепролётные общественные здания, промышленные здания с химически агрессивной средой, не действующей на древесину, сборные малоэтажные дома заводского изготовления, сельскохозяйственные производственные здания. Опыт зарубежного строительства показывает также всё возрастающий объём применения клееных деревянных конструкций.
Дальнейшее прогрессивное развитие производственной базы заводского изготовления деревянных строительных конструкций должно быть ориентировано на повышение их эксплуатационных качеств и капитальности, на ускорение темпов строительства и повышение производительности труда не только в процессе заводского изготовления укрупнённых элементов сборных сооружений, но и при их монтаже.
Сравнение вариантов.
Для сравнения взяты следующие конструкции:
-гнутоклееная деревянная рама;
-клеенная двухскатная балка на стойках.
| Гнутоклееная деревянная рама | Балка на стойках |
Vд =3.564 м3 Сталь класса A-I 117.54 кг Клей 86 кг |
Vд =5.6 м3 Сталь класса A-I 46.8 кг Клей 81.45 кг |
Определяем расход пиломатериалов:
Для рамы
м3
Для балки
м3
k3 =1.07 – коэф. для элементов со стыком на зубчатый шип;
dп , bп , dо , bo – толщина и ширина до острожки и после соответственно;
lзб – длина заготовительного блока;
lд – длина в деле.
Определяем трудоемкость изготовления конструкций:
Для рамы Тизг =tи ×L+Тс +Тт +Та =0.4×27.8+3.5×5.09+1×5.09+1×3.564+4=41.6 чел.час.
Для балки Тизг =tи ×L+Тс +Тт +Та =0.05×28.5+3.5×7.8+1×7.8+1×5.6+4=46.125 чел.час.
tи – удельная трудоемкость изготовления и сборки;
Тс = tс ×Vп – трудоемкость сушки(tс =3.5 чел.час./м3 )
Тт =tт `×Vп +tт ``×Vд – трудоемкость транспортных операций
(tт `=1 чел.час./м3 , tт ``=1 чел.час./м3 );
Та - трудоемкость на септирование.
ТЭП
| Гнутоклееная деревянная рама | Балка на стойках |
| Vд =3.564 м3 | Vд =5.6 м3 |
| Сталь класса A-I 117.54 кг | Сталь класса A-I 46.8 кг |
| Клей 86 кг | Клей 81.45 кг |
| Vп =5.09 м3 | Vп =7.8 м3 |
| Тизг =41.6 чел.час | Тизг =46.125 чел.час |
| Стоимость(руб) | |
| Отпускная 570.24 | 560 |
| Транспортная 53.46 | 56 |
| Монтажа и окраски 142.56 | 168 |
| Итого 766.26 | 784 |
Сравнив показатели и учитывая все конструктивные и архитектурные качества конструкций, для дальнейшего расчета принимаем деревянную гнутоклееную раму.
Теплотехнический расчет ограждающих конструкций
Для строительства выбрана Костромская область.
Теплотехнический расчет клеефанерной панели:
Схематический чертеж ограждающей конструкции

1. Фанерная обшивка: g0 = 600 кг/м3; d1 = 10 мм; l1 = 0.18 Вт/(м×С0 );
2. Утеплитель – минераловатные плиты на синтетическом связующем (прошивные): g0 = 125 кг/м3 ; l2 = 0.07 Вт/(м×С0 );
3. Пароизоляция d3 = 0.2 мм;
4. Воздушная прослойка d4 = 87 мм; d4 /l4 = 0.19;
5. Фанерная обшивка g0 = 600 кг/м3; d5 = 10 мм; l5 = 0.18 Вт/(м×С0 );
6. Рубероид (3 слоя) g0 = 600 кг/м3; d5 = 5 мм; l5 = 0.17 Вт/(м×С0 ).
Определяем
через ГСОП
(градусы сутки отопительного периода):
![]()
, отсюда ![]()
Принимаем толщину утеплителя равную 8 см.
Теплотехнический расчет кирпичной стены:
Схематический чертеж ограждающей конструкции

1. Кладка из силикатного кирпича на цементно-песчаном растворе: g0 = 1800 кг/м3; d1 = 510 мм; l1 = 0.87 Вт/(м×С0 );
2. Утеплитель – минераловатные плиты на синтетическом связующем (жесткие): g0 = 125 кг/м3 ; l2 = 0.07 Вт/(м×С0 );
3. Пароизоляция: d3 = 0.2 мм;
4. Штукатурка по сетке: g0 = 1700 кг/м3; d4 = 15 мм; l4 = 0.87 Вт/(м×С0 ).
Определяем
через ГСОП
(градусы сутки отопительного периода):
![]()
, отсюда ![]()
Принимаем толщину утеплителя равную 25 мм, а толщину стены – 550 мм.
Расчет утепленной клеефанерной панели покрытия
Исходные данные. Размер панели в плане 1,48х5,98 м; обшивки из водостойкой фанеры марки ФСФ сорта В/ВВ по ГОСТ 3916-69*; ребра из сосновых досок второго сорта. Клей марки ФРФ-50. Утеплитель – минераловатные плиты на синтетическом связующем по ГОСТ 9573-82*. Плотность утеплителя 1 кН/м3 . Пароизоляция из полиэтиленовой пленки толщиной 0,2 мм. Воздушная прослойка над утеплителем – вентилируемая вдоль панели. Кровля из рулонных материалов (рубероид) трехслойная. Первый слой рубероида наклеивают на заводе с применением мастик повышенной теплостойкости и механизированной прокатки слоя. Оставшиеся два слоя наклеивают после установки панели. Район строительства – Костромская область.
Компоновка рабочего сечения панели. Ширину панели делают равной ширине фанерного листа с учетом обрезки кромок для их выравнивания bп = 1480 мм. Толщину фанеры принимают 10 мм. Направление волокон наружных шпонов фанеры как в верхней, так и в нижней обшивке панели должно быть продольным для обеспечения стыкования листов фанеры “на ус” и для лучшего использования прочности фанеры.
Для дощатого каркаса, связывающего верхние и нижние фанерные обшивки в монолитную склеенную коробчатую панель, применены черновые заготовки по рекомендуемому сортаменту пиломатериалов (применительно к ГОСТ 24454-80*Е) сечением 50х175 мм. После сушки (до 12% влажности) и четырехстороннего фрезирования черновых заготовок на склейку идут чистые доски сечением 42х167 мм. Расчетный пролет панели lр = 0,99l = 0,99×2960 = 2930 мм. Высота принята hп = 187 мм, что составляет 18,7/592 = 1/32 пролета и соответствует рекомендациям, согласно которым высота панели составляет 1/30–1/32 пролета.
Каркас панели состоит из четырех продольных ребер. Шаг ребер принимают из расчета верхней фанерной обшивки на местный изгиб поперек волокон от сосредоточенной силы Р = 1×1,2 = 1,2 кН как балки, заделанной по концам (у ребер) шириной 1000 мм. Расстояние между ребрами в осях с = (1480-2,42)/3 = 492 мм.
Изгибающий момент в обшивке М = Р×с/8 = 1,2×492/8 =73.8 кН×мм. Момент сопротивления обшивки шириной 1000 мм.
.
Напряжение от изгиба сосредоточенной силой
, здесь 1,2 – коэффициент условия работы для монтажной нагрузки.
Для придания каркасу жесткости продольные ребра соединены на клею с поперечными ребрами, расположенными по торцам и в середине панели. Продольные кромки панелей при установке стыкуются с помощью специально устроенного шпунта из трапецевидных брусков, приклееных к крайним продольным ребрам. Полученное таким образом соединение в шпунт предотвращает вертикальный сдвиг в стыке и разницу в прогибах кромок смежных панелей даже под действием сосредоточенной нагрузки, приложенной к краю одной из панелей.
Нагрузки на панель. Панели предназначены для укладки по несущим деревянным конструкциям. Подсчет нормативной и расчетной нагрузок приведен в таблице .
| № п/п | Наименование нагрузки | Нормативная нагрузка, кН/м2 | g f | Расчетная нагрузка, кН/м2 |
| 1 | Кровля рубероидная трехслойная | 0,12 | 1,3 | 0,156 |
| 2 | Фанерная обшивка, фанера марки ФСФ |
0,14 | 1,1 | 0,154 |
| 3 | Продольные и поперечные ребра | 0,128 | 1,1 | 0,1408 |
| 4 | Утеплитель – минераловатные плиты | 0,075 | 1,1 | 0,09 |
| 5 | Пароизоляция | 0,02 | 1,3 | 0,026 |
| 6 | Постоянная | 0,483 | 0,567 | |
| 7 | Временная | 1,5 | 1,6 | 2,4 |
| 8 | Полная | 1,983 | 2,967 |
Коэффициент надежности по снеговой нагрузке в соответствии с п.5.7 СНиП 2.01.07-85 для отношения нормативного веса покрытия к весу снегового покрова 0,483/1,5=0,32 < 0,8 равен gf =1,6.
Полная нагрузка на 1 м панели:
нормативная qн =1,983×1,5=2,97 кН/м;
расчетная q=2,967×1,5=4,45 кН/м.
Расчетные характеристики материалов. Для фанеры марки ФСФ сорта В/ВВ семислойной толщиной 10 мм по табл. 10 и 11 СНиП II-25-80 имеем:
расчетное сопротивление растяжению: Rф.р = 14 МПа;
расчетное сопротивление сжатию: Rф.с = 12 МПа;
расчетное сопротивление скалыванию: Rф.ск = 0,8 МПа;
расчетное сопротивление изгибу: Rф.и90 = 6,5 МПа;
модуль упругости: Еф =9000 МПа;
Для древесины ребер по СНиП II-25-80 имеем модуль упругости Едр =10000 МПа.
Геометрические характеристики сечения панели. Приведенная расчетная ширина фанерных обшивок согласно СНиП II-25-80 п.4.25.
bпр =0.9×b при l>6a, где b – полная ширина плиты, l – пролет плиты, a – расстояние между продольными ребрами по осям.
bпр =0.9×1.48=1.332 м.
Геометрические характеристики клеефанерной панели приводим к фанерной обшивке. Приведенный момент инерции поперечного сечения панели.
![]()
![]()
Приведенный момент сопротивления поперечного сечения панели:
.
Проверка панели на прочность. Максимальный изгибающий момент в середине пролета:
![]()
Напряжения в растянутой обшивке:
, где 0,6 – коэффициент, учитывающий снижение расчетного сопротивления фанеры в растянутом стыке. (п.4.24 СНиП II-25-80).
Расчет на устойчивость сжатой обшивки производим по формуле:
![]()
При расстоянии между продольными ребрами в свету с1 = 0,424 м и толщина фанеры dф = 0,01 м.
тогда 
![]()
![]()
Напряжение в сжатой обшивке:
![]()
Расчет на скалывание по клеевому слою фанерной обшивки (в пределах ширины продольных ребер) производят по формуле:
![]()
Поперечная сила равна опорной реакции панели:
![]()
Приведенный статический момент верхней фанерной обшивки относительно нейтральной оси:
![]()
Расчетная ширина клеевого соединения: bрасч = 4×0,042 = 0,168 м.
Касательные напряжения будут:
.
Проверка панели на прогиб. Относительный прогиб панели:
,где
- предельный прогиб в панелях покрытия согласно табл. 16 СНиП II-25-80.
Расчет гнутоклееной деревянной трехшарнирной рамы.
Исходные данные: рама пролетом 21 м, шагом 3 м. Здание второго класса ответственности, gn =0.95. ТВУ эксплуатации А-1. Кровля утепленная из клеефанерных плит. Район строительства – Костромская обл., s=1.5 кПа.
На раму действуют равномерно распределенные постоянные и временные нагрузки(т.сбор нагрузок). При заданных геометрических размерах рамы и высоте стойки Н<4 м ветровая нагрузка не учитывается, т.к. отсос ветра на кровле уменьшает усилие в элементах рамы.
Собственный вес рамы определяем при kсв =8:
кПа
Сбор нагрузок

s=2.4*3=7.2 кН/м; q=0.972*3=2.915 кН/м, где 3 – шаг несущих конструкций.
Геометрический расчет см. рис.
Длина полупролета 10.5 м. Радиус выгиба 3 м. Угол наклона ригеля tga=1:4=0.25; a=14о 02`. Угол между осями стойки и ригеля и касательной к средней точке выгиба a1 =(90о +a)/2=52о . Центральный угол выгиба в градусах 76 и радианах 1.33. Длина выгиба lгн=r*1.33=3.99 м. Длина полурамы 13.77 м.
Ось полурамы разбиваем на 6 сечений.

Статический расчет:
cosa=0.97; sina=0.24
Усилия от левосторонней снеговой нагрузки:
Va=Vb=3*s*L/8=56.7 кН; Ha=Hb=
=31.64 кН.
Сечение o: Qo = Ha; No = Va;
Сечение 1: M1 = -Ha*hст;
Сечение 2: M2 = -Ha*y2 +Va*x2 -s*x2 2 /2; Q2 =(Va-s*x2 )*cosa1 -Ha*sina1
N2 =(Va-s*x2 )*sina1 +Ha*cosa1
a1 =(90+a)/2=52o ; cosa1 =0.62; sina1 =0.79
Сечение 3: M3 =Va*x3 -Ha*y3 -s*x3 2 /2;
Сечение 4: M4 =Va*x4 -Ha*y4 -s*x4 2 /2
Сечение 5: Q5 =Va-s*x2 ; N5 =Ha
Усилия от правосторонней снеговой нагрузки:
Va=Vb=s*L/8; Ha=Hb=![]()
Сечение o: Qo = Ha; No = Va
Сечение 1: M1 = -Ha*hст
Сечение 2: M2 = -Ha*y2 +Va*x2 ; Q2 =Va*cosa1 -Ha*sina1 ; N2 =Va*sina1 +Ha*cosa1
a1 =(90+a)/2=52o ; cosa1 =0.62; sina1 =0.79
Сечение 3: M3 =Va*x3 -Ha*y3
Сечение 4: M4 =Va*x4 -Ha*y4
Сечение 5: Q5 =Va; N5 =Ha
Усилия от двусторонней снеговой нагрузки равны сумме усилий от односторонних снеговых нагрузок. Усилия от собственног веса определяются умножением усилий от двухсторонней нагрузки на отношение этих нагрузок q/s=3.25/7.2=0.45. Полные расчетные усилия равны сумме усилий от двухсторонней снеговой и собственного веса.
Полученные значения сводим в таблицу.

Подбираем сечения и делаем проверку напряжений.
Сечение 2: М=215 кНм; N=134 кН.
Принимаем древесину второго сорта в виде досок сечением после острожки dхb=1.6х19 см2 . Расчетное сопротивление древесины при сжатии с изгибом с учетом ширины сечения >13 см, толщины доски 1.6 см: Rc=Rи=12.5 МПа.(см ниже)
Требуемую величину сечения определяем приближенно по величине изгибающего момента, а наличие продольной силы учитываем коэф. 0.7:
м
Принимаем высоту сечения 92.8 см – 58 досок.
Сечение о: Q=89 кН. Требуемую высоту сечения на опоре определяем из условия прочности на скалывание. Расчетное сопротивление скалыванию для древесины 2-го сорта: Rск =1.5/0.95=1.579 МПа.
Высота опорного сечения:
м
Принимаем высоту опорного сечения из 29 досок – bxh=19x46.4 см2 .
Высоту конькового сечения принимаем равной hк =464 мм ( 29 досок).
Делаем проверку напряжений при сжатии с изгибом. Изгибающий момент, действующий в центре сечения, находящегося на расстоянии от расчетной оси, равном
см, определится по формуле:
М=М2 -N2 e=0.215-0.232×0.134=0.184 МНм
Расчетные сопротивления древесины 2-го сорта сжатой внутренней кромки Rc с учетом коэффициентов условий работы – высоты сечения mб =0.9, толщины слоев mсл =1.1 и коэф. гнутья mгн (таб.7,8,9 [1]):
rвн =r-e-h/2=300-23.2-92.8/2=230.4 см; rвн /d=230.4/1.6=144; mгн =0.8
Rc =Rc ×mб ×mсл ×mгн /gn =15×0.9×1.1×0.8/0.95=12.51 МПа
Расчетное сопротивление древесины 1-го сорта растянутой наружной кромки:
rн =r-e+h/2=300-23.2+92.8/2=323.2; rн /d=323.2/1.6=202; mгн =0.7
Rp =12×mсл ×mгн /gn =12×1.1×0.7/0.95=9.726 МПа
Площадь сечения А, момент сопротивления W, расчетная длина lp =13.77 м, радиус инерции i, гибкость l:
A=b×h=0.19×0.928=0.176 м2 ;
м3
; r=0.29×h=0.29×0.928=0.269 м;
l= lp / r=13.77/0.269=51.19.
Коэффициент, учитывающий переменность высоты сечения полурамы, Кжн =0.07+0.93×ho/h=0.07+0.93×46.4/92.8=0.5.
Коэффициент учета дополнительного момента при деформации прогиба:
![]()
Изгибающий момент:
Мд=М/x=0.184/0.688=0.267 МНм.
Коэффициенты Кгв и Кгн к моменту сопротивления при проверке напряжений сжатия во внутренней и растяжения в наружной кромках сечения:
Кгв =(1+0.5×h/r)/(1+0.17×h/r)=(1+0.5×0.928/3)/(1+0.17×0.928/3)= 1.097
Кгн =(1-0.5×h/r)/(1-0.17×h/r)=(1-0.5×0.928/3)/(1-0.17×0.928/3)= 0.892
Моменты сопротвления сечения с учетом влияния выгиба верхней и нижней кромок:
Wн =W×Кгв =0.027×1.117=0.03 м3
Wв =W×Кгн =0.027×0.867=0.024 м3
Напряжения сжатия и растяжения:
< Rc
< Rp
Проверка устойчивости плоской формы деформирования рамы.
Рама закреплена из плоскости в покрытии по наружным кромкам сечений. Внутренняя кромка ее сечений не закреплена. В сечениях рамы действуют в основном отрицательные изгибающие моменты, максимальные в серединах выгибов. При этом верхние наружные зоны сечений рамы являются растянутыми и закрепленными из плоскости, а нижние внутренние зоны сжаты и не закреплены.
Проверка устойчивости плоской формы деформирования полурамы. Расчетная длина растянутой зоны равна полной длине полурамы lp =13.77 м.
Площадь сечения A=b×h=0.19×0.8=0.176 м2 ;
Момент сопротивления
м3
Радиус инерции r=0.29×b=0.29×0.19=0.0551 м
Гибкость l= lp / r=13.77/0.0551=249.9.
Коэффициент устойчивости из плоскости при сжатии jy =3000/l2 =3000/249.92 =0.048
Коэффициент устойчивости при изгибе:
jм =140×b2 ×Kф / lp ×h=140×0.192 ×1.13/(13.77×0.928)=0.447, где Kф =1.13 – коэффициент формы эпюры изгибающих моментов.
Коэффициенты Kп N и Kп M , учитывающие закрепление растянутой кромки из плоскости, при при числе закреплений более 4-х следует считать сплошными:
Kп N =1+0.75+0.06×(lp /h)2 +0.6×ap × lp /h=1+0.75+0.06×(13.77/0.928)2 +0.6×1.33×13.77/0.928=26.802
Kп M =1+0.142×(lp /h)+1.76×(h/lp )+1.4×ap =1+0.142×(13.77/0.928)+1.76×0.928/13.77+1.4×1.33=5.088
где ap =1.33 – центральный угол гнутой части в радианах.
Проверка устойчивости полурамы:
<1
Устойчивость плоской формы деформирования обеспечена.
Расчет узлов.
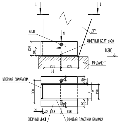
Опорный узел решается при помощи стального башмака, состоящего из опорного листа, двух боковых фасонок и упорной диафрагмы между ними, который крепит стойку к опоре. (см. рис.)

Усилия, действующие в узле: N=106 кН, Q=89 кН.
Расчетное сопротивление вдоль волокон Rc =Rc ×mб ×mсл /gn =15×1×1.1/0.95=17.4 МПа.
Расчетное сопротивление поперек волокон Rc м90 =3 МПа.
A=b×hоп =0.19×0.464=0.088 м2
Напряжение смятия вдоль волокон
МПа< Rc
Напряжение смятия поперек волокон
МПа< Rc
м90
Расчитываем упорную вертикальную диафрагму на изгиб как балку, частично защемленную на опорах, с учетом пластического перераспределения моментов.
Изгибающий момент: M=Q×b/16=0.089×0.19/16=0.0011 МНм.
Требуемый момент сопротивления: W=M/Rи =0.0011/240=4.58×10-6 м3 =4.58 см3
Rи =240 МПа – сопротивление металла изгибу. Примем конструктивно hд =20 см
Толщина листа определится:
см – принимаем 1.5 см.
Боковые пластины принимаем тойже толщины:
Абп =20×1.5=30 см2 ;
W=20×1.52 /6=7.5 см3 ;
N=Q/2=0.089/2=0.0445 МН;
кН/см2
<24 кН/см2
.
Башмак крепим к фундаменту двумя анкерными болтами, работающими на срез и растяжение. Сжимающие усилия передаются непосредственно на фундамент.
Изгибающий момент, передающийся от башмака на опорный лист:
М=Q×0.1=0.089×0.1=0.0089 МНм.
Момент сопротивления опорной плоскости башмака:
W=2×b×l2 /6=2×9×48.52 /6=7056.75 см3 , где b=9 см–ширина опорной плоскости башмака, l=48.5 см – длина опорной плоскости башмака.
Сминающие напряжения под башмаком:
s=М/W=890/7056.75=0.13 кН/см2 <0.6 кН/см2 – при бетоне В10.
Принимаем болты диаметром 20 мм (Абр =3.14 см2 , Ант =2.18 см2 ).
Для того чтобы срез воспринимался полным сечением болта, устанавливаем под гайками шайбы толщиной 10 мм. Усилия в болтах определяются по следующим формулам:
растягивающие усилие, приходящееся на один болт:
Np =M/(2/3×2×l)=890×3/(4×48.5)=13.76 кН
срезающее усилие:
Ncp =Q/2=44.5 кН.
Напряжения растяжения в пределах среза:
s=Np /Ант =13.76/2.18=6.3<0.8×R=0.8×24=19.2 кН/см2 .
Напряжения среза:
s=Nср /Абр =44.5/3.14=14.17<R=15 кН/см2 .
Коньковый узел решаем с помощью деревянных накладок и болтов. На накладки толщиной а=10 см действует поперечная сила от односторонней снеговой нагрузки:
Q=18.9 кН

Усилие, передающееся на второй ряд болтов:
N2 =Q/(e2 /e1 -1)=18.9/(92/28-1)=8.3 кН, где e2 =92 см – расстояние между вторыми рядами болтов, e1 =28 см – расстояние между болтами.
Усилие передающееся на первый ряд болтов:
N1 = Q/( 1-e1 /e2 )=18.9/(1-28/92)=27.17 кН.
Принимаем болты 22 мм.
Несущая способность в одном срезе болта при изгибе:
Ти
=(1.8×d2
+0.02×a2
)×
=(1.8×2.22
+0.02×102
)×
=7.944 кН<2.5×d2
×
=8.974 кН;
ka =0.55 (таб. 19[1]).
При смятии древесины:
Та =0.8×а×d×ka =0.8×10×2.2×0.55=9.68 кН
Тс =0.5×b×d×ka =0.5×19×2.2×0.55=11.495 кН
Тmin =9.68 кН
Число двухсрезных болтов в первом ряду:
n1 =N1 /(Тmin ×ncp )=27.17/(9.68×2)=1.5 – принимаем 2 болта
Число двухсрезных болтов во втором ряду:
N2 =N2 /(Тmin ×ncp )=8.3/(9.68×2)=0.43 – принимаем 1 болт
Смятие торцов полурамы под углом a=14о 02` к продольным волокнам:
Расчетное сопротивление по углом:
кН/см2
кН/см2
<Rсм
a
.
Проверяем накладки на изгиб:
М=Q×(l1 -l2 )=18.9×14=264.6 кНсм
Напряжение в накладке:
s=М/Wнт =264.6/3022=0.088 кН/см2 <Rи=1.4/0.95=1.47 кН/см2
см3
.
Расчет трехслойной навесной панели с обшивкой из алюминия и средним слоем из пенопласта g=1 кН/м3 с пустотами. Обрамление отсутствует. Боковые кромки пенопласта покрыты защитной мастикой. Собственный вес панели q=0.2 кН/м2 . Нормальная ветровая нагрузка wo =0.23 кПа, аэродинамический коэффициент 0.8. Длина 6 м l, ширина 1.18 b м, толщина обшивки d=0.001 м, толщина утеплителя с=0.15 м.
Нагрузка на один погонный метр от собственного веса панели:
qн =0.2×1.18=0.24 кН/м
q=0.24×1.1=0.264 кН/м
ветровая:
wн=wo×c×k=0.23×0.8×0.5=0.092 кН/м
w=0.092×1.2=0.11 кН/м
При расчете горизонтально расположенных навесных стеновых панелей следует иметь в виду, что нагрузки от собственного веса и ветрового давления изгибают панель в разных плоскостях, поэтому наибольшее напряжение в обшивке надо определять с учетом косого изгиба, общее напряжение получится суммированием напряжений от сил действующих в разных плоскостях.
кНм
м3
кПа
Нормальные напряжения в обшивке от ветровой нагрузки:
кПа
s=sх +sy =645.65+69.45=715.1 кПа<140000 кПа
Сдвигающие напряжения в пенопласте:
кПа<10 кПа
bск=1.18-11×0.07=0.41 м – общая ширина плоскости сдвига за вычетом отверстий.
м
![]()
Мероприятия и способы продления срока службы деревянных конструкций.
Наряду со строительством новых, общественных и производственных зданий и сооружений одной из важнейших задач является задача сохранения существующих, среди которых значительная часть содержит деревянные несущие и ограждающие конструкции. Правильная эксплуатация зданий и сооружений обеспечивает их исправное состояние, т.е. сохранность и безотказную работу деревянных и других конструкций в пределах не менее нормативного срока службы, а во многих случаях позволяет значительно увеличить срок их службы. Нормальными условиями эксплуатации являются такие, при которых деревянные конструкции не повреждаются, нагрузки, действующие на них, не превосходят их несущей способности, а температура и влажность не превышают допустимых. При нарушении этих условий деревянные конструкции могут преждевременно потерять свою несущую способность и жёсткость.
Тщательный осмотр деревянных конструкций должен быть произведён при приёмке их в эксплуатацию и в дальнейшем повторяться периодически, не реже одного раза в год.
Важную роль в продлении срока службы играет преждевременная защита деревянных строительных конструкций и деталей от увлажнения, поражения деревоокрашивающими и дереворазрушающими грибами, поражения насекомыми – вредителями, а также от механических повреждений. Защита от увлажнения может быть обеспечена покраской поверхностей соответствующими влагозащитными лакокрасочными материалами. Их наносят в жидком виде тонким слоем кистью или опрыскивателем на поверхность эксплуатируемой деревянной конструкции или детали. Толщина слоя лакокрасочного покрытия должна составлять 100-250 мкм в зависимости от условий эксплуатации, а также от вида защитного материала. Для борьбы с биовредителями осуществляют газовую дезинфекцию деревянных конструкций и элементов (фумигация) или обработку древесины горячим воздухом. Древесину обрабатывают горячим воздухом, подавая его в закрытое помещение, чаще всего в чердачное помещение. Древесина в течение часа должна быть подогрета так, чтобы внутри её была достигнута температура, при которой наступает гибель соответствующего вида биовредителя. Температурно-влажностный режим имеет решающее значение для долговечности деревянных конструкций, поскольку его нарушение ведет к увлажнению и загниванию или перегреву и ослаблению древесины. Для защиты деревянных конструкций и элементов, эксплуатирующихся в условиях повышенной влажности или если сама древесина имеет высокую влажность, применяют антисептические пасты диффузионного действия, содержащие антисептик (фтористый натрий, бура) и связующие материалы (каменноугольные лаки, экстракты сульфитных щёлоков, латексы, поливинилацетатные эмульсии).
В первые годы эксплуатации конструкций происходит процесс обмятия нагруженных поверхностей соединений, а в конструкциях повышенной влажности, - также усушка, уменьшение размеров элементов.
В результате этого плотность и монолитность соединений могут быть нарушены, болты могут потерять первоначальное натяжение, появляются щели и зазоры между соединяемыми элементами. Ослабевшие болты должны быть обязательно подтянуты и первоначальная плотность восстановлена. Необходимо учитывать, что в большинстве случаев причиной аварийного состояния некоторых деревянных конструкций были неудовлетворительное качество соединений, наличие перегрузки конструкций и их недостаточного горизонтального закрепления, наличие недопустимых прогибов и выхода из плоскости. Перегрузка конструкций, особенно постоянной нагрузкой, значительно снижает надёжность их работы и сроки их нормальной эксплуатации, поскольку длительная прочность древесины значительно ниже кратковременной. При осмотрах конструкций необходимо строго следить, чтобы фактические действующие на конструкции нагрузки не превышали проектных. Таким образом, долговечность конструкций из дерева во многом зависит от преждевременной защиты от различных видов повреждений и правильного ухода за конструкцией.
СПИСОК ЛИТЕРАТУРЫ.
1.СНиП II-25-80 Деревянные конструкции.
2.СНиП II-3-79 Строительная теплотехника.
3.СНиП 2.01.07-85 Нагрузки и воздействия.
4.СНиП II-23-81 Стальные конструкции.
5. Конструкции из дерева и пластмасс: Учеб. для ВУЗов. Под ред. Г.Г. Карлсена и Ю.В.Слицкоухова.- 5-е изд., перераб. и доп. М.: Стройиздат, 1986.-543с., ил.
6. Зубарев Г.Н., Лялин И.М. Конструкции из дерева и пластмасс: Учеб.пособие для студентов ВУЗов.-М.: Высш. школа, 1980.-311 с., ил.
7. Индустриальные деревянные конструкции. Примеры проектирования: Учеб.пособие для ВУЗов / Ю.В.Слицкоухов, И.М. Гуськов, Л.К. Ермоленко и др.; Под ред. Ю.В. Слицкоухова.- М.: Стройиздат, 1991.- 256с.:ил.
8. Методические указания. Методическое пособие по курс.проект.конструкций из дерева. Автор: Борисова И.С. Кострома: изд.КГСХА, 1999 г.-76 с.: ил.