| Похожие рефераты | Скачать .docx |
Реферат: Земляные работы в строительстве
1. Общие положения
Строительство любых зданий и сооружений вызывает необходимость переработки грунтов, включающей в свой состав их разработку, перемещение, укладку и уплотнение. Весь комплекс этих процессов называют земляными работами.
Удельный вес земляных работ в общем объеме строительно-монтажных работ очень велик и составляет около 15% по стоимости и до 20% по трудоемкости. На земляные работы приходится около 10% всех рабочих, занятых в строительстве. Объемы земляных работ постоянно растут и составляют свыше 15 млрд.м в год. Переработка такого количества грунта возможна лишь при условии комплексной механизации и эффективной технологии производства работ.
Одним из важных резервов снижения объемов земляных работ, а следовательно, и стоимости строительства, использование которого полностью зависит от архитектора, является обеспечение привязки зданий и проектирование вертикальной планировки с учетом рельефа местности.
Снижение стоимости и трудоемкости земляных работ следует достигать, используя рациональные проектные решения, обеспечивающие максимальную сбалансированность необходимых выемок и насыпей при минимальных расстояниях перемещения грунта, комплексы машин, что сводит к минимуму объемы работ, выполняемых вручную.
В настоящее время земляные работы в основном выполняют механизированные комплексы, а ручная разработка грунта предусмотрена только в местах, недоступных для машин, так как производительность ручного труда в 20...30 раз ниже механизированного, что существенно влияет на общие затраты труда.
Промышленность выпускает различные высокопроизводительные землеройные, землеройно-транспортные, уплотняющие машины и механизмы.
Выбор комплекта машин и способа производства работ осуществляют на основании технико-экономического анализа различных вариантов.
Важными условиями дальнейшего совершенствования технологии земляных работ являются:
· рациональная организация производства земляных работ по времени года — сокращение объемов работ, выполняемых в зимнее время;
· повышение доли применения высокопроизводительных землеройных машин;
· создание и внедрение в производство комплектов машин для засыпки траншей и котлованов, уплотнения и разработки мерзлых грунтов.
2. Виды земляных сооружений
В промышленном и гражданском строительстве земляные работы приходится выполнять при устройстве котлованов и траншей под фундаменты и подземные коммуникации, при возведении земляного полотна дорог, а также планировке площадок.
Выемки и насыпи, получаемые в результате разработки и перемещения грунта, называют земляными сооружениями. Они имеют следующие названия:
котлован — выемка шириной более 3 м и длиной не менее ширины;
траншея — выемка шириной менее 3 м и длиной, многократно превышающей ширину;
шурф — глубокая выемка с малыми размерами в плане;
насыпь — сооружение из насыпного и уплотненного грунта;
резерв — выемка, из которой берут грунт для возведения насыпи;
кавальер - насыпь, образуемая при отсыпке ненужного грунта, а также создаваемая для его временного хранения.
Земляные сооружения бывают:
· постоянные — насыпи дорог, плотины, дамбы, ирригационные и мелиоративные каналы, водоемы, планировочные площадки жилых кварталов, промышленных комплексов, стадионов, аэродромов и т. д.
· временные — выемки для прокладки подземных коммуникаций и устройства фундаментов, насыпи для временных дорог.
В зависимости от назначения земляных сооружений к ним предъявляют различные требования в отношении крутизны и тщательности отделки откосов, степени уплотнения и фильтрующей способности грунта, его устойчивости к размыванию и других механических свойств.


Рис. 1. Элементы откоса: а - выемки; б – насыпи.
Для обеспечения устойчивости земляных сооружений (насыпей и выемок) их возводят с откосами, крутизну которых характеризует отношение высоты h к заложению l, h/l=1/m, где m — коэффициент откоса (рис.1).
Крутизна откосов определена строительными нормами и правилами (СНиП III-8-76 «Земляные сооружения») для постоянных и временных земляных сооружении в зависимости от их глубины или высоты и вида грунта. Откосы насыпей постоянных сооружений делают более пологими, чем откосы выемок. Более крутые откосы допускают при устройстве временных котлованов и траншей.
3. Классификация грунтов
Грунтами в строительном производстве называют породы, залегающие в верхних слоях земной коры. Составляющими грунтов являются минеральные частицы различной крупности и органические примеси. По характеру структурных связей частиц грунты делятся на два класса:
¾ скальные грунты, где отдельные частицы сцементированы между собой, в результате чего грунт обладает большой прочностью;
¾ нескальные грунты , состоящие из разрушенных горных пород. В зависимости от крупности частиц, их содержания и количества органических примесей нескальные грунты делят на крупнообломочные, песчаные, супесчаные, глинистые, суглинистые, лессовые, илы и торф.
Свойства и количество грунта влияют на устойчивость земляных сооружений, трудоемкость разработки и стоимость работ.
Выбор наиболее эффективного способа разработки или укрепления грунта осуществляют с учетом его основных свойств: плотности, влажности, коэффициента фильтрации, сцепления и разрыхляемости.
Плотность — масса 1 м3 грунта в естественном состоянии (в плотном теле). Плотность песчаных и глинистых грунтов составляет 1,6...2,1 т/м3, а скальных неразрушенных грунтов — до 3,3 т/м3.
Влажность — степень насыщения грунта водой, которую характеризует отношение массы воды в грунте к массе твердых частиц грунта, выраженное в процентах. При влажности до 5% грунты считают сухими, 5...30% — влажными, а более 30% — мокрыми.
Коэффициент фильтрации — показатель способности грунта пропускать (дренировать) воду. Он измеряется количеством воды, пропускаемым в сутки и зависит от состава и плотности грунта. Для песчаного грунта этот коэффициент находится в пределах 0,5...75, глинистого— 0,001...1 м/сут.
Сцепление — показатель начального сопротивления грунта сдвигу. Зависит от вида грунта и его влажности и составляет для песчаных грунтов 3...50 кПа, для глинистых — 5...200 кПа.
Разрыхляемость — показатель способности грунта увеличиваться в объеме за счет уменьшения плотности при его разработке. Этот показатель характеризуется коэффициентом разрыхления. Различают коэффициент первоначального и остаточного разрыхления: Кр и Ко.р.
Коэффициент первоначального разрыхления представляет собой отношение объема разрыхленного грунта к объему грунта в естественном состоянии.
Для песчаных грунтов Кр составляет 1,08. ..1,17, суглинистых— 1,14... 1,28 и глинистых — 1,24...1,3.
Уложенный в насыпь грунт даже под влиянием массы вышележащих слоев или механического уплотнения не достигает того объема, который он занимал до разработки.
Отношение объема уплотненного грунта к объему грунта до его разработки характеризует коэффициент остаточного разрыхления. Для песчаных грунтов он составляет 1,01... 1,025, суглинистых — 1,015...1,05 и глинистых — 1,04...10,9.
Плотность и сцепление грунта в основном влияют на трудность его разработки. Классификация грунтов по трудности разработки приведена в ЕНиР (сборник 2, вып. 1, раздел 1, Техническая часть, табл. 1 и 2) с учетом вида используемых машин. При разработке одноковшовыми экскаваторами грунты по трудности разработки подразделяются на шесть групп, многоковшовыми и скреперами — на две группы, а при ручной — на семь групп.
В процессе производства земляных работ часто возникает необходимость в осушении и закреплении грунта с использованием метода электроосмоса или в температурном воздействии на грунт при его оттаивании и искусственном замораживании. В этих случаях требуется знать электропроводность и теплофизические свойства грунта, которые в основном зависят от степени влажности грунта, но не от его вида.
4. Подготовительные и вспомогательные работы при возведении земляных сооружений
Возведение земляных сооружений требует выполнения подготовительных и вспомогательных работ. К подготовительным работам относятся: подготовка территории, геодезическая разбивка, обеспечение водоотвода и осушение, прокладка дорог.
К вспомогательным работам относятся: устройство временных креплений котлованов и траншей, обеспечение водоотлива или понижения уровня грунтовых вод, искусственное закрепление слабых грунтов.
Разбивка земляных сооружений предусматривает установление и закрепление их положения на местности. Выполняют разбивку по разбивочным чертежам, привязанным к сетке координат данной площадки. Методы разбивки зависят в основном от вида сооружения и способа производства работ. Различают разбивочные работы для отдельных котлованов, земляных сооружений линейного типа (дороги, каналы, плотины и т. п.), сооружений с развитыми по всем направлениям в плане контурам и т. п.
Разбивку котлованов начинают с выноса и закрепления на местности створными знаками основных разбивочных осей, за которые в большинстве случаев принимают главные оси здания: I—I и II—II (рис.2,а). Затем вокруг будущего котлована на расстоянии 2...3 м от его бровки параллельно основным разбивочным осям устанавливают обноску, состоящую из забитых в грунт металлических стоек или вкопанных деревянных столбов и прикрепленных к ним досок на высоте, обеспечивающей свободный проход людей. Доска должна быть толщиной не менее 40 мм, иметь обрезную грань, обращенную кверху, и крепиться не менее чем на трех стойках. В местах пропуска транспорта делают разрывы. На местности со значительным уклоном обноску устраивают уступами. На доски обноски переносят основные разбивочные оси, а от них размечают все остальные оси здания, закрепляя их гвоздями или пропилами и нумеруя. После возведения подземной части здания основные разбивочные оси переносят на его цоколь.

Рис. 2. Схемы разбивки котлованов (а) и траншеи (б): 1 — обноска; 2 — доска; 3 — стойка
Для линейно-протяженных сооружений устраивают только поперечные обноски, располагающиеся на прямых участках через 50 м, а на закругленных — через 20 м. Обноску устраивают также на всех пикетах и точках перелома профиля. Применяют металлические инвентарные обноски (рис.2,6).
Высотную разбивку и вынос отметок выполняют методом геометрического нивелирования от реперов геодезической разбивочной основы, которых должно быть не менее двух.
Правильность разбивки проверяют проложением контрольных полигонометрических теодолитных и нивелирных ходов. Ошибка при этом не должна превышать погрешности разбивки.
Временное крепление стенок выемок. В стесненных условиях и в водонасыщенных грунтах стенки траншей и котлованов приходится делать вертикальными, с установкой временных креплений. Временное крепление выполняют из деревянного или металлического шпунта, деревянных щитов с опорными стойками, щитов с распорными рамами (рис.3).

Рис. 3. Крепление стенок шпунтом (а), щитами с опорными стойками (б), щитами с распорными рамами (в)
1-анкерная связь; 2-оттяжка, 3 опорная стойка; 4-направляющая; 5-шпунтовое ограждение, 6- щиты, 7-стойка распорной рамы, 8 –распорка.
Стенки выемок глубиной более 8 м часто крепят, используя метод «стена в грунте»,
Шпунтовое ограждение применяют при водонасыщенных грунтах вблизи существующих зданий и сооружений. Шпунт погружают до разработки выемки.
В грунтах естественной влажности стенки котлованов и траншей целесообразно крепить деревянными щитами с опорными стойками. Щитовое крепление устраивают в процессе разработки выемки или после, в зависимости от степени подвижности грунта. Наиболее эффективными являются крепления с инвентарными распорными рамами из металлических трубчатых стоек и распорок. Они имеют сравнительно небольшую массу, легко собираются и разбираются. Телескопическая конструкция распорки дает возможность регулировать ее длину, а наличие муфты с винтовой нарезкой позволяет плотно прижимать щиты к стенкам выемки. Распорки со стойками крепят между собой на различной высоте с помощью штырей.
5. Определение объемов земляных работ
Объемы производства разрабатываемого грунта определяют в плотном теле по объему грунта при основных производственных процессах и площади поверхности при подготовительных и вспомогательных процессах (планировка откосов, пропашка поверхности и т. д.). При проектировании земляных сооружений подсчет объема разрабатываемого грунта сводят к определению объемов различных геометрических фигур, ограниченных ровными плоскостями. Наиболее часто приходится определять объемы котлованов и траншей.
Определение объема котлована. Для подсчета объема котлована, представляющего собой призматозоид (рис. 4, а), вначале определяют его размеры следующим образом:
а = А+0,5*2; b =В + 0,5*2;
а1= а + 2Нт; b 1= В + 2Нт,
где а и в - размеры сторон котлована понизу, м;
а1 и b1 - размеры сторон котлована поверху, м;
А и В - размеры фундамента понизу, м; 0,5-рабочий зазор от края фундамента до начала откоса, м;
Н - глубина котлована, вычисленная как разность между средней арифметической отметкой верха котлована по углам (черной — если котлован на планировочной насыпи и красной — на планировочной выемке) и отметкой дна котлована, м;
m— коэффициент откоса, нормируемый СНиП III-8-76.
Объем котлована определяют как
VK = H [(2a + a1) b + (2a1+a) bl] / 6.
Объем обратной засыпки пазух котлована определяют как разность объемов котлована и подземной части сооружения (рис. 4,б).

Рис. 4. Схема для определения объемов котлована (а) и обратной засыпки (б): 1 —объем выемки; 2 —объем обратной засыпки
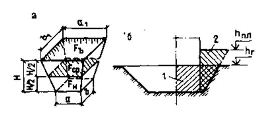
Определение объема траншеи и других линейно-протяженных земляных сооружений. Его определяют с учетом продольного и поперечного профилей сооружения. С этой целью выделяют участки между точками перелома профиля по дну траншеи и ее поверхности.
Для каждого из таких участков объем вычисляют отдельно, после чего их суммируют. Участок рассматривают как трапецеидальный призматоид (рис. 5), приближенный объем которого равен:
V = (F1 +F2) L / 2 (завышенный) или
V = Fср.L (заниженный),
где F1, F2-площади поперечного сечения в начале и в конце рассматриваемого участка, м²;
Fср. — площадь поперечного сечения на середине рассматриваемого участка, м2 ;
L - длина участка, м.
Точное значение объема определяют по формуле Мурзо:
V = Fcp+[m(Н1 + H2)2/12]L,
где H1, H2 - глубина в начале и в конце участка, м.

Рис. 5 Схема для определения объема траншеи
Определение объемов грунтовых масс при вертикальной планировке. На застраиваемой территории, как правило, выполняют планировочные работы, связанные со срезкой выступающих и засыпкой западающих мест. В зависимости от объемов и вида срезаемого грунта, дальности его перемещения, рельефа местности определяют способ планировки. Существует несколько методов определения объемов работ по вертикальной планировке территории. Выбор метода зависит от сложности рельефа и требуемой точности подсчета. Наиболее распространенными являются методы четырехгранных и трехгранных призм.
Сущность этих методов состоит в том, что весь участок на плане с горизонталями делят на элементарные фигуры, по каждой из которых определяют объемы работ, а затем суммируют их.
Метод четырехгранных призм. Предусматривает членение площади участка на прямоугольники или квадраты со сторонами 10...100 м. Чем спокойнее рельеф местности, тем больших размеров принимают стороны прямоугольника. Дальнейший расчет будет проще, если прямоугольники принять одинаковых размеров. Для всех вершин прямоугольников вычисляют черные (местные) отметки hч — путем интерполяции значений соседних горизонталей, красные (проектные); hпр — по заданной планировочной отметке и имеющемуся уклону, рабочие отметки H — как разность между красной и черной отметками. Рабочая отметка со знаком «плюс» показывает высоту насыпи, а со знаком «минус» — глубину выемки. Вычисленные отметки записывают рядом с вершиной по схеме, приведенной на рис. 6.

Рис. 6. Схема разбивки местности при определении объемов планировочных работ методом четырехгранных призм. Цифры в кружках — номера фигур
Между двумя вершинами с рабочими отметками разного знака находят такую точку, в которой рабочая отметка равна нулю. В этой точке не требуется никаких земляных работ. Расстояние от нее до вершин, имеющих соответствующие рабочие отметки Н1 и Н2, находят по правилу пропорциональности сторон подобных треугольников, причем Н1 и H2 входят в формулу как абсолютные величины:
X1=аH1/(H1 + H2),
где X1 — расстояние нулевой точки от вершины, имеющей рабочую отметку H1, м;
a — длина стороны прямоугольника между вершинами с рабочими отметками Н1 и H2, м.
Соединив между собой нулевые точки, получают линию нулевых работ, являющуюся границей между зоной планировочной выемки и планировочной насыпи.
Линия эта рассекает отдельные прямоугольники на другие геометрические фигуры различных размеров. По каждой фигуре, расположенной в той или иной зоне, определяют объем насыпи и выемки, умножая площадь фигур на среднюю рабочую отметку. Средняя рабочая отметка есть сумма рабочих отметок в вершинах рассматриваемой фигуры, деленная на число вершин этой фигуры. Результаты подсчета заносят в ведомость, имеющую следующую форму:
№ фигур |
Выемка (—) | Насыпь(+) | ||||
| F | Hcp | V | F | Hcp | V | |
∑Fв |
∑Vв |
∑Fн |
∑Vн |
|||
Разность между суммой объемов выемки и насыпи называется балансом земляных масс. Она может иметь положительное значение, если объем выемки превышает объем насыпи, и отрицательное, если объем насыпи превышает объем выемки. В первом случае имеет место избыток грунта, который необходимо вывезти, во втором — недостаток, требующий завоза грунта на площадку.
Метод трехгранных призм. Используют при сложном рельефе площадки, непрямоугольном ее очертании и при необходимости более точного подсчета объемов планировочных работ. Этот метод предусматривает дополнительное членение прямоугольников или квадратов диагоналями на треугольники, по которым определяют объемы планировочных работ.
Способ расчета остается таким же, как и при методе четырехгранных призм, но число операций увеличивается вдвое.
В процессе проектирования вертикальной планировки можно добиться равновесия объемов насыпи и выемки грунта на площадке, т. е. обеспечить так называемый «нулевой баланс» земляных масс, что является наиболее рациональным вариантом.
Иногда для получения «нулевого баланса» прибегают к формированию искусственного ландшафта на местности, окружающей застройку, создавая холмы и водоемы.
В другом случае для этого определяют среднюю планировочную отметку поверхности естественного рельефа участка и проектируют необходимые уклоны с сохранением нулевого баланса. При подсчете объемов земляных работ методом четырехгранных призм средняя планировочная отметка равна:
hcp=(∑hч1+∑hч2+∑hч4) / (4n)
где hч1, hч2, hч4 — черные отметки в точках, где находятся соответственно вершины одного, двух и четырех прямоугольников; n — число прямоугольников или квадратов.
При методе трехгранных призм среднюю планировочную отметку определяют какhcp=(∑hч1+2∑hч2+3∑hч3+4∑hч4+5∑hч5+6∑hч6) / (6n)
где hч1, hч2, hч3 и т. д. — черные отметки в точках, где находятся соответственно вершины одного, двух, трех, и т. д. треугольников; n— число треугольников.
Как правило, строительным площадкам придают определенный уклон для отвода атмосферных вод. В зависимости от местных условий уклон может быть односкатным, направленным перпендикулярно одной из осей площадки, двухскатным или направлен под углом к оси площадки. При наличии уклона средняя планировочная отметка будет располагаться на оси, неположенной перпендикулярно направлению заданного уклона.
Проектные отметки в искомых точках определяют по формуле:
hпр= hср±La*i
где i - заданный уклон, выраженный в десятичных дробях; La — расстояния от точки "а", в которой определяют проектную отметку, до оси, имеющей среднюю планировочнyю отметку.
Определив проектные отметки с учетом заданных уклонов, вычисляют рабочие отметки, проводят линии нулевых работ, вычисляют объемы планировки.
Однако данный расчет не обеспечивает «нулевого баланса», так как разработанный в выемке грунт при укладке в насыпь не может быть уплотнен до первоначального объема, следовательно, некоторое его количество останется в избытке. Этот избыток равен объему разработанного в выемке грунта, умноженному на коэффициент его остаточного разрыхления.
Для достижения «нулевого баланса» среднюю планировочную отметку корректируют с учетом остаточного разрыхления разрабатываемого и укладываемого в насыпь грунта. По корректированным отметкам определяют новое положение линии нулевых работ, после чего пересчитывают все объемы.
6. Основные способы разработки грунтов
Грунт при строительстве разрабатывают тремя основными способами: способом резания, гидромеханическим и взрывным способом.
Выбор того или иного способа преимущественно зависит от вида земляного сооружения и его размеров, вида грунта и гидрогеологических условий.
При разработке грунта и устройстве земляных сооружений любым из перечисленных выше способов используют соответствующий комплект машин, работающих в определенной технологической взаимосвязи. Комплект машин должен обеспечивать выполнение всех процессов непрерывным и равномерным потоком в течение всего времени производства работ при максимальной загрузке всех участвующих машин.
Машина, выполняющая основной объем работ, является ведущей. В зависимости от ее производительности определяют число и мощность других входящих в комплект машин.
Выбор машин основан на технико-экономическом расчете, позволяющем определить наиболее эффективное сочетание машин по стоимости и трудозатратам.
Разработка грунта резанием. Разработку грунта резанием осуществляют с использованием землеройных и землеройно-транспортных машин.
Землеройные машины режут грунт и перемещают его на небольшие расстояния с выгрузкой в отвал или на транспортные средства. К этим машинам относят экскаваторы различных типов — одноковшовые (прямая и обратная лопата, драглайн, грейфер), многоковшовые (цепные и роторные) и фрезерные.
Наибольшее применение в строительстве вследствие своей универсальности и хорошей маневренности получили одноковшовые экскаваторы с вместимостью ковша 0,15...2 м3.
В зависимости от ходового устройства экскаваторы разделяют на гусеничные, пневмоколесные, автомобильные и шагающие с гидравлической, пневматической или электрической системой управления.
Они имеют комплект сменного оборудования, включающий прямую и обратную лопату, драглайн и грейфер (рис.7).

Рис. 7. Одноковшовые экскаваторы со сменным рабочим оборудованием: а—прямая лопата; б—обратная лопата; в—драглайн; г—грейфер; д—кран; е—сваебойный копер; ж—струг; з—планировщик откосов; и—рыхлитель грунта.
Кроме того, одноковшовые экскаваторы могут быть оснащены грузовым крюком, сваебойным оборудованием, стругом, приспособлением для планировки откосов и другими специальными устройствами.
Прямая лопата (рис.7,а) представляет собой открытый сверху ковш с режущим передним краем, жестко насаженный на рукоять, которая шарнирно соединена со стрелой. Опорожняют ковш, открывая его днище.
Экскаваторы с прямой лопатой используют при разработке грунта I...III групп, чаще, с погрузкой в транспортные средства, реже при отсыпке в отвал.
Такой экскаватор разрабатывает грунт, находящийся выше уровня его стоянки и поэтому всегда находится внизу котлована.
Обратная лопата (рис. 7,6) -это открытый снизу ковш с режущим передним краем, жестко насаженный на рукоять, которая шарнирно соединена со стрелой. Грунт разгружают, опрокидывая ковш.
Рабочая зона экскаватора с обратной лопатой расположена ниже горизонта стояния, что позволяет разрабатывать переувлажненный грунт. Экскаватор особенно удобен при разработке котлованов небольшой глубины.
Ковш драглайна (рис. 7,в) имеет гибкую канатную подвеску, с помощью которой его крепят к удлиненной стреле кранового типа и забрасывают в выемку на расстояние, несколько превышающее длину стрелы.
К ковшу крепят также тяговый канат, позволяющий осуществлять наполнение и опорожнение ковша.
Драглайном можно разрабатывать грунты, находящиеся под слоем воды. Наибольшей производительности его достигают при работе в отвал, так как гибкая подвеска затрудняет наводку ковша при погрузке в транспортные средства.
Грейфер (рис. 7,г) представляет собой ковш с двумя или более челюстями, смыкающимися с помощью индивидуального канатного или гидравлического привода. Его, как и ковш драглайна, навешивают, используя систему канатов на удлиненную стрелу крана. С помощью грейфера можно разрабатывать выемки с вертикальными стенками. Применяют грейфер при разработке грунтов малой плотности (I и II групп), выемке песка и гравия из-под воды, а также на погрузочно-разгрузочных работах.
Место работы экскаватора называют экскаваторным забоем, параметры которого зависят от марки экскаватора, вида транспорта и принятой схемы разработки грунта.
Высота (глубина) забоя должна обеспечивать заполнение ковша экскаватора за одно черпание. Если высота забоя относительно мала (например, при разработке планировочной выемки), то целесообразно использовать; экскаватор вместе с бульдозером. Последний разрабатывает грунт и перемещает его к рабочему месту экскаватора, обеспечивая для него достаточную высоту забоя.
Применение рациональных приемов работы в правильно назначенном забое позволяет обеспечить наивысшую производительность машин при минимальной себестоимости земляных работ.
Разработка грунта одноковшовыми экскаваторами . Разработку грунта экскаваторами с прямой лопатой ведут лобовой и боковой проходкой. В лобовом забое (рис. 8,а,б,в) экскаватор разрабатывает грунт впереди себя и грузит его на транспортные средства, подаваемые к экскаватору сзади по дну забоя то с одной, то с другой стороны от оси проходки.
В боковом забое (рис. 8,г) экскаватор разрабатывает грунт по одну сторону от оси проходки и грузит его на транспортные средства, подаваемые по другую сторону.
Глубокие выемки разрабатывают в несколько ярусов. За ярус принимается высота забоя данного типа экскаватора.

Рис. 8. Схема разработки котлованов одноковшовыми экскаваторами.
а - лобовая проходка прямой лопаты с односторонней погрузкой грунта в самосвалы;
б - то же, с двухсторонней погрузкой,
в - то же, с зигзагообразным перемещением экскаватора,
г - боковая проходка,
д. - торцовая проходка обратной лопаты или драглайна;
е - то же, при большей ширине котлована,
ж - то же, с зигзагообразным перемещением экскаватора,
з. - боковая проходка,
и — продольно-челночная проходка драглайна
Обратной лопатой экскаватор разрабатывает грунт «на себя» с торцовой или боковой проходкой. При торцовом забое (рис. 8,д,е,ж) экскаватор перемещается по оси отрываемой им траншеи или котлована, попеременно разрабатывая грунт то с одной, то с другой стороны в зависимости от того, куда подходят транспортные средства. Если грунт разрабатывают с одной стороны оси движения экскаватора, то образуется боковой забой (рис. 8,з).
Экскаваторы с обратной лопатой целесообразно применять для отрывки траншей и котлованов глубиной до 6 м.
Экскаватор, оборудованный драглайном, разрабатывает грунт аналогично экскаватору с обратной лопатой. Но более эффективной схемой разработки является челночная, так как ковш драглайна имеет гибкую подвеску. При этой схеме транспортные средства подходят по дну котлована и угол поворота экскаватора при выгрузке грунта будет минимальным (рис. 8,и).
Разработка грунта многоковшовыми экскаваторами. Многоковшовые экскаваторы являются машинами непрерывного действия и отличаются высокой производительностью. Рабочим органом у них являются ковши, насаженные через равные интервалы на замкнутой цепи или колесе (ротор), в зависимости от чего различают экскаваторы цепные и роторные (рис. 9).

Рис. 9. Разработка грунта многоковшовыми экскаваторами а - цепным; б - роторным
По характеру перемещения рабочего органа относительно направления движения экскаваторы бывают продольного и поперечного черпания. Экскаваторы продольного черпания (цепные и роторные) используют для устройства траншей небольших размеров; экскаваторы поперечного черпания — для разработки котлованов и траншей большого сечения, планировки откосов, при работе в карьерах. При устройстве траншей вдоль трассы выполняют планировку поверхности бульдозером на ширину хода многоковшового экскаватора. Экскаваторы непрерывного действия способны разрабатывать грунты I...III групп, не содержащие камней, пней и крупных включений.
Разработка грунта землеройно-транспортными машинами. Землеройно-транспортные машины за один цикл разрабатывают грунт, перемещают его, разгружают в насыпь или кавальер и возвращаются в забой порожняком. Основными землеройно-транспортными машинами являются скреперы, бульдозеры и грейдеры.
Скреперы отличает высокая производительность. Их используют при разработке котлованов и на планировочных работах в грунтах I...IV групп. Плотные грунты перед разработкой скрепером предварительно рыхлят. Толщина разрабатываемого за один проход слоя грунта зависит от мощности скрепера и составляет 120...320 мм.
Рабочим органом скрепера является ковш с ножевым устройством, расположенным в нижней его части, которым при движении осуществляют послойное резание грунта с одновременным перемещением его в ковш. Разгружают ковш с одновременным разравниванием грунта слоем толщиной 220—550 мм также при движении скрепера.
Скреперы бывают прицепными с вместимостью ковша 2,25...10 м3, работающие в сцепе с трактором-тягачом, и самоходными с вместимостью ковша 8 м3 и более. Самоходные скреперы являются более совершенными машинами. Они обладают хорошей маневренностью и высокой скоростью передвижения.
Схема работы скрепера зависит от взаимного расположения выемок и насыпей. Простейшей является схема работы по эллипсу (рис. 10,а). Но в этом случае машина делает поворот только в одну сторону, что приводит к неравномерному износу рабочих частей скрепера. Для устранения этого явления используют схему работы скрепера по «восьмерке» (рис. 10,6).

Рис. 10. Схема разработки грунта скреперами а—проходка по эллипсу; б—то же, по восьмерке; в—сдвоенная проходка по эллипсу при двух насыпях; г—то же, при двух выемках; 1—участок загрузки; 2—груженый скрепер; 3—участок разгрузки; 4—порожний скрепер
Эта схема в два раза уменьшает число полных разворотов скрепера, что повышает его производительность.
При чередовании насыпи и выемки наиболее эффективной схемой работы скрепера является сдвоенная проходка (рис. 6.10.в.г). Дальность транспортировки грунта прицепными скреперами - до 1000 м, самоходными - до 3000 м.
Бульдозерами разрабатывают грунт в неглубоких и протяженных выемках и резервах для перемещения его в насыпь на расстояние до 100 м. Бульдозерами также обваловывают, разравнивают и планируют грунт, зачищают дно котлованов после экскаваторной разработки. Они часто входят в комплект оборудования, обеспечивающего комплексную механизацию земляных работ, разравнивая грунт, доставляемый различными транспортными средствами.
Разработку выемок бульдозером ведут ярусами, равными толщине слоя, снимаемого за один проход. При этом обеспечивают работу бульдозера под уклон.
На планировочных работах грунт разрабатывают преимущественно траншейным или послойным способом.
В первом случае ярусы глубиной 400...500 мм разрабатывают траншеями шириной в отвал бульдозера, оставляя между ними нетронутый грунт полосами 400...600 мм (рис. 11,а). Их срезают бульдозером в последнюю очередь.

Рис. 11. Схема разработки грунта бульдозерами траншейным (а) и послойным (б).
При послойном способе грунт разрабатывают слоями, на толщину снимаемой стружки за один проход бульдозера, последовательно по всей ширине выемки или отдельной ее части (рис. 11,6).
При дальности перемещения грунта более 40 м применяют способ разработки с промежуточным валом, а также спаренную работу двух бульдозеров. Отсыпку грунта в насыпи ведут послойно, начиная с более удаленной точки от места забора.
Грейдерами осуществляют планировку территории, устройство откосов земляных сооружений и протяженных насыпей высотой до 1 м, профилируют дорожное полотно, отрывают кюветы. Плотные грунты перед их разработкой грейдером рыхлят тракторным рыхлителем или плугом. Грейдеры используют при перемещении грунта на небольшие расстояния.
Разработка грунта гидромеханическим способом
Гидромеханическую разработку грунта применяют при возведении гидротехнических сооружений, устройстве больших водоемов, дорожных насыпей и выемок, а также при намыве территорий под застройку в прибрежных зонах водных акваторий и на заболоченных участках в районах нового освоения. Этот способ предусматривает полную механизацию всех процессов разработки, транспортировки и укладки грунта в сооружения, снижая стоимость и трудоемкость работ по сравнению с применением землеройных и землеройно-транспортных машин. Однако эффект получают лишь при больших объемах земляных работ, так как требуется прокладка трубопроводов, устройство эстакад и других сооружений.
Разработка грунта гидромониторами . Основана на разрушении грунта струей воды, вытекающей из насадки под давлением 2,5...15 МПа. Размытый грунт, смешиваясь с водой, образует полужидкую массу, называемую пульпой. Пульпу собирают в специальные углубления — зумпфы, откуда перекачивают грунтовым насосом по трубам к месту укладки.
После отфильтрования воды грунт осаждается, а вода может быть возвращена в водоем или использована повторно. В случае благоприятного рельефа местности пульпу транспортируют самотеком по специальным лоткам.
Плотный грунт размывают гидромонитором преимущественно встречным забоем (рис. 12,а), а рыхлый несвязанный грунт — попутным забоем (рис. 12,6).

Рис. 12. Схема разработки и транспортировки грунта гидромеханическим способом
а — гидромонитором встречным забоем транспортировкой пульпы землесосом; б — то же. попутным забоем; в — плавучий земснарядом; 1 – землесос; кол (зумпф); 3 – гидромонитор; 4- забой; 5 – всасывающая труба; 6 — баржа с насосной установкой; 7- пульпопровод; 8- грунтовое обвалование. 9 – площадка намыва.
Разработка грунта встречным забоем более производительна, однако расположение гидромонитора в мокрой среде затрудняет его эксплуатацию.
Разработка грунта землесосными снарядами. Земснаряд представляет собой самоходное или несамоходное судно, на котором смонтировано оборудование по забору грунта из подводного забоя и его транспортировке к месту укладки. Грунт со дна водоема всасывают через трубу, подвешенную к специальной стреле на земснаряде (рис. 12,в). При разработке плотных грунтов трубу оборудуют специальной вращающейся рыхлительной головкой. Земснаряд с помощью плавучего пульпопровода соединяют с магистральным трубопроводом, проложенным по берегу.
Намыв грунта в сооружении осуществляют слоями по 200...250 мм, разбивая рабочую площадь в плане на отдельные карты — захватки. Перед началом намыва по контуру карты сооружают бульдозером земляной вал на высоту первого слоя пульпы и водосборный (дренажный) колодец, которые перед намывом очередного слоя наращивают.
Грунт намывают эстакадным и безэстакадным способами.
При эстакадном способе магистральный пульпопровод на участке намыва размещают на деревянной эстакаде выше будущей насыпи. При безэстакадном способе его укладывают вдоль оси возводимой насыпи по одну или обе стороны ее основания, в зависимости от ширины насыпи и рельефа местности. На пульпопроводе через каждые 200...300 мм устанавливают специальные патрубки для подачи пульпы в карту намыва.
Эстакадный способ требует значительного расхода древесины на возведение опор, но при этом отпадает необходимость в периодической перекладке выпускных патрубков и их наращивании.
Укладка грунта в насыпь намывным способом обеспечивает его необходимую плотность и, как правило, исключает искусственное уплотнение.
Разработка грунта способом взрыва.
Взрывной способ разработки грунта применяют для рыхления скальных и мерзлых грунтов, а также для устройства выемок под искусственные водоемы и каналы, плотины, селезащитные сооружения. В качестве взрывчатого вещества (ВВ) чаще всего используют аммонит, тол, тротил. Необходимую энергию взрыва получают путем выбора типа ВВ, его размещения в грунте и последовательности взрывания зарядов. Это дает возможность осуществить направленный выброс грунта, обеспечивая его перемещение в нужном направлении и укладку.
Размещение зарядов в грунте может быть накладным и внутренним. При накладном методе заряды располагают на поверхности среды, при внутреннем - в предварительно подготовленных шпурах, скважинах, камерах или щелях.
Метод шпуровых зарядов. Применяют на открытых и подземных разработках при небольших объемах одновременно взрываемого грунта. Шпуры устраивают диаметром 25... 75 мм, а располагают их в один или несколько рядов вдоль забоя. Взрывчатым веществом заполняют не более 2/3 высоты (длины) шпура, а верхнюю часть его забивают песком или буровой мелочью.
Метод скважинных зарядов. Применяют при рыхлении большого массива грунта или для сброса породы. Его отличие от метода шпуровых зарядов состоит в том, что для размещения ВВ устраивают скважины диаметром 200 мм и более. Верхнюю часть скважины также забивают буровой мелочью или песком.
Метод камерных зарядов. Применяют при разработке котлованов и каналов значительных размеров и для производства направленного выброса фунта. Метод заключается в том, что в зоне разрабатываемого грунта устраивают вертикальные колодцы (шурфы) или горизонтальные галереи (штольни), из которых в боковых направлениях отрывают камеры для размещения крупных сосредоточенных зарядов. Колодцы и штольни после размещения в них зарядов, забивают грунтом. Направленность выброса обеспечивают расположением зарядов в два ряда вдоль будущей выемки с увеличением массы ВВ в одном из рядов и их замедленным взрыванием.
Метод щелевых зарядов. Применяют при рыхлении мерзлых грунтов. Для этого с помощью диско-фрезной или буровой машины на расстоянии 0,5...2,5 м друг от друга нарезают парные щели на глубину промерзания грунта. В одну из щелей закладывают заряд ВВ, другую оставляют пустой в качестве компенсирующей. От взрыва грунт, расположенный между зарядной и компенсирующей щелями, дробится и одновременно смещается в сторону компенсирующей щели. На больших площадях щелей нарезают несколько, а заряды закладывают через одну щель. Взрывные работы, и особенно массовые взрывы, выполняют по специальным проектам, определяющим способы взрывания, размещение зарядов, порядок закладки взрывных камер или скважин и очередность взрывов.
7. Искусственное закрепление грунта
Строительство на слабых грунтах требует их закрепления, которое может быть временным или постоянным. К временному закреплению грунтов относят замораживание, а к постоянному — цементацию, битумизацию, полимеризацию, силикатизацию, электрический, электрохимический и некоторые другие способы. Постоянное закрепление грунтов широко используют при реконструкции зданий и сооружений и реставрации памятников архитектуры.
Выбор способа зависит от физико-механических свойств грунта, его состояния и назначения, требуемой степени закрепления.
Замораживание грунта. Применяют при устройствах глубоких выемок в сильно водонасыщенных грунтах (плывунах) для закрепления стенок путем создания льдогрунтовой оболочки. Для этого по периметру котлована погружают в грунт замораживающие колонки из стальных труб. Колонки соединяют трубопроводом, по которому при помощи насоса непрерывно циркулирует охлажденный в холодильной установке до 20...25°С солевой раствор, имеющий очень низкую температуру замерзания. Чаще всего для этой пели используют концентрированные растворы хлористых солей (хлористого кальция — СаС2 и хлористого натрия — NaCl). В результате длительного охлаждения грунт вокруг колонок замерзает, образуя сплошную стену. Под прикрытием мерзлого грунта ведут необходимые работы (рис. 13). Цементация и битумизация. Основаны на инъектировании соответственно цементного раствора или разогретого битума в пористые грунты с высоким коэффициентом фильтрации. Инъекционные трубы погружают в грунт забивкой или в предварительно пробуренные отверстия. Радиус закрепления грунта вокруг инъекционной трубы зависит от его фильтрационной способности и колеблется в пределах 0,3...1,5 ч.
Полимеризация и силикатизация . Относятся к химическому способу закрепления грунтов.
При полимеризации в грунт через инъекторы нагнетают композицию, состоящую из полимерной смолы и отвердителя. Количеством введенного отвердителя регулируют продолжительность отверждения смолы, которая может быть от нескольких минут до нескольких суток. Полимеризация позволяет получать прочность грунта до 25 МПа. Однако высокая стоимость полимерных смол сдерживает широкое внедрение этого метода.

Рис. 13. Схема закрепления грунтов методом замораживания.
1- замораживающая колонка.
2 –наружная труба.
3 - питающая труба.
4-патрубок, подсоединённый к холодильной установке.
5-замороженный грунт.
6-водонепроницаемый грунт.
При силикатизации используют водные -растворы силиката натрия (Na2SiO-}) и хлористого кальция (CaClz). Нагнетают растворы после их предварительного перемешивания в определенном соотношении, либо поочередно, вначале раствор силиката натрия, затем — хлористого кальция.
Растворы вступают в реакцию, что приводит к образованию геля кремниевой кислоты, который обволакивает частицы грунта и, твердея, связывает их в монолит.
Прочность закрепленного силикатизацией грунта зависит от его дренирующих свойств и способа введения растворов (совместного или поочередного) и составляет 0,3...3 МПа.
Электрический способ. Применяют для закрепления влажных глинистых грунтов. Он основан на использовании явления электроосмоса — способности перемещения (миграции) влаги от положительного электрода (анода) к отрицательному (катоду). Для этого через грунт пропускают постоянный ток с напряженностью поля 0,5... I В/см и плотностью 1...5 А/м2. Под действием тока влага мигрирует, влажность грунта уменьшается, грунт самоуплотняется, приобретая большую устойчивость.
Электрохимический способ. Отличается от предыдущего тем, что одновременно с пропуском электрического тока в грунт вводят через инъекционные трубки, являющиеся одновременно катодом, раствор химических добавок (силиката натрия, хлористого кальция, хлорного железа). Благодаря этому интенсивность процесса закрепления грунта возрастает.
8. Водоотлив и водопонижение
Устройство котлованов и траншей в водонасыщенных грунтах ведут с удалением из них поверхностных и грунтовых вод. Для этого используют открытый водоотлив или искусственное водопонижение.
Открытый водоотлив. Применяют в грунтах с коэффициентом фильтрации до I м/сут. Он предусматривает откачку насосами воды, поступающей в траншею или котлован. Для сбора воды дно выемки делают с небольшим уклоном, а в самой пониженной части устраивают приямок-зумпф (рис. 14). При разработке траншей зумпф располагают в специальном отсеке траншеи, называемом «усом».

Рис. 14. Схема открытого водоотлива из котлована: 1—зумпф; 2—центробежный насос
Основным недостатком этого метода является постоянное присутствие в выемке воды, которая усложняет производство работ и снижает устойчивость стенок выемки из-за разжижения грунта.
Искусственное понижение уровня грунтовых вод. Применяют в грунтах с высоким (более 2 м/сут) коэффициентом фильтрации. Сущность метода состоит в непрерывной откачке воды из специальных скважин, располагаемых рядом с выемкой. Для откачки воды используют легкие иглофльтровые установки, эжекторные иглофильтры, глубинные насосы, погружаемые в трубчатые колодцы.
Иглофильтровые установки (рис. 15,а,б) включают в себя комплект иглофильтров, водосборный коллектор и центробежный насос. Иглофильтр представляет собой трубу, к нижней части которой присоединено фильтровое звено, состоящее из наружной перфорированнойи внутренней глухой труб. Внизу иглофильтра имеются кольцевой и шаровой клапаны, обеспечивающие погружение в грунт гидравлическим способом без дополнительных устройств путем нагнетания воды по внутренней трубе. Вода, выходя из наконечника, размывает грунт вокруг фильтра и он погружается под собственным весом. На поверхности земли иглофильтры с помощью водосборного коллектора подключают к центробежному насосу.

Рис. 15. Схема искусственного водопонижения: а—иглофильтровой установкой; б—эжекторной установкой; в—схема работы клапанов иглофильтрового звена; г—схема действия эжекторного иглофильтра; 1—центробежный насос; 2—коллектор; 3—иглофильтры; 4—фильтрационная сетка; 5—наружная труба; 6—внутренняя труба; 7—кольцевой клапан; 8—шаровой клапан; 9—ограничитель; 10—низконапорный насос; 11—эжекторная насадка; 12—фильтровое звено.
Располагают иглофильтры по периметру котлована или вдоль траншеи. Если требуется понизить уровень грунтовых вод более чем на 5 м, иглофильтры располагают ярусами.
Эжекторные иглофильтровые установки (рис. 15,в,г) применяют для понижения уровня грунтовых вод на глубину до 20 м в грунте с коэффициентом фильтрации более 3 м/сут, располагая их одним ярусом.
Эжекторный иглофильтр состоит из надфильтрового н фильтрового звеньев. Фильтровое звено устроено по принципу легкого иглофильтра, но без клапанов в нижней его части. Надфильтровое звено состоит из наружной и внутренней трубы с эжекторной насадкой.
При работе установки в кольцевое пространство между наружной и внутренней трубами подают под давлением 750...800 кПа рабочую воду, которая через отверстия в эжекторе устремляется вверх по внутренней трубе. В результате резкого изменения скорости движения рабочей воды в насадке создается разрежение, обеспечивающее подсос грунтовой воды из внутренней трубы фильтрового звена. Грунтовая вода, смешиваясь с рабочей, поступает в циркуляционный бак, откуда ее при избытке откачивают насосом или удаляют самотеком.
Эжекторные иглофльтры погружают в грунт раздельно. Вначале гидравлическим способом погружают колонну наружных труб с иглофильтром на требуемую глубину, а затем в нее опускают колонну внутренних труб с эжекторной насадкой.
Глубинные насосы в трубчатых колодцах применяют для понижения уровня грунтовых вод на глубину более 20 ч Колодец представляет собой погруженную в грунт трубу диаметром 200...400 мм, оборудованную фильтрами. В колодец ниже уровня грунтовых вод опускают глубинный насос, с помощью которого откачивают воду. Устраивают колодцы по периметру будущей выемки.
9. Транспортировка и уплотнение грунта
Разработанный экскаваторами грунт перемещают в насыпи или резервы при помощи самосвалов, тракторов с прицепами, железнодорожных составов, ленточных конвейеров, а иногда гидравлического транспорта по трубопроводам Земляные сооружения должны быть устойчивыми, надежными и прочными на всем протяжении эксплуатации. Это обеспечивают равномерным послойным распределением и уплотнением грунта. Чаще толщину слоя принимают 150... 800 мм в зависимости от вида грунта, степени его уплотнения и массы уплотняющих машин.
Степень уплотнения грунта определяют проектом, и она должна быть не ниже нормативной. Требуемую плотность с минимальными трудозатратами достигают при использовании грунта определенной влажности, называемой оптимальной. Ее определяют с учетом вида грунта и уплотняющих машин.
Оптимальную влажность грунтов в необходимых случаях получают увлажнением сухих или подсушиванием излишне влажных грунтов. Уплотнение грунтов неоптимальной влажности требует снижения толщины уплотняющего слоя и увеличения уплотняющего воздействия. Для уплотнения грунта используют катки прицепные и полуприцепные на пневматических шинах, кулачковые, решетчатые, вибрационные, виброударные, самоходные на пневмошинах и с гладкими вальцами массой 3...40 т, трамбующие плиты — 3..-15 т и виброуплотняющие плиты — 0,12...0,75 т Трамбующими плитами 5...10 т уплотняют также просадочные грунты оснований фундаментов зданий и сооружений.
Кулачковые катки используют только при уплотнении связных грунтов; с гладкими вальцами и вибрационные— несвязных и мало связных грунтов.
Требуемую плотность грунта достигают за 4... 12 проходов катка по одному следу, в зависимости от вида грунта и массы катка. Связные грунты требуют большего уплотнения, чем песчаные. Верхний слой грунта, уплотняемый трамбующими плитами, разуплотняется. Поэтому в основаниях зданий и сооружений его доуплотняют легкими ударами трамбовок или другими более легкими уплотняющими машинами.
Грунт обратной засыпки траншей и котлованов уплотняют электрическими, пневматическими виброуплотняющими плитами или малогабаритными самоходными катками.
Уплотнение грунта начинают сразу после его укладки и разравнивания и ведут с обязательным перекрытием на 20...30 см предыдущего следа уплотнения. Укладку грунта при дожде не ведут.
10. Выполнение земляных работ в зимнее время
земляной работа грунт строительство
По мере замерзания механическая прочность грунта резко возрастает, что приводит к увеличению затрат машинного времени и труда на его разработку, а следовательно и к удорожанию стоимости работ. В связи с этим при необходимости проведения земляных работ в зимнее время принимают меры по предохранению грунта от промерзания, а разрабатывают его только после оттаивания или рыхления.
Предохранение грунта от промерзания. Обеспечивают, создавая на его поверхности термоизоляционный слой; разрыхляя верхний грунтовый слой; укрывая грунт различными теплоизоляционными материалами.
Рыхлят грунт до его замерзания вспахиванием и боронованием, предварительно обеспечив отвод поверхностных вод. Обработанный таким образом верхний слой грунта приобретает рыхлую структуру с замкнутыми пустотами, заполненными воздухом, и обладает достаточными термоизоляционными свойствами. Вспашку ведут тракторными плугами на глубину 200...350 мм с последующим боронованием на глубину 150...200 мм. Искусственное увеличение снежного покрова сгребанием снега бульдозерами, автогрейдерами или путем снегозадержания с помощью щитов позволяет повысить термоизоляционный эффект. Механическое рыхление грунта чаще всего используют для утепления значительных по площади участков.
Защита поверхности грунта термоизоляционными материалами эффективна на небольших по площади участках и при наличии местных дешевых материалов, древесной листвы, опилок и стружки, моха, торфа, соломы, шлака. Термоизоляционные материалы укладывают слоем 200... 400 мм непосредственно по грунту
![]()
Рис. 16. Схема оттаивания мерзлого грунта: а—огневым способом; б—электропрогревом с использованием горизонтальных электродов; в—то же, с использованиев вертикальных электродов; г—паронагревом; 1—секция короба; 2—утеплитель; 3—вытяжная труба; 4—оттаявший грунт; 5—трехфазная электрическая сеть; 6—горизонтальные полосовые электроды; 7—слой опилок; 8—слой толя или рубероида; 9—стержневой электрод; 10—порапровод; 11—паровая игла; 12—пробуренная скважина; 13—колпак.
Оттаивание мерзлого грунта. Является наиболее дорогим и трудоемким способом, поэтому его применяют при небольших объемах работ.
Наибольшее распространение в строительной практике нашли следующие способы оттаивания мерзлого грунта: огневой, электропрогрев, паропрогрев и водопрогрев (рис. 16).
Огневой способ основан на сжигании различного топлива на поверхности грунта под прикрытием металлического короба с вытяжной трубой {рис. 6.16.а). Для уменьшения теплопотерь короб укрывают шлаком или талым грунтом. Полосу оттаявшего грунта засыпают опилками, и нижележащий слой оттаивает за счет аккумулированного верхним слоем тепла.
Электропрогрев грунта ведут с помощью электродов, располагаемых на поверхности или погружаемых вертикально в мерзлый грунт.
При использовании горизонтальных электродов поверхность грунта засыпают слоем опилок толщиной 150...200 мм (рис. 6.16.6). Опилки смачивают водным солевым раствором концентрации 0,2...0,5% для увеличения электропроводимости в начальный период оттаивания, так как мерзлый грунт не является проводником. После того, как грунт верхнего слоя, оттает, он сам становится проводником, а слой опилок выполняет рать термозащитного слоя. Поверхностный электропрогрев применяют при глубине промерзания грунта до 0,7 м.
При большей глубине промерзания используют вертикальные электроды. Оттаивание ведут сверху вниз или снизу вверх (рис. 16,в).
При оттаивании сверху вниз электроды в виде штырей забивают в грунт в шахматном порядке на глубину 200...250 мм и засыпают опилками, пропитанными концентрированным солевым раствором. По мере оттаивания верхних слоев электроды периодически погружают все глубже. Расход энергии при этом способе несколько ниже, чем при горизонтальном расположении электродов.
Прогрев снизу вверх требует погружения электродов на 150.-.200 мм ниже глубины промерзания грунта, для чего в грунте предварительно бурят скважины. Поверхность оттаиваемого грунта опилками не укрывают. Расход энергии при отогреве грунта снизу вверх значительно снижается, по сравнению с отогревом сверху вниз.
Паропрогрев грунта осуществляют с использованием паровых игл, устанавливаемых в предварительно пробуренные скважины на глубину 0,7 глубины оттаивания (рис. 16,г).
Паровая игла представляет собой трубу длиной 1,5...2 м, диаметром 25.,.50 мм. На нижней части трубы насажен наконечник с отверстиями 2...3 мм для выхода пара. Иглы по верху соединены паропроводом. Для наиболее эффективного использования пара и сокращения его потерь скважины сверху накрывают защитными колпаками, имеющими отверстия для пропуска паровой иглы. После установки аккумулирующих колпаков прогреваемую поверхность покрывают слоем опилок или другим термоизоляционным материалом. Располагают иглы в шахматном порядке на расстоянии 1...1.5 м друг от друга.
Водопрогрев грунта ведут с применением водяных циркуляционных игл, установка которых аналогична паровым иглам. Теплоносителем здесь является вода, нагретая до 50...60 °С, которая циркулирует по замкнутому контуру «котел — разводящие трубы — водяные иглы — обратные трубы — котел». Такая схема обеспечивает наиболее полное использование тепловой энергии.
Водяная игла состоит из внутренней и наружной труб. Наружная труба имеет заостренный глухой нижний конец, а внутренняя — открытый. Во внутреннюю трубу подают горячую воду, которая через нижнее отверстие поступает в наружную трубу, поднимается вверх к выходному патрубку и по соединительной трубе поступает к следующей игле или в обратный трубопровод. Иглы располагают в шахматном порядке на расстоянии 0,75...1,25 м друг от друга
Предварительное рыхление мерзлых грунтов. Осуществляют механическим и взрывным способами.
Механическое рыхление применяют при небольших объемах работ и сравнительно малых глубинах промерзания (до 1,3 м). Для рыхления используют клин-молоты, дизель-молоты и тракторные рыхлители, многоковшовые экскаваторы, оборудованные цепями-борами (рис. 17).

Рис. 17. Схема рыхления грунтов: а—клин-молотом; б—дизель-молотом; в—многоковшовым экскаватором, оборудованным режущими цепями-барами; 1—клин-молот; 2—экскаватор; 3—направляющая штанга; 4—дизель-молот; 5—режущие цепи (бары); 6—многоковшовый экскаватор; 7—щели в мерзлом грунте
Клин-молот подвешивают к стреле крана, а дизель-молот является навесным оборудованием к крану, тракторопогрузчику и трактору.
Тракторные рыхлители монтируют на базе гусеничных тракторов с мощностью двигателя более 110 кВт или используют для них навесное оборудование Рабочий орган рыхлителя представляет собой гребенку с зубьями, число которых составляет 1...5.
Мерзлые грунты можно разрабатывать с предварительной нарезкой на блоки. При этом методе в массиве мерзлого грунта с помощью баровых, дискофрезерных и других машин устраивают взаимно перпендикулярные прорези на глубину 0,8 глубины промерзания Полученные блоки вынимают ковшом экскаватора или отодвигают бульдозером.
Рыхление мерзлого грунта взрывом применяют при больших объемах работ и значительной глубине промерзания. Этот метод отличает экономичность, особенно тогда, когда кроме рыхления требуется перемещение грунта в отвал. Методика выполнения взрывных работ описана ранее.
11. Техника безопасности
Земляные работы разрешается выполнять при наличии утвержденного и согласованного в установленном порядке ППР. До начала работ должно быть определено точное расположение действующих подземных коммуникаций с установкой специальных знаков Разработку грунта вблизи подземных коммуникаций можно выполнять только после получения письменного разрешения и в присутствии представителя организации, ответственной за их эксплуатацию. Около электрокабелей разрабатывать грунт с применением ударных инструментов запрещено. В случае обнаружения подземных сооружений, не указанных в проекте, а также при выделении вредных газов, земляные работы должны быть прекращены до получения дополнительных указаний. На бровки выемок не должны действовать никакие нагрузки. Вертикальные стенки траншей и котлованов закрепляют по достижении допустимой для данного грунта глубины.
Выемки необходимо разрабатывать с откосами в соответствии со СНиП, а грунт при этом можно отсыпать не ближе 0,5 м к бровке котлована или траншеи. Образующиеся при разработке выемок козырьки следует обрушить, приняв все меры предосторожности и удалив предварительно людей из забоя.
В ночное время помимо обязательного освещения рабочей площадки должны иметь индивидуальное освещение землеройные, землеройно-транспортные и транспортные машины.
Стоянку и пути передвижения машин и механизмов, занятых на земляных работах, выносят за пределы призмы обрушения грунта. Поверхность путей перемещения экскаваторов должна быть спланирована.
Одноковшовые экскаваторы перемещают с опущенным до уровня земли ковшом и развернутой стрелой. Запрещено перемещать бульдозером грунт на подъем более 10° и под уклон более 30°, а также выдвигать отвал при сталкивании грунта за бровку откоса выемки.
При рыхлении грунта ударным способом определяют границу опасной зоны разлета кусков грунта и устанавливают защитные приспособления. Места электропрогрева мерзлого грунта ограждают, и проведение каких-либо работ на этом участке разрешают после отключения тока.
Территорию гидромеханической разработки грунта ограждают с установкой предупредительных знаков. Насосная станция и гидромониторы в забое должны иметь телефонную связь и аварийную сигнализацию.
Похожие рефераты:
Проект вскрытия и разработки Кадали-Макитской террасы
Восстановление гидросистемы "Польского сада" усадьбы Г.Р. Державина
Водоотведение поселка Песочное с доочисткой сточных вод
Строительство автомобильной дороги
Технология строительного производства
Технология и организация земляных работ
Строительство автомобильных дорог
Разработка проекта производства работ (ППР) на возведение здания
Прогнозирование последствий чрезвычайных ситуаций на гидротехнических сооружениях Павловской ГЭС