| Похожие рефераты | Скачать .docx |
Курсовая работа: Основы проектирования и оборудования цехов
Федеральное агентство по образованию
ГОУ ВПО Сибирский государственный индустриальный университет
Кафедра электрометаллургии, стандартизации и сертификации
Расчетно-пояснительная записка к курсовому проекту
по дисциплине: Основы проектирования и оборудование цехов
Вторая половина XX в., уже с первых лет, ознаменовалась коренным изменением структуры и технологии сталеплавильного производства, существовавших в течение всей первой половины этого столетия.
Успешному развитию производства стали в дуговых печах, способствовали коренные изменения мощности печного трансформатора, конструкций дуговых печей и технологии плавки, которые произошли в начале 60-х годов и затем быстро распространились [1].
В развитии объемно-планировочных решений ЭСПЦ в нашей стране можно выделить три периода. Первый – это период с появлением дуговых печей до конца 60-х годов. В этот период ДСП использовали исключительно для выплавки легированных и специальных сталей. Второй период охватывает годы с конца 60-х до начала 80-х. Этот период характеризуется повышением мощности печных трансформаторов, развитием систем грузопотоков, появлением первых примитивных установок внепечной обработки стали и повсеместным внедрением МНЛЗ. Начало третьему периоду развития объемно-планировочных решений ЭСПЦ в нашей стране было положено в 1984 году пуском ЭСПЦ на Молдавском и Белорусском металлургических заводах. Особенностью этих цехов является то, что в них располагаются высокопроизводительные комплексы с размещенными в укрытии мощными ДСП, установками внепечной обработки стали, развитой системой грузопотоков.
Объемно-планировочные решения цехов первого периода мало соответствуют требованиям технологических процессов. В этих цехах практически невозможно внедрение внепечных способов обработки стали и затруднено внедрение мероприятий, направленных на улучшение условий труда и экологической ситуации. В некоторых цехах к печному пролету примыкают шихтовый и разливочный пролеты. ДСП располагаются на границе с печным и разливочным пролетами, и сталь выпускают в сталеразливочный ковш, транспортируемый краном.
В цехах, которые появились во второй период развития, увеличены ширина и высота пролетов по сравнению с первыми ЭСПЦ с большегрузными ДСП, а число пролетов достигает шести. Характерной особенностью является наличие бункерной эстакады для подачи сыпучих материалов, которая располагается в печном пролете, между печным и шихтовым или печным и разливочным пролетами. Разливка стали производится как на МНЛЗ, так и в изложницы. Сталь из печи выпускают в ковш, установленный на сталевозе.
В третий период развития цехов характерным является наличие бункерной эстакады, обеспечивающей подачу сыпучих материалов непосредственно в печь или ковш. Печи располагаются в шумо-пылезащитной камере. В целом для этих цехов характерно более широкое применение спецавтотранспорта, средств внепечной обработки и АСУ ТП [2].
1.1 Конструкция здания электросталеплавильного цеха
Здание электросталеплавильного цеха представляет собой каркасный тип зданий. Конструктивные элементы здания (несущие элементы) образуют каркас – пространственную жесткую систему (рисунок 1). Каркас воспринимает внешние воздействия на здание (ветер, снег), внутренние эксплуатационные нагрузки, собственную массу элементов здания и давления грунта на подземные части здания.

Рисунок 1 – Элементы стального каркаса
1- колонны; 2 – подкрановые балки; 3 – вертикальные связи между опорами ферм; 4 – стропильные фермы; 5 – вертикальные связи в коньке ферм; 6 – растяжки; 7 – прогоны; 8 – вертикальные крестовые связи между колоннами; 9 – горизонтальные крестовые связи в уровне нижнего пояса ферм.
К несущим элементам относятся фундаменты, колонны, стропильные и подкрановые фермы, подкрановые балки.
Каркас состоит из поперечных плоских, взаимно связанных между собой рам. Каждая рама представляет собой сочетание двух вертикальных элементов (колонны) и соединяющей их горизонтальной детали (ригель) в виде балки или фермы (стропильная ферма).
Рамы связаны между собой связями. По расположению существуют горизонтальные и вертикальные связи.
Роль горизонтальных связей выполняют и прогоны, укладываемые на верхний пояс стропильных ферм, плиты покрытия.
1.2 Элементы конструкции здания
1.2.1 Фундамент, фундаментные балки
Устраиваются свайные фундаменты. Свайные фундаменты очень удобны и экономичны: сокращается объем земляных работ, уменьшаются сроки и трудоемкость строительства, конструкции свайных фундаментов не зависят от глубины заложения смежных с колоннами фундаментов под тяжелое оборудование.
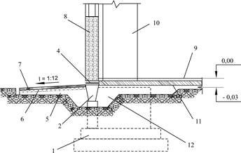
Для опирания самонесущих и навесных стен по периметру здания по обрезам фундамента укладывают фундаментные балки, изготавливаемые из железобетона. Фундаментную балку укладывают так, чтобы ее верхняя грань была выше уровня грунта, но ниже чистого пола помещения на 30 мм – отметка - 0,03 м (рисунок 2).

Рисунок 2 – Детали фундамента наружного ряда колонн
1 – фундамент; 2 – фундаментная балка; 3 – опорный столбик; 4 – гидроизоляция; 5 – песок; 5 – щебеночная подготовка; 7 – асфальт; 8 – стеновая панель; 9 – чистый пол; 10 – колонна; 11 – подстилающий слой; 12 – шлак.
Такое расположение балки позволяет, во-первых, избежать касания грунта стенами и таким образом предотвратить их увлажнение и, во-вторых, устраивать двери и ворота без порогов. Верх фундаментной балки расположен выше уровня земли, это способствует образованию зимой «мостика холода», в результате чего нижняя часть стен и прилегающая к фундаментной балке зона чистого пола может покрываться инеем и даже льдом. Для смягчения влияния «мостика холода» и для предотвращения выпирания стен при пучении грунта под фундаментной балкой вырывают траншею глубиной около 70 см и заполняют ее сыпучим теплоизолятором (шлаком).
1.2.2 Колонны
Колонны – основной элемент несущего каркаса. Они опираются на фундаменты и, в свою очередь, являются опорами для несущих конструкций покрытия. Колонны располагают строго по разбивочным осям.
В колоннах различают верхнюю часть – надколонник, на который опираются несущие конструкции покрытия; основной стержень, по которому передаются нагрузки от покрытия и кранов; нижняя часть – башмак, передающий нагрузку колонны на фундамент.
Для здания высотой более 9,6 м чаще сооружают двухветьевые колонны. Такие колонны делают двух типов. В колонах первого типа ветви работают совместно, воспринимая крановую нагрузку и нагрузку кровли. Между собой ветви связаны двухплоскостной решеткой из прокатных уголков. Надколонники – сплошные и имеют проемы для прохода обслуживающего персонала.
Нагрузку колонн на фундаменты передают через башмаки, привариваемые к нижней части колонн. Башмаки крепятся к фундаментам анкерными болтами. Располагают башмаки на 500-600 мм ниже пола. Во избежание коррозии колонн их подпольные части вместе с башмаками покрывают слоем бетона.
1.2.3 Стропильные и подстропильные фермы
Стропильные фермы несут покрытие здания. Существует несколько конструкций ферм: с параллельными поясами, треугольные, полигональные с прямым или ломаным нижним этажом. Все элементы ферм изготавливают из стальных уголков, широкополочных тавров, соединенных в узлах электросваркой или высокопрочными болтами.
Подстропильные фермы служат опорой стропильных ферм в средних (межпролетных) рядах колонн. Таким образом, стропильная ферма с одной стороны опирается на колонну, с другой стороны – подстропильную ферму.
1.2.4 Подкрановые балки
Подкрановые балки с уложенными на них рельсами образуют пути движения мостовых кранов. Устанавливают стальные балки. Крепление рельсов к верхнему поясу производится либо сваркой, либо болтами с прижимными лапками.
Наружные стены совместно с покрытиями защищают пространство здания от внешних воздействий. Стены устраивают из стальных волнистых и ребристых листов (легкие стены). Листы навешивают на ригели фахверка и закрепляют крюками с нагрузкой для болтов. Листы устанавливают в нахлестку в горизонтальном направлении на ширину одной волны, а в вертикальном направлении – на 100 мм. Места примыкания к оконным проемам, углы стен и деформационные швы обрамляются листами специального профиля.
Покрытия служат для ограждения внутренних помещений здания от атмосферных осадков и внешних температурных воздействий. Покрытие выполняется в виде настила из стальных листов. Листы крепятся к прогонам металлическими клямерами или болтами с крюками на концах, проходящими через отверстия в гребнях листов. Для повышения стойкости стальные листы покрывают синтетическим лаком.
Ворота служат для проезда напольного транспорта – авто- и электрокаров, автомашин и подвижного состава железнодорожного транспорта. Полотна ворот выполняются цельнометаллическими в виде сварной рамы – переплета из прокатных стальных профилей с прикрепленной точечной сваркой с наружной стороны обшивкой из листовой стали. В настоящее время при высокопроизводительной работы цеха целесообразно применение раздвижных ворот [3].
1.3 Схема снабжения цеха стальным ломом
Подготовку лома и загрузку бадей осуществляют в отдельно стоящем отделении подготовки лома. Загрузка бадей осуществляется малыми порциями магнитами и грейферами. В отделении ведется прием и переработка лома (сортировка, пакетирование, ножничная и газовая резка). Магнитно-грейферными кранами лом загружают в бадьи объемом 80 м3. Бадьи устанавливаются на специальных стендах с тензометрическим весовым устройством. Загруженные бадьи скраповозов транспортируются в печной пролет.
1.4 Обеспечение цеха сыпучими и ферросплавами
Бункерный пролет расположен между печным и раздаточным. Подача сыпучих в печь, в ковш на выпуске и на установку печь-ковш производится через основной тракт снабжения цеха сыпучими – через бункерный пролет.
На рисунке 3 показано устройство бункерного пролета. Расходные бункеры (4) загружаются с помощью ленточного конвейера (2) и автоматической разгрузочной тележки (3). После подачи команды на заполнение расходных бункеров разгрузочная тележка перемещается и останавливается над нужным бункером. Включается наклонный конвейер (1), связывающий склад и бункерный пролет, одновременно на складе включается вибропитатель бункера с нужным материалом и ленточные весы. После выдачи заданного количества материала от ленточных весов поступает сигнал на отключение вибропитателя. Конвейеры (1) и (2) останавливаются после сброса последних порций материала с ленты по сигналу датчика о наличии материала на ленте. Под каждым расходным бункером установлен вибропитатель (5) и бункерные весы (6). Под весами расположен ленточный конвейер (7), который подает материал в распределительное устройство, выполненное в виде трехсекционной воронки, над которой установлена поворотная течка (8) с механическим приводом. Управление осуществляется с пульта управления печью. Оператор задает количество компонентов, адрес подачи (в печь, в ковш на выпуске, в ковш-печь) и подает команду на отработку программы [4].

Рисунок 3 – Организация подачи сыпучих и ферросплавов
1,2,7 – конвейеры ленточные; 3 – тележка разгрузочная; 4 – бункер расходный; 5 – питатель электровибрационный; 6 – весы бункерные; 8 – течка поворотная; 9 – дуговая печь; 10 ковш на выпуске; 11 – ковш-печь.
В печном пролете располагаются две дуговые сталеплавильные печи вместимостью 100 т, оснащенные трансформатором мощностью 80 МВА. Обслуживание печи осуществляется с рабочей площадки, которая возвышается относительно нулевой отметки уровня цеха на 8500 мм. Сталь выпускают в сталеразливочный ковш через отверстие в подине эркерной части печи. Сталеразливочный ковш размещается на самоходном сталевозе, оборудованном взвешивающим устройством. Электропечь оборудована стеновыми газокислородными горелками и кислородной фурмой, а также оконной фурмой-горелкой. Печь размещена в шумо-пылезащитной камере, оснащенной раздвижными створками для подачи завалочной бадьи с шихтой, воротами для въезда сталевоза и автошлаковоза, а также калитками для входа внутрь камеры обслуживающего персонала.
Газы при работе печи отсасываются через сводовый патрубок непосредственно из рабочего пространства, от шумо-пылезащитной камеры и от подкрышного зонта. Все тракты газоудаления соединяются в один общий, и газы поступают на газоочистку, оснащенную матерчатыми фильтрами.
Под рабочей площадкой размещаются склады огнеупоров, ремонтные мастерские, тракты подвода и отвода воды, тракты подвода газообразного кислорода, природного газа.
Функциональное значение оборудования печного пролета подчиняется выполнению следующих задач: доставка и загрузка в печь металлошихты; организация заправки печи огнеупорными материалами; доставка в печной пролет электродов и организация их наращивания по мере расхода; организация слива жидкого металла в сталеразливочный ковш; организация капитальных, холодных и горячих ремонтов печи.
1.5.1 Доставка и загрузка металлошихты из ОПЛ
Осуществляется в саморазгружающихся бадьях (с шихтой), которые на скраповозах передаются из ОПЛ в печной пролет. В печном пролете саморазгружающиеся бадьи поднимаются завалочным мостовым краном на рабочую площадку и устанавливаются на постамент в непосредственной близости от печи. Завалку производят в два приема, в середине расплавления проводят подвалку шихты. В цехе используются грейферные бадьи (рисунок 4). После загрузки шихты завалочный кран устанавливает бадью на автобадьевоз, который доставляет ее в ОПЛ.

Рисунок 4 – Завалочная саморазгружающаяся грейферная бадья
1 – челюсть; 2 – корпус бадьи; 3 – траверса; 4 – цепь; 5 – цапфа.
Осуществляется после предварительной очистки откосов и подины от оставшегося шлака порошкообразными огнеупорными материалами (магнезитом). Центробежная заправочная машина показанная на рисунке 5, работает по принципу разброса магнезитового порошка с вращающегося диска, который приводится в движение пневматическим двигателем. В верхней части машины имеется траверса, жестко скрепленная со скобой, которая навешивается на крюк мостового крана печного пролета для подачи машины в рабочее пространство печи при отвернутом своде.

Рисунок 5 – Схема заправочной машины центробежного типа:
1 – пневматический двигатель; 2 – скоба; 3 – шланг для подачи сжатого воздуха; 4 – штанга; 5 – конусообразный бункер; 6 – магнезит; 7 – манжет; 8 – вращающийся диск.
1.5.3 Подача к печи электродов и их наращивание
Производится с помощью вспомогательного крюка крана. Операция наращивания электродов осуществляется на специальном станке, который располагается рядом с печью (рисунок 6).

Рисунок 6 – Устройство для наращивания электродов.
Станок состоит из стакана 3, закрепленного на каретке 2, которая перемещается по направляющим стойкам 15, механизма зажима 13, основной свечи 14, траверсы 7, служащей для поддержки новой наращиваемой секции электрода 9 с гидроцилиндром 6 для перемещения. Новую секцию электрода наращивают с помощью механизма зажима 11 и механизма его вращения 4 с приводной шестерней 5. Зажим основной электродной свечи и перемещение траверсы с наращиваемым электродом обеспечиваются гидросистемой. Привод 16 вертикального перемещения каретки 2 основной электродной свечи 14 и механизма вращения 4 наращиваемого ствола 9 электромеханический. Зажим наращиваемого ствола осуществляется вручную. Работа устройства происходит следующим образом. Снятая с печи электродная свеча, в которую ввертывается металлический ниппель, устанавливается в запасной стакан 1 для охлаждения. После охлаждения свечи мостовым краном переносят в подвесной стакан 3, который находится в поднятом положении, и зажимают тремя кулачками при помощи гидроцилиндра 13. Сверху на основную свечу навинчивается ниппель 8. Новую наращиваемую секцию электрода зажимают в верхнем кольце 10, которое свободно установлено на роликах 12, закрепленных шарнирно в траверсе 7. Второй конец траверсы соединен с гидроцилиндром 6. При подъеме гидроцилиндра кольцо 11 с наращиваемой новой секцией электрода опускается до соприкосновения ниппеля с гнездом на старом укороченном стволе электрода. После этого включают механизм вращения 4 и навинчивают новую секцию электрода на основную свечу. После окончания наращивания новой секции электрода удлиненный ствол (свеча) переносится мостовым краном в запасной стакан 17, откуда по мере необходимости устанавливается на печь.
1.5.4 Скачивание и уборка шлака
Осуществляется через рабочее окно печи. Шлак самотеком удаляется из печи в чугунную шлаковую чашу, установленную под печью. Объем шлаковой чаши составляет 11 м3, и она рассчитана на прием шлака от одной-двух плавок. После наполнения шлаковой чаши шлаком забирается автошлаковозом и увозится в шлаковое отделение где кантуется. Порожняя шлаковая чаша устанавливается на постамент под печью.
1.5.5 Организация ремонтов печей
Связана с проведением большого объема работ по замене отдельных элементов кладки ДСП, ремонту и профилактике электрического и механического оборудования печи.
В торце пролета располагаются: участок ломки и кладки подины печи, места для хранения кожуха печи, свода, а также стеллажи для водоохлаждаемых панелей.
1.6 Пролет внепечной обработки
В пролете внепечной обработки стали имеются два агрегата «печь-ковш», оснащенные трансформатором мощностью 22 МВА, и три установки для ковшевого вакуумирования. Агрегаты «печь-ковш» располагается непосредственно напротив ДСП таким образом, что после выпуска плавки сталевоз с ковшом поступает под свод агрегата «печь-ковш».
В пролете также имеется механизированный участок для наращивания электродов.
В пролете выполняются следующие операции:
- подготовка сталеразливочного ковша: очистка от остатков шлака предыдущей плавки, установка шиберного затвора, подогревание ковша;
- подготовка шлаковых чаш для приема шлака после разливки;
- подача ковша на установку для вакуумирования стали и на подъемно-поворотный стенд МНЛЗ;
- кантовка шлака после разливки;
- охлаждение ковша перед текущим ремонтом и удаление шиберного затвора.
В этом пролете имеются емкости для аварийного приема металла, стенды для высокотемпературного нагрева ковша. В торце пролета располагаются стенды для установки на ковш шиберных затворов. Ремонтируются сталеразливочные и промежуточные ковши в отдельном помещении, куда их доставляют автотранспортом.
К основному оборудованию раздаточного пролета относятся сталеразливочные ковши. Корпуса ковшей выполняют цельносварными, оборудуют цапфовыми узлами и кантовательными устройствами. Сталеразливочные ковши представляют собой открытую футерованную ёмкость, предназначенную для приема плавки из печи и разливки на МНЛЗ. Основными элементами футеровки ковша являются: корпус, два шиберных затвора и футеровка. У ковша имеются цапфы и обслуживаются литейными кранами, оснащенными траверсами с двумя крюками.
Футеровка стен и днища ковша состоит из выравнивающего слоя, выполняемого из огнеупорной массы, из арматурного (теплоизоляционного) слоя, прилегающего к кожуху по выравнивающему слою, и из рабочей футеровки. Рабочая футеровка сталеразливочных ковшей выполняется наливной. Компонентный и гранулометрический состав наливных масс должен быть таким, чтобы при нагреве не происходила усадка материала.
Сталь из ковша выпускают через стакан с отверстием, перекриваемом шибером, устанавливаемым снаружи ковша в днище. Принцип работы шиберного затвора заключается в том, что относительно неподвижного в днище ковша сталеразливочного стакана с отверстием перемещается элемент из огнеупорного материала с отверстием, установленный снаружи ковша. При совпадении осей отверстий в подвижном и неподвижном огнеупорных элементах происходит полное открытие отверстия и обеспечивается максимальная скорость струи из ковша. На рисунке 7 показан разрез шиберного затвора.

Рисунок 7 – Шиберный затвор
1 – гнездовой кирпич; 2 – стакан; 3 – установочная плита; 4 – направляющая каретка; 5 – верхняя рама; 6 – верхняя плита; 7 – нижняя плита; 8 – коллектор;
9 – корпус коллектора; 10 – экран; 11 – нижняя рама; 12 – гидроцилиндр.
Шиберные затворы собирают на специально оборудованном участке и подготавливают их следующим образом. В нижнюю подвижную 11 и верхнюю неподвижную 5 металлические рамки впрессовывают с помощью гидропресса на шамотно-глиняном растворе нижнюю 7 и верхнюю 6 плиты из высокоплотных огнеупоров. Верхняя и нижняя плиты взаимозаменяемы. На трущиеся поверхности плит наносят слой графито-масляной эмульсии. Затем рамки с плитами сушат на стенде газовыми горелками.
После окончания каждой разливки шлак кантуется в шлаковую чашу, затем его осматривают и в случае необходимости проводят текущий ремонт футеровки (заделку швов, замену небольшой части поврежденной футеровки) и заменяют стакан. Новый стакан и отремонтированную футеровку сушат на специальном стенде с газовой горелкой под футерованным зонтом. На этих же стендах разогревают футеровку перед подачей ковша на плавку.
Участок ремонта ковшей размещается в специальном отапливаемом помещении рядом с главным корпусом. Разливка стали, осуществляется на МНЛЗ радиального типа (рисунок 8). Из сталеразливочного ковша 2, установленного на подъемно-поворотный стенд 1, металл заливается в промежуточный ковш 3, на котором установлены стопора для регулирования подачи металла в кристаллизатор 4. Заготовка с затвердевшей оболочкой вытягивается из кристаллизатора тянущими валками 6, проходит через поддерживающие ролики в зону вторичного охлаждения 5 и попадает на машину газовой резки 7 для порезки на мерные длины. Затем заготовки по рольгангам 8 передаются в термо-зачистное отделение.

Рисунок 8 – Схема радиальной машины непрерывного литья заготовок.
Внепечная обработка стали начала активно применяться в 60-х годах, главным образом для повышения производительности дуговых печей и конверторов, позволяя вынести часть процессов рафинирования из этих агрегатов в ковш. Оказалось, однако, что внепечной обработкой можно существенно улучшить качество стали – механические свойства, корроззионную стойкость, электротехнические показатели и др.. Более того, можно получить сталь с принципиально новыми свойствами. Внепечное рафинирование в зависимости от применяемых методов позволяет успешно решать следующие задачи:
1. Обезуглероживать металл до весьма низкой концентрации углерода – достигается обработкой в вакууме, продувкой кислородом вместе с инертными газами.
2. Глубоко рафинировать металл от серы – достигается обработкой шлаком или введением в металл десульфурирующих добавок.
3. Производить раскисление с получением стали с малой загрязненностью неметаллическими включениями – достигается вакуумированием или обработкой порошками металлов и других материалов.
4. Удалять из металла водород – вакуумированием.
5. Получать металл необходимого состава с регулированием содержания раскислителей и легирующих элементов в узких пределах – вакуумированием, введением раскислителей и лигирующих при низком окисленном потенциале контактирующих с металлом шлаковой или газовой фаз.
6. Выравнивать состав и температуру продувки инертным газом, дополнительным нагревом в ковше.
Внепечное рафинирование осуществляют различными методами. Их использование соответственно требованиями, предъявляемые к конкретной стали, позволяет превратить дуговую печь и конвертер в агрегат по расплавлению шихты и получению полупродукта для окончательной внепечной обработки, обеспечить максимальную производительность этих агрегатов и создать оптимальные условия для поточного производства продукции высокого качества.
2.1 Вакуумная обработка стали в ковше
Вакуумирование стали в ковше является наиболее простым способом ее внепечной обработки вакуумом. Его осуществляют в установках, состоящих из вакуумной камеры и соединенной с ней вакуум проводами станции вакуумных насосов (рис.1).
При выпуске стали, предназначенной для вакуумирования в ковше, необходимо принять меры с целью попадания возможно меньшего количества шлака в ковш. Увеличение толщины слоя шлака в ковше вызывает повышение его гидростатического давления на металл и уменьшает эффект вакуумирования. Желательно, чтобы слой шлака в ковше не превышал 25 мм. Попадания окислительного шлака в ковш с металлом следует вообще избегать, так как в восстановительных условиях вакуумной камеры возможно восстановление фосфора в сталь.

Рисунок 1. Схема установок вакуумирования в ковше: а - без принудительного перемешивания, б — с электромагнитным перемешиванием: 1 — ковш с металлом, 2 - вакуумная камера, 3 - крышка вакуумной камеры, 4 - смотровое окно, 5 - люк для раскислителей и легирующих, 6- индуктор
Сталеразливочные ковши, в которых производят вакуумную обработку, футеруют обычным шамотным кирпичом.
Для вакуумирования стали ковш с металлом устанавливают в вакуумной камере, которую герметически закрывают крышкой. С понижением давления в камере происходит процесс дегазации стали, вызывающий перемешивание металла и шлака выделяющимися пузырьками газа. электросталеплавильный цех печной оборудование
При вакуумировании нераскисленной стали происходит удаление и кислорода из металла вследствие взаимодействия его с углеродом с образованием СО. Это оказывает влияние и на эффективность дегазации, так как всплывающие пузырьки СО вызывают возникновение эффекта кипения. Кроме того, пузырьки СО экстрагируют из металла водород, интенсифицируя его удаление.
Улучшить результаты вакуумной обработки стали в ковше и обеспечить возможность эффективного вакуумирования больших масс стали можно, применяя принудительное перемешивание металла. В результате перемешивания верхний слой, где и протекают процессы вакуумной обработки, непрерывно сменяется новыми порциями стали, и эффект вакуумирования распространяется на весь объем металла в ковше. При этом создается также возможность вакуумирования нераскисленной стали с последующей присадкой раскислителей в ковш, где они в результате перемешивания равномерно распределяются в объеме металла. Для повышения эффективности вакуумирования в ковше применяют электромагнитное перемешивание и продувку металла инертными газами. Вакуумную обработку стали с электромагнитным перемешиванием ведут на установках, оборудованных индукторами для создания движущегося магнитного потока (рис. 16).
При вакуумной обработке в ковше с перемешиванием наиболее интенсивно удаляется из металла водород. При остаточном давлении 13-130 Па удаляется 55-75% всего водорода из металла, причем больше водорода удаляется при большем исходном содержании его в металле и при обработке нераскисленной стали. В результате вакуумирования содержание водорода может быть понижено, что делает сталь нечувствительной к образованию флокенов — дефекта, недопустимого в стальных изделиях. Таким образом, вакуумирование устраняет необходимость проведения специальной противофлокенной термической обработки.
В процессе вакуумной обработки металл охлаждается. Это вызывает необходимость перегрева стали в печи на 40-70 °С, т.е. нагрева ее до температуры на 150-180 С° выше температуры ликиидус.
Для получения очень низкого содержания углерода в стали при вакуумировании в ковше разработан способ вакуум-кислородного обезуглероживания. Процесс ведут в ковше, установленном в вакуум-камере. Внутри камера имеет защитную футеровку из шамота, что позволяет вести продувку металла кислородом. В днище ковша устанавливают пористую пробку для продувки аргоном. Продувку кислородом производят через вводимую сверху водоохлаждаемую фурму. Для обеспечения достаточного вакуума в условиях выделения при продувке кислородом значительного количества газов требуются вакуумные насосы повышенной мощности.
Ковш со сталью, содержащей 0,3-0,5% углерода, помещают и вакуумную камеру и после создания вакуума, начинают продувку кислородом, поддерживая разрежение на уровне не более 5 кПа и продувая снизу аргоном. После окончания окислительного периода металл в вакууме раскисляют кремнием и алюминием, продолжая продувку аргоном. Образование при продувке шлака из оксидов железа и вводимой в ковш извести в условиях перемешивания аргоном способствует десульфурации. Одновременная продувка кислородом и аргоном в вакууме обеспечивает получение низкого содержания углерода (не более 0,01%) при малом угаре легирующих. Сталь содержит мало водорода и азота. Ввиду выделения экзотермического тепла реакций окисления во время продувки кислородом происходит нагрев металла, что устраняет необходимость его перегрева в печи.
3.1 Расчет оборудования печного пролета
3.1.1 Расчет количества дуговых электросталеплавильных печей
Для производства 1,4 млн.т шарикоподшипниковой и конструкционной марок стали в год выбираем 100-тонные электропечи с одношлаковым процессом. Расчет ведем согласно рекомендациям, изложенным в [1].
Количество печей рассчитывается по формуле
, (1)
где QЦ – годовая производительность цеха (литых заготовок или слитков), т/год, QЦ = 1,4 млн.т/год (по условию задания);
Т – средняя продолжительность плавки, ч;
Ф – фонд времени работы печи, сут./год;
М – масса одной плавки по жидкому металлу, т, принимаем М=100 т;
В – выход годного по цеху, %.
Средняя продолжительность плавки (Т) складывается из следующих стадий
, (2)
Продолжительность заправки печи
для печей, работающих одношлаковым процессом, принимаем
= 5 мин.
Продолжительность завалки шахты принимаем
= 5 мин.
Продолжительность подвалок 5 мин.
Продолжительность операций по наращиванию электродов принимаем
= 5 мин.
Продолжительность расплавления (
) складывается из времени расплавления шихты при включенной печи (
) и времени, необходимого для технологических операций, выполняемых при выключенной печи (
) – подвалка шихты, сталкивание кусков шихты в колодцы для предотвращения поломки электродов
![]()
Продолжительность расплавления при включенной печи рассчитывается по формуле
, (3)
где Wэл. – фактический удельный расход электроэнергии на расплавление, МДж/т завалки (кВт∙ч/т). 1 кВт∙ч = 3,6 МДж. Принимаем Wэл. = 420 кВт∙ч/т = 116,66 МДж/т;
– электрический КПД печной установки. Принимаем
= 0,9;
– коэффициент, учитывающий полноту использования тепловой энергии на нагрев, плавление и перегрев над ликвидусом металла и шлака. Принимаем
= 0,815;
Pпот. – мощность тепловых потерь на 1 т металлошихты на расплавление, для 100-тонной печи (Pпот.)100 = 190 МДж/т∙ч;
Pср. – средняя активная мощность, подаваемая в печь при расплавлении, мВт. Принимаем для высокомощной печи Pср. = 0,65S, где S – установленная мощность трансформатора, кВА. Для 100-тонной печи ДСП-100И7 [2, c. 47, таблица 3] S = 80000 кВА. Pср. = 0,65∙80000 = 52000 мВт;
G – масса жидкого металла, т. Принимаем G = 100 т;
в – выход жидкого металла на 1 т лома (на 1 т жидкого металла требуется 1,15 т лома), т. Принимаем в = 0,87;
Wк – энергия, выделяющаяся при окислении компонентов шихты газообразным кислородом, МДж/т (Wк определяется из соотношения Wк = Q∙V, где Q – энергия, выделяющаяся при вдувании 1 м3 кислорода, принимаем Q = 10 МДж/м3; V – удельный расход кислорода, м3/т, по практическим данным принимаем V = 25 м3/т). Принимаем Wк = 250 МДж/т.
Wткг – дополнительная энергия, вносимая при сжигании топлива с помощью топливно-кислородных горелок, МДж/т. По практическим данным принимается расход природного газа на уровне V = 8 м3/т (при теплотворной способности
= 35 МДж/м3). Принимаем Wткг = 280 МДж/т;
принимаем равной 5 мин.
мин.
мин.
Продолжительность окислительного периода при плавке стали одношлаковым процессом принимаем
= 15 мин.
Продолжительность выпуска (
) из 100-т печи составляет 5 мин.
мин.
Количество рабочих дней принимаем по нормативным данным
Количество рабочих дней Ф = 313 сут./год.
Выход годного определяется из соотношения
(4)
где Q – годовое производство стали в слитках или заготовках, т/год. Принимаем Q = 1400000 т/год (по условию задания);
G0 – общий расход скрапа (металлошихты) по ЭСПЦ, т/год. Принимаем G0 = 1460000 т/год.
.
печи. Принимаем 2 печи.
3.1.2 Техническая характеристика установленных в печном пролете ДСП
Приводим характеристики печей, согласно данным [2, с. 47].
В таблице 1 представлена техническая характеристика ДСП, установленной в цехе.
Таблица 1 – Техническая характеристика ДСП
| Показатели | Значение |
| Номинальная вместимость, т | 100 |
| Диаметр кожуха на уровне откосов, мм | 6700 |
| Номинальная мощность трансформатора, кВА | 90000 |
| Число фаз | 3 |
| Первичное напряжение, кВ | 35,0 |
| Пределы вторичного напряжения, В | 829-300 |
| Число ступеней вторичного напряжения | 22 |
| Максимальный ток в печи, кА | 80,0 |
| Диаметр графитированного электрода, мм | 610 |
| Диаметр распада электродов, мм | 1400 |
| Удельный расход электроэнергии, кВт.ч/т | 420 |
3.1.3 Определение параметров печного пролета
Приблизительно длину цеха можно рассчитать из выражения
(5)
где Z – количество печей в цехе. Из [п. 2.1.1] Z = 2;
LП – расстояние между осями печей, м. Принимаем LП = 40 м;
LТ – расстояние между торцами цеха и осью крайней печи, м. Принимаем LТ = 25 м.
м.
Ширина – 30 м.
3.1.4 Размещение печных подстанций и печных трансформаторов
При расположении трансформатора на отметке 0,000 есть опасность попадания металла на трансформатор. Целесообразнее размещать трансформатор на уровне рабочей площадке.
Размещение трансформатора в печном пролете показано на рисунке 9.

Рисунок 9 – Расположение печного трансформатора.
3.1.5 Расчет количества кранов
Грузоподъемность кранов, обеспечивающих работу печного пролета, определяется весом печных трансформаторов, и для печи с номинальной вместимостью 100 т, составляет 180/63/20.
Количество кранов печного пролета n определяется из соотношения
, (6)
где N – количество плавок по цеху за сутки, шт. Принимаем
шт;
Tкр. – задолженность крана на одну плавку (время на каждую операцию крана), мин/пл.;
К – коэффициент, учитывающий неравномерность работы печей. Принимаем К = 1,2.
– коэффициент использования крана, по нормам ГИПРОМЕЗа. Принимаем
.
Задолженность крана печного пролета (Tкр.) складывается из продолжительности следующих видов работ:
- подъем 2-х груженых бадей со скраповоза
и их подачи к печи t1 = 9 мин;
- разгрузка бадей в печь t2 = 6 мин;
- возврат 2-х порожних бадей к проему
и установка их на скраповоз t3 = 9 мин;
- подача новых электродов на печь и удаление
старых электродов t4 = 10/6 мин;
- перепуск электродов t5 = 5/6 мин;
- подача инструмента и электродов к печи t6 = 5 мин;
- простои на планово-предупредительные
ремонты и осмотры t7 = 150/N мин.
Простои на планово-предупредительные ремонты и осмотры включают в себя:
- обдувка и смазка крана 15 мин в смену;
- осмотр механизмов и проверка их работоспособности 15 мин в смену.
Общая продолжительность приемо-садочных работ за сутки составляет 90 минут. В одну смену (обычно во вторую) проводится планово-предупредительный ремонт продолжительностью 60 минут.
Таким образом, продолжительность простоев на планово-предупредительные ремонты и смотры равна 150 минутам в сутки. На одну плавку продолжительность этих простоев составляет t7 = 150/N мин.
Таким образом, общая продолжительность учтенных крановых работ составляет:
, мин.
Продолжительность неучтенных работ составляет 30 % от учтенных, т.е.
, мин.
Общая задолженность крана на одну плавку:
, мин.
мин.
мин.
мин.
шт. Принимаем n = 3 шт.
3.1.6 Расчет количества бункеров для сыпучих
Объем бункеров для хранения сыпучих материалов определяется по следующей формуле, м3:
, (8)
где Аi – расход i-го материала по цеху за сутки, т/сутки;
Pi – норма запаса i-го материала, количество суток;
Yi – величина насыпной массы i-го материала в бункере, т/м;
K – коэффициент заполнения бункера (для металлошихты К = 1,2, для сыпучих материалов К = 0,8).
, (9)
где ai – удельный расход i-го компонента (определятся при расчете шихты), кг/т;
G – вместимость печи, т. Принимаем 100 т;
N – количество плавок по цеху за сутки, шт. Согласно [п. 2.1.6] N = 49 шт.
Для железной руды:
т/сут.
м3.
Для ферромолибдена:
т/сут.
м3.
Для никеля:
т/сут.
м3.
Для извести:
т/сут.
м3.
Для кокса:
т/сут.
м3.
Количество бункеров под i-ый материал равно:
, (10)
где Vб – объем одного бункера, м3.
Для железной руды:
шт.
Для ферромолибдена:
шт.
Для никеля:
шт.
Для извести:
шт.
Для кокса:
шт.
Рекомендуется выбирать объем одного бункера 20 – 30 м3.
Общее количество бункеров в бункерном пролете определяется
, (11)
где Vi – объем бункеров под i-ый материал;
n – количество наименований сыпучих материалов.
.
3.1.7 Расчет количества скраповозов
Количество тележек-скраповозов определяет число бадей в цехе, так как число бадей равно числу скраповозов и плюс одна или две резервных бадьи.
Расчет количества скраповозов проводится по формуле, шт.
, (14)
где N – количество плавок и цехе за сутки, шт. Принимаем [п. 2.1.6] N = 49 шт;
Т – задолженность скрапонозов на плавку, мин.
Задолженность скраповоза складывается из продолжительности следующих операций: 1) общее время загрузки бадей на одну плавку T1; 2) переезд из шихтового пролета и обратно Tб; 3) разгрузка содержимого бадей в печь T7. Общая продолжительность операций 2 и 3 зависит от того, во сколько приемов (Б) приходится делать загрузку шихты на плавке (завалка и одна или больше подвалок). Эта величина определяется по формуле
(15)
где M1 и М2 – масса лома, загруженного из контейнеров и из бункеров при корректировке, т. Принимаем М1 = 1,98 т; М2 = 98,4 т;
γ1, γ2 – соответствующие насыпные плотности, т/м3. Принимаем γ1 = γ2 = 0,8 т/м3;
V – объем бадьи, м3. Т.к. необходимая масса равна 70 т, то принимаем V = 87,5 м3;
К – коэффициент заполнения бадьи. Принимаем К = 0,9.
Продолжительность загрузки бадей на плавку (Т1) складывается из следующих операций: 1) загрузка контейнерами с вагона – Т1; 2) загрузка контейнерами с пола – Т2; 3) корректировка массы шихты на плавку ломом из бункеров – Т3; 4) загрузка чугуна и других компонентов – Т4; 5) загрузка коксика и извести в бункерном пролете – Т5. Принимаем T5 = 5 мин.
Продолжительность переезда скраповоза к проему в рабочей площадке и обратно:
.
Здесь L – расстояние от места загрузки бадьи до проема в рабочей площадке, м. Принимаем L = 40 м; w – скорость скраповоза, м/мин. Принимаем w = 50 м/мин.
Время на разгрузку содержимого бадьи в печь (Т7) складывается из времени подъема бадьи, доставки ее к печи, собственно разгрузки бадьи и отправки порожней бадьи на скраповоз. Продолжительность операций для расчета Т7 можно найти в п. 3.1.6. Общая задолженность скраповоза на плавку
.
мин.
.
мин.
.
мин.
Из п.2.1.6:
- подача заправочной машины к печи t1 = 2 мин;
- подъем 2-х груженых бадей со скраповоза
и их подачи к печи t4 = 9 мин;
- разгрузка бадей в печь t5 = 6 мин;
- возврат 2-х порожних бадей к проему
и установка их на скраповоз t6 = 9 мин;
мин.
мин.
шт. Принимаем С = 4 шт.
Число бадей равно NБ = C+1; NБ = 4+1 = 5 шт.
3.2 Расчет оборудования раздаточного пролета
3.2.1 Расчет количества агрегатов для внепечной обработки
При определении количества агрегатов внепечной обработки исходят из приоритетности работы дуговой печи. Расчет количества агрегатом для конкретного способа обработки проводится по формуле
, (16)
где z – максимальное количество плавок в цехе за сутки, обрабатываемых на рассчитываемом агрегате, шт. Принимаем [п. 2.1.6] z = 49 шт;
Т – задолженность агрегата на одну плавку, мин.
Задолженность ковша-печи на плавку складывается из продолжительности следующих операций (ориентировочно), мин: ожидание сталеразливочного ковша с плавкой, включая перестановку ковша и подачу сталевоза под агрегат – 10; продувка аргоном для усреднения ванны – 3; отбор пробы металла, замер температуры, ожидание анализа – 10; присадка ферросплавов, вдувание порошков, подогрев расплава – 20; ожидание передачи ковша на вакуумную установку или на МНЛЗ – 10. Продолжительность неучтенных работ принимаем равным 10 % от учтенных.
Ориентировочные величины продолжительности операций при последующей обработке стали в вакууматоре принимаем следующими (мин): ожидание сталеразливочного ковша с плавкой, включая подачу ковша сталевозом под установку – 10; обработка металла вакуумом с корректировкой химического состава – до 50; подъем камеры, выдача ковша из-под установки ожидание передачи на МНЛЗ – 10; неучтенные работы составляют 10 % от учтенных.
мин.
мин.
Количество ковш-печей
шт. Принимаем nкп = 2 шт.
Количество вакууматоров
шт. Принимаем nв = 3 шт.
3.2.2 Расчет количества сталеразливочных ковшей
Количество сталеразливочных ковшей (с учетом одного резервного и одного в капитальном ремонте) рассчитывается по формуле
, (17)
где N – число плавок в цехе за сутки;
T1 – задолженность ковша на одну плавку, мин.;
m – средняя стойкость рабочей футеровки, шт.;
Т2 – продолжительность холодного ремонта, включая ломку футеровки, ее кладку и сушку, ч.
Задолженность ковша на плавку (T1) при выпуске стали в ковш, установленный на сталевозе, складывается из следующих операций, мин.:
o ожидание выпуска металла, включая захват ковша на стенде для сушки 5-10;
o выпуск металла 5-10;
o измерение температуры, выдержка и подача ковша к составу для разливки 5-20;
Задолженность ковша на холодный ремонт (Т2) складывается из следующих операций, мин.:
o слив шлака из ковша 5-10;
o охлаждение ковша 90-120;
o текущий ремонт ковша, включая удаление скрапины, удаление шиберного затвора, очистку и мелкий ремонт футеровки 40 — 60;
o установка шиберного затвора, включая перестановку ковша на стенд для монтажа шиберного затвора 15-25;
o сушка в разогрев ковша, включая установку ковша на стенд для сушки 60-90.
По практическим данным принимаем m = 35-40 плавок.
шт.
3.2.3 Расчет количества кранов
Пролет обслуживается несколькими мостовыми литейными кранами с двумя или тремя лебедками различной грузоподъемности.
Расчёт количества литейных кранов можно проводить таким же методом, как для шихтового пролёта, но можно сделать это и упрощённо так, как это делается Гипримезом: подсчитывается количество основных крановых операций с ковшом при его межплавочной подготовке, при выходе ковша на холодный ремонт и замене шлаковых чаш, причем продолжительность каждой операции принята одинаковой, равной 4 мин. Так, при межплавочной подготовке ковша схема перестановок имеет вид: подъём со сталевоза – установка на стенд МНЛЗ – съем со стенда МНЛЗ – кантовка шлака – стенд для охлаждения – стенд для выдавливания стаканов – стенд подготовки к плавке – стенд для сушки – сталевоз (9 операций).
При определении количества операций необходимо учитывать размещение агрегатов для внепечной обработки.
При выходе ковша на холодный ремонт: съем со стенда – стенд для охлаждения – установка на стенд для ломки футеровки – ремонтная яма – стенд для сушки – стенд для подготовки к плавке. Зная количество ковшей, отправляемых в ремонт в течение суток, определяют задолженность на этот цикл работ. При замене шлаковых чаш количество операций рассчитывается аналогично. Продолжительность неучтенных (вспомогательных) – работ принимается равной 10 % от основных. Коэффициент, учитывающий неравномерность работы печей, принимается равным 1,15- 1,3.
Грузоподъемность кранов, обеспечивающих работу раздаточного пролета составляет 180/63/20.
Количество кранов пролета n определяется из соотношения
,
где N – количество плавок по цеху за сутки, шт.(см.п.2.1.5) N = 49;
Tкр. – задолженность крана на одну плавку (время на каждую операцию крана), мин/пл.;
К – коэффициент, учитывающий неравномерность работы печей. Принимаем К = 1,3.
– коэффициент использования крана, по нормам ГИПРОМЕЗа. Принимаем
.
Задолженность ковша на холодный ремонт (Т2) складывается из следующих операций, мин.(см.п.3.3.2):
мин.
Таким образом, общая продолжительность учтенных крановых работ составляет:
, мин.
Продолжительность неучтенных работ составляет 10 % от учтенных, т.е.
, мин.
Общая задолженность крана на одну плавку:
, мин.
мин.
мин.
шт. Принимаем n = 5 шт.
3.2.4 Определение производительности и основных параметров МНЛЗ
Годовая производительность МНЛЗ (т/год литых заготовок) рассчитывается по формуле
, (18)
где М – масса плавки, т. Принимаем М = 100 т;
n – число плавок в серии при разливке методом «плавка на плавку» (при разливке одиночными плавками n = 1);
T1 – продолжительность разливки одной плавки, мин;
Т2 – продолжительность подготовки машины к приему следующей серии плавок (плавки), мин. Принимаем T2 = 50 мин;
КВ – выход годных литых заготовок (учитывает потери металла при разливке в виде обрези, брака, окалины, «козлов»);
Ф – фонд времени работы МНЛЗ, сут./год. Принимаем Ф = 330 сут.
Продолжительность разливки одной плавки (T1) оценивается по формуле
, (19)
где М – масса плавки, т;
V – нормативная скорость разливки, м/мин;
nP – количество ручьев. Принимаем nP = 4 шт.;
m – масса погонного метра заготовки, кг. Принимаем m = 700 кг;
КP – коэффициент, учитывающий непредвиденные потери времени при разливке: изменение скорости начала и конца разливки, выход из строя одного ручья и др. (для многоручьевых МНЛЗ принимается Кр < 0,9, для одноручьевой машины Кр = 1).
После расчета Т1 следует проверить, не превышает ли оно допустимое время пребывания металла в ковше, так как от выпуска до конца разливки температура расплава в ковше непрерывно понижается из-за тепловых потерь через футеровку и шлак, и при чрезмерно большой выдержке литейные свойства разливаемого металла ухудшаются или вообще теряются.
Скорость разливки (V) определяет как производительность машины, так и качество заготовок. С увеличением скорости возрастает производительность машины, но это сопровождается возрастанием осевой пористости литых заготовок. При высоких скоростях разливки увеличивается опасность разрыва тонкой твердой оболочки металла в кристаллизаторе.
В отечественной практике для расчета нормативных скоростей разливки (м/мин) применяется формула, разработанная ЦНИИЧМ
, (20)
где К – коэффициент, величина которого зависит от марки стали и вида литых заготовок [1, с. 34, таблица 8];
а – толщина слитка, м;
б – ширина слитка, м (при квадратном сечении слитка а = б).
м/мин.
мин.
Количество ручьев в МНЛЗ определяют исходя из обеспечения согласованности времени разливки с нормативной скоростью разливки. Согласно нормам технологического проектирования рекомендуется принимать в слябовых МНЛЗ не более двух ручьев, в сортовых – до восьми. Продолжительность подготовки МНЛЗ к приему следующей плавки (Т2) не должна превышать 60 мин.
При определении фонда времени (Ф) исходят из норм технологического проектирования, где продолжительность простоев на профилактических ремонтах принимается равной 8 ч в неделю, на планово-предупредительных ремонтах – 2 сут. в месяц, на капитальных – 12 сут. в год. Нормами предусматриваются потери времени при замене кристаллизаторов, секций вторичного охлаждения, при ликвидациях последствий прорыва металла и т.д. Общее количество простоев в течение года у слябовых машин составляет 74 сут., отсюда фонд времени работы Ф равняется: 365 – 74 = 291 сут.; простои сортовых машин составляют 65 сут. и фонд времени работы – 300 сут.
При создании новых высокопроизводительных автоматизированных МНЛЗ нормами принимается для слябовых машин фонд рабочего времени 320 сут., для сортовых – 330 сут.
Число плавок в серии (С) при разливке методом «плавка на плавку» зависит от соотношения продолжительности разливки одной плавки и интервала между выпусками стали из сталеплавильных агрегатов. Разливка сериями удается, если продолжительность разливки и интервалы между выпусками равны. В ЭСПЦ это достигается не всегда, во-первых, из-за характерного для ЭСПЦ разнообразного сортамента выплавляемых сталей и, во-вторых, из-за того, что продолжительность плавки даже в сверхмощных печах сейчас пока больше продолжительности разливки на МНЛЗ. В этих условиях относительно просто организовать совместную работу двух печей, выплавляющих одинаковую марку стали, для серии из трех плавок. Значительно сложней в таком же цехе организовать серии из четырех плавок. Впрочем, в специализированных цехах, оснащенных тремя-четырьмя печами, сортамент которых неширок, например, ЭСПЦ ОЭМК, ориентированный на производство шарикоподшипниковой стали, удается разливать сериями по 10 плавок и более.
Выход годных заготовок (КВ) представляет собой отношение массы годных литых заготовок к массе разлитого жидкого металла
, (21)
где П – отходы металла при разливке, образующиеся за счет головной и хвостовой обрези, скрапа в промковше, потерь при газорезке слитка на мерные заготовки, окисления поверхности слитка и, наконец, за счет аварийного скрапа.
Определим выход годных заготовок при разливке плавки массой 100 т на четырехручьевой машине, отливающей заготовки сечением 300x300 мм.
Длину головной обрези на один ручей принимаем равной 300 мм, тогда масса головной обрези на плавку составит: 0,34 - 700 = 840 кг, здесь 700 – масса (кг) погонного метра заготовки сечением 300x300.
Длину хвостовой обрези с учетом усадки металла в конце кристаллизации принимаем равной 700 мм, тогда масса хвостовой обрези на одну плавку составит: 0,7·4·700 = 1960 кг.
Скрап в промковше рассчитываем из условия его образования в количестве 2 кг/т жидкого. В таком случае масса скрапа равна 2-100 = 200 кг.
Потери на газорезку рассчитываем, приняв толщину реза 10 мм, при этом потери металла на шлам при длине мерной заготовки, скажем, 2 м составят 0,5 %, масса металла в шламе составит, кг:
100000·0,5/100 = 500.
Масса аварийного скрапа (при норме 5 кг/т жидкого) составит, кг:
5·100 = 500.
Потери металла из-за окисления поверхности горячего слитка воздухом при норме 2 кг/т жидкого составят, кг:
2·100 = 200.
Общая масса отходов составит, т:
840 + 1960 + 200 + 500 + 500 + 200 = 4,2;
выход годного, т:
КВ = (100 - 4,2)/100 = 0,958 или 96 %.
Выход годного получился относительно низкий. Объясняется это тем, что расчет вели на одну плавку; при серийной разливке масса обрези и скрапа в промковше (всего 3 т) распределится на все плавки серии и их удельная доля станет ниже; данное обстоятельство – одно из достоинств серийной разливки.
т/год.
Последний из основных параметров МНЛЗ – технологическая длина. Она складывается из протяженности жидкой фазы в кристаллизующемся литом слитке и длине участков, на которых проводятся предусмотренные технологией операции с литой заготовкой. В общем случае полную технологическую длину машины составят: 1) протяженность жидкой фазы; 2) длина заготовки, находящейся в позиции резки, 3) рабочий ход машины резки, 4) длина заготовки в позиции ожидания клеймения, 5) длина заготовки в позиции отрезки темплетов и их клеймения, 6) длина заготовки в позиции формирования пакета заготовок, 7) ширина фронта действия передаточной тележки, 8) длина заготовки в промежуточной позиции перехода с передаточной тележки на перекладчик заготовок и 9) ширина перекладчика.
Протяженность жидкой фазы определяется по формуле, предложенной ЦНИИЧМ
, (22)
где КШ – коэффициент, величина которого определяется отношением ширины заготовки к ее толщине; значения коэффициента КШ изменяются от 240 для квадратной заготовки до 340 для сляба с отношением ширины к толщине 6 и более. Принимаем КШ = 240;
А – толщина заготовки, м. Принимаем А = 0,3 м; V – нормативная скорость разливки, м/мин.
![]()
Количество МНЛЗ рассчитывается из соотношения
, (23)
где n – количество МНЛЗ, шт.;
QЦ – годовая производительность цеха, т/год;
Р – производительность МНЛЗ, т/год.
шт.
Принимаем n = 4 шт.
3.2.5 Количество промежуточных ковшей
Количество промежуточных ковшей определяется по формуле
, (24)
где T – продолжительность ремонта футеровки ковша, ч;
z – количество плавок, разливаемых на МНЛЗ в сутки, шт.;
С – стойкость промежуточного ковша.
Продолжительность подготовки (ремонта) промежуточного ковша складывается из продолжительность следующих операций: 1) смена ковша на МНЛЗ (2-5 мин), 2) охлаждение футеровки (~ 180 мин), 3) выдавливание стаканчиков (~ 30 мин), 4) ломка футеровки (~ 30 мин), 5) кладка арматурного слоя футеровки (~ 60 мин), выполнение наливной (или кладка кирпичной) футеровки (1-6 ч), сушка футеровки (приблизительно 14 ч), 8) установка гнездового кирпича, сталеразливочных стаканчиков, стопоров (около 60 мин), 9) разогрев футеровки (3-4 ч), 10) крановые операции по перестановке и транспортировке ковша 20 - 25 мин).
Т = 3+170+25+25+50+300+840+60+180+25=1678 мин = 27,97 ч.
По практическим данным принимаем С = 8-10 плавок при разливке «плавки на плавку»; С = 3-4 плавки – при разливке одиночных плавок.
шт.
Принимаем nК = 3 шт.
3.2.6 Количество стендов для сушки промежуточных ковшей
Количество стендов для сушки футеровки промежуточных ковшей определяется по формуле:
, (25)
где Т – время сушки ковша на стенде, ч. Принимаем Т = 14 ч.
Аналогично рассчитывается количество стендов для охлаждения футеровки промежуточных ковшей, стендов для ломки футеровки, стендов для кладки футеровки ковшей.
шт.
Принимаем nC = 2 шт.
Список использованной литературы
1. Основы проектирования и оборудования электрометаллургических цехов: Метод. указ./ Сост.: И.Д. Рожихина: СибГИУ. – Новокузнецк, 2005. – 61 с.
2. Оборудование и проектирование электросталеплавильных цехов. Никольский Л.Е., Зинуров И.Ю. Учеб. пособие для вузов. – М.: Металлургия, 1993. – с. 272.
3. Коган А.Е., Рожихина И.Д., Гизатулин Р.А., Торопов А.И. Основы проектирования электросталеплавильных цехов: Учеб. пособие / СибГИУ. – Новокузнецк, 1999. – 204 с.
4. Проектирование сталеплавильных и доменных цехов. Якушев А.М. – М.: Металлургия, 1984. – 216 с.
Похожие рефераты:
Влияние водорода на свойства стали
Проектирование сталелитейного цеха
Проектирование кислородно-конвертерного цеха №2 ОАО "ММК"
Давно ли люди гибнут за металл и как именно закалялась сталь
Установка и способ для получения расплавов железа
Использование в доменной шихте металлсодержащих добавок из шлаковых отвалов
Определение основных параметров технологии плавки IF-стали в конвертере с верхней подачей дутья
Технология автоматизация литейных процессов
Получение биметаллических заготовок центробежным способом
Технико-экономическая характеристика отдельных способов производства стали
Организация производства на Магнитогорском металлургическом комбинате в электросталеплавильном цехе
Резервуар объемом 50000 м3 для нефти в г. Новороссийске
Проектирование отделения восстановительной электроплавки ильменитового концентрата