| Скачать .docx |
Реферат: Тактика тушения пожаров и проведения аварийно-спасательных работ 2
МИНИСТЕРСТВО ПО ЧРЕЗВЫЧАЙНЫМ СИТУАЦИЯМ
РЕСПУБЛИКИ БЕЛАРУСЬ
ГОСУДАРСТВЕННОЕ УЧРЕЖДЕНИЕ ОБРАЗОВАНИЯ
КОМАНДНО-ИЖЕНЕРНЫЙ ИНСТИТУТ
КАФЕДРА ТАКТИКИ ПРОВЕДЕНИЯ АВАРИЙНО СПАСАТЕЛЬНЫХ РАБОТ И ТУШЕНИЯ ПОЖАРОВ
ТАКТИКА ТУШЕНИЯ ПОЖАРОВ
И ПРОВЕДЕНИЯ АВАРИЙНО-СПАСАТЕЛЬНЫХ РАБОТ
Контрольная работа № 2
Минск 2010г.
Упражнение 1. Методика проведения деловой игры. Подведение итогов занятия
Деловые игры являются одним из наиболее эффективных методов активного обучения. Этот метод представляет обучение не как средство привития знаний, умений, навыков, а как средство развития индивидуальных качеств обучаемых с помощью знаний, умений, навыков. Деловые игры помогают развить творческие способности обучаемых, опираясь на их самостоятельную работу.
Деловая игра обычно проводится между группами (командами), состоящими из 5 — 7 человек.
При подготовке к игре преподавателю необходимо:
выбрать тему,
наметить проблему, решение которой должно быть найдено в игре,
создать условную ситуацию, которая имитирует конкретную деятельность людей и их отношения,
определить роли, которые будут выполнять участники игры,
разработать документацию, которой будут пользоваться участники игры,
разработать систему поощрений и штрафов.
При определении проблемы необходимо предусмотреть, чтобы она разрешалась в несколько этапов, т.е. состояла из нескольких заданий, и каждый этап игры заканчивался общим обсуждением командами. Таким образом, в конце игры должна образоваться цепочка решений, приводящая к окончательному выводу. Каждый этап игры должен быть строго ограничен временным промежутком.
В некоторых случаях следует назначить некоторых представителей группы в качестве экспертов – консультантов, которые оценивали бы решения, принятые командами. Они также могут давать «платную» консультацию при возникновении вопросов у участников в ходе решения заданий. Платная информация покупается за баллы, которые группа уже заработала или в счет тех, которые еще заработает.
Во время игры должны быть поставлены определенные цели перед командой в целом и перед каждым участником отдельно.
В ходе подготовки игры целесообразно определить какие знания, умения, навыки понадобятся играющим и подготовить их к игре заранее или непосредственно перед игрой.
Во время игры необходимо содействовать общению участников внутри команд, но так, чтобы дисциплина не нарушалась. За нарушение дисциплины на команду налагается штраф, который выплачивается баллами.
После завершения игры проводится ее детальный разбор. Определяются и оцениваются решения, принятые в ходе игры. На разборе дается итоговая оценка результатам проведенной игры, оценивается степень выполнения поставленной целей и задач. Сопоставляются результаты параллельно работающих команд. Выделяются и анализируются имевшиеся в игре ошибки, недостатки и упущения в действиях играющих.
Методика проведения деловой игры «Организация и проведение аварийно-спасательных и других неотложных работ при возникновении пожара в производственном помещении промышленного предприятия представлена в таблице 1.
| № п/п |
Рассматриваемые вопросы |
Время, мин. |
Методические указания |
| 1 |
2 |
3 |
4 |
| 1. |
Введение |
10 |
- проверка готовности обучаемых к занятию; - объявление учебной темы, целей занятия, рассматриваемых вопросов; - ознакомление с ходом проведения занятия |
| 2. |
Порядок прохождения информации о ЧС, произошедшей на территории района |
15 |
- ознакомление обучаемых со схемой прохождения информации о ЧС; - обращение особого внимания на роль каждого производственного звена в вопросах организации работ по ликвидации чрезвычайных ситуаций |
| 3. |
Подготовка и проведение деловой игры |
15 |
распределить обучаемых на игровые коллективы по 5-7 человек с условным назначением на должности: - начальников и заместителей начальников ГО объекта, района, области; - начальников и заместителей начальников штабов ГО объекта, района, области; - председателями и заместителями председателей комиссий по эвакуационным (эвакоприемным) мероприятиям, начальниками сборных эвакопунктов; - председателями и заместителями председателей комиссий по устойчивому функционированию объектов; - постановка учебных задач, выдача заданий; объявление вводной о ЧС |
| 4. |
Самостоятельная практическая отработка игровыми коллективами вопросов выданного учебного задания |
90 |
- контроль за соблюдением порядка в учебной аудитории; - оказание помощи в получении справочно-информационных данных; - ответы на поставленные вопросы (в индивидуальном порядке) |
| 5. |
Заслушивание результатов выполненного задания. Обмен опытом работы |
30 |
- поочередное заслушивание представителей каждого коллектива по результатам выполненного задания; - заслушивание мнения всех коллективов и выработка единого мнения. - фиксация результатов докладов на учебной доске. - сравнение полученных результатов с ранее разработанными эталонными решениями; |
Упражнение 2. Разработать план-конспект для практического проведения тактико-специального занятия с дежурной сменой на объекте
УТВЕРЖДАЮ
Зам. начальника ПАСО № 7
на объектах ОАО «Белшина»
капитан внутренней службы
В.В. Петров
«_____» ___________ 2010 г.
ПЛАН-КОНСПЕКТ
проведения практического занятия по тактико-специальной подготовке с личным составом ПАСЧ № 1 ПАСО № 7 на объектах ОАО «Азот»
Тема: Ведение аварийно-спасательных и других неотложных работ при ликвидации ЧС на объектах с наличием АХОВ.
Цель занятия: Обучить личный состав методам тушения пожаров и ведению аварийно-спасательных и других неотложных работ при ликвидации аварий и ЧС на объектах с наличием химических веществ.
Метод проведения занятия: практическое занятие.
Дата проведения занятия: 28.09.2010
Учебное время проведения занятия (мин.): 90 минут
Место проведения занятия: здание склада №3
Используемые учебные пособия и литература:
1. 1. Боевой устав органов и подразделений по ЧС. Пост. МЧС от 17.03.2005 г. №30.
2. 2. Шишканов М.А. , Воробьев В.К., Тумарович Ю.Г. Основы пожарно-тактической подготовки Ч.1,2 - Минск, 1996.
3. 3. Правила по охране труда в органах и подразделениях по ЧС. пост. МЧС от 23.10.2003г. №34Обеспечение мероприятий и действий при ликвидации чрезвычайных ситуаций. Под общей редакцией Шойгу С.К. Москва 2000.
Материально-техническое обеспечение: ПТВ, костюмы химической защиты.
СОДЕРЖАНИЕ И ХОД ЗАНЯТИЯ
1. Организационная часть - 15 мин.
1.Построить группу слушателей, проверить внешний вид
2.Объявить тему и цель занятия.
3.Провести инструктаж по технике безопасности.
4.Проверка усвоения предыдущего материала.
5.Отработка других вопросов (определение учебных мест).
2. Основная часть – 60 мин.
КРАТКАЯ ХАРАКТЕРИСТИКА ОБЪЕКТА: Здание склада №3. Склад имеет 2 уровня: на 1 уровне здания расположена готовая продукция (антифриз различных марок), на 2 (подвал) – складские помещения для хранения азотной кислоты. Отопление центральное водяное, освещение искусственное. Участок запитан станцией химического тушения. Ближайшие пожарные гидранты ПГ-35 и ПГ-16 на наружном трубопроводе диаметром 300 мм., кольцевой.
ТАКТИЧЕСКИЙ ЗАМЫСЕЛ: произошло возгорание разлившегося масла ПН-6 в подвальном помещение, сильное задымление участка.
ПРИВЛЕКАЕМЫЕ СИЛЫ И СРЕДСТВА И РАСЧЕТНОЕ ВРЕМЯ ПРИБЫТИЯ:
| Подразделение |
5 |
6 |
7 |
8 |
9 |
10 |
15 |
16 |
17 |
20 |
| ПАСЧ № 1 |
Х |
Данные о развитии пожара (чрезвычайной ситуации) и ведении боевых действий
Время |
Обстановка (содержание вводных) |
Ведение боевых действий |
Примечание |
| Ч+1 |
На момент обнаружения пожара. |
Администратор объекта сообщает в пожарную службу, принимает меры к аварийному сливу кислоты в запасные резервуары, обесточивает оборудование, приступает к тушению пожара первичными средствами пожаротушения, встречает прибывшие подразделения. |
|
| Ч+6 |
На момент прибытия первого подразделения. |
РЛЧС в пути следования устанавливает автомобили на пожарные гидранты. РЛЧС по прибытию организует разведку пожара, по окончании разведки отдает команды на введение сил и средств на тушение и защиту. О принятых решениях и об обстановке по радиосвязи докладывает на ЦОУ. Руководит тушением условного пожара, следит за соблюдением личным составом правил техники безопасности. |
|
| Ч+8 |
На момент прибытия старшего оперативного начальника и результат разведки. |
К.О.-1 НБУ-1 по тушению пожара. Подать ствол «Пурга» на тушение от АЦ на ПГ-16 звеном ГДЗС. К.О.-3 подать ГПС-600 на тушение пожара от магистральной второй линии от АЦ на ПГ-16 звеном ГДЗС. К.О.-2 НБУ-2 по защите кровли. Подать ствол "Б" на защиту кровли склада от АЦ на ПГ- 35. |
|
| Ч+11 |
Локализация пожара. |
Достаточное количество сил и средств введено, ствольщики находятся на позициях распространения огня прекращено. Поступает вводная об обрушении строительных конструкций, под завалом находится пожарный. РЛЧС передает на ЦОУ информацию о пострадавшем, вызывает скорую помощь. Задача: звену ГДЗС с помощью АСО (пневмодомкратов) деблокировать пострадавшего и вынести на свежий воздух, оказать первую доврачебную помощь. |
|
| Ч+24 |
Ликвидация пожара. |
РЛЧС передает на ЦОУ сообщение о ликвидации, отдает команду на сбор ПТВ и рукавов. Подводится итог занятия. |
3. Заключительная часть - 15 мин.
1. Разбор занятия: подать команду «Отбой», построить учебную группу, указать на допущенные замечания при выполнении практических заданий, действий и др. и пути их устранения. Объявить результаты выполнения отрабатываемых заданий и оценки.
2. Задание на самоподготовку.
СХЕМА РАССТНОВКИ СИЛ И СРЕДСТВ

Конспект составил:
_______________________________________________
(должность, звание, подпись, фамилия, инициалы)
«_____» ___________ 2010 г.
Упражнение 3. Разработать инструкцию взаимодействия органов и подразделений по чрезвычайным ситуациям с государственным предприятием по эксплуатации, капремонту и строительству сетей наружного освещения (горсвет)
Директор УП «Минскгорсвет»
А.А.Петров
«___» ______________ 2010 г
УТВЕРЖДАЮ
Председатель КЧС –
заместитель председателя
Мингорисполкома
А.А.Иванов
«___» ______________ 2010 г
ИНСТРУКЦИЯ
о взаимодействии Учреждения «Минское городское управление МЧС Республики Беларусь и унитарного предприятия «Мингорсвет» по обеспечению условий для тушения пожаров и ликвидации чрезвычайных ситуаций в г. Минске.
1. Настоящая инструкция устанавливает порядок взаимодействия служб УП «Мингорсвет» с МГУ МЧС Республики Беларусь при тушении пожаров и ликвидации чрезвычайных ситуаций в г. Минске по обеспечению условий для тушения пожаров и ликвидации чрезвычайных ситуаций.
УП «Мингорсвет» обеспечивает нормальное функционирование сетей наружного освещения г. Минска (осуществляет включение, отключение сетей уличного освещения города). Оперативно-диспетчерская служба предприятия расположена по адресу: ул. К. Маркса, 21. Телефон -227-43-16, 227-32-10.
Дежурство осуществляется круглосуточно. В состав дежурной смены входит дежурный инженер, диспетчер и 2 бригады на автовышках АП-17 (автопоемник) на шасси ГАЗ-53 в составе водителя и электромонтера.
МГУ МЧС Республики Беларусь расположено по адресу: ул. Козлова, 26 корп. 8. Телефон - 101.
2. При получении информации о аварии на сетях наружного уличного освещения г. Минска дежурный оперативно-диспетчерской службы (ОДС) УП «Мингорсвет» обязан:
выслать на место происшествия дежурную бригаду, которая о своем прибытии на место докладывает на пульт управления и ликвидирует последствия аварии;
сообщить о случившемся диспетчеру МГУ МЧС Республики Беларусь по телефону - 01, который при необходимости направляет к месту аварии пожарные аварийно-спасательные подразделения.
3. При возникновении пожара на объектах УП «Мингорсвет» диспетчер его ОДС сообщает диспетчеру МГУ МЧС Республики Беларусь и направляет к месту пожара дежурную бригаду. Диспетчер МГУ МЧС немедленно высылает пожарные аварийно-спасательные подразделения в соответствии с расписанием выезда.
4. Прибывшая к месту пожара (чрезвычайной ситуации) дежурная бригада принимает меры по снятию напряжения с токоведущих частей, заземляет пожарную технику, проводит инструктаж личного состава подразделений МГУ МЧС по технике электробезопасности, поступает в распоряжение руководителя тушения пожара (ликвидации чрезвычайной ситуации) и убывает с места пожара (чрезвычайной ситуации) только с их разрешения.
5. При организации тушения пожара и ликвидации чрезвычайных ситуаций персоналом УП «Мингорсвет» и МГУ МЧС должны быть выполнены требования «Инструкции по тушению пожаров в электроустановках предприятий и организаций Республики Беларусь» (РД БЭ 12-002-98)
6. Руководство тушением пожара на объектах УП «Мингорсвет» осуществляет старший начальник МГУ МЧС, который создает штаб, в него при необходимости включаются работники УП «Мингорсвет».
7. При значительных повреждениях сетей уличного освещения создается штаб аварийно-восстановительных работ, который возглавляет должностное лицо из числа руководящего состава УП «Мингорсвет», в состав которого при необходимости включается представитель МГУ МЧС.
8. В целях практической отработки вопросов взаимодействия МГУ МЧС Республики Беларусь и УП «Мингорсвет» при тушении пожаров, ликвидации чрезвычайных ситуаций ежегодно проводить совместные учения и занятия.
Упражнение 4. Пожар возник в квартире на четвертом этаже 5-этажного жилого дома II степени огнестойкости. Лестничная клетка сильно задымлена. Жильцы 4 и 5 этажей просят о помощи. Зима, день, температура воздуха -20°С. К моменту прибытия первого подразделения площадь тушения пожара составила 22 м2 . Средняя скорость роста площади пожара составляет 2,5 м2 /мин
Требуется:
- оценить обстановку на месте пожара;
- выработать тактический замысел тушения пожара;
- произвести необходимый расчет сил и средств для ликвидации пожара;
- сформулировать команды и распоряжения на ведение боевых действий;
- составить наиболее оптимальную схему расстановки сил и средств.
Решение задачи
1. Оценка обстановки по внешним признакам на момент прибытия к месту вызова и принятие решения на ведение боевых действий.
На пожар прибыла дежурная смена ПАСЧ-1 в составе двух отделений на автоцистернах.
Пожар на четвертом этаже, возможна угроза людям, огонь и дым могут распространиться на вышерасположенный этаж, чердак, водоснабжение удовлетворительное.
Принимаю решение: установить связь с ЦОУ, вызвать к месту пожара скорую медицинскую помощь и сотрудников ОВД. Организовать разведку внутри здания. Провести предварительное развертывание сил и средств.
2. Отдаваемые распоряжения (приказания).
Связному:
«Передать на ЦОУ: прибыл к месту вызова: из окна 4-го этажа пятиэтажного дома идет дым. Ушли в разведку. Подтверждаю повышенный номер вызова (№ 2). Необходимо вызвать скорую медицинскую помощь и сотрудников ОВД».
Командиру 1-го отделения:
«Автоцистерну к подъезду, подготовить звено ГДЗС со стволом «Б» для ведения разведки».
Командиру 2-го отделения:
Предварительное развертывание к АЦ 1-го отделения. Подготовить звено ГДЗС со стволом «Б» для ведения разведки на 5 этаже. Организовать дымоудаление через оконные проемы лестничной клетки».
3. Организация разведки.
Звено ГДЗС первого отделения (с необходимым пожарно-техническим оборудованием) направляется на 4 этаж и производит проверку в горящем и смежных помещениях.
Звено ГДЗС второго отделения после проведения боевого развертывания поднимается на 5 этаж для организации дымоудаления и проведения разведки.
При обнаружении пострадавших личный состав принимает меры к их спасению и оказанию первой медицинской помощи.
4. Оценка обстановки по результатам оценки пожара, разработка тактического замысла тушения пожара, обоснование решающего направления.
Решающее направление боевых действий - тушение пожара на 4 этаже площадью 22 м2 (на участке, где дальнейшее распространение огня может привести к наибольшему ущербу) с одновременным спасанием пострадавших при их обнаружении. После сосредоточения расчетного количества сил и средств на решающем направлении прибывающие силы вводим на защиту 3 и 5 этажей и в помещения смежные с горящим.
5. Расчет сил и средств для тушения пожара и определения номера вызова.
Определяем требуемый расход воды на тушение пожара по площади горения:
= Sn
= 22
0,1 = 2,2 л/с
где: Sn - площадь пожара (м2 );
- интенсивность подачи воды на тушение пожара (л/с м2
).
Определяем требуемое количество стволов на тушение пожара:
NСТ
=
/qСТВ
= 2,2/3,5 = 1 ствол «Б»
где: qCT - расход воды из пожарного ствола.
Анализируя сложившуюся обстановку и архитектурно-строительные особенности объекта принимаем:
- на защиту 5-го этажа один ствол «Б» звеном ГДЗС;
- на защиту смежных помещений на горящем этаже - ствол «Б» звеном ГДЗС;
- на защиту 3-го этажа - 1 ствол «Б» звеном ГДЗС.
Определяем требуемую численность личного состава для выполнения боевых действий на пожаре:
Nл
c
=
=ZК4
+ ZK16
+ ZK30
+ ZK33
= 4 x 3 + 1 x 1 +1 x 4 + 4 x 1 = 21 человек
где: Z - количество видов выполняемых работ;
K - количество людей, занятых выполнением данного вида работы.
Определяем количество отделений на основной пожарной аварийно-спасательной технике:
N=Nлс /Л=21/4= 5,25 = 6 отделений на АЦ
где: Л - численность личного состава одного отделения, принимаемое по тактико-техническим характеристикам аварийно-спасательной технике.
Вывод: для тушения данного пожара необходимо 6 отделений, что соответствует 2 номеру вызова сил и средств подразделений МЧС в гарнизоне.
6. Задачи подразделениям.
Связному: «Передать на ЦОУ: пожар на 4 этаже жилого дома на площади 22 м2 , люди эвакуированы, пострадавших нет, подтверждаю вызов №2; подан один ствол «Б» на тушение и 3 ствола «Б» на защиту.»
Командиру первого отделения ПАСЧ-1:
«АЦ к центральному входу, подать ствол «Б» звеном ГДЗС на тушение пожара на 4 этаже, после окончания воды в автоцистерне подсоединить рукавную линию к разветвлению 2-го отделения».
Командиру второго отделения ПАСЧ-1:
«Магистральную линию к разветвлению первого отделения, организовать разведку помещений звеном ГДЗС на 4 и 5 этажах, подать ствол «Б» на защиту помещений над очагом горения».
Командиру отделения ПАСЧ-2:
«Автоцистерну в резерв, проложить вторую магистральную линию от ПАСЧ-1/2, подать ствол «Б» звеном ГДЗС на защиту смежных помещений на 4 этаже».
Командиру отделения ПАСЧ-4:
«Проложить резервную магистральную линию к центральному входу, от разветвления ПАСЧ-1/2 организовать разведку и защиту помещений звеном ГДЗС на 3 этаже».
7. Организация боевых участков на пожаре.
Руководителем тушения пожара является начальник дежурной смены ПАСЧ-1, так как пожар произошел в районе выезда его подразделения.
Так как горением охвачено помещение на третьем этаже, для управления силами и средствами РТП организует три боевых участка (по этажам).
БУ-1. Тушение пожара и защита смежных помещений на 4 этаже.
НБУ - командир первого отделения ПАСЧ-1/1.
Задача: АЦ к центральному входу; звеньями ГДЗС подать ствол «Б» на тушение и ствол «Б» на защиту смежных помещений на 4 этаже.
Силы: ПАСЧ-1/1-отделение на АЦ.
ПАСЧ-2/1- отделение на АЦ.
БУ-2. Защита помещений на 5 этаже.
НБУ - командир отделения ПАСЧ-1/2
Задача: установить магистральную линию к ПАСЧ-1/1 без установки АЦ на водоисточник, звеном ГДЗС подать ствол «Б» на защиту помещений над очагом горения.
Силы: ПАСЧ-1/2 - отделение на АЦ. В случае опустошения емкости с водой осуществить заправку емкости от ПГ-1.
БУ-3. Защита помещений на 3 этаже.
НБУ - командир отделения ПАСЧ-4/1
Задача: проложить резервную магистральную линию к центральному входу, звеном ГДЗС подать ствол «Б» на защиту помещений на 3 этаже. При опустошении емкости АЦ ПАСЧ-1/2 задействовать резервную магистральную линию.
Силы: ПАСЧ-4/1 - отделение на АЦ.
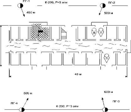
8. Расстановка сил и сил и средств для тушения пожара.
Схема расстановки сил и средств для тушения пожара

Упражнение 5. Составление описания пожара и карточки боевых действий сил и средств на пожаре
Описание пожара
1. Оперативно-тактическая характеристика объекта
Надворное отдельно стоящее одноэтажное строение высотой 3 метра, состоящее из восьми деревянных смежных сараев 1967 года постройки размером 5 на 10 метров и отдельно стоящего гаража размером 3 на 4 метра. Строения находятся на балансе у ЖЭС-67 Ленинского района г. Минска. Сараи полностью деревянные, разделены деревянными перегородками, кровля рубероидная по деревянной обрешетке. Отдельно стоящий деревянный гараж, обит жестью, крыша рубероидная по деревянной обрешетке. Расстояние до гаража составляло 2 метра, до соседних строений 10-15 метров. Возле дома №31 по ул. Семенова находится ПГ диаметром трубы 150 мм в исправном состоянии.
2. Пожарно-профилактическая работа органа государственного пожарного надзора
Пожарно-профилактическая работа не проводилась т.к. решением администрации Ленинского района г. Минска указанные строения были подготовлены под снос и длительное время не эксплуатировались.
3. Динамика развития пожара
дата и время возникновения пожара: 18 ч 50 мин 24.05.2006;
дата и время обнаружения пожара: 19 ч 04 мин 24.05.2006, площадь пожара 10 м2 ;
дата и время сообщения о пожаре: 19 ч 07 мин 24.05.2006, площадь пожара 14 м2 ;
дата и время локализации пожара: 19 ч 25 мин 24.05.2006 площадь пожара 35 м2 ;
дата и время ликвидации пожара 19 ч 34 мин 24.05.2006
Пожар возник в одном из сараев и стал распространяться по всей площади строения. Наличие только деревянных конструкций сараев способствовала быстрому распространению пожара по всей площади строения. Люди в горящем строении отсутствовали.
4. Обстоятельства, способствовавшие развитию пожара
Позднее обнаружение и позднее сообщение о пожаре в подразделения МЧС. Наличие только деревянных конструкций сараев способствовала быстрому распространению пожара по всей площади строения.
5. Организация тушения пожара
Для ликвидации пожара привлечено 3 расчета на АЦ-40 137 (2 от ПАСЧ-19 и 1 от ПАСЧ-28). На пожаре организовано 2 БУ: БУ-1 – защита отдельно стоящего гаража и соседних строений; БУ-2 – тушение пожара.
К моменту прибытия первого подразделения площадь пожара составила 40 м2 . Через 2 мин с момента прибытия первого подразделения был подан первый ствол, площадь пожара к этому времени составила 45 м2 .
На тушение пожара были поданы 2 ствола РС-50 с диаметром насадка 13 мм и 2 ствола РС-70 с диаметром насадка 19 мм.
Для подачи воды в магистральные линии использовался ПГ находящийся на расстоянии 35 м от места возникновения пожара (возле д. 31 по ул. Семенова). Расход воды составил 8000 литров.
Привлечения дополнительных сил и средств для тушения не потребовалось.
6. Оценка действий РТП и должностных лиц по организации тушения пожара
Длительность прибытия первого подразделения (ПАСЧ-28) привела к увеличению площади пожара более чем в два раза с высокой вероятностью воспламенения соседних зданий жилых домов. Дальнейшие действия первого РТП – прапорщика внутренней службы Бояревича В.Э. соответствовали складывающейся обстановке. С прибытием второго РТП – начальника караула ПАСЧ-19 лейтенанта внутренней службы Зинченко Д.Ф. была произведена окончательная расстановка сил и средств (приложение 1). Пожар удалось своевременно локализовать и затушить.
7. Последствия пожара
В результате пожара стоящее одноэтажное строение, состоящее из восьми деревянных смежных сараев и отдельно стоящий гараж уничтожены полностью. Соседние здания и сооружения повреждений не получили. Жертв нет. Обстоятельства возникновения пожара и размер материального ущерба не установлены.
8. Принятые меры по пожару
Проведено заседание КЧС администрации Ленинского района г. Минска, на котором был рассмотрен вопрос проверки не эксплуатирующихся заброшенных зданий и сооружений с дальнейшим принятием соответствующих решений по каждому конкретно взятому случаю.
9. Выводы и предложения по результатам составления описания пожара
Основной причиной возникновения пожара явилось длительное отсутствие возможности реализации планов администрации района по сносу сгоревшей постройки. Решением администрации Ленинского района г. Минска утвержден график проверок заброшенных (не эксплуатирующихся) зданий и сооружений.
Расчет ПАСЧ-28 показал недостаточную подготовленность по времени прибытия, что показывает необходимость проведения дополнительных занятий с личным составом по тактико-специальной подготовке.
УТВЕРЖДАЮ
«____» _____________ 2010 г.
КАРТОЧКА
боевых действий сил и средств на пожаре
1 дежурной смены, ПАСЧ-19 Ленинского РОЧС(ул.Рыбалко,20)
(Указать № дежурной смены, наименование подразделения МЧС и адрес)
1. По пожару происшедшему 24.05.2006 года по адресу : ул. Семенова, 31 надворное строение из восьми смежных сараев и отдельно стоящего гаража, ЖЭС-67 (Указать число, месяц, год, наименование, ведомственную принадлежность и адрес объекта)
2. Динамика развития пожара:
2.1. время возникновения пожара 18 часов 50 минут
(часы, минуты)
2.2. время обнаружения пожара 19 часов 04 минуты площадь пожара 10 (часы, минуты) (м.кв.)
2.3. время сообщения о пожаре 19 часов 07 минуты площадь пожара 14 (часы, минуты) (м.кв.)
2.4. время выезда первого подразделения 19 часов 08 минут площадь пожара18 (часы, минуты) (м.кв.)
2.5. время прибытия первого подразделения 19 час 16 минута площадь пожара 40 м.кв. (часы, минуты)
2.6. время подачи первого ствола 19 час 18 минуты площадь пожара 45 (часы, минуты) (м.кв.)
2.7. время вызова дополнительных сил и средств - часов - минуты площадь (часы, минуты) пожара - (м.кв.)
2.8. время сосредоточения дополнительных сил и средств - час - минут (часы, минуты) площадь пожара - (м.кв.)
2.9. время прибытия штаба (последующих РТП) - час - минут площадь (часы, минуты) пожара - (м.кв.)
2.10. время локализации пожара 19 час 25 минут площадь пожара 35 (часы, минуты) (м.кв.)
2.11. время ликвидации пожара 19 час 34 минут (часы, минуты)
2.12. время возвращения 20 часа 58 минут (часы, минуты)
3.Краткая оперативно-тактическая характеристика объекта (населенного пункта)
Отдельно стоящее одноэтажное строение высотой 3 метра, состоящее из восьми деревянных смежных сараев 1967 года постройки размером 5 на 10 метров и отдельно стоящий гараж 3 на 4 метра. Сараи полностью деревянные, разделены деревянными перегородками, кровля рубероидная по деревянной обрешетке. Отдельно стоящий деревянный гараж, обит жестью, крыша рубероидная по деревянной обрешетке. Расстояние до гаража составляло 2 метра, до соседних строений 10-15 метров. Возле дома №31 находится ПГ диаметром трубы 150 мм в исправном состоянии. Использовался для подачи воды в магистральные линии.
(Дата постройки и конструктивные особенности зданий; размеры в плане, этажность и высота, материал основных конструктивных элементов, расстояние до соседних зданий или сооружений; загрузка горючих материалов на один квадратный метр и вид материалов; наличие, вид и состояние противопожарного водоснабжения, степень использования при пожаре или причины неиспользования; наличие и вид автоматических установок пожаротушения, эффективность их применения; наличие первичных средств пожаротушения, эффективность их использования; наличие средства связи, их состояние и использование, причина их отсутствия или неудовлетворительной работы)
4.Возникновение и особенности развития пожара
Пожар возник в одном из сараев и стал распространяться по всей площади строения. Наличие только деревянных конструкций сараев способствовала быстрому распространению пожара по всей площади строения. Людей в горящем строении нет.
(Место возникновения; характер и скорость распространения пожара; особенности горения: взрывы, обрушения, вскипание, разбрасывание конструкций; другие характерные данные о развитии пожара)
5.Организация тушения пожара
На пожаре организовано 2 БУ: БУ-1 – защита отдельно стоящего гаража и соседних строений; БУ-2 – тушение пожара (До прибытия подразделений МЧС – обнаружение пожара, принятые меры по сообщению и тушению, какие средства и кем применялись для тушения, их эффективность, если тушение пожара не проводилось, указать по какой причине; действия аварийно-спасательной службы по тушению, спасанию, эвакуации имущества, разборке конструкций и др.; действия диспетчера ЦОУ (ПСЧ); время прибытия первых подразделений МЧС, обстановка на пожаре, действия первоприбывшего РТП; обстановка на пожаре к прибытию старшего РТП, принятые им решения; создание штаба, тыла, их состав, место расположения штаба и его оборудование; создание боевых участков, их расположение и кто назначен начальником; взаимодействие с аварийными и иными службами района, города, объекта; взаимодействие с администрацией объекта: привлечение рабочих и служащих, техники субъектов хозяйствования к работе на пожаре, организация питания и др.; меры, принятые по созданию преград, разрывов, использованию водоисточников, насосов-повысителей, стационарных систем тушения, устройству временных водоисточников; особенности, эффективность и порядок применения отделений и автомобилей специальных, инженерных и вспомогательных служб; механизированного инструмента, спецприборов; продолжительность работы; эффективность и влияние на исход тушения пожара)
6.Обстоятельства способствовавшие развитию пожара
Позднее обнаружение и позднее сообщение о пожаре в подразделения МЧС. Наличие только деревянных конструкций сараев способствовала быстрому распространению пожара по всей площади строения. Указанные строения длительное время не эксплуатировались и были подготовлены под снос.
(Позднее обнаружение; позднее сообщение; отсутствие связи; отсутствие, неисправность или удаленность водоисточников; плохое состояние дорог, проездов, подъездов; неудовлетворительное противопожарное состояние объекта; отсутствие мер борьбы с пожарами до прибытия подразделений МЧС; метеорологические условия (жара, ветер, холод, и др.); неисправность пожарной аварийно-спасательной техники (остановка в пути, отказ в работе насоса или двигателя, порыв рукавной линии), неисправность пожарного аварийно-спасательного оборудования, виды неисправности и причины; нехватка подразделений МЧС и пожарной аварийно-спасательной техники в районе, где произошел пожар, и другие причины)
7. Последствия пожара:
Огнем полностью уничтожены четыре сарая, смежные друг с другом, размерами 7 на 5 м, частично повреждены стены и кровля смежных сараев и стены, кровля отдельно стоящего гаража. Угроза распространения пожара на соседние постройки отсутствует. В сараях и отдельно стоящем гараже ничего не находилось.
(Уничтожено, сгорело или повреждено огнем и дымом; разрушено, вскрыто и разобрано конструкций здания (сооружения) во время тушения пожара; степень повреждения здания, сооружения, оборудования или транспортного средства и возможность их восстановления; степень влияния происшедшего пожара на процесс производства (работу учреждения, организации) и выпуск продукции; спасено: людей, материальных ценностей, животных; количество погибших людей, их должности, фамилии и возраст; количество людей, получивших травмы, их должности, фамилии, возраст; обстоятельства, при которых произошли несчастные случаи; причины несчастных случаев и виновные в этом лица; сведения о гибели животных (количество и виды погибших животных и обстоятельства, при которых они погибли))
8. Первый прибывший РТП:
Командир отделения ПАСЧ-28 пр-к вн. службы Бояревич В.Э.
(должность, звание, Ф.И.О.)
9. Последующий РТП:
Начальник караула ПАСЧ-19 л-т вн. службы Зинченко Д.Ф.
(должность, звание, Ф.И.О.)
10. Состав сил и средств подразделений МЧС: 2 АЦ ПАСЧ-19, АЦ ПАСЧ-28 (наименование технических средств, численность боевых расчетов)
11. Использование звеньев ____________
(Общее время работы, количество звеньев ГДЗС и наименование каких подразделений МЧС; наличие в горевшем здании (сооружении) ЛВЖ, ГЖ, газов или легкосгораемых материалов и веществ; наличие в горевших помещениях сильного задымления, ядовитых газов, выделявшихся при горении синтетических материалов, пластмасс и др. материалов)
12. На тушение пожара израсходовано огнетушащих веществ: 8000 л. Карточку составил:
13. Оценка положительных действий РТП по организации тушения пожара Пожар локализован своевременно. Силы и средства, задействованные для тушения пожара использовались грамотно и эффективно.
(Эффективность использования примененных огнетушащих средств и т.д., качество проведения разведки, правильная оценка обстановки и принятие квалифицированного решения по использованию сил и средств, имеющихся в распоряжении руководителя тушения пожара; правильное определение решающего направления; своевременное сосредоточение и введение сил и средств на решающем направлении, умелое управление ими; высокая тактическая выучка, активные и слаженные действия, дисциплинированность работников МЧС; высокая боевой готовностью технических средств и умение спасателей грамотно их эксплуатировать)
14. Оценка недостатков в действиях РТП по организации тушения пожара: недостатки отсутствуют
(Поздний вызов дополнительных сил и средств, некачественная разведка, неправильное определение решающего направления, ошибки в расстановке сил и средств, плохое управление подразделениями, незнание или не использование ближайших водоисточников, использование техники не на полную мощность, не производилась эвакуация имущества, не производилось вскрытие и разборка конструкций; не применялись современные способы тушения пожара, не использовались изолирующие противогазы и т.д.)
15. Результаты проведения разбора организации боевых действий сил и средств подразделений МЧС на пожаре: недостатки отсутствуют.
Разбор пожара провел
Приложение 1

Приложение 2

Совмещенный график изменения площади пожара, требуемого и фактического расхода подачи огнетушащих средств во времени.
Приложение 3
| Наименование подразделений и техники |
Численность боевого расчета, чел. |
Расстояние до места пожара, км |
Время (час., мин.) |
Количество и тип поданных стволов на тушение пожара (штук) |
Кол-во рукавов (штук) |
Продолжительность работы стволов (мин) |
Площадь пожара(м. кв.) |
Скорость распространения огня (м/с) |
Количество привлекаемых на тушение людей и технических средств (чел./един.) |
Примечание |
||||||||||||
| выезд |
Прибытие к месту пожара |
Введения стволов на тушение пожара |
«А» |
«Б» |
УИП (У), Игла (И), ствол высокого давления (СВД) |
др. стволы |
Лафетных |
ГПС (СВП, Пурга) |
Ø 51 мм |
Ø 66 мм |
Ø 77 мм |
К моменту прибытия 1-гоподразделения |
К моменту прибытия дополнительных сил и средств |
К моменту локализации пожара |
К моменту ликвидации пожара |
|||||||
| ПАСЧ-28 АЦ-40 137, 1 ед. |
6 |
2 |
19.08 |
19.16 |
19.18 |
- |
- |
- |
- |
40 |
45 |
35 |
0 |
3,6 |
- |
На тушение подавались 2 ствола «А» и 2 ствола «Б» |
||||||
| ПАСЧ-19 АЦ-40 137, 2 ед. |
6 |
6 |
19.08 |
19.16 |
19.18 |
2 |
2 |
2 |
16 |
40 |
45 |
35 |
0 |
3,6 |
||||||||
Литература
1. Кимстач И.Ф., Девлишев П.П., Евтюшкин Н.М. Пожарная тактика. - М.: Стройиздат, 1984. - 590 с.
2. Михалюк С.А. и др. Тактика спасательных работ и ликвидации чрезвычайных ситуаций. – Мн.: КИИ, 2005, - 91 с.
3. Теребнев В.В. Справочник руководителя тушения пожара. – М.: Пожкнига, 2004. – 248 с.
4. Постановление МЧС Республики Беларусь от 17 марта 2005 г. № 30 «Об утверждении Боевого устава органов и подразделений по чрезвычайным ситуациям».
5. Постановление МЧС Республики Беларусь от 17 марта 2005 г. № 32 «Об утверждении Инструкции по организации профессиональной подготовки в органах и подразделениях по чрезвычайным ситуациям Республики Беларусь».
6. Приказ МЧС Республики Беларусь от 22 ноября 2005 г. № 233 «Об утверждении Инструкции по составлению описаний пожаров и карточек боевых действий сил и средств на пожаре».
7. Астапов В.П., Воробьев В.К., Шишканов М.А. Деловые игры по пожарной тактике. – Мн., 1999.