| Скачать .docx |
Реферат: Безопасность труда при выполнении работ в канализационной сети, сети газоснабжения, колодцах, емкостях, резервуарах
Реферат на тему:
«БЕЗОПАСНОСТЬ ТРУДА ПРИ ВЫПОЛНЕНИИ РАБОТ
В КАНАЛИЗАЦИОННОЙ СЕТИ, СЕТИ ТЕПЛОГАЗОСНАБЖЕНИЯ, КОЛОДЦАХ, ЕМКОСТЯХ, РЕЗЕРВУАРАХ»
Введение
В жаркую безветренную погоду, при работе в глубоких колодцах и траншеях, могут создаваться опасные условия для здоровья людей. Спускаясь в глубокие узкие канавы, колодцы и производя там работы, человек поглощает кислород и выделяет большое количество углекислоты (до 40 литров в час). Это приводит к тому, что в рабочем месте создается застойная зона, где концентрация кислорода может быть 18% и менее, а содержание углекислоты 10% и более. Рабочий не замечает, как появляется отдышка, усиленное потоотделение. А если и замечает, то объясняет это усиленной работой. Постепенно самоконтроль у рабочих пропадает. Поэтому важно знать, когда может создаться опасная ситуация. Для оценки производственной обстановки во-первых, определяют объем, в котором может создаться застойная зона по содержанию О2 или СО2 . В качестве примера будем считать, что в колодце, площадью основания 1м2 работает рабочий саперной лопатой, стоя на коленях. Высота от данного колодца до верхнего среза головы равна 1м. Тогда опасный объем равен 1м3 . Во-вторых, оцениваем сколько литров О2 или СО2 может быть в застойной зоне, если весь газ выделяемый человеком считается в опасном объеме. Принимаем содержание СО2 (удельный вес 1,52) в застойной зоне 6%, когда появляется у рабочего отдышка, слабость и наступает утомление организма. Тогда согласно нашего примера в 1м3 объема воздуха будет примерно 1000·6·100=60л СО2 . В-третьих, рассчитываем максимально возможное время работы. В нашем примере, условия работы – тяжелые. Рабочий выделяет 40л СО2 в час. Следовательно, максимальное время работы будет(60:40) 1,5 часа. В- четвертых, мастер или прораб, с учетом максимального времени работы, планируют периодичность контроля состава воздуха, проветривания колодца, траншеи и периодичность работы и отдыха.
Установлено, что углекислый газ вытесняет кислород из соединения гемоглобина и обратно, избыточный кислород может вытеснять окись углерода из соединения с гемоглобином. Поэтому при отравлении человека окись углерода, необходимо, как можно быстрее перенести его на свежую струю и произвести искусственное дыхание. Вдыхание воздуха с окисью углерода с концентрацией 0,128% в течение 0,5-1 часа может вызвать тяжелое отравление; с концентрацией 0,4 – смертельно, даже при кратковременном воздействии. При концентрации 1% человек теряет сознание после нескольких вздохов, и через 1-2 минуты наступает смерть. Наибольшее количество СО2 , которое может быть поглощено кровью человека составляет приблизительно 300см3 .
Следует обратить внимание на большую токсичность СО и его малую растворимость, на большой удельный вес СО2 , что ведет к его накоплению в застойных местах, создает угрозу давления.
Безопасная производственная деятельность обусловливается с одной стороны разработкой качественного проекта производства работ, с другой – правильной и четкой организацией рабочего места и проведением работ с учетом выделения вредных и ядовитых веществ.
Основные требования безопасности при работе в емкостях и резервуарах
1. Состав и общие обязанности бригад (расчетов).
При наружном (поверхностном) осмотре канализационной сети, емкостей и т.д., расчет состоит из 2-х человек (один из них старший). При наружном осмотре опускаться в колодцы категорически запрещается.
Работы в колодцах, емкостях ведет бригада из 3-х человек: бригадир или руководитель расчета и двое рабочих (один для работы в колодце, второй – для работы на поверхности, и для наблюдения и в случае необходимости оказания помощи работающему в колодце). Поручать наблюдающему выполнять какие – либо другие работы, с момента установки знаков и ограждения до закрытия крышки люка, снятия знаков и ограждения, категорически запрещается. Нарушение этого положения очень часто приводит к несчастным случаям.
Один рабочий (боец) работает в колодце, второй держит конец страховой веревки. Потом меняются рабочими местами. Работать в колодце можно не более 45 минут, после чего предоставляется отдых вне его на 15 минут. Работа в колодце в противогазе с выкидным шлангом без перерыва разрешается не более 10 минут. Категорически запрещается спускаться в колодец без предохранительного пояса независимо от того, имеется в колодце газ или нет.
При работе с тепловой сетью и газоопасные работы должны выполняться под непосредственным руководством инженерно-технического работника, за исключением выполнения ремонтных работ без применения сварки и газовой резки на газопроводах с давлением газа не более 1961,33 Па (0,02 атм.), у которых максимальный диаметр составляет 32мм.
При техническом осмотре проходного канализационного канала должны присутствовать ответственные работники службы эксплуатации. Осмотр производится двумя группами. Одна группа – не менее трех человек во главе с начальником расчета – проходит по каналу, другая – не менее четырех человек во главе с помощником начальника расчета – находится на поверхности и следит за продвижением первой группы. Эта же группа проверяет наличие газа в колодцах газоанализатором или бензиновой лампой ЛБВК и оказывает помощь группе, проходящей по каналу.
Для определения содержания в воздухе взрывоопасных газов (метан, пропан, водород, ацетон и др.) применяют кроме газоанализаторов переносные оптические газоопределители: ШИ – 3; ШИ – 5; ШИ – 6, и др.
Каждый боец, находящийся в канале должен иметь при себе взрывобезопасный аккумуляторный фонарь и кислородный изолирующий противогаз КИП-5. При работе в коллекторах и каналах расчет (бригада) состоит из пяти человек (двух рабочих – в коллекторе, снабженных кислородными изолирующими противогазами КИП-5 или КИП-7 лампой с взрывобезопасном исполнении на 12 В; одного наблюдающего за ними – в колодце, в ближнем к месту работы, этот рабочий снабжается шланговым противогазом ПШ-1 или ПШ-2; одного рабочего и старшего – на поверхности). Если в период выполнения работ на объекте присутствуют старшие по должности лица, то они дают свои указания только через руководителя работ.
2. Оснащение расчетов (бригад)
Оснащение рассматривается для бригады из трех человек, выполняющей работы в колодцах, камерах, коллекторах и т.д.
а) два предохранительных лямочных пояса испытанных нагрузкой 1960 Н (200 кг с) и веревкой испытанной на разрывное усилие 11760 Н, (1200 кг с). Длина веревки троса должна быть на 3 м больше глубины колодца. Спасательные пояса должны иметь наплечные ремни с кольцом на их пересечении со стороны спины для привязывания веревки;
б) два кислородных изолирующих (КИП-7) или шланговых (ПШ-1, ПШ-2) противогаза со шлангом длиной, превышающей глубину колодца на 2м. Заменять этот противогаз фильтрующим категорически запрещается;
в) два газоанализатора или две бензиновые лампы ЛБВК. Лампу до выдачи бригаде, заправляют, проверяют на герметичность и пломбируют.
г) два аккумуляторных фонаря направлением не выше 12В. Заменят такой фонарь источником света с открытым огнем, запрещается.
д) вентилятор.
е) Крючки и ломы для открывания крышек колодцев, инструменты, спецодежда. В загазованной среде надо применять крючки, лапы, молотки и кувалды, сделанные из цветного метала. При отсутствии такого инструмента необходимо смазывать тавотом, солидолом ил другими консистентными смазками для предупреждения образования искры. Применение электродрелей и других электрических инструментов, дающих искрение, запрещается.
Бойцы (рабочие), выполняющие газоопасную работу в колодце, резервуаре и других тому подобных местах, должны быть в обуви без стальных подковок и гвоздей, в противном случае на эту обувь следует надевать галоши.
ж) оградительные, переносные знаки (предупреждающие и запрещающие) и сигнальные фонари, используемые в ночное время, ограждение. При работе днем применяется знак в виде плоского треугольника, окрашенного в белый цвет и окаймленного красной полоской; этот знак устанавливается на раздвижной металлической треноге. При работе в ночное время к треноге прикрепляется сигнальный фонарь с линзой красного цвета.
3.Последовательность (технология) выполнения работ
Руководители до начала работ обязаны под расписку проинструктировать рабочих, и выдать наряд-допуск, применительно к условиям работы и потребовать соблюдения действующих правил безопасности и инструкций. Рабочие перед работой устанавливают ограждение колодца и предупреждающий знак (с линзой красного цвета) на расстоянии 5м от колодца против движения транспорта. При работе в колодце в зимнее время площадку вокруг люка необходимо тщательно очистить от снега или льда и посыпать песком. Инструмент, материалы и инвентарь для работы располагается не ближе 1м от люка (устья) с целью исключения их падения в колодце. При расположении колодца вблизи трамвайных или железнодорожник путей запрещается складывать материалы и инвентарь на расстоянии не ближе 2м от путей. Открывать крышу колодца можно только с помощью специального крючка, браться за край крышки руками запрещается. При проверке на загазованность одну сторону этой крышки следует приподнять на 50-80 мм и под крышку вставить деревянную накладку.
Анализ состава газа проводят с помощью газоанализатора или с помощью лампы ЛБВК.
Категорически запрещается бросать в колодец зажженные спички, бумагу и спускать горячую свечки или зажженный фонарь, чтобы установить наличие газа. Во избежание взрыва категорически запрещается курить, зажигать спички и применять открытый огонь в колодце, над открытым колодцем и вблизи него. Проветривать колодцы с целью удаления газа можно несколькими способами. Естественное проветривание осуществляется при открытии крышек соседних (выше- и нижележащих) колодцев. Проветривание можно осуществить с помощью вентиляторов различных типов, компрессоров. Шланг от работающего вентилятора и компрессора вводится в колодец очень медленно сверху вниз, чтобы избежать образования взрывных концентраций. Удаление газа из колодца можно добиться путем его затопления водой, с последующей откачкой (удаление газов, которые тяжелее воздуха ).
Состав воздуха проверяется газоанализатором или лампой ЛБВК. Если вредные газы не удается удалить полностью, то разрешается спускаться в колодец только с предохранительным поясом и в противогазе ПШ-1 с выкидным шлангом, выходящим на поверхность земли на 2м в сторону от люка с наветренной стороны. Рабочий, спускающийся в колодец, надевает предохранительный лямочный пояс и подгоняет его так, чтобы кольцо располагалось не ниже лопаток, веревку с кольцом соединяют путем вплетения.
Перед спуском в колодец (камеру) необходимо проверять наличие и целостность ходовых скоб и прочности их заделки.
После выполнения всех мероприятий рабочий спускается в колодец, а второй – страхует. Страховка заключается в том, чтобы рабочий, находящийся на поверхности держал страховочный канат под небольшим натяжением и находился в 1м от устья люка с наветренной стороны. Такое расположение рабочего исключается его отравление газами, выходящими из колодца. Натяжение каната должно не мешать работать в колодце и дает возможность почувствовать опасность по изменению натяжения каната, если случиться несчастный случай.
Если из колодца газ полностью не удален, то запрещается производить операции, которые могут вызывать образование искр (например, нельзя ударять молотком по металлу, долбить ломом бетон и т.д.). Задвижки, расположенные в колодцах, рекомендуется открывать или закрывать ключом-вилкой на длинной шланге без спуска бойца в колодец. При работах в колодцах, котлованах и траншеях надо следить за направлением ветра, бойцы-наблюдатели должны быть с наветренной стороны. В эту сторону должны быть уложены и шланги противогазов. Между рабочими, работающими в колодце, и на поверхности должна быть установлена связь с помощью сигнального или страховочного троса (каната). Сигнал опасности должен иметь наименьшее количество условных сигналов. После окончания работ и подъема рабочего крышка люка сразу закрывается, убирается инструмент и материалы, снимается ограждение, знаки и только после этого старший (мастер-бригадир) прекращает наблюдение за рабочим местом.
4. Технологические особенности при работе с паропроводом и газопроводом, которые находятся под давлением
Проверка плотности мест соединения газопроводов и врезок, а также отыскание мест утечек газа на подземных и внутренних газопроводах и на другом внутридомовом газовом оборудовании производится только мыльной эмульсией. Проверка огнем категорически запрещается. При разъединении трубопровода, снятии различной арматуры, контрольно-измерительных приборов необходимо работать в рукавицах и пользоваться защитными экранами или щитками, установленными между бойцом и разъединяемой арматурой в качестве защиты от возможного прорыва струй горячей воды или пара.
Разработка арматуры, резьбовых соединений газопроводов, резервуаров сниженного газа должна производиться после продувки их воздухом или инертными газами. При невозможности продувки допускается выполнение указанных работ при давлении газа не свыше (120мм водного столба)=1177 Па. Разборка резьбовых соединений конденсатосборников среднего и высокого давлений допускается при давлении газа не выше 98066,5 Па (1 атмосфера). Газопроводы, находящиеся под давлением газа не выше 98066,5 Па (1 атмосфера). Газопроводы, находящиеся под давлением газа, демонтировать запрещается. Производить демонтаж можно только после удаления из газопровода газа путем тщательной продувки и последующего анализа оставшегося воздуха, концентрация воздуха в котором не должна превышать 0,5% по объему.
В случае воспламенения газа при утечке его из газопровода низкого давления тушение пламени производится путем замазывания места выхода газа глиной;набрасывания на пламя мокрых брезентов или кошмы;сбивания пламени струей воды, воздуха или инертного газа (азота, углекислого газа) давлением 392266-588399 Па (4-6 атмосфер).
На газопроводах высокого и среднего давления тушение пламени осуществляется путем частичного закрытия задвижек для снижения давления газа не ниже 392 Па (40 мм ртутного столба), после чего пламя обязательно гасится одним из указанных выше способов.
5. Технологические особенности при сварке и резке трубопроводов в колодцах
При наличии горючего газа производить сварочные работы не разрешается. Крышка люка и перекрытие колодца при газовой сварки и резке должны быть сняты.
Газовая сварка и резка на действующих газопроводах ведутся при условии, если давление газа в них находится в пределах 392-13330 Па (40-100 мм водного столба), что должно проверяться во время работы по манометру. Если давление газа превышает верхний указанный предел, оно должно быть снижено. При снижении давления ниже 392 Па (40 мм водного столба), сварка и резка должны быть прекращены.
СОВРЕМЕННЫЕ СПОСОБЫ ОЧИСТКИ ВЫБРОСОВ В АТМОСФЕРУ
Выбросы в атмосферу вредных веществ ведут к нарушению экологического равновесия природной среды. Основными способами очистки воздуха от паров и газов являются сорбционные и окислительные (Рис.2.3.9.). При применении сорбционных методов вредные вещества извлекаются из газового потока твердыми или жидкими поглотителями. Собственно сорбционные способы можно разделить на две большие группы - адсорбционные иабсорбционные способы.
Адсорбционный метод. При применении адсорбционного метода улавливаются пары многих органических растворителей органических и неорганических веществ. Принцип построения установок очень прост и практически постоянный для работы по улавливанию различных газов. Адсорбционная установка состоит из двух адсорберов, заполненных твердымпоглотителем (адсорбентом) и вспомогательного оборудования. Загрязненная газо-воздушная смесь, проходя через слой адсорбента, очищается от вредных примесей, а адсорбент насыщается поглощенным веществом. После полного насыщения поглотитель заменяется новым, а старый регенерируется. Регенерация, как правило, осуществляется обдувкой водяным паром. В результате такой работы, поглотитель очищается, а вредные вещества конденсируется в виде ценных растворителей, и возвращаются в производство. В качестве адсорбентов широко используются вещества с высокоразвитой удельной поверхностью и пористостью, такие как активированный уголь, пемза, силикагель, окись алюминия, цеолиты и другие поглотители.Достоинством адсорбционного метода является высокая эффективность очистки выбросов от вредных (ядовитых) веществ, которая достигает 97-99%. Возвращение (рекуперация) уловленного вещества в производства осуществляется в виде товарного продукта. Недостатками адсорбционного метода является высокая эффективность очистки вредных выбросов только при низких температурах. Однако вредные выбросы производства в атмосферу в большинстве своем имеют высокую температуру, что затрудняет применение адсорбционного способа очистки. Существенными недостатками являются ограниченный срок службы адсорбента и большие энергозатраты, связанные с его регенерацией, низкие объемные скорости (м3 /с) очистки, что приводит к увеличению адсорбентов.
Абсорбционный метод основан на физическом и химическом поглощении жидкими абсорбентами токсичных газообразных веществ. Обезвреживание производится в скрубберах, барботажных и пенных аппаратах, ловушках, трубах Вентури. В абсорбционной колонне промывочная жидкость, (с которой контактируют загрязненные газы), может быть представлена водой, едким натром, известковым молоком, аммиачной щелочью, раствором соды и др. Эффективность очистки с применением аппаратов различных конструкций колеблется от 90- 99%.
К недостаткам абсорбционного способа очистки вредных выбросов в атмосферу можно отнести следующие. Это громоздкое оборудование, требующее больших производственных площадей; образование твердых осадков, забивающих оборудование; возникновение коррозионных сред; охлаждение вредных выбросов до температур 30С –40С; нейтрализация сточных вод.
Для санитарной очистки выбросов, имеющих многокомпонентный состав вредных горючих веществ, применяют окислительные способы. Окислительные способы можно разделить на две большие группы – прямое сжигание и каталитическое дожигание.
Каталитическое дожигание
Предприятия промышленности часто выбрасывают в атмосферу вредные выбросы с очень малой концентрацией (до 2 г/м3 ) токсичных горючих газов. Прямое сжигание их экономически не выгодно, так как для поддерживания высокой температуры (950С – 1300С) требуется большой дополнительный расход топлива.
Процесс очистки газовоздушной смеси при каталитическом дожигании протекает при низкой температуре 250С – 450С, с разрушением молекул органического вещества до СО2
(диоксида углерода) и H2
O. Преимущество данного способа заключается в его универсальности, так как можно очищать выбросы с различными вредными горючими веществами; простотой аппаратурного оформления; небольшими габаритами; пониженным расходом топлива (на 20 – 60 % меньше, по сравнению с прямым сжиганием) за счет применения катализаторов; высокой эффективностью очистки (97
2%); отсутствием побочных продуктов очистки.
Прямое сжигание
Если выбросы в атмосферу имеют многокомпонентный состав горючих газов и высокую концентрацию, то необходимо обезвреживать выбросы прямым сжиганием в специальных топочных устройствах (нейтрализаторах) или в открытом диффузионном факеле.
Экономически каталитический способ в три раза дешевле других методов очистки. Выбор технологической схемы очистки и конструкции аппаратов зависит от конкретных условий производства, количества, температуры выбросов, состава и концентрации горючих компонентов и других факторов.

Рис. 2.3.10. Каталитические нейтрализаторы НК и НКД.
Принципиальная схема установки каталитического дожигания (2.13.) включает вентилятор – для протягивания загрязненного воздуха; теплообменник – подогреватель, в котором воздушная смесь нагревается до определенной температуры и контактный аппарат, где на катализаторе при повышенной температуре происходит деструктивное окисление токсичных соединений.
Катализатор должен характеризоваться большой удельной поверхностью, стойкостью к контактным ядам, высокой механической прочностью, термостойкостью, легкостью регенерации, обладать сроком службы от 3 до 5 лет.

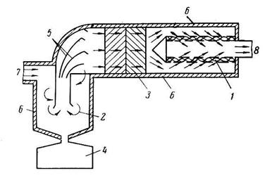
Рис.2.3.11. Схема нейтрализатора выхлопных газов с каталитическим дожиганием: 1 – катализатор; 2 – фильтр грубой очистки; 3 – фильтр тонкой очистки; 4 – масло и топливосборник; 5 – лопатки для выравнивания газового потока; 6 – теплоизоляционный слой; 7 – газы от двигателя; 8 – выход газов в атмосферу
Материалом для катализаторов может быть силикагель, окись алюминия, окислы не благородных металлов и т.д. По форме катализаторы могут быть с упорядоченной структурой и насыпные катализаторы (рис.3.5.2.). Насыпные катализаторы представлены в виде проволок, гранул, сеток. Однако они создают высокое сопротивление газовому потоку до 2943 Па и выше. Катализаторы с упорядоченной структурой очень эффективны и по форме напоминают гофрированную ленту, фарфоровые стержни.
Таким образом, для предупреждения загрязнения атмосферы промышленными выбросами необходимо более широко и квалифицировано применять современные способы очистки и своевременно контролировать их эффективную работу.