| Похожие рефераты | Скачать .docx |
Реферат: Противодымная защита. Системы пожаротушения
Белорусский государственный университет информатики и радиоэлектроники
Кафедра РЭС
РЕФЕРАТ
На тему:
«Противодымная защита. Системы пожаротушения»
МИНСК, 2008
Противодымная защита многоэтажных зданий и сооружений
В последнее десятилетие в нашей стране, как и в ряде, технически развитых зарубежных странах, наблюдается тенденция увеличения объемов строительства многоэтажных зданий и сооружений. Это объясняется ростом населения городов, стремлением более эффективно использовать дорогостоящие земельные участки и сохранить природные защитные зоны вокруг городов, относительным сокращением затрат на строительство и эксплуатацию инженерных коммуникаций, транспортных и других систем городского обслуживания, необходимостью улучшения бытовых условий и трудовой деятельности населения.
Проектирование и строительство многоэтажных зданий и сооружений является чрезвычайно сложной инженерной задачей, связанной с целым рядом градостроительных, архитектурно-планировочных, конструктивных, а также социологических, физиологических и других проблем, требующих специального изучения и комплексного решения. Одной из таких проблем является противодымная защита многоэтажных зданий и сооружений. Противодымная защита многоэтажных зданий и сооружений включает в себя инженерно-технические и объемно-планировочные решения, направленные на предотвращение задымления при пожаре путей эвакуации и уменьшению их задымлению. Эти мероприятия необходимы для обеспечения безопасности людей при пожаре, уменьшения материальных потерь от пожара, создание безопасных условий работы для работников органов и подразделений по чрезвычайным ситуациям по спасению людей, обнаружению и ликвидации очага пожара. Требования к исполнению систем противодымной защиты и отдельных ее элементов изложены в СНБ 4.02.01-03 «Отопление, вентиляция и кондиционирование воздуха». В зависимости от объемно-планировочного решения и этажности здания система противодымной защиты в себя может включать - систему дымоудаления из помещений и (или) коридоров, систему обеспечения незадымляемости лестничных клеток, систему подпора воздуха в шахты лифтов, лестнично-лифтовые, лестничные и лифтовые холлы.
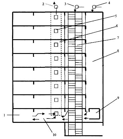
Основной задачей системы противодымной защиты многоэтажных зданий и сооружений является обеспечение незадымляемости вертикальных путей эвакуации из здания при пожаре, которая решается путем устройства систем дымоудаления из коридоров (помещений) и систем подпора воздуха в лестничные клетки и шахты лифтов. Типичная схема противодымной защиты многоэтажных зданий и сооружений включает в себя систему дымоудаления из коридора этажа пожара, незадымляемые лестничные клетки, систему подачи наружного воздуха в шахты лифтов. Система дымоудаления состоит из шахты, выстроенной на всю высоту здания и оборудованной вытяжным вентилятором. На каждом этаже в шахте имеется проем, закрытый клапаном дымоудаления. Принципиальная схема системы противодымной защиты многоэтажных зданий и сооружений и схема направлений воздушных потоков при пожаре в помещении или квартире 1 этажа представлены на рис.1.

Рис.1
Принципиальная схема системы противодымной защиты многоэтажных зданий и сооружений
1 - квартира (помещение),2 - вытяжной вентилятор, 3,4 - приточные вентиляторы,5 - клапан дымоудаления,6 - шахта дымоудаления,7 - незадымляемая лестничная клетка второго типа (Н2),8 - шахта лифтов,9 - лифт, 10 - коридор, - ► - направления движения воздушных потоков.
При возникновении пожара в квартире (помещении) 1 продукты горения через прогоревшую (открытую) дверь выходят в коридор 10. При этом открывается клапан дымоудаления в коридоре на этаже пожара и начинает работать вентилятор дымоудаления. Затем через 25-30 секунд, для недопущения распространения во время пожара продуктов горения (дыма) по вертикали и для создания избыточного давления в шахтах лифтов и незадымляемых лестничных клетках второго типа (Н2) по отношению к смежным помещениям, включаются вентиляторы подачи воздуха на незадымляемые лестничные клетки и в шахты лифтов. Интервал между включением вентиляторов необходим ля того, чтобы избежать совпадения пусковых токов электродвигателей вентиляторов.
Незадымляемые лестничные клетки в соответствии с СНБ 2.02.01-98* подразделяются на три типа:
Н 1 - с входом в лестничную клетку с этажа через наружную воздушную зону по открытым переходам, при этом должна быть обеспечена незадымляемость перехода через воздушную зону (рис.2);
Н 2 - с подпором воздуха в лестничную клетку при пожаре (рис.3);
Н 3 - с входом в лестничную клетку с этажа через тамбур-шлюз.

Рис.2 Пример незадымляемой лестничной клетки Н1.
1 - шахта дымоудаления; 2 - незадымляемая лестничная клетка первого типа (H1); 3 - переход на лестничную клетку; 4 - балкон; 5 - шахты лифтов; 6 - лифтовой холл; 7 - поэтажный коридор; 8 - квартира (помещение).
Дымоудаление предусматривается:
· из коридоров и холлов зданий любого назначения высотой более 26,5 по уровню пола;
· из коридоров без естественного освещения (через окно в наружной стене), предназначенных для эвакуации 50 и более человек;
· из торговых залов без естественного освещения независимо от площади (хотя бы 1м2 );
· из складских помещений (гаражей, стоянок) если оконные проемы расположены 30м. и более от места складирования;
· из помещений с массовым пребыванием людей (50 человек и более) не имеющих естественного освещения;
· из помещений площадью более 55м2, предназначенных для хранения и использования горючих материалов, если в них имеются постоянные рабочие места;
Допускается не устанавливать дымоудаление если:
· площадь помещения менее 200м2, но имеется автоматическая установка пожаротушения;
· в помещении где установлено газовое пожаротушение;
· в помещении в котором время заполнения помещения дымом меньше чем время эвакуации людей (расчетные).
В состав оборудования систем дымоудаления входят вентиляторные установки, системы трубопроводов с управляемыми заслонками, автоматики контроля состояния оборудования (включено, закрыто и т.п.).
Аэродинамические испытания
Основополагающими документами, которые устанавливают порядок и периодичность проведения приемо-сдаточных и периодических испытаний вентиляционных систем противодымной защиты зданий и сооружений с искусственным побуждением, являются Нормы пожарной безопасности республики Беларусь «Противодымная защита зданий и сооружений. НПБ 23-2000 «Методы приемосдаточных и периодических испытаний» и ГОСТ 12.3.018-79 «Системы вентиляционные. Методы аэродинамических испытаний».
Приемо-сдаточные испытания систем противодымной защиты проводятся при приемке в эксплуатацию вновь строящихся, реконструирумых и ремонтируемых зданий, а также при завершении капитального и восстановительного ремонта систем противодымной защиты. Периодические испытания проводят согласно технико-эксплуатационной документации здания, но не реже одного раза в год. Приемо-сдаточные и периодические испытания систем противодымой защиты зданий должны проводиться специализированными организациями, имеющими лицензию на 1давощэоведения работ по монтажу, ремонту, обслуживанию, и наладке указанных систем в присутствии представителей государственного пожарного надзора.
Все измерения при проведении аэродинамических испытаний должны выполняться с соблюдением требований ГОСТ 12.3.018. Перед началом аэродинамических испытаний в здании воспроизводят ситуацию, указанную в НПБ 23-2000 п.4.2-4.4. Все измерения при аэродинамических испытаниях систем противодымной защиты выполняют не ранее чем через 15 минут после создания в здании ситуации по пунктам 4.2-4.4. и включения вентиляторов системы противодымной защиты.
При проведении аэродинамических испытаний рекомендуется применять следующие средства измерений:
· комбинированный приемник давления - для измерения динамических и полных давлений потока при скоростях движения воздуха более 5 м/с и статических давлений в установившихся потоках;
· ифференциальные манометры - для регистрации перепадов давлений;
· анемометр - для измерения скоростей воздуха менее 5 м/с; барометр - для измерения давления в окружающей среде;
· термометр - для измерения температуры воздуха;
· психрометр - для измерения влажности воздуха;
· тахометр - для определения количества оборотов вала электродвигателя и вентилятора;
· секундомер - для определения временных интервалов при проведении испытаний;
· линейка - для определения координат точек измерения давлений и скоростей, геометрических параметров воздуховодов и клапанов дымоудаления.
При проведении испытаний определяют аэродинамические характеристики вентиляционных систем, избыточные статические давления в защищаемых объемах (лестничные клетки, шахты лифтов, лифтовые и лестничные холлы, тамбур-шлюзы), расход воздуха, удаляемого через дымовые клапаны непосредственно из помещений, коридоров (холлов) на путях эвакуации, расход (скорость движения) воздуха в двери при выходе с этажа (помещения) на пути эвакуации. Места измерения перечисленных контролируемых параметров определяются с учетом требований ГОСТ 12.3.018, конструктивного решения системы противодымной защиты и объемно-планировочных решений здания.
Аэродинамические характеристики вентиляционных систем и избыточные статические давления в защищаемых объемах здания определяют при помощи комбинированного приемника давления и дифференциального манометра. Избыточные статические давления в защищаемых объемах измеряются по отношению к примыкающему помещению (холлу, коридору и другим помещениям), при этом приемники статического давления в этих помещениях размещаются на одной высоте и располагаются на расстоянии не менее 0,5 метра от ограждающих конструкций.
Скорость движения воздуха в проемах дверей, отверстиях клапанов и других проемах определяют при помощи анемометра.
Принципиальная схема измерений параметров системы противодымной защиты и газообмена на этажах здания при работе вентиляционной системы противодымной защиты приведена на рис.3.

Рис 3. Принципиальная схема измерений
1 - шахта дымоудаления,2 - незадымляемая лестничная клетка второго типа (Н2),3 - шахты лифтов,4 - поэтажный коридор, -► - направления движения воздушных потоков.
Величина избыточного статического давления в защищаемых объемах должна быть не менее 20 Па. Величина измеряемого объемного расхода воздуха, удаляемого из помещения или коридора, должна быть не менее расчетного значения. Максимальный перепад давления на дверях путей эвакуации не должен превышать 150 Па. Расход воздуха, подаваемый в тамбуры-шлюзы, работающие при пожаре с одной открытой дверью в коридор, холл или подвальный этаж, следует определять расчетом или по скорости воздуха в проеме двери (скорость воздуха должна быть не менее 1,3 м/с).
Результаты испытаний систем противодымной защиты должны содержать:
· полный адрес, характер использования, ведомственную принадлежность, серию типового проекта здания (при наличии);
· вид испытаний (приемо-сдаточные или периодические);
· перечень средств измерения применяемых при проведении аэродинамических испытаний с указанием заводского номера и даты поверки (калибровки);
· краткую характеристику системы противодымной защиты, включающую в себя сведения о ее конструктивном решении, установленном оборудовании;
· схемы системы дымоудаления и приточной вентиляции;
· сведения о техническом состоянии системы противодымной защиты на момент проведения испытаний;
Системы пожаротушения
Для тушения пожара могут использоваться технические средства ручного применения: лопаты, багры, ведра, песок, огнетушители (углекислотные, пенные, Порошковые. др.) Автоматические системы пожаротушения предназначены для автоматического тушения (обнаружения и тушения) возникающих пожаров в начальной стадии их развития.
Перечень помещений, для которых должно быть предусмотрено автоматическое пожаротушение, правила проектирования, монтажа и обслуживания систем автоматического пожаротушения определяются в соответствии с требованиями нормативных документов.
Различают системы пожаротушения:
- Спринклерные. Спринклерная установка в дежурном режиме находится под давлением создаваемым автоматическим водопитателем. При вскрытии оросителя давление падает, вскрывается КСК и по подводящему трубопроводу из водопитателя поступает вода. Одновременно вода подается к сигнальному прибору и включает основной водопитатель (насос).
- Дренчерные водяные. Дренчерная установка приводится в действие тросовым, гидравлическим (пневматическим) или электрическим побудителем.
- Пенные - те же дренчерные. Общеповерхностного типа, локально-поверхностного, общеобъемного, локально-объемного. Пенообразователи - алкилсульфаты, сланцевые поверхностно-активные вещества.
- Газовые – (Азот-газ без цвета и запаха). Огнегушащий эффект - за счет разбавления продуктов реакции в зоне горения - 40 - 60% объема помещения Углекислый газ - эффект тот же, концентрация менее 30% по объему. Фреон - концентрация 1,9% по объему. Существуют газопенные установки пожаротушения.
- Порошковые – высокая огнетушащая способность, универсальность (тушатся материалы, не подлежащие тушению водой). Эффект тушения - ингибирование хим. реакции, разбавление горючей среды, огнепреграждение.
- Паровые – с применением пара.
Системы пожаротушения могут быть автономными и сетевыми.
Нормативные документы, регламентирующие деятельность по пожарной безопасности в части проектирования, монтажа, наладки и технического обслуживания систем пожарной автоматики и противодымной защиты
| № п/п | Обозначение документа |
Наименование документа |
| СНБ 2.02.02-01 | Эвакуация людей при пожаре | |
| СНБ 2.02.05-04 | Пожарная автоматика | |
| СНиП 2.01.02-85* (изд. 1991г) | Противопожарные нормы | |
| СНБ 4.01.02-03 | Отопление, вентиляция и кондиционирование | |
| СНБ 4.01.02-03 | Противопожарное водоснабжение | |
| СНБ 2.02.01-98 | Пожарно-техническая классификация зданий, строительных конструкций и материалов | |
| СНиП 3.05.07-85 | Системы автоматизации | |
| РД 25 953-90 | Системы автоматического пожаротушения, пожарной, охранной и охранно-пожарной сигнализации. Обозначения условные графические элементов систем | |
| ГОСТ 12.4.009-83 | Пожарная техника для защиты объектов. Основные виды. Размещение и обслуживание. | |
| ГОСТ 12.1.004-91 | Пожарная безопасность. Общие требования. | |
| СТБ 11.0.02-95 | Пожарная безопасность. Общие определения. | |
| СТБ 11.16.01-97 | Системы пожарной сигнализации. Общие требования. | |
| СТБ 11.0.03-95 | Пассивная противопожарная защита. Термины и определения | |
| СТБ 1392-2003 | Цвета сигнальные и знаки безопасности. | |
| ВСН 25-09.68-85 | Правила производства и приемки работ. Установки охранной, пожарной и охранно-пожарной сигнализации. Пособие к ВСН 25-09.68-85 «Правила производства и приемки работ. Установки охранной, пожарной и охранно-пожарной сигнализации». |
|
| ВСН 25-09.67-85 | Правила производства и приемки работ. Автоматические установки пожаротушения. Пособие к ВСН 25-09.67-85 «Правила производства и приемки работ. Автоматические установки пожаротушения». |
|
| НПБ 15-2004 | Нормы пожарной безопасности Республики Беларусь. Область применения автоматических систем пожарной сигнализации и установок пожаротушения. | |
| НПБ 65-2003 | Противодымная защита и автоматическая пожарная сигнализация жилых зданий. Организация и порядок проведения работ по наладке, приемке в эксплуатацию и эксплуатации | |
| Информационный перечень средств противопожарной защиты, производимых в Республике Беларусь | ||
| Перечень средств противопожарной защиты, разрешенных для применения на территории Республики Беларусь | ||
| НПБ 41-2001 | Нормы пожарной безопасности РБ. Установки водяного и пенного пожаротушения автоматические. Узлы управления. Общие технические требования. Методы испытаний | |
| НПБ 37-2002 | Нормы пожарной безопасности РБ. Системы пожарной сигнализации адресные. Общие технические требования. Методы испытаний | |
| НПБ 44-2002 | Нормы пожарной безопасности РБ. Приборы и аппаратура автоматических установок пожаротушения и пожарной сигнализации. Помехоустойчивость и помехоэмиссия. Общие технические требования. Методы испытаний | |
| НПБ 56-2002 | Нормы пожарной безопасности РБ. Пожарная техника. Оросители водяные спринклерные для подвесных потолков. Общие технические требования. Огневые испытания | |
| НПБ 57-2002 | Нормы пожарной безопасности РБ. Технические средства оповещения и управления эвакуацией пожарные. Общие технические требования. Методы испытаний. | |
| НПБ 61-2003 | Нормы пожарной безопасности РБ. Установки водяного и пенного пожаротушения автоматические. Оповещатели пожарные звуковые гидравлические, Общие технические требования. Методы испытаний | |
| НПБ 48-2-2 | Нормы пожарной безопасности РБ. Установки порошкового пожаротушения автоматические. Модули. Общие технические требования. Методы испытаний | |
| РД 25 964-90 | Система технического обслуживания и ремонта автоматических установок пожаротушения, дымоудаления и охранно-пожарной сигнализации. Организация и порядок проведения работ. | |
| ППБ РБ 1.02-94 | Правила пожарной безопасности Республики Беларусь при эксплуатации технических средств противопожарной защиты | |
| ППБ РБ 1.02-94 | Правила пожарной безопасности Республики Беларусь при эксплуатации технических средств противопожарной защиты. | |
| СТБ 11.0.02-95 | ССПБ. Пожарная безопасность. Общие определения. | |
ГОСТ 21.614-88 |
Система проектной документации для строительства. Изображения условные графические электрооборудования и проводок на планах. (П) |
ЛИТЕРАТУРА
1. Барсуков, В.С. Безопасность: технологии, средства, услуги / В.С. Барсуков. – М., 2001 – 496 с.
2. Ярочкин, В.И. Информационная безопасность. Учебник для студентов вузов / 3-е изд. – М.: Академический проект: Трикста, 2005. – 544 с.
3. Барсуков, В.С. Современные технологии безопасности / В.С. Барсуков, В.В. Водолазский. – М.: Нолидж, 2000. – 496 с., ил.
4. Зегжда, Д.П. Основы безопасности информационных систем / Д.П. Зегжда, А.М. Ивашко. - М.: Горячая линия –Телеком, 2000. - 452 с., ил
5. Компьютерная преступность и информационная безопасность / А.П. Леонов [и др. ]; под общ. Ред.А.П. Леонова. – Минск: АРИЛ, 2000. – 552 с.
Похожие рефераты:
Строительные Нормы и Правила (СНиП 2.08.02-89*)
Капитальный и текущий ремонты зданий
Осмотр места происшествия при расследовании пожаров
Испытательная станция турбовинтовых двигателей ТВ3–117 ВМА–СБМ1 серийного производства
Охрана труда - основные термины, понятия, определения
11-этажный жилой дом с мансардой
Метод дегазации угольных шахт с помощью сепаратора СЦВ-7
Проектирование 9-этажного дома