| Скачать .docx |
Курсовая работа: Оценка условий труда на рабочем месте и разработка комплекса мероприятий по их улучшению
Балтийский государственный технический университет
«Военмех» им. Д.Ф.Устинова
Расчетно-графическая работа
Оценка условий труда на рабочем месте и разработка
комплекса мероприятий по их улучшению
14 вариант
Выполнил:
Студент Степурин Р.А.
Санкт-Петербург 2010г.
Введение
Обеспечение широких возможностей для высокопроизводительной и творческой работы, улучшение условий труда – одно из важнейших направлений экономической и социальной политики нашего государства. Условия труда существенно влияют на состояние здоровья трудящихся, производительность труда, на основные экономические показатели деятельности предприятий. Основная задача охраны труда – создание безопасных и здоровых условий труда.
Работа по улучшению условий труда на предприятии начинается с анализа и оценки их состояния.
1. Карта условий труда на рабочем месте
Цель работы: оценка степени опасности и вредности производственной среды и разработка комплекса технических средств безопасности, нормализующих условия труда.
Исходные данные представлены в Таблице 1.
Таблица 1.1
| Цех (участок) |
Термостатирования и гидроиспытаний |
|
| Профессия |
слесарь-сборщик |
|
| Количество рабочих мест Численность рабочих |
4 30 |
|
| Наименование оборудования |
термостаты (воздушный нагрев) |
|
| Время работы в течение смены, мин |
480 |
|
| Фактическое состояние факторов производственной среды |
ВВ. Класс опасности Превышение ПДК в число раз |
III 5 |
| АПФД. Класс опасности Превышение ПДК в число раз |
III 5 |
|
| Шум. Эквивалентный уровень звука, дБА |
105 |
|
| Шум. Уровни звуков. давления, дБ Частота, Гц |
105 31.5 |
|
| ИЗ. Уровни звуков. давления, дБ Частота, Гц |
115 8 |
|
| УЗ. Уровни звуков. давления, дБ Частота, кГц |
113 20 |
|
| Вибрация общая. Виброскорость, дБ Частота, Гц |
110 8 |
|
| ТНС-индекс. Категория работ С○ |
II а 26 |
|
| Освещение. Разряд зрит. раб. Езад / Ен |
IVa 0.6 |
|
| Неионезирующие излучения. Превышение ПДУ (раз) Частота, МГц |
8 15 |
|
| Тяжесть труда, кг |
80 |
|
| Число переключений в час |
130 |
|
2. Присвоение классов условий труда
Определяем фактическое состояние условий труда на рабочих местах по факторам с учётом гигиенической классификации труда [1].
2.1 Присвоение классов условий труда по химическому фактору
Вредное вещество имеет III класс опасности (умеренно опасное вещество), его концентрация превышает ПДК в 5 раз. Класс опасности условий труда по содержанию вредных химических веществ в воздухе рабочей зоны определяется как 3.2.
Вредное вещество, содержащееся в воздухе рабочей зоны – пыль двуоксида кремния (кристаллического). ПДК = 1,0 мг/м3
Исходная величина для расчета устройства нормализации: 1,0*5 = 5,0 мг/м3 .
2.2 Присвоение классов опасности условий труда по наличию в воздухе рабочей зоны аэрозолей преимущественно фиброгенного действия
АПФД имеет III класс опасности, его концентрация превышает ПДК в 5 раз. Класс опасности условий труда по содержанию АПФД в воздухе рабочей зоны определяется как 3.3.
АПФД, содержащимися в воздухе рабочей зоны, принимаем керамику. ПДК = 2 мг/м3 .
Исходная величина для расчета устройства нормализации: 2*5 = 10 мг/м3
2.3 Присвоение классов опасности условий труда по шуму, инфразвуку, ультразвуку, вибрации
В соответствии с данным характером выполняемых работ, предельно допустимый эквивалентный уровень звука составляет 80 дБА; ПДУ звукового давления равен 107 дБ; ПДУ инфразвука равен 90 дБ; ПДУ ультразвука 100 дБ; предельно допустимое значение виброскорости 93 дБ.
Тогда:
Экв.ур.зв.: 105 - 80 = 25 ≤ 25 – 3-я степень 3-го класса вредных условий труда.
Инфразвук: 115 - 90 = 25 > 20 – 4-й класс опасных (экстрем.) условий труда.
Ультразвук: 113 - 100 = 13 < 20 – 2-я степень 3-го класса вредных условий труда.
Вибрация общ.: 110 - 93 = 17 < 20 – 4-я степень 3-го класса вредных условий труда.
2.4 Присвоение класса опасности условий труда при воздействии неионизирующих излучений
В соответствии с вариантом, частота э/м излучений – 15 МГц, превышение ПДУ – в 8 раз. Это обуславливает 3-ю степень 3-го класса вредных условий труда.
2.5 Присвоение класса опасности условий труда в соответствии с гигиеническими требованиями к микроклимату производственных помещений
В соответствии с вариантом, категория работ - IIа, температура – 26 C○ . Это обуславливает 2-ю степень 3-его класса вредных условий труда по ТНС-индексу.
2.6 Присвоение класса опасности условий труда в соответствии с показателями световой среды
В соответствии с вариантом, разряд зрительной работы – IVа, Езад = 0,6 Ен. Это обуславливает 1-ую степень 3-его класса вредных условий труда.
Нормируемая величина освещенности на рабочем месте для данного разряда, подразряда зрительной работы: 750 лк (система комбинированного освещения).
2.7 Присвоение классов опасности условий труда в соответствии с показателями тяжести и напряженности трудового процесса
В соответствии с вариантом, тяжесть труда составляет 80 (кг, масса поднимаемого и перемещаемого груза вручную). Это обуславливает 2-ую степень 3-его класса вредных условий труда, т.е. вредный (тяжелый) труд.
Время работы за смену составляет 8 часов, что обуславливает 2-й класс допустимых условий труда, т.е. напряженность труда средней степени.
Результаты работы по присвоению классов условий труда занесены в сводную таблицу: см. Таблица 2.
Таблица 2.
| Фактор |
Класс условий труда |
||||||
| Оптимальный |
Допустимый |
Вредный |
Опасный (экстрем.) |
||||
| 1 |
2 |
3.1 |
3.2 |
3.3 |
3.4 |
4 |
|
| Химический |
|
||||||
| Аэрозоли ПФД |
|
||||||
| Шум |
|
||||||
| Инфразвук |
|
||||||
| Ультразвук |
|
||||||
| Вибрация общая |
|
||||||
| Неионизирующие излучения |
|
||||||
| Микроклимат |
|
||||||
| Освещение |
|
||||||
| Тяжесть труда |
|
||||||
| Напряженность труда |
|
||||||
| Общая оценка условий труда |
|
||||||
3. Разработка мероприятий по улучшению условий труда
По составленной карте условий труда видно, что на рабочем месте превышены ПДК и ПДУ по следующим факторам:
1. Вредные вещества
2. АПФД
3. Вибрация
4. Шум
5. Инфразвук
6. Ультразвук
7. Неионизирующие излучения
8. Микроклимат
9. Освещение
10. Тяжесть труда
3.1 Расчет средств защиты по установленным ОВПФ
Расчёт виброизоляции
Средства и методы защиты от вибрации, применяемые для защиты работающих, по отношению к защищаемому объекту подразделяются на:
· методы и средства индивидуальной защиты:
· по месту контакта оператора с вибрирующим объектом,
· по форме исполнения;
· методы и средства коллективной защиты:
· снижение вибрации в источнике образования,
· вибродемпфирование,
· виброизоляция,
· виброгашение колебаний.
Для снижения вибрации от источника вибрации необходимо провести его виброизоляцию. Основу большинства виброзащитных средств составляют виброизоляторы. По конструкции виброизоляторы, применяемые в машиностроении, подразделяются на:
· пружинные,
· пневматические,
· цельнометаллические,
· комбинированные,
· резинометаллические,
· резиновые.
Резиновые виброизоляторы имеют форму параллелепипедов или цилиндров, которые могут быть сплошными или пустотелыми. Резиновые элементы должны иметь конструкцию, допускающую деформацию в боковые стороны.
Расчет эффективности виброизоляции:
Превышение вибрации на рабочем месте DL = 110 - 93 = 17 дБ. Частота fВ = 8 Гц в соответствии с заданием. Т.к. требуемое снижение вибрации приближённо равно её эффективности, то можно найти fС (частота собственных колебаний виброизолируемого объекта, Гц).
DLВ = 20*lg (fВ / fС) » DL = 17.
Отсюда fC = 1.13 Гц.
Пусть масса установки равна 1000 кг, тогда жёсткость виброизоляторов
K = (P*fC 2 )/25 = 510.76 (кг*с)/см.
Установка установлена на четырёх одинаковых виброизоляторах Þ
k = K/n = 127.7 (кг*с/см).
Такой жёсткости соответствует стандартный виброизолятор типа АКСС-15М [5].
В итоге вибрация снижена до 93 дБ, т.е. до нормы.

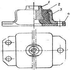
Виброизолятор типа АКСС:
1 – несущая планка-втулка;
2 – резиновый массив;
3 – скоба;
4 – нижняя планка.
Расчёт и проектирование средств шумозащиты
Повышенный шум является одним из наиболее распространенных вредных и опасных производственных факторов. Повышенный шум воздействует как на органы слуха, так и на весь организм.
Средства и методы коллективной защиты от шума в зависимости от способа реализации подразделяются на: акустические; архитектурно-планировочные (рациональное размещение рабочих мест, оборудования, машин, механизмов, рациональная планировка здания); организационно-технические (применение малошумных технологических процессов, малошумных машин, оснащение шумных машин средствами дистанционного управления и автоматического контроля).
Акустические средства защиты от шума в зависимости от конструкции подразделяются на: средства звукоизоляции; звукопоглощения (звукопоглощающие облицовки); виброизоляции (виброизоляторы, упругие прокладки); демпфирования.
Средства звукоизоляции являются основными средствами защиты от шума в машиностроении. Звукоизолирующие перегородки устанавливаются там, где необходимо отделить источник повышенного шума от остального помещения. Звукоизолирующие кабины устанавливаются в шумных помещениях для наблюдения или управления разнообразными технологическими процессами. Звукоизолирующие капоты устанавливаются на источники повышенного шума, расположенные в помещение, обслуживание которых не требует непосредственного доступа к ним или автоматизировано. Акустические экраны устанавливаются вблизи шумных источников, создавая за ними зону акустической тени.
Для защиты от ультразвукового воздействия приемлемы те же методы и способы, которые применимы к акустическому излучению в слышимом диапазоне.
Зададим размеры источника шума. Пусть l = 1 м, lmax = 2 м. По заданию расчёт произвожу для частоты 31.5 Гц. УЗД31.5 = 95-5 = 90 дБ = L
Одним из эффективных способов снижения шума в производственных помещениях является устройство звукоизолирующих кожухов, полностью закрывающих наиболее шумные агрегаты.
Рассчитаем такой кожух. Требуемая акустическая эффективность звукоизолирующего кожуха определяется по формуле:
DLэф тр = L – Lдоп + 5 = 90 – 80 + 5 = 15 дБ.
Акустическая эффективность кожуха определяется по формуле:
DLкож = Rк + 10*lg a – Dотв;
где a – приведённый коэффициент звукоизоляции кожуха; Dотв – поправка на уменьшение звукоизоляции за счёт наличия отверстий, при площади отверстий до 5% от общей площади ограждений кожуха, принимается Dотв = 3¸5 дБ; Rк – звукоизолирующая способность стенки кожуха (определяется поверхностной плотностью и жёсткостью, и увеличивается при нанесении на стенку кожуха слоя звукопоглощающего материала).
a = (aобл * Sобл + aн * Sн + aотв * Sотв + aист * Sист ) / (Sобл + Sн + Sотв + Sист);
где aобл – коэффициент звукопоглощения звукопоглощающей облицовки; Sобл – площадь звукопоглощающей облицовки; aн – коэффициент звукопоглощения необлицованных областей; Sн – площадь необлицованных областей; aотв – коэффициент звукопоглащения отверстий; Sотв – площадь отверстий; aист – коэффициент звукопоглащения источника;
Sист – площадь источника.
Пусть aобл = 0, aн =0.01, aист = 0.03, aотв = 1, Sобл = 0, Sн = 3, Sист =2, Sотв = 3* Sн/100 = 0.09, тогда a = 0.035, 10*lg a = – 14.56.
Требуемая звукопоглощающая способность стенки кожуха определяется по формуле:
Rк тр = DLэф тр + Dотв – 10*lg a = 15 + 5 + 14.56 = 34.5 дБ;
Rк > Rк тр Þ Rк = 50 дБ; DLкож = 50 – 14.56 – 5 = 30.44.
Кожухи могут выполняться из стали, дюралюминия, стеклопластика, фанеры и других материалов. Данный кожух выполняется из стали толщиной 20мм.
Lфактич. = L - DLкож +5 = 95 – 30.44 + 5 = 69.56 дБ.
УЗД = 69.56+5 = 74.56. В итоге шум снижен до уровня 74.56 дБ.
Звукоизолирующий кожух:
1 - кожух; 2 - вторичный глушитель;
3 - первичный глушитель; 4 - гибкие соединения;
5 - глушитель на впуске воздуха;
6 - звуконепроницаемая дверь; 7 - виброизолятор;
8 - глушитель на выпуске воздуха.
Расчёт защиты воздуха рабочей зоны от вредных веществ и аэрозолей
Для поддержания в производственных помещениях нормальных параметров воздушной среды устраивают вентиляцию. В зависимости от направления воздушного потока вентиляционные системы подразделяют на приточные, вытяжные или приточно-вытяжные, а по характеру охвата производственного помещения воздухообменом – на общеобменные и местные.
Воздух, поступающий в помещение через неплотности ограждающих конструкций не содержит вредных веществ, поэтому применяем местную вытяжную вентиляцию, схема которой представлена на рисунке:

Вытяжная местная вентиляция состоит (см. рис. 1) из вытяжных отверстий или насадков - 1, через которые воздух удаляется из помещения; вентилятора - 3, воздуховодов - 2; устройства для очистки воздуха от пыли или газов - 4, устанавливаемого в тех случаях, когда выбрасываемый воздух необходимо очищать с целью обеспечения нормативных концентраций вредных веществ в выбрасываемом воздухе и воздухе населенных мест, а также в приточном воздухе, подаваемом в производственные здания; устройства для выброса воздуха - 5, которое должно быть расположено на 1-1,5 м выше конька крыши.
При работе вытяжной системы чистый воздух поступает в помещение через неплотности в ограждающих конструкциях.
Необходимый воздухообмен в производственных помещениях рассчитывают в зависимости от конкретных условий каждого помещения, однако наиболее широко используют следующие методы: исходя из количества работающих; наличия в воздухе рабочей зоны вредных веществ, избытков явного тепла.
При наличии вредных веществ в воздухе рабочей зоны необходимый воздухообмен определяют по формуле:
,
где К - коэффициент, учитывающий неравномерность распределения вредных веществ по помещению, К = 1,5; G - количество вредных веществ, поступающих в воздух рабочей зоны, мг/ч; q1 - допустимое содержание вредного вещества в воздухе рабочей зоны ( q1 = qПДК ), мг/м3 ; q2 - допустимое содержание вредного вещества в приточном воздухе (q2 = 0,3 qПДК ), мг/м3 .
Пусть объем помещения равен 1000 м3.
Тогда для вредных веществ:
м3
/ч.
И для пыли:
м3
/ч.
Принимаем величину вытяжки L = 10714.3 м3 /ч.
Для обеспечения требуемого воздухообмена будем использовать радиальный вентилятор с загнутыми вперед лопатками:

При рассчитанном необходимом воздухообмене 10714.3 м3 /ч подойдет вентилятор ВР 80-75 №6 с электродвигателем АИР100L4, полным давлением 886-780 Па, мощностью 4 кВт.
Данную вентиляционную систему необходимо присоединить к пылеуловителю.

Пылеуловитель камерный:
1 – патрубок; 2 – патрубок выходной; 3 – расширительная камера; 4 – бункер
Защита от ультразвука и инфразвука
Для защиты от ультразвука следует перевести рабочие частоты источника в слышимый диапазон, либо провести звукоизоляцию источника, либо, если это невозможно, установить абстракционный глушитель.
Чтобы снизить воздействие инфразвука, нужно перевести рабочие частоты источника в слышимый диапазон, либо устранить причины генерации и/з в источнике (например, повысить жесткость конструкции больших размеров), либо провести звукоизоляцию источника (установить капот), либо снабдить рабочего средствами индивидуальной защиты (спец. противошумами). Звукоизоляция и звукопоглощение в борьбе с инфразвуком малоэффективны, поэтому наиболее надежно воспользоваться методом, направленным на ослабление и/з или снижение его возникновения в источнике.
Разработка мер по снижению температуры.
Для поддержания определённых температурно-влажностных условий применяют кондиционирование. Кондиционер-это вентиляционная установка, которая с помощью приборов автоматического регулирования поддерживает в помещении заданные параметры воздушной среды. Установка центрального кондиционера позволит поддерживать температуру в заданных пределах.
Меры по снижению тяжести труда
Физическая нагрузка уменьшается за счёт механизации и различных приспособлений, организации работ и др. При этом необходимо учитывать, что в соответствии с ГОСТ 12.3.020-80, перемещение грузов массой более 20 кг. В технологическом процессе должно производиться с помощью подъёмно – транспортных устройств или средств механизации. Также должно быть механизировано перемещение грузов в технологическом процессе на расстояние более 25 м.
Оценка условий труда после применения мероприятий по улучшению условий труда
В соответствии с проведёнными мероприятиями по улучшению условий труда производим оценку условий труда.
Оценки условий труда работника по степени вредности и опасности после проведения комплекса мероприятий по их улучшению приведены в итоговой таблице 3.
Таблица 3
| Фактор |
Класс условий труда |
||||||
| Оптимальный |
Допустимый |
Вредный |
Опасный (экстрем.) |
||||
| 1 |
2 |
3.1 |
3.2 |
3.3 |
3.4 |
4 |
|
| Химический |
¢ |
||||||
| Аэрозоли ПФД |
¢ |
||||||
| Шум |
¢ |
||||||
| Инфразвук |
¢ |
||||||
| Ультразвук |
¢ |
||||||
| Вибрация общая |
¢ |
||||||
| Неионизирующие излучения |
¢ |
||||||
| Микроклимат |
¢ |
||||||
| Освещение |
¢ |
||||||
| Напряженность труда |
¢ |
||||||
| Общая оценка условий труда |
¢ |
||||||
Заключение
На основании исходных данных был проведен анализ условий труда на рабочем месте слесаря-сборщика, в результате которого было обнаружено превышение допустимых значений факторов производственной среды.
Разработка мероприятий по улучшению условий труда была осуществлена для каждого из факторов, по которым были превышены ПДК и ПДУ.
Был предложен комплекс мер по их улучшению, позволяющий снизить класс условий труда, превышающих допустимые значения, до оптимального уровня.
Список использованной литературы
1. Оценка условий труда на рабочем месте и разработка комплекса мероприятий по их улучшению, под ред. Н.И. Иванова, И. М. Фадина, 2009.
2. Государственные стандарты. Система стандартов безопасности труда.
3. Охрана труда: Альбом. Под редакцией Н.И. Иванова, И. М. Фадина. 1990.
4. Организационные основы охраны труда. В.Н. Сидоров. 2005.
5. ГОСТ 17053.1-80, ГОСТ 17053.2-80. Амортизаторы корабельные АКСС-М и арматура.