| Скачать .docx |
Дипломная работа: Разработка системы управления охраной труда на ООО Касьяновская обогатительная фабрика
СОДЕРЖАНИЕ
ВВЕДЕНИЕ
1. Идентификация опасностей и оценка рисков на ООО «Касьяновская углеобогатительная фабрика»
1.1 Краткая характеристика физико-географических и климатических условий района расположения
1.2 Описание технологического процесса производства
1.3 Контроль качества продукции
1.4 Системный анализ опасностей и вредностей
1.4.1 Вредные и опасные факторы при обслуживании машин и механизмов углеобогатительной фабрике
1.4.2 Источники пылеобразования, токсичных веществ и основные требования к производственным процессам и оборудованию по пылевому фактору
1.4.3 Пожарная опасность
1.4.4 Причины заболеваемости на обогатительной фабрике
1.5 Оценка надежности технических систем фабрики методом «дерево отказов»
2. Организация охраны труда и производственного контроля на ОФ
2.1 Структура управления Касьяновской обогатительной фабрики
2.2 Обязанности администрации и главных специалистов ОФ по обеспечению охраны труда и производственного контроля
2.3 Основные показатели производственного контроля за соблюдением промышленной безопасности
2.4 Структура службы безопасности на КОФ
2.5 Усиление технического контроля над оборудованием
3. Управление рисками и формирование СУОТ
3.1 Система управления охраны труда как составляющая общей системы управления предприятием
3.2 Расчет нормативной численности работников службы охраны труда
3.3 Разработка СУОТ на «Касьяновской обогатительной фабрике»
4. Расчет экономической эффективности средств индивидуальной защиты
ЗАКЛЮЧЕНИЕ
СПИСОК ЛИТЕРАТУРЫ
Приложение А
Приложение Б
ВВЕДЕНИЕ
Система управления охраной труда – часть общей системы управления организации (менеджмента), обеспечивающая управление рисками в области охраны здоровья и безопасности труда, связанными с деятельностью организации.
Цель управления охраной труда – обеспечение безопасных условий охраны труда работающих, сохранение жизни и здоровья работников в процессе трудовой деятельности путем соблюдения требований нормативно – правовых актов.
Управлять - это значит постоянно держать под контролем ситуацию с безопасностью, строить работу по принципу профилактики, регулировать риски, постоянно уменьшая их значения. Без серьезных научных поисков в этом направлении не обойтись.
Научная разработка вопросов охраны труда в нашей стране имеет давнюю историю. Первые работы по технике безопасности в горной промышленности принадлежат гениальному русскому ученому М.В. Ломоносову. В 1763 году был опубликован его трактат «Первые основания металлургии или рудных дел», в котором были рассмотрены различные вопросы безопасности и гигиены труда «горных людей»: о надежном креплении выработок, о безопасных переходах по лестницам в шахтах, об удалении рудничных вод, о проветривании рудников, об организации труда и отдыха рудокопов, о рациональной одежде рабочих. Исследованиями безопасности труда в конце 19 в. занимались великий русский ученый Д.И. Менделеев, Н.Д. Коцовский и Н.С. Курнаков [1]
В начале 20в. появились важные исследования по вопросам безопасности горных работ, проведенные инженерами Д.Г. Левицким и Н.Н. Черницыным, основателями горноспасательного дела в отечественной промышленности. Развитие безопасных методов работы в горной промышленности связано с именами таких крупных ученых, как А.А. Скочинский, Б.И. Бокий, А.М. Терпигорев и др. А.А. Скочинский, А.М. Терпигорев принимали активное участие в создании правил безопасности в угольной промышленности.
В советское время формировалось новое отношение к безопасности труда. Научно-исследовательские учреждения по охране труда государственного и ведомственного подчинения явились инициаторами и возглавили методическое направление системного подхода к безопасности труда. Занимаясь разработкой современных технических средств безопасности, внедрением их в производство, наука главное внимание уделяла анализу травматизма и заболеваемости работников, выявляла причины ущербности современного производства и прогнозировала причинно-следственные ситуации в условиях изменения обстановки. Создавался единый системный подход к безопасности, следствием которого явилось объединение родственных направлений в курс «Безопасность жизнедеятельности». Оптимизация условий труда строилась на основе системного анализа профессиональных вредностей, а приоритетным направлением работ по безопасности признан принцип профилактики. Именно этот принцип позволяет управлять безопасностью на производстве, а не пассивно следовать ходу случайных событий и не редко – ущербных [2]
В настоящее время развитие охраны труда как науки набирает большие обороты, об этом свидетельствуют огромное количество научной литературы, перечень законов и иных нормативных правовых актов, содержащих государственные нормативные требования к безопасности.
Правовой и методологической основой формирования системы управления охраной труда в организации следует считать Государственный стандарт Российской Федерации – ГОСТ РФ 12.0.006-2002 «Общие требования к системе управления охраной труда в организации», введенный в действие 01.01.03. В документе определены политика и задачи предприятий в области охраны труда, сформулированы основные принципы управления: «планируй-выполняй-контролируй-совершенствуй», установлены требования к элементам системы управления охраной труда. Стандарт определяет структуру системы управления охраной труда, прописывает порядок внедрения и обеспечение функционирования системы а также содержит положения, которые могут быть использованы для объективной самооценки, самодекларации или сертификации работ по охране труда [3]
Цель данного дипломного проекта заключается в формировании системы управления охраной труда на Касьяновской обогатительной фабрике. На базе существующей структуры управления следует оценить работоспособность службы безопасности, выявить ее наиболее «узкие» места и предложить мероприятия по повышению эффективности управления.
В плане поставленной цели дипломного проекта сформулированы следующие задачи:
1. Изучить технологический процесс предприятия.
2. Выполнить системный анализ вредностей и определить наиболее опасные и вредные производственные факторы.
3. Оценить надежность технических систем фабрики.
4. Изучить структуру управления охраной труда организации, выявить ее недостатки.
5. Предложить проектные решения по формированию структуры управления охраной труда и сформулировать основные направления управления рисками.
1. Идентификация опасностей и оценка рисков на Касьяновской углеобогатительной фабрике
1.1 Краткая характеристика физико-географических и климатических условий района расположения
Районный центр - г. Черемхово расположен в центральной части месторождения в 130 км, по Восточно-Сибирской железнодорожной магистрали к северо-западу от областного центра - г. Иркутска. Вдоль железной дороги проходит Московский автомобильный тракт.
Рельеф местности спокойный с колебаниями абсолютных отметок поверхности от 0,5 до 0,8 м. Климат района расположения предприятия резко континентальный с суровой, продолжительной малоснежной зимой и теплым летом с обильными осадками.
Средняя температура воздуха наиболее холодного месяца года (января) равна минус 19,40 С.
Средняя максимальная температура наиболее жаркого месяца года (июля) составляет 24,00 С.
Среднее количество осадков за год составляет 450 мм.
Касьяновская ОФ построена по проекту Новосибирского института «Сибгипрошахт» и введена в эксплуатацию в мае 1979 года. Проектная производительность фабрики 4100 тыс.т./год.
В состав КОФ входят следующие структурные подразделения: углеприемный цех, главный цех, парокотельный цех, цех погрузки.
Обогащение угля производится до 0,5 мм. По технологическим свойствам угли относятся к энергетическим, марки «Д».
Фабрика выпускает 4 класса концентрата (класс крупности): 0-13 мм; 13-80 мм; 0-50 мм; 50-200 мм. В зависимости от покупательского спроса фабрика дополнительно может выпускать классы: 13-25мм, 0-25мм, 50-100 мм, 25-80 мм.
Основными потребителями угольной продукции являются предприятия энергетики Иркутской, Читинской областей и Бурятии.
Класс концентрата 0-50 поступает на экспорт.
1.2 Описание технологического процесса производства
Сырьевой базой Касьяновской ОФ являются угли ООО «Разрез Черемховский»: участков №1,2 (рис. 1.1).

Рис. 1.1 - Описание технологического процесса
Рядовой уголь поступает на фабрику в железнодорожных п. /вагонах, и разгружается в две приемные ямы емкостью по 430 тонн каждая. По левой секции п./вагоны разгружаются вагоноопрокидывателем. Из приемных ям пластинчатыми питателями рядовой уголь подается на предварительную классификацию на грохота с ячейками сит 200*200 мм (1000 т/ч). Надрешетный продукт дробится в щековых дробилках до 200 мм и, объединяясь с подрешетным продуктом грохота классом -200 мм, транспортируется двумя ленточными конвейерами в аккумулирующие бункера емкостью 4000 т., что дает возможность производить прием рядовых углей с разных участков и производить шихтовку по углю не на штабеле, что приводит к измельчению угля, а непосредственно в аккумулирующих бункерах. Аккумулирующие бункера позволяют иметь запас рядовых углей и в дальнейшем, при перебоях с их поставкой, фабрика имеет возможность работать автономно.
Из аккумулирующих бункеров уголь выгружается качающимися питателями (300 т/ч) и питателями (570 т/ч) на ленточные конвейеры (450 т/ч). При необходимости уголь можно качать питателями (300 т/ч) с левой секции на правую, с правой секции на левую. Конвейеры транспортируют уголь в главный корпус фабрики для обогащения.
Уголь, поступивший в отделение обогащения, подвергается мокрой классификации на грохотах (450 т/ч) с ячейками сит 25*25мм и 16*16 мм, установленными в один ярус. Надрешетный продукт крупностью +16-200 мм обогащается в тяжелосредных сепараторах (380 т/ч) с плотностью разделения 1,70-1,75 кг/м3 с получением двух продуктов - концентрат и порода. Порода из сепаратора направляется на отмывку суспензии и обезвоживание на грохот (50 т/ч). Сита установлены в 2 яруса: 1-й ярус сито штампованное 16*16 мм, 2-й ярус - шпальтовое с щелью 1,0 мм. Некондиционная суспензия поступает в сборник некодиционной суспензии, а порода - на ленточные конвейеры (80 т/ч).
Концентрат направляется на грохота (600 т/ч) для отмывки суспензии, обезвоживания и рассеивания на классы 0-1 мм,1-16 мм и +16 мм. Сита установлены в два яруса: ярус - штампованные 16*16 мм, 2 ярус - шпальтовые 1мм. Класс 0-1мм передней ванны грохота является кондиционной суспензией и системой трубопроводов направляется в сборник кондиционной суспензии с последующей подачей суспензии насосами (360 т/ч) в тяжелосредные сепараторы. Класс 0-1 мм задней ванны грохота является некондиционной суспензии и системой трубопроводов направляется в сборник некондиционной суспензии, откуда насосами (360 м3 /ч) направляется на регенерацию суспензии в 2 стадии на электромагнитных барабанных сепараторах (400 т/ч).
Выделенный магнетит возвращается в сборник кондиционной суспензии, слив с электромагнитных барабанных сепараторов направляется на ополаскивание на грохота, отходы поступают в зумпф гидротранспорта породы.
После обезвоживания концентрат класса +16-200 мм проходит рассеивание на колосниковом грохоте с размером отверстий между колосниками 80 мм. Надрешетный продукт по правой секции в зависимости от необходимости направляется на дробление в однороторную дробилку (135 т/ч), либо, минуя дробилку, на ленточный конвейер (250 т/ч), где объединяется с концентратом класса +80-200 мм левой секции.
С конвейера концентрат поступает на грохот (300 т/ч) с размером ячеек сит в зависимости от потребителя 80*80 мм или 50*50 мм для получения концентрата классов 13-80(0-50) мм и 50-200мм. Концентрат класса 13-80 (0-50) мм катучим конвейером распределяется по бункерам емкостью 4000 т. Концентрат класса 50-200 мм катучим конвейером распределяется по бункерам емкостью 2000 т.
Класс 0-25 мм, подрешетный продукт мокрой классификации и дешламации, направляется на отмучивание в багер-элеватор (300 т/ч) и поступает на обогащение в отсадочные машины (250 т/ч). Слив багер-элеваторов поступает в зумпф гидротранспорта породы.
Из зумпфа гидротранспорта породы шлам центробежным грунтовым насосом подается в гидроотвал (шламоотстойник). В шламоотстойнике происходит процесс осветления шлама, и условно чистая технологическая вода возвращается насосами (2000м3 /ч) на обогатительную фабрику для использования в обогащении. Очистка ложа гидроотвала илов производится экскаватором ЭШ-10/60 №65 .
Порода, образуемая в результате обогащения угля, складируется в породний бункер, а затем вывозится автосамосвалами «БелАЗ» в отработанное пространство разреза.
Концентрат отсадочных машин присаживается к подрешетному продукту грохотов (класс 1-16мм) и поступает на классификацию на грохота (200 т/ч), где установлены сита: верхнее штампованное с размером ячеек 13*13 мм, нижнее сито - шпальтовое с щелью 1,0 мм. После классификации концентрат разделяется на два класса: 0-13 мм и 13-25 мм. Класс 13-25 мм присаживается к подрешетному продукту колосникового грохота (класс 16-80 мм) и ленточным конвейером (250 т/ч) транспортируется на погрузку. С конвейера концентрат класса 13-80 мм при необходимости рассеивается на грохоте на классы 13-25 мм и 25-80 мм, либо катучим ленточным конвейером сразу распределяется по бункерам емкостью 4000т.
Концентрат класса 1-13 мм поступает в багер-элеватор (100 т/ч) на отмучивание. Слив багер - элеваторов насосами (560 м3 /ч) подается на брызгала грохотов для мокрой классификации. После отмучивания концентрат 0-13мм поступает на скребковый конвейер (500 т/ч) и распределяется для обезвоживания в центрифугах (80 т/ч). Фугат центрифуг заведен на грохот.
Обезвоженный концентрат класса 0-13мм поступает на ленточный конвейер, который транспортирует концентрат либо в обводной бункер емкостью 150 т, либо в два сушильных бункера емкостью по 200т. Из обводного бункера питателем (570 т/ч) и ленточным конвейером (220 т/ч) концентрат 0-13мм, минуя сушку, подается на ленточный конвейер (270 т/ч) и транспортируется на погрузку. На погрузке концентрат 0-13мм перегружается на ленточный конвейер (400 т/ч) и распределяется с помощью плужковых сбрасывателей по бункерам емкостью около 3000т. При отсутствии вагонов МПС есть возможность отгружать концентрат класса 0-13 мм через малый породний бункер и автосамосвалами «БелАЗ» вывозить на штабель для складирования.
Обезвоженный концентрат класса 0-13мм поступает на ленточный конвейер, который транспортирует концентрат либо в обводной бункер емкостью 150 т, либо в два сушильных бункера емкостью по 200т. Из обводного бункера питателем (570 т/ч) и ленточным конвейером (220 т/ч) концентрат 0-13мм, минуя сушку, подается на ленточный конвейер (270 т/ч) и транспортируется на погрузку. На погрузке концентрат 0-13мм перегружается на ленточный конвейер (400 т/ч) и распределяется с помощью плужковых сбрасывателей по бункерам емкостью около 3000т. При отсутствии вагонов МПС есть возможность отгружать концентрат класса 0-13 мм через малый породний бункер и автосамосвалами «БелАЗ» вывозить на штабель для складирования.
В холодное время года, когда необходима сушка, концентрат класса О-13мм из сушильных бункеров скребковым питателем (250 т/ч) и цепным забрасывателем подается в трубу-сушилку, в которую из топки поступают горячие дымовые газы. Под действием тяги, создаваемой дымососом уголь обрабатывается газами, при движении совместно с газами нагревается, выбрасываются в атмосферу, а высушенный уголь разгружается на конвейер и транспортируется на погрузку, где перегружается на конвейер и распределяется по бункерам.
Из бункеров погрузки концентрат класса 0-13 мм качающимися питателями (300 т/ч) перегружается на ленточный конвейер (500 т/ч), концентрат класса 50-200 мм качающимися питателями (300 т/ч) перегружается на конвейер (500т/ч), концентрат класса 13-80 мм (0-50 мм) качающимися питателями (300 т/ч) перегружается на конвейер (500 т/ч), концентрат класса 13-80 мм качающимися питателями (300 т/ч) перегружается на конвейер (500 т/ч). С конвейеров концентрат по классам загружается в железнодорожные п./вагоны и направляется потребителю. Маневровое устройство МУ-25 позволяет производить загрузку до 22 вагонов на каждой из 4 линий.
Согласно отчета СибНИИУглеобогащения г. Прокопьевск о научно-исследовательской работе «Разработать методику определения технологических потерь угля при обогащении на ОФ разреза «Черемховский» норматив потерь угля с отходами обогащения составит:
- при плотности разделения менее 1700 кг/м3 - 2,7 %;
- при плотности разделения менее 1800 кг/м3 - 3,5%;
- текущий норматив потерь угля со шламами - 4,8%;
- норматив потерь угля при сушке составит - 0,15%. сушится и отделяется от газов в двух циклонах.
1.3 Контроль качества продукции
Для обеспечения высокого качества выпускаемой продукции на фабрике создана лаборатория. В функции лаборатории входит выполнение следующих работ:
-контроль качества поступающего на переработку сырья;
-контроль за соблюдением технологического режима на всех переделах;
-контроль качества готовой продукции;
-проведение текущей работы по усовершенствованию технологического процесса и внедрение этих усовершенствований.
1.4 Системный анализ опасностей и вредностей
Современные углеобогатительные фабрики – высокомеханизированные предприятия, где почти все производственные процессы выполняются машинами и механизмами. Сложность конструкций машин и наличие быстровращающихся или быстродвижущихся частей требуют от рабочих, обслуживающих машин, хорошего знания их устройства, правил эксплуатации и соблюдения правил техники безопасности [4]
Таблица 1.1 - Системный анализ процессов дробления и измельчения
| Вредные и опасные факторы |
Характеристика вредных и опасных факторов |
Характеристика последствий от вредных и опасных факторов |
Причина возникновения профзаболевания или несчастного случая |
Мероприятия по устранению данных факторов |
| 1.движущиеся вращающиеся механизмы (дробилки, молотки, роторы, конвейеры, грохоты) |
частота вращения отбойно-центробежного ротора составляет от 500-1000 об/мин |
соприкосновение обслуживающего персонала с движущимися частями машин или захвата одежды и рук, что может привести к травме или к летальному исходу работающего |
Работа велась без ограждения вращающихся или движущихся частей машин |
Вращающиеся или движущиеся части машин ограждают на высоту не менее 2 м от пола. Ограждения должны устанавливаться на границе опасных зон, куда могут отлетать части сломавшейся детали, инструмента или отходы обрабатываемого материала |
| 2. Работа на высоте при обслуживании машин и аппараторов, расположенных на высоте 1,5 м и более |
Н min = 0,5 м H max = 2 м |
Падение обслуживающего персонала с высоты |
Работа велась на высоте более 1,5 м без предохранительного пояса при отсутствии обслуживающих площадок |
Машины и аппараты, расположенные на высоте 1,5 м и более, должны иметь специальные площадки и лестницы, огражденные перилами высотой 0,9 м и сплошным боротом по низу высотой не менее 14 см |
| 3. падающие предметы |
Дробильный материал m = 5кг dср = 10 см |
Механические травмы |
Нет знаков безопасности; нет ограждения опасной зоны |
Наличие ограждений опасной зоны; защитные сетки по высоте; средства индивидуальной защиты |
| 4.электрический ток |
Все электроустановки, согласно Правилам техники безопасности при эксплуатации электрических установок промышленных предприятий, по потребляемому напряжению разделяются до 1000В и выше 1000В |
Поражение работающего персонала электрическим током |
Неисправность электроустановки, утечка тока |
Применение тока безопасного напряжения; Защитное заземление, зануление, защитное отключение и применение плавких предохранителей; регулярный контроль за состоянием электрооборудования и своевременный его ремонт; применение индивидуальных средств защиты от поражения электрическим током |
| 5. шум |
Механический; аэродинамический; постоянный, широкополосный |
Воздействует на центральную нервную систему, что может привести к снижению работоспособности обслуживающего персонала |
Отсутствие механических кожухов; отсутствие звукопоглощающих устройств |
Использование двигателей с меньшей частотой вращения, своевременные профилактические и ремонтные работы по ликвидации затворов и замене изношенных деталей передач; в качестве индивидуальных защитных средств использовать противошумы |
| 6 вибрация |
Технологическая Транспортно-технологическая, общая |
Длительное воздействие вибраций и сотрясений может вызвать вибрационную болезнь – неврит с потерей трудоспособности |
Отсутствие виброизоляторов |
Установка оборудования на специальные фундаменты и виброизоляторы; изменение жесткости крепления оборудования к фундаменту для уменьшения амплитуды колебаний. |
| 7 аномальное освещение |
По установленным нормам освещенность составит: при газоразрядных (люминесцентных) лампах 100-150лк; при лампах накаливания 30-50 лк |
Постоянный перевод взгляда с хорошо освещенного места на полутемное может привести к профессиональному заболеванию - нистагму |
Недостаточное или нерациональное освещение |
Необходимо проводить регулярную чистку светильников и ламп; осмотр и ремонт осветительной арматуры |
| 8. угольная пыль |
ПДК для пыли составляет 4 мг/м3 , согласно содержанию в ней свободной двуокиси кремния 2-10%. Температура воспламенения или взрыва угольной пыли 750-8500 С; нижний концентрационный предел взрываемости (НКВП) -16-20 г/м3 ; верхний предел (ВКПВ) – 1500-2000 г/м3 |
Заболевания костно-мышечной системы; заболевания органов дыхания, пылевые бронхиты; бронхиальная астма |
Процессы грохочения, дробления, сушка, а также механическое и самотечное транспортирование угля и продуктов обогащения |
Применение перед обогащением обесшламливания или мокрой классификации угля; применение механизации и автоматизации всех технологических процессов обогащения, транспортировки угля |
| 9. Аномальный микроклимат |
t не ниже 140 С; влажность около80%; скорость движения воздуха не более 0,2 м/с; в холодный период не более 0,3 м/с |
Переохлаждение предрасполагает к инфекционным заболеваниям верхних дыхательных путей и легких, а также к травматизму. |
Высокая относительная влажность воздуха (70-75%) при высоких и низких температурах окружающего воздуха |
Воздушные тепловые завесы; двойное остекление, теплоизоляция поверхности нагреваемого оборудования |
Рассмотрев основные вредные и опасные факторы с помощью системного анализа, перейдем к их детальному анализу, распределив по трем основным направлениям: вредности при обслуживании машин и механизмов, токсичные вещества и пылевой фактор, пожарная опасность.
1.4.1 Вредные и опасные факторы при обслуживании машин и механизмов на углеобогатительной фабрике
Практика показывает, что более половины всех несчастных случаев на углеобогатительных фабриках связаны с обслуживанием и ремонтом машин и механизмов. Самыми распространенными причинами несчастных случаев являются проведение смазки и обтирки деталей машин в процессе их работы, а также уборка и чистка конвейеров без их остановки. Значительное число травм происходит также в результате захвата одежды и конечностей работающего ремнями, шкивами, шестернями, шпонками валов и другими быстровращающимися частями машин, не огражденными или огражденными недостаточно [5]
Операция дробления . У дробилок, применяемых на фабрике, основную опасность представляют их вращающиеся части: шкивы, шестерни, приводные ремни, концы валов, выступающие шпонки, а также места загрузки исходного и разгрузки дробленого продукта
Особую опасность при эксплуатации дробилок представляют попавшие в них совместно с углем металлические предметы, большие куски дерева или колчедана. Эти предметы не поддаются дроблению, заклинивают и останавливают валки дробилки, вызывая поломку сцепных колес, шестерен, скручивание валов или разрыв приводного шкива. Такие аварии небезопасны для обслуживающего персонала, так как отлетающие при этом куски металла могут явиться причиной серьезных травм.
Операция грохочения. По характеру движения просеивающей поверхности грохоты разделяются на неподвижные, вращающиеся, качающиеся и вибрационные [6] Неподвижные грохоты менее опасны в эксплуатации, чем механические, имеющие вращающиеся и качающиеся части. Главную опасность при их работе представляют случайно падающие куски угля, которые могут переваливаться через боковые борта грохота при их недостаточной высоте.
У валковых грохотов особую опасность представляют цепные передачи, посредством которых вращение передается на валки грохота. Как и все цепные передачи, они создают внутреннюю и внешнюю опасные зоны для обслуживающего персонала.
К специфическим вредностям операций грохочения, особенно грохочения сухих рядовых углей, относится большое пылевыделение, которое усложняет условия обслуживания грохотов.
Отсадочные машины . Для отсадки угля в водной среде на углеобогатительной фабрике применяют в основном два вида отсадочных машин, поршневые и беспоршневые. Основное требование с точки зрения техники безопасности при эксплуатации отсадочных машин следующее: все движущиеся и вращающиеся части отсадочных машин должны иметь надежные легкосъемные ограждения, обеспечивающие полную безопасность обслуживающего персонала и позволяющие ему легко производить осмотр и смазку. Вследствие того, что отсадка угля происходит в водной среде особое внимание следует уделять заземлению электрооборудования машин, а также изоляции токоведущих частей.
Моечные желоба. Из всех обогатительных машин и аппаратов, применяемых для мокрых методов обогащения угля, моечные желоба менее других насыщены механическими устройствами. Желоба имеют устройства для качания сетчатого сектора разгрузочных камер и эксцентриковый привод к ним. Наиболее опасный элемент моечных желобов – эксцентриковый привод, посредством которого сообщаются качания трансмиссии механических устройств разгрузочных камер [7]
Аппараты для обогащения в тяжелых средах. Для обогащения угля в тяжелых средах (минеральных суспензиях) используются специальные тяжелосредные аппараты – сепараторы. Наиболее опасными местами сепараторов являются цепная передача привода гребкового устройства и ременная передача привода элеваторного колеса. Вращающиеся части элеваторного колеса и перемещающаяся скребковая цепь гребкового устройства особой опасности не представляют, так как они надежно ограждаются корпусом сепаратора.
Аппараты для пневматического обогащения. Существенный недостаток пневматического сухого обогащения угля – большое пылеобразование. Основными очагами пылеобразования при обогащении угля на пневматических сепараторах являются места падения угля на деку сепаратора и места падения концентрата, промежуточного продукта и породы с деки в приемные воронки желобов.
Флотационные машины и вспомогательное оборудование флотационных установок. В зависимости от способа аэрации (насыщения пульпы пузырьками воздуха) флотационные машины подразделяют на механические и пневматические [8]. Применение ядовитых и легковоспламеняющихся реагентов значительно усложняет условия эксплуатации флотационных машин, и, кроме общих мер по технике безопасности, проводимых для большинства машин и механизмов фабрик, требуются особые меры для предотвращения токсического действия реагентов на организм человека и меры противопожарной профилактики. Поэтому эксплуатация флотационных отделений должна вестись с соблюдением особых мер предосторожности.
Ленточные конвейеры. Опасными местами ленточных конвейеров являются все вращающиеся части привода, барабаны и ролики, а также конвейерная лента. Для предотвращения несчастных случаев, которые могут произойти вследствие захвата частей тела или одежды работающих, все эти места конвейера надежно ограждают. Особое внимание следует удалять ограждению барабанов приводной станции и натяжного устройства, как одного из самых опасных мест конвейера.
Транспортные элеваторы . При расположении приводных станций элеватора в общих производственных помещениях их следует ограждать перилами или сетчатыми ограждениями. Вход в помещение или за ограждение приводных станций посторонним лицам запрещен. Для предотвращения падения цепи или ленты с ковшами при ее обрыве элеваторы должны иметь специальные устройства-уловители. Кроме того, необходимо иметь автоматическое устройство для предотвращения обратного хода цепи.
Сушильные установки. Сушильные установки являются на фабриках наиболее опасным оборудованием в отношении взрывов и пожаров, поэтому их, как правило, располагают в отдельных несгораемых помещениях. Основная причина взрывов в сушильных установках – взрыхления и взвихривания пыли, которая может взорваться при появлении источника воспламенения.
К основным мерам предотвращения возникновения очагов пожара относятся: постоянное наличие воды для охлаждения элементов топки и на заливку шлака, а также соблюдение режима работы топки, в частности соблюдение требуемой толщины слоя топлива на решетке и расстояния его до топочного порога.
1.4.2 Источники пылеобразования, токсичных веществ и основные требования к производственным процессам и оборудованию по пылевому фактору
К основным источникам пылеобразования на углеобогатительной фабрике с мокрыми методами обогащения (отсадка, моечные желоба, флотация и др.) относятся такие производственные процессы, как грохочение, дробление, сушка, а также механическое и самотечное транспортирование угля и продуктов обогащения. Наиболее интенсивным пылеобразованием сопровождается перегрузка высушенного концентрата с большим содержанием тонких фракций. Запыленность в этих местах достигает 40 мг/м3 . Кроме интенсивного пылеобразования, транспортирование высушенного концентрата сопровождается еще и интенсивным парообразованием, которое усложняет обеспыливание. На фабрике с сухими методами обогащения источниками пылеобразования являются места перегрузки продуктов обогащения с дек сепараторов и пневматических отсадочных машин на сборные конвейеры и при дальнейшей транспортировке. Число таких пересыпок на фабрике колеблется от 70 до 100, а запыленность в этих местах до 200-300 мг/м3 . Интенсивность пылеобразования зависит от многих факторов: физико-механических свойств перерабатываемого угля, таких, как хрупкость, крупность и влажность; способа перемещения угля и продуктов его обогащения; движения и влажности воздуха, а также герметичности пылевыделяемого оборудования [9]
При грохочении на качающихся, валковых, вибрационных и резонансных грохотах, вследствие скачкообразного движения отдельных кусков по просеивающей поверхности, происходят их значительное измельчение и интенсивное пылеобразование. Если при этом грохот не имеет специальных укрытий очагов пылеобразования, то запыленность воздуха возле этих грохотов может достигать 800-1000 мг/м3 и более. Аналогичным образом, только в меньшей степени, пылеобразование происходит и при работе других видов классифицирующих устройств.
Быстрое вращение бит молотковой дробилки одновременно с измельчением угля создает интенсивное движение воздуха внутри ее корпуса. Этот поток воздуха захватывает измельченные частицы угля и выносит их в виде пыли через зазоры и неплотности во внешнюю среду.
Пылеобразование при транспортировании угля и его продуктов обогащения зависит главным образом от вида конвейера, скорости движения тягового органа и технического состояния оборудования. При износившейся транспортерной ленте конвейера или недостаточной ее ширине транспортируемый уголь может попадать на нижнюю (свободную) ветвь, откуда рассеивается на металлоконструкции конвейера.
Наиболее распространенный источник выделения пыли на фабрике- самотечное (гравитационное) транспортирование, которое обычно осуществляется в закрытых желобах и используется для пересыпок материала с одного транспортирующего звена или оборудования на другое. Во всех случаях перегружаемый материал поступает сначала в воронку, примыкающую к технологическому оборудованию или устанавливаемую у места разгрузки конвейера, затем под действием собственного веса перемещается по наклонным или вертикальным желобам и поступает на нижерасположенный транспортирующий конвейер или в технологическое оборудование. При этом пересыпаемый материал эжектирует воздух, нагнетая его в укрытие. Под действием возникающего избыточного давления воздух с пылью выносится в помещение. Характерной особенностью перегрузок горячих материалов является наличие конвективных токов воздуха, возникающих в результате теплообмена и приводящих к перераспределению избыточного давления в укрытиях и желобах [10]
Учитывая то, что угольная пыль - специфическое вредное вещество углеобогатительных фабрик, борьба с запыленностью ведется на всех этапах, от начала проектирования до последнего дня эксплуатации фабрики. Проектирование всех производственных процессов ведется с учетом мероприятий по борьбе с пылью, а установка технологического и транспортного оборудования осуществляется одновременно со средствами обеспыливания [11]
Основные способы и средства борьбы с пылью на фабрике:
максимальная герметизация технологического оборудования и укрытие всех мест пылевыделения; аспирация с очисткой воздуха, выбрасываемого в атмосферу, от пыли; увлажнение угля в пределах, допустимых технологическим процессом;
уборка осевшей пыли.
Максимальная герметизация технологического оборудования и укрытие всех мест пылевыделения. В условиях углеобогатительных и брикетных фабрик самым распространенным способом борьбы с запыленностью воздуха является изоляция и герметизация источников пылеобразования. На практике обычно применяют герметизацию оборудования в сочетании с аспирацией - отсосом запыленного воздуха и последующей очисткой его перед выбросом в атмосферу. Герметизация может также сочетаться и с увлажнением; перерабатываемого или транспортируемого пылящего продукта.
Герметизация оборудования представляет собой устройство специальных герметических укрытий (кожухов), посредством которых оно ограждается от окружающей среды.
В зависимости от вида и конструкции ограждаемого оборудования, а также характера пылеобразования герметизация его может быть полной или частичной. При полной герметизации ограждаемое оборудование полностью заключается в герметическое укрытие, а при частичной герметизируются отдельные части этого оборудования, являющиеся источниками пылеобразования или причастные к ним. Полной герметизации на углеобогатительной фабрике подлежат дробилки, питатели, колосниковые грохоты, пневматические сепараторы, скребковые и винтовые конвейеры.
Укрытия для полной герметизации выполняются полностью металлическими с жестким каркасом со сплошной обшивкой листовым железом толщиной 4-5 мм. Их конструкция должна предусматривать возможность быстрого разъема мест соединения отдельных узлов, надежное уплотнение разъемов, устройство уплотнений в местах выхода из укрытий валов (рычагов) и установку резиновых прокладок. Укрытие должно быть изготовлено таким образом, чтобы оно не мешало нормальной работе оборудования и было удобно при обслуживании, имело минимальное число проемов и неплотностей, обеспечивало возможность периодической уборки или смыва осевшей пыли и чтобы имеющиеся смотровые окна, отверстия и ремонтные люки быстро и надежно закрывались, когда ими не пользуются.
Аспирация с очисткой воздуха, выбрасываемого в атмосферу. Аспирация заключается в отсасывании из-под укрытий пылящего технологического и транспортного оборудования, бункеров и мест перегрузок угля и продуктов обогащения такого количества воздуха, при котором под укрытиями создается необходимое разрежение, предотвращающее вынос пыли в помещение. Отсасывание и очистка запыленного воздуха осуществляются пылеуловителями.
Увлажнение угля и уборка пыли. С учетом того, что при влажности угля 6% затрудняются процессы грохочения и обогащения на пневматических сепараторах и отсадочных машинах, а при влажности 8-10% происходит нарушение всего технологического процесса, увлажнение угля как способ борьбы с пылью на фабрике получило ограниченное применение. Этот способ следует применять в комплексе с остальными способами борьбы с пылью исходя из условия увлажнения до пределов, допустимых технологическим процессом и условиями транспортирования.
Для увлажнения угля могут быть использованы вода, пар или пароводяной туман. Однако предпочтение следует отдавать пароводяному туману, обеспечивающему наилучшую смачиваемость.
Без регулярной уборки осевшей пыли невозможно обеспечить пылевзрывобезопасное и гигиеническое состояние в помещениях углеобогатительной фабрики. Уборку пыли производят мокрым способом - путем смыва осевшей пыли струей распыленной воды или пароводяного тумана [12]
Уборку пыли производят не менее одного раза в смену. Расход воды для смыва пыли принимают из расчета 4 л на 1 м2 обрабатываемой площади со временем смыва 6 мин. Сухая, пневматическая, уборка пыли осуществляется по принципу всасывания пыли в местах ее отложения. Систему трубопроводов пневматической уборки пыли располагают таким образом, чтобы можно было обслуживать всю площадку. К вакуумным рукавам присоединяют сопла для всасывания пыли с полов и со стен.
Таблица 1.2 - Анализ работы аспирационных установок
| № п/п |
Наименование |
Эффективность работы пылеулавливающих установок по данным сан.проф.лаборатории |
||
| 2004 год (%) |
2005 год (%) |
2006 год (%) |
||
| 1 |
Погрузка |
|||
| 1.1. |
А-1 |
76,30% |
75% |
76,40% |
| 1.2. |
А-2 |
74,90% |
73,90% |
75,20% |
| 1.3. |
А-3 |
76,40% |
74,30% |
71,70% |
| 1.4. |
А-4 |
82,20% |
77,60% |
76% |
| 2. |
Аккумулирующие бункера |
77,60% |
78,40% |
78,50% |
| 3. |
Углеприем |
79,10% |
80% |
78,60% |
| 4. |
Вагоноопрокидыватель |
94,50% |
93,90% |
|
| 5. |
Сушильно-топочное отделение (конв. 554) |
85,40% |
79,20% |
|
| 6. |
А-3 левая сторона 1576 |
87,10% |
88% |
|
1.4.3 Пожарная опасность
Причины возникновения пожаров на промышленных предприятиях условно можно разделить на две группы: общие, присущие всем и большинству предприятий, и специфические, присущие только одному или группе родственных предприятий.
К общим причинам относятся:
неосторожное или халатное обращение с огнем;
курение в пожароопасных и взрывоопасных помещениях;
неисправности нагревательных приборов и отопительных установок, нарушение их правил эксплуатации;
неисправности машин и механизмов, приводящие к перегреву подшипников или других трущихся частей;
искрение в электрических аппаратах и машинах; искрение от электростатических разрядов и ударов молнии.
К основным так называемым специфическим причинам пожаров на углеобогатительных фабриках относятся:
нарушение пылегазового режима, приводящие к скоплению пожароопасных и взрывоопасных концентраций горючих смесей угольных аэровзвесей (пылей) или метана;
нарушение технологического процесса при сушке угля: наличие очагов горения в сушильном тракте, отсутствие или неисправности предохранительных клапанов, неисправности системы пожаротушения, неисправности оборудования поточных устройств, повышение температуры газов на выходе из сушилки более 1200 С, превышение установленных норм объемного содержания кислорода в отработанных газах, неисправности укрытий оборудования и систем промышленной вентиляции, отсутствие
воды в мокрых пылеуловителях и системе охлаждения подшипников дымососа, отсутствие или неисправности контрольно-измерительных приборов, сигнализации и блокировки.
Приведенный перечень не исчерпывает всех причин пожара. Но так как эти причины основные для углеобогатительной фабрики, то на их ликвидацию главным образом и должны быть направлены мероприятия противопожарной профилактики [13]
Противопожарное водоснабжение «Касьяновской Обогатительной Фабрики» осуществляется от районного Черемховского водопровода, источником водоснабжения которого является река Ангара.
Подключение промплощадки и фабрики к районному водопроводу к Барановскому кольцу средней зоны, проходящему вблизи фабрики.
Трех часовой неприкосновенный пожарный и аварийный запасы воды хранятся в подземном резервуаре емкостью 1000 м3 , который соединен с Барановским кольцом.
Система пожаротушения высокого давления.
Напор при пожаре создается пожарными насосами №1 и №2 типа 1Д315/50, которые соединены трубопроводом с подземным резервуаром.
Насосы установлены в здании насосной сблокированной с компрессорной. Включение насосов осуществляется согласно инструкции, утвержденной главным инженером фабрики.
На территории фабрики в соответствии с действующими строительными нормами и правилами, размещены пожарные гидранты в количестве 10 штук.
Подъезды и проходы свободны для проезда пожарных автомашин. Около гидрантов установлены отличительные знаки.
Предусмотрена заправка пожарных машин в компрессорной. В непосредственной близости от фабрики расположена пожарная часть ПЧ-77, которая подчинена городской Черемховской пожарной части ОГПС-6. В случае возникновения пожара выезжает к месту его ликвидации, при оповещении оператором фабрики, и действует по указанию ответственного руководителя работ.
Система оповещения при пожаре осуществляется по громкоговорящей связи и телефону.
В случае пожара рабочие и инженерно-технические работники ОФ действуют согласно оперативной части плана ликвидации аварии и «Правил проведения работающих на предприятии при аварии».
На схемах поэтажных планов внутри фабрики указаны места установки пожарных гаек, противопожарных рукавов, ящиков с песком, огнетушителей ОХВП, ОУ.
Запрещено использование пожарного инвентаря не по назначению. Пожарные гайки врезаны по отметка фабрики в противопожарную систему трубопровода.
На фабрике созданы: фабрично-спасательная служба (ФСС), добровольная пожарная дружина (ДПД), которые в случае возникновения аварии приступают к ликвидации. Действуют согласно указаниям ответственного руководителя работ.
Два раза в год с членами ФСС проводят курсы обучения по утвержденной программе.
Планируются и проводятся практические учения по плану ликвидации аварий.
В целях безопасной работы, исключая возможность возникновения пожара, в целях фабрики, согласно утвержденного «Графика уборки угольной пыли», производится влажная уборка угольной пыли, уборка насыпей угля.
Для уборки помещений в блоке главного корпуса и сушильно-топочного отделения, а также аспирации в сушильно-топочном отделении используется вода из гидроотвала.
Задействованы в работу аспирационные системы. В местах пыления выполнена герметизация. Ведется постоянный контроль за соблюдением пылегазового режима.
Согласно «Инструкции по организации безопасного проведения огневых работ на взрыво- и пожароопасных объектах» на производство газоэлектросварочных работ выдается разрешение.
Меры по спасению людей и ликвидации аварий: парокотельный цех, производственные здания, административно-бытовой корпус, склад магнетита, шламовый бассейн, материальный склад, помещение противопожарных насосов и компрессоров:
Таблица 1.3 - Парокотельный цех-авария теплотрассы
| Меры по спасению людей и ликвидации аварий |
Ответственные за выполнение мероприятий Исполнители |
| Сообщить оператору фабрики об аварии по телефону |
Начальник основного производства Лицо, обнаружившее аварию |
| Вывести людей в безопасное место |
Ответственный руководитель работ Сменный мастер |
| Вызвать должностных лиц по списку |
Ответственный руководитель работ Обслуживающий персонал |
| Перекрыть аварийный участок теплотрассы |
Ответственный руководитель работ Обслуживающий персонал |
| Оповестить парокотельный цех об аварии по громкоговорящей связи и по телефону |
Ответственный руководитель работ Оператор фабрики |
| Привести аварийную установку котлов |
Ответственный руководитель работ Машинист котельных установок |
Таблица 1.4 - Производственные здания – обрушение стен, перекрытия в одном из них, отделение углеприема, аккумулирующие бункера, компрессорная, главный цех, отделение сушки, котельная, цех погрузки.
| Меры по спасению людей и ликвидации аварий |
Ответственные за выполнение мероприятий Исполнители |
| Сообщить оператору фабрики об аварии по телефону |
Начальник основного производства Лицо, обнаружившее аварию |
| Вывести людей из аварийного здания в безопасное место и принять меры по спасению людей застигнутых аварией |
Ответственный руководитель работ Сменный мастер |
| Вызвать должностных лиц по списку |
Ответственный руководитель работ Оператор фабрики |
| Оповести цеха об аварии по громкоговорящей связи и телефону |
Ответственный руководитель работ Оператор фабрики |
| Отключить электроэнергию аварийного здания |
Главный механик Дежурный эл. слесарь |
| Перекрыть паровые и водопроводные линии |
Главный механик Дежурный эл. слесарь котельной Машинист углеобогащения |
| Отменить работу бригад и грузоподъемных средств для спасения людей и ликвидации завалов |
Главный механик Бригады слесарей и эл. слесарей по ремонту оборудования |
| Выставить посты на запасных выходах |
Ответственный руководитель работ Зам. главного инженера |
| Вызов ОГУ «АСС ИО» По прибытию следуют согласно указаний ответственного руководителя работ |
Ответственный руководитель работ Оператор главного пульта |
Таблица 1.5 - Административно-бытовой корпус – пожар
| Меры по спасению людей и ликвидации аварий |
Ответственные за выполнение мероприятий. Исполнители |
| Сообщить оператору фабрики об аварии по телефону |
Начальник основного производства. Лицо, обнаружившее аварию |
| Вывести людей фабрики в безопасное место из административно-бытового комбината, отделения обогащения и сушильного отделения |
Ответственный руководитель работ. Сменный мастер, мастер АБК |
| Командный пункт переносится в ПЧ-77 |
Ответственный руководитель работ. Оператор фабрики, диспетчер разреза |
| Вызвать пожарную часть и должностных лиц по списку, членов добровольной пожарной дружины |
Ответственный руководитель работ Оператор фабрики, горный диспетчер разреза |
| Пожар тушить первичными средствами пожаротушения |
Ответственный руководитель работ. Персонал находящийся в АБК |
| Включить противопожарные насосы |
Зам. начальника производства Машинист насосов |
| Отключить 3 автомата питания административно-бытового комбината в ТП-2 главного корпуса |
Главный механик / Дежурный электрослесарь |
| Выставить пост на вход № 15 в отделении обогащения |
Ответственный руководитель работ Зам. главного инженера |
| Пожарная команда и члены ДПД поступают в распоряжение ответственного руководителя работ и приступают к тушению пожара. К месту пожара следуют в сопровождении представителя фабрики по маршруту варианта |
Ответственный руководитель работ Начальник пожарной части |
Таблица 1.6 - Склад магнетита, шламовый бассейн, материальный склад – пожар
| Меры по спасению людей и ликвидации аварий |
Ответственные за выполнение мероприятий. Исполнители |
| Сообщить оператору фабрики об аварии по телефону |
Начальник основного производства Лицо, обнаружившее аварию |
| Вывести людей в безопасное место из склада магнетита, шламового бассейна, материального склада и отделения обогащения |
Ответственный руководитель работ Сменный мастер, члены ФСС |
| Вызвать пожарную часть, членов ФСС смены, должностных лиц членов ФСС, членов добровольной пожарной дружины по списку |
Ответственный руководитель работ Оператор фабрики |
| Оповести все цеха об аварии по громкоговорящей связи и телефону |
Начальник основного производства Обслуживающий персонал |
| Тушить пожар первичными средствами пожаротушения |
Начальник основного производства Машинист насосов |
| Включить противопожарные насосы |
Главный механик Дежурный электрослесарь |
| Отключить отходящие фидера шламового бассейна, склада магнетита ВРП-3 главного корпуса |
Зам. главного инженера Ответственный руководитель работ |
| Выставить посты на выходах № 9,№ 10, №11, № 48 |
Ответсвенный руководитель работ Начальник пожарной части |
| Пожарная команда, члены ФСС, поступают в распоряжение ответственного руководителя работ и приступают к тушению пожара. Пожарная команда следует к месту аварии в сопровождении представителя фабрики |
Таблица 1.7 - Помещение противопожарных насосов и компрессоров – пожар
| Меры по спасению людей и ликвидации аварий |
Ответственные за выполнение мероприятий. Исполнители |
| Сообщить оператору фабрики об аварии по телефону |
Начальник основного производства Лицо, обнаружившее аварию |
| Вывести людей в безопасное место из помещения насосов и компрессоров, аккумулирующих бункеров и галерей конвейеров поз. 71, 72 |
Ответственный руководитель работ Сменный мастер, члены ФСС |
| Вызвать пожарную часть, членов ФСС смены и должностных лиц членов ФСС, членов добровольной пожарной дружины по списку |
Ответственный руководитель работ Оператор фабрики |
| Оповестить все цеха об аварии по громкоговорящей связи и телефону |
Ответственный руководитель работ Оператор фабрики |
| Тушить пожар первичными средствами пожаротушения |
Начальник основного производства Обслуживающий персонал |
| Отключить вводные автоматы в ТП – 1 главного корпуса |
Главный механик Дежурный эл. слесарь |
| Выставить посты на выходах № 7,6 |
Ответственный руководитель работ Зам. главного инженера |
| Пожарная часть, члены ФСС и ДПД поступают в распоряжение ответственного руководителя работ и приступают к тушению пожара. Пожарная команда следует к месту пожара в сопровождении представителя фабрики по маршруту варианта |
Ответственный руководитель работ Начальник пожарной части |
| Меры по спасению людей и ликвидации аварий |
Ответственные за выполнение мероприятий Исполнители |
| Дополнительные мероприятия при взрыве угольной пыли |
|
| Оповестить все цеха об аварии по громкоговорящей связи и по телефону |
Начальник основного производства Оператор фабрики, оператор сушки |
| Вывести людей в безопасное место из сушильного отделения, галереи конвейера поз. 554, отделения обогащения, котельной и других цехов |
Ответственный руководитель работ Сменный мастер, члены ФСС |
| Командный пункт переносится в диспетчерскую ОФ |
Ответственный руководитель работ Оператор фабрики |
| Отключить высоковольтные ячейки № 20, 27, 5,10 в распредустройстве 6-кВ |
Главный механик Дежурный электрослесарь |
| Перекрыть трубопровод отопления сушильного отделения, перекрыв задвижки V – 31 и V – 10 в котельной на отметке +/- 0.00 |
За начальника производства Дежурный слесарь котельной |
1.4.4 Причины заболеваемости на обогатительной фабрике
Многолетний анализ причин заболеваемости на углеобогатительных фабриках показывает, что среди разных профессиональных групп наибольший уровень заболеваемости приходится на слесарную группу рабочих, машинистов ленточных конвейеров, породовыборщиков, аппаратчиков углеобогащения. Уровень заболеваний органов дыхания наиболее высок среди машинистов ленточных конвейеров, породовыборщиков и машинистов сушильных установок; нервных заболеваний - среди машинистов насосных установок, машинистов ленточных конвейеров, грузчиков. Частота заболеваемости глаз машинистов ленточных конвейеров, аппаратчиков углеобогащения в несколько раз выше, чем у рабочих др. профессий. Наибольшая частота заболеваний костно-мышечной системы отмечена среди машинистов конвейеров, аппаратчиков углеобогащения, породовыборщиков и грузчиков.
Основные причины заболеваний органов дыхания - загрязненность производственной атмосферы угольной пылью и парами реагентов, что обусловлено недостаточно эффективной работой приточно-вытяжной вентиляции, некачественным укрытием очагов пылевыделения, недостаточной герметизацией окон, проемов.
Существенное значение в развитии нервных заболеваний, болезней уха и язвенной болезни, как показано в специальных исследованиях, имеют повышенные уровни шума и вибрации, воздействующие на обслуживающий персонал фабрик.
Основные причины несоответствия уровня освещенности рабочих мест требованиям санитарных норм – загрязненность светильников из-за большого выделения пыли, нерациональное размещение их по отношению к оборудованию, отсутствие или отключение светильников, нерегулярный уход за ними. Основная причина неудовлетворительной естественной освещенности высокая влажность воздуха и повышенное пылевыделение. Недостаточная механизация ручного труда и высокий уровень вибрации вызывают заболевания кожно-мышечной системы.
В технологических процессах углеобогатительных фабрик применяют следующие ядовитые вещества: флотационные реагенты – керосин, соляровое, легко-среднее, поглотительное и антраценовые масла, сульфированный и окислительный керосин, древесные смолы, кубовые остатки от перегонки сульфатного скипидара-сырца, спирты; в качестве тяжелой жидкости для расслоения угля при анализе или опробовании исходного угля продуктов обогащения – хлористый кальций, хлористый цинк, полихлориды.
Ядовитые вещества могут проникать в организм через дыхательные и пищеварительные пути, а также через кожу. Наиболее опасно попадание ядовитых веществ через дыхательные пути в легкие, так как в этом случае они быстро проникают в кровь и разносятся по всему телу.
Производственные вредности могут также быть причиной бытовых заболеваний, самыми распространенными из которых являются простудные и болезни кожи, возникающие вследствие загрязнения ее угольной пылью.
На углеобогатительных фабриках для каждого отдельного участка (производственный процесс), где применяют ядовитые или агрессивные химические вещества, должны разрабатываться конкретные мероприятия по борьбе с производственными вредностями. Обслуживание таких процессов определяется специальными инструкциями, в которых приводятся конкретные правила безопасности.
Согласно Правилам безопасности, на работы с применением вредных и токсичных жидкостей или вредных связующих рабочие допускаются только после обучения их правилам безопасной работы с этими продуктами.
1.5 Оценка надежности технических систем фабрики методом «дерева отказов»
Дерево отказов (дерево аварий) представляет собой сложную графологическую структуру, лежащую в основе словесно-графического способа анализа возникновения аварий из последовательностей и комбинаций неисправностей и отказов элементов системы.
С помощью анализа дерева отказов фактически делается попытка количественно выразить риск дедуктивным методом. Анализ дерева отказов - это описание всех возможных причин каждого события. В анализе дерева отказов изучаются причины, которые привели к верхним событиям.
Качественно и количественно исследуют дерево аварий с помощью выделенных минимальных аварийных сочетаний и траекторий. Качественный анализ заключается в сопоставлении различных маршрутов от начальных событий к конечному и определении критических (наиболее опасных) путей, приводящих к аварии. При количественном исследовании рассчитывают вероятность появления аварий в течение задаваемого интервала времени по всем возможным маршрутам. При расчете вероятности возникновения аварий необходимо учитывать применяемые логические знаки [14]
Вероятность p(В) выходного события В при независимости входных событий А1 , А2 ,…,Аn определяют по формулам:
при знаке И:
,
при знаке ИЛИ:
,
где:
- вероятность события Аi
Результаты системного анализа опасностей и статистика отказов технологического оборудования по «Касьяновской ОФ» свидетельствуют о приоритете технических причин в ряду возможных рисков ущерба. Поэтому, имеет смысл рассмотреть возможные отказы технологического оборудования и построить логическую причинно – следственную зависимость между событиями в виде дерева отказов.
В качестве исходной информации нами взяты:
- технологическая схема обогащения угля на обогатительной фабрике, представленная на рис.1.1;
- статистические данные отказов технологического оборудования по «Касьяновской ОФ», за май месяц 2006 г. (Приложение А) .
Технология обогащения на обогатительной фабрике представляет систему с последовательной связью элементов. Неустойчивая экономическая ситуация в целом в России и высокие цены на оборудование в частности исключило даже частичное резервирование отдельных узлов. Последовательные системы имеют невысокие показатели надежности, более того, при выходе из строя одного из элементов оборудования, работоспособность всей системы прекращается. Следовательно, необходимо определить наиболее «слабое звено» в цепочке технологического оборудования.
Статистические данные по анализу отказов технологического оборудования, полученные нами за май 2006 г. (приложение А), обработаны и представлены в таблице:
Таблица 1.8 - Анализ отказов оборудования
| Оборудование |
Причина отказа в работе |
Продолжительность отказов |
Число отказов в месяц |
Риск отказа |
| Грохоты типы: ГИСЛ-72, 62, 82 |
1. нарушение крепления сит 2. нарушение крепления вибратора 3. негабариты породы |
3 ч 15 мин 35 мин. 35 мин. |
5 |
0,0045 0,0008 0,0008 |
| Конвейер ленточный |
1 подклейка стыков ленты 2 ремонт бортов 3 негабариты породы 4. ремонт цепи «Галя» |
1 час 40 мин. 30 мин. 40 мин. |
4 |
0,0013 0,0009 0,0007 0,0009 |
| Скребковый конвейер |
1 износ отверстий в пластинах 2. порыв скребковой цепи |
7 час. 25 мин |
4 |
0,0102 |
| Насос Д 2000/100-2 |
1. выдавило прокладку в горизонтальной плоскости разъема насоса 2. вымыв смазки подшипников со стороны Эл. двигателя |
1 час 30 мин. 1 час. |
2 раза |
0,002 0,0014 |
| Отсутствие Эл. энергии |
2 часа |
0,003 |
Риск отказов рассчитывался по формуле:
Rотк = Q(t)/Σ(t ), (1.1)
где: Q (t) – число часов отказов
Σ (t) – сумма рабочих часов в месяц, равная 720 ч.
Rотк = 18 час 15 мин/720 час. = 0,025
Общее число отказов – 15. Суммарная продолжительность всех остановов - 18 час. 15 мин. Причины остановов распределились следующим образом:
износ оборудования (его ремонт) – 15, 14 часа или 83%
отключение энергии – 2 часа или 11%
эксплуатационный недосмотр –1,1 часа или 6%
Анализ отказов показал, что наибольшее число отказов приходится на грохот. Таким образом, более подробно рассмотрим причины отказов грохота.
Для операции грохочения руд на обогатительных фабриках наибольшее распространение получили инерционные грохоты тяжелого типа ГИТ; они устанавливаются перед дробилками среднего и мелкого дробления.
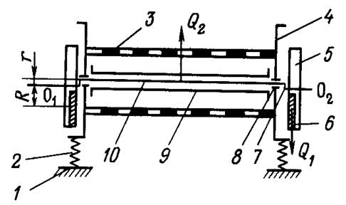
Кинематическая схема стандартного инерционного грохота представлена на рис. 1. Короб 4 с ситами 3 опирается на пружинные амортизаторы 2, смонтированные на опорной раме 1; иногда может применяться упругая подвеска к перекрытию. К коробу приварена труба вибровозбудителя 9, внутри которой проходит рабочий вал 10, вращающийся в подшипниках 8. На концах вала 10, имеющих эксцентричные расточки 7 радиуса r насажены шкивы 5 с дебалансами 6 радиуса R (рис. 1.2).
Рис.1.2 - Кинематическая схема инерционного грохота
При вращении шкивов вокруг геометрической оси О1 О2 возникает сила инерции массы короба М с материалом Мω2 r, которая уравновешивается равной ей и противоположно направленной силой дебалансных грузов (массой m) mω2 R, здесь ω – угловая скорость вращения [15]
На основе кинематической схемы составим структурную схему грохота: она принципиально складывается из механической и побудительной (двигательной) составляющих. Короб с ситами, а также подвижное крепление его к опорной раме составят механическую основу аппарата. Побудительная часть образуется из двигателя и системы вибровозбуждения. В общем виде структурная схема грохота представлена на рис. 1.3

Рис. 1.3 - Структурная схема грохота
Таблица. 1.9 - Анализ видов и последствий отказов грохота
| № отказа |
Оборудование |
Последствия отказов 1.1 |
||||||||||||||
| 1 |
Двигатель 1.1 |
1.1.1. |
1.2.2. |
1.2.1. |
1.2.1.1. |
|||||||||||
| 2 |
Вибровозбудитель 1.1.1 |
1.2.1 |
1.2.1.1 |
|||||||||||||
| Последствия отказов 1.2 |
||||||||||||||||
| 3 |
Короб 1.2 |
1.2.2. |
1.2.1. |
1.2.1.1 |
||||||||||||
| 4 |
Сито 1.2.1. |
1.2.1 |
1.2.1.1 |
|||||||||||||
| 5 |
Сито 1.2.1.1 |
1.2.1.1 |
||||||||||||||
| 6 |
Амортизатор 1.2.2. |
1.2.2. |
1.2.1 |
1.2.1.1. |
||||||||||||
| Грохот1 |
Последствия отказов |
|||||||||||||||
| 1.1. |
1.2. |
1.1.1. |
1.2.1 |
1.2.2 |
1.2.1.1. |
1 |
||||||||||
| 1. Двигатель |
+К |
+К |
+К |
+К |
+К |
+К |
+К |
|||||||||
| 2.Вибровозбудитель |
- |
+ |
- |
+ |
- |
+К |
||||||||||
| 3 Короб |
- |
- |
- |
- |
+П |
|||||||||||
| 4. Сито |
+Л |
+Л |
+Л |
|||||||||||||
| 5. Сито |
+Л |
+Л |
||||||||||||||
Виды отказов по влиянию на вышестоящий уровень:
Л – локальные, не влияют на вышестоящий уровень;
П – промежуточные, влияют на вышестоящий уровень;
К – конечные, приводят к отказу объекта.
Изученные виды и последствия отказов легли в основу построения логической диаграммы причинно-следственных связей, приводящих к не желаемым происшествиям - «дерева отказов»
Причины отказов, попавших в группу А, подлежат безусловному устранению при проектировании путем изменения конструкции и пр. Причины отказов, попавших в группу В и С, требуют дальнейшего анализа, должны быть уточнены механизмы отказов, характер деградационных процессов и др. факторы. Отказы групп В и С вносятся в специальный перечень для последующего анализа и контроля. Причины отказов группы Д не требуют дополнительного анализа [16]
Выполненный системный анализ вредностей и опасностей, обозначение и разбор возможных причин и последствий отказов технологического оборудования позволили наметить ряд мероприятий по оперативному управлению безопасностью и риском на ОФ:
Перечень мероприятий по сокращению технических R:
- прогнозирование развития аварийной обстановки.
- организация и осуществление аварийного технологического контроля.
- выработка и принятие управленческих решений по локализации аварий, предотвращение формирования опасных факторов.
- доведение задач до специальных служб, сил и средств.
- выработка и установление законодательных и нормативных правовых актов, регулирующих управление техногенным риском.
- анализ подразделений аварийных объектов и других структур, привлекаемых для реализации принятых решений безопасности и риска, предусматривающий идентификацию и исследование источников опасности [17]
2. Организация охраны труда и производственного контроля на ОФ
2.1 Структура управления Касьяновской обогатительной фабрики
На рис. 2.1 представлена структура общего управления КОФ
Рис. 2.1 - Схема взаимодействия с другими службами и расположения производственного контроля
Работа по охране труда и производственный контроль на Касьяновской обогатительной фабрике строится в соответствии с « Положением о системе управления безопасностью труда на ООО «Касьяновская ОФ».
Основой организации безопасности труда на ОФ является работа, проводимая административно-техническим персоналом, включая все службы управления предприятием, совместно с профсоюзом, по осуществлению производственного и общественного надзора.
Общее руководство работой по охране труда и промышленной безопасности возложено на Генерального директора ОФ.
Непосредственное руководство и ответственность за организацию работы по обеспечению безопасности труда и промышленную безопасность производства возложено на технического директора ОФ (главного инженера).
Ответственным работником за осуществление производственного контроля приказом по предприятию назначается зам. главного инженера.
В его компетенцию входит:
- организация планирования и проведения проверок (оперативных, целевых и комплексных) соблюдения требований промышленной безопасности, а также подготовки и регистрации отчетов о результатах таких проверок;
- порядок обмена информацией о состоянии промышленной безопасности между структурными подразделениями (службами) эксплуатирующей организации и доведения ее до всех работников, занятых на опасных производственных объектах;
- порядок сбора и анализа информации о состоянии промышленной безопасности (в том числе результатов производственного контроля) структурными подразделениями эксплуатирующей организации, включая службы производственного контроля;
- порядок разработки, принятия и реализации решений (в том числе оперативных) по обеспечению промышленной безопасности с учетом результатов производственного контроля, а также порядок разработки планов мероприятий по локализации аварий и инцидентов и ликвидации их последствий;
- порядок организации и расследования учета несчастных случаев, аварий и инцидентов на опасном производственном объекте.
Служба производственного контроля комплектуется квалифицированными специалистами, как правило, по профилю опасных производственных объектов, эксплуатируемых в организации, - технологами, механиками, электриками и т.д. Работник, ответственный за осуществление производственного контроля, должен иметь:
- высшее образование, соответствующее профилю производственного объекта;
- стаж работы не менее 3 лет на соответствующей работе на опасном производственном объекте отрасли промышленности;
- удостоверение, подтверждающее прохождение аттестации по промышленной безопасности.
В состав производственного контроля входят: главный механик, главный энергетик, маркшейдер-гидрогеолог, лаборант очистных сооружений (по охране окружающей среды).
Общественный контроль в цехах, на участках и службах ОФ за соблюдением правил и норм по охране труда осуществляется через уполномоченных и комиссии по охране и экологии профкома ОФ.
2.2 Обязанности администрации и главных специалистов ОФ по обеспечению охраны труда и производственного контроля
В составе ООО «Касьяновская ОФ» в соответствии с требованием промышленной безопасности зарегистрированы в государственном реестре Российской федерации следующие опасные производственные объекты:
1. Обогатительная фабрика
2. Котельная
3. Цех транспортный
4. Участок железнодорожный.
5. Гидроотвал.
Администрация предприятия в лице работодателя обязана:
- Соблюдать положения Федерального Закона о промышленной безопасности на объектах, а также нормативных технических документов в области промышленной безопасности;
- Иметь лицензию на эксплуатацию опасного производственного объекта;
-Обеспечивать укомплектованность работников опасного производственного объекта, в соответствии с установленными требованиями, средствами индивидуальной защиты;
- Допускать к работе на опасном производственном объекте лиц, удовлетворяющих соответствующим квалификационным требованиям и не имеющих противопоказаний в указанной работе;
- Иметь на опасном производственном объекте нормативные правовые акты и нормативные технические документы, устанавливающие правила ведения работ на опасном производственном объекте;
- Организовать и осуществлять охрану труда и производственный контроль за соблюдением требований промышленной безопасности;
- Обеспечить наличие и функционирование необходимых приборов и систем контроля за производственными процессами с установленными требованиями;
- Обеспечить проведение экспертизы промышленной безопасности, проводить диагностику, испытание, освидетельствование сооружение и технических устройств, применяемых на опасном производственном объекте, в установленные сроки;
- Предотвращать проникновение на опасный производственный объект посторонних лиц;
- Обеспечивать выполнение требований промышленной безопасности к хранению опасных веществ;
- Заключать договор страхования риска ответственности за причинение вреда при эксплуатации опасного производственного объекта;
- Выполнять распоряжения и предписания Федерального органа исполнительной власти;
- Приостанавливать эксплуатацию опасного производственного объекта самостоятельно или по предписанию Федерального органа исполнительной власти в случае аварии или инцидента на опасном производственном объекте, а также в случае обнаружения вновь открывшихся обстоятельств, влияющих на промышленную безопасность;
- Осуществлять мероприятия по локализации и ликвидации последствий аварий на опасном производственном объекте, оказывать содействие государственным органам в расследовании причины аварий;
- Принимать участие в техническом расследовании причины аварии на опасном производственном объекте, принимать меры по устранению указанных причин и профилактике подобных аварий;
- Анализировать причины возникновения инцидента на опасном производственном объекте, принимать меры по устранению указанных причин и профилактике подобных инцидентов;
- Своевременно информировать в установленном порядке орган исполнительной власти, специально уполномоченный в области промышленной безопасности, а также иные органы государственной власти, органы местного самоуправления и население об аварии на опасном производственном объекте;
- Принимать меры по защите жизни и здоровья работников в случае аварии на опасном производственном объекте;
- Вести учет аварий и инцидентов на опасном производственном объекте;
- Предоставлять в Федеральный орган исполнительной власти информацию о количестве инцидентов, причинах их возникновения и принятых мерах.
Ответственность за организацию системы управления промышленной безопасностью, охраной труда и производственному контролю возлагается на технического директора ОФ.
Заместители директора и главные специалисты ОФ несут ответственность за организацию и осуществление охраны труда и производственного контроля, а также за соблюдение технологической дисциплины в подчиненных структурных подразделениях общества.
Главный бухгалтер несет ответственность за:
- своевременный расчет средств по возмещению вреда, причиненного работникам увечья, профзаболеванием, либо иным повреждением здоровья, связанным с исполнением ими трудовых обязанностей;
- контроль за расходованием и учетом средств на охрану труда, охрану окружающей среды;
- своевременную оплату счетов на лицензирование, сертификацию, метрологическое обеспечение производства и договоров страхования риска, ответственности за причинение вреда при эксплуатации опасного производства.
Главный экономист несет ответственность за планирование средств на охрану труда и подготовку расчетов на заключение договора страхования риска ответственности за причинение вреда при эксплуатации опасного производственного объекта или воздействия опасного производства на природную среду.
Главный механик, главный энергетик несут ответственность за:
- проведение сертификации технических устройств, в т.ч. иностранного производства, применяемых на опасном производственном объекте;
- осуществление технического расследования причин аварии, инцидентов и несчастных случаев на опасном производственном объекте;
- осуществление подготовки документов для разработки деклараций промышленной безопасности опасных производственных объектов и технических освидетельствований технических устройств, применяемых на опасных производственных объектах, ремонтом и проверкой контрольных средств измерений.
- Обеспечение безопасной и безаварийной работы обогатительного оборудования путем соблюдения Правил о ППР.
Заместитель главного инженера несет ответственность за:
- подготовку документов для лицензирования видов деятельности в области промышленной безопасности;
- осуществление подготовки документов для экспертизы промышленной безопасности, проектной документации и согласование с Управлением Иркутского округа по технологическому и экологическому надзору Федеральной службы соблюдение технологической дисциплины при производстве работ;
- осуществление подготовки безопасности опасных производственных объектов.
Маркшейдер-гидрогеолог несет ответственность за:
- подготовку документации для получения лицензии геолого-маркшейдерский контроль за ведением работ и соблюдением условий лицензирования согласно Положения о службе.
Ответственность за выполнение требований системы управления промышленной безопасностью и охраной труда возлагается на заместителя технического директора (зам. главного инженера по)– руководителя службы производственного контроля.
Заместитель технического директора (зам. главного инженера) – руководитель производственного контроля, охраны труда и промышленной безопасности подразделений, обеспечивает взаимодействие руководства Управления по технологическому и экологическому надзору Федеральной службы и иными Федеральными органами исполнительной власти, наделенные контрольными и надзорными функциями в промышленной безопасности.
Ответственный за осуществление производственного контроля и охраны труда обеспечивает:
- Разработку ежегодных планов работ (комплексный план улучшения условий охраны труда, обеспечения промышленной безопасности и санитарно-оздоровительных мероприятий ООО «Касьяновская ОФ») по обеспечению охраны труда и производственного контроля на ОФ с учетом результатов предыдущих проверок промышленной безопасности и аттестации рабочих мест.
- Разработку графиков и планов проведения комплексных проверок состояния промышленной безопасности в цехах, на участках и службах, контролирует их проведение в установленные сроки.
- Контролирует наличие лицензий, срок их окончания и переоформления, выполнения условий этих лицензий, наличия деклараций на эксплуатацию опасных производственных объектов.
- Контролирует комплекс мероприятий, связанных с подготовкой и аттестацией руководителей, специалистов и других работников, занятых на опасных производственных объектах в области промышленной безопасности.
- Контролирует соблюдение установленного порядка допуска, наличие разрешений Управлением Иркутского округа по технологическому и экологическому надзору Федеральной службы на технические устройства, технологии и оборудование (в т.ч. импортное) для опасных промышленных производств и объектов.
- Осуществляет общий контроль выполнения предписаний Ростехнадзора и подготовку сообщений об исполнении их в установленные сроки.
- Занимается подготовкой и рассылкой информации об организации охраны труда и производственного контроля в Управлении Иркутского округа по технологическому и экологическому надзору Федеральной службы, в соответствии с требованием п.15, п.16 «Правил организации и осуществления производственного контроля за соблюдением требований промышленной безопасности на опасном производственном объекте».
- Ведет контроль за разработкой ежемесячных и ежегодных планов мероприятий участков и цехов ОФ, направленных на улучшение промышленной безопасности и охраны труда.
- Осуществляет доведение требований промышленной безопасности, установленных Федеральными Законами и иными нормативными правовыми актами до подразделений предприятия.
- Приостанавливает работы, осуществленные на опасном производственном объекте с нарушением требований промышленной безопасности, создающих угрозу жизни или здоровью работников, или которые могут привести к несчастным случаям, аварии или ущербу окружающей среды.
- Вносит предложения руководству предприятия об отстранении от работы на опасном производственном объекте лиц, не имеющих соответствующую квалификацию, не прошедших своевременно подготовку и аттестацию по промышленной безопасности, о привлечении к ответственности лиц, нарушивших требования промышленной безопасности и о поощрении работников, принимавших участие в разработке и реализации мер по повышению уровня промышленной безопасности.
- Руководит организацией работы по подготовке проведения экспертизы промышленной безопасности.
- Принимает участие в расследовании несчастных случаев.
- Организует выпуск информации по происшедшим несчастным случаям, авариям на ОФ и на предприятиях компании «СУЭК».
- Контролирует выполнение намеченных по результатам расследования несчастных случаев, организационных и технических мероприятий.
- Дает предложения о поощрении или наложении взыскания на руководителей структурных подразделений предприятия.
Работники охраны труда и производственного контроля имеют право:
- осуществлять свободный доступ на опасные производственные объекты в любое время суток.
- Знакомиться с документами, необходимыми для оценки состояния промышленной безопасности.
- Участвовать в разработке и пересмотре деклараций промышленной безопасности.
Работники охраны труда и производственного контроля несут ответственность за:
Осуществление охраны труда производственного контроля, за соблюдением работниками соответствующих подразделений требований промышленной безопасности согласно должностных инструкций.
2.3 Основные показатели производственного контроля за соблюдением промышленной безопасности
В таб. 2.1. приведены основные показатели производственного контроля за соблюдением промышленной безопасности на ООО «Касьяновская ОФ» за 2006 год.
Таблица 2.1 - Основные показатели производственного контроля за 2006 год
| № |
Отчётные данные |
Показатели |
| 1. |
Количество: |
|
| Эксплуатируемых опасных производственных объектов, ед. |
5 |
|
| Застрахованных объектов ( в соответствии со ст. 15 ФЗ «О промышленной безопасности ОПО», ед. Единиц эксплуатируемого оборудования, подлежащего обязательной сертификации на соответствие требованиям промбезопасности. |
5 - |
|
| Проведено освидетельствований и контрольных испытаний оборудования, ед. |
2 |
|
| Количество работников эксплуатирующих организаций, прошедших в отчётном году подготовку и аттестацию в области промбезопасности, чел. |
10 |
|
| Количество нарушений требований промбезопасности, выявленных органами Ростехнадзора РФ. |
168 |
|
| Количество устранённых нарушений. |
157 |
|
| 2. |
Численность работников: |
|
| Занятых эксплуатацией ОПО, чел |
394 |
|
| Осуществляющих функции производственного контроля, чел. |
4 |
|
| 3. |
Число: |
|
| Аварий за отчётный период. |
- |
|
| Инциндентов за отчётный период. |
- |
|
| Контрольно-профилактических проверок, выполненных службами производственного контроля. |
12 |
|
| Нарушений требований промбезопасности, выявленных службами производственного контроля. |
65 |
|
| Предложений внесённых службами производственного контроля руководству предприятия по обеспечению промбезопасности. |
6 |
|
| Приостановок ведения горных ( и других ) работ в опасных условиях ( по результатам производственного контроля) |
- |
|
| Работников, привлечённых к ответственности за нарушения требований промбезопасности (по предоставлению служб производственного контроля) |
30 |
Приведенные данные показывают, что основную контролирующую работу на фабрике осуществляют структуры Государственного контроля. Ростехнадзор обнаружил 168 нарушений за год. В то время, как службой производственного контроля выявлено всего 65 нарушений. Этого не достаточно.
2.4 Структура службы безопасности на КОФ
Профессиональная служба по охране труда на КОФ состоит практически из трех человек: зам главного инженера по охране труда – он же начальник отдела по охране труда, инженера по промышленной безопасности и охране труда и лаборанта очистных сооружений с правами техника по охране природы и окружающей среды (рис. 2.2)

Рис. 2.2 - Структура службы безопасности на КОФ
Из рис. 2.2 мы видим, что не четко прописана техническая служба, и нет комиссий по охране труда. Также можно отметить, что слишком много полномочий возложено на одного человека (зам. гл. инженера), который в свою очередь возглавляет учебный пункт, что является существенным недостатком. Так как один работник не может полностью контролировать все службы предприятия. Об этом свидетельствуют данные о количестве нарушений требований промбезопасности, выявленные органами Ростехнадзора РФ.
Большее количество нарушений приходится на технический контроль за оборудованием.
Таким образом, разработаем систему управления охраной труда с целью усиления контроля над технической службой.
2.5 Усиление технического контроля над оборудованием
Организация должна разрабатывать, внедрять и поддерживать установленные (документированные) процедуры гарантирующие:
А) идентификацию опасностей;
Б) оценку риска;
В) регулирование и контроль риска;
Г) регулярную оценку потребности в действиях, перечисленных в пп. «а» - «в».
Все риски, связанные с каждой из идентифицированных опасностей, следует оценивать и упорядочивать по приоритетам регулирования и контроля на основе оцененных уровней риска.
Следует оценивать как нормальные условия функционирования, так и случаи отклонений в работе, связанные с происшествиями, возможными аварийными ситуациями.
Риски, которые признаны неприемлемыми, должны быть использованы как база для разработки целей и задач в области охраны труда.
Все идентифицированные риски подлежат регулированию и контролю с учетом приоритетов применяемых мер [3]
В числе мер по регулированию и контролю риска используют:
· исключение опасной работы (процедуры);
· замену опасной процедуры;
· инженерные методы контроля (диагностики);
· административные методы контроля;
· средства коллективной и индивидуальной защиты.
Чтобы снизить аварии на том или ином объекте нужно усилить контроль за технической службой, которая непосредственно отвечает за технологическое оборудование. А именно контролировать техническое обслуживание, эксплуатацию и ремонт оборудования, с тем, чтобы гарантировать выполнение соответствующих нормативных требований охраны труда путем:
· установления и обеспечения выполнения процедур, направленных на устранение отклонений от политики организаций, целей и задач в области охраны труда;
· выполнение установленных функциональных критериев (нормативных требований) к процессам;
· установления и обеспечения использования методов выявления рисков, связанных с работой оборудования, используемым сырьем, комплектующими, услугами, получаемыми и используемыми организацией, и информирования поставщиков и подрядчиков о соответствующих требованиях;
· разработки и использования методов проектирования оснащения рабочих мест, производственных процессов, оборудования с учетом требований эргономики, обеспечивая исключение или снижение производственного риска непосредственно в месте его проявления [18]
Выполняя эти функции организация может снизить число отказов оборудования, ведя при этом усиленный контроль за технической службой фабрики.
3. Управление рисками и формирование СУОТ
3.1 Система управления охраной труда как составляющая общей системы управления предприятием
Управление предприятием, с точки зрения теории систем представляется целенаправленной целостной структурой, имеющей управляющий орган, объект управления, функции и средства управления. Соответственно, любая составляющая этой сложной системы, в том числе и система управления охраной труда, структурно будет повторять схему управления, но на своем уровне и в рамках своих компетенций. Поэтому, структурная схема управления охраной труда в общем плане нами представляется на рис.3.1.
![]()
Рис. 3.1 - Принципиальная схема управленческого цикла СУОТ
Каждое функциональное звено структуры участвует в цикле управления охраной труда.
3.2 Расчет нормативной численности работников службы охраны труда
Для того чтобы предложить улучшенную структуру управления на КОФ, для начала проверим численность службы охраны:
Таблица 3.1 - Расчет нормативной численности работников службы охраны труда
| № |
Наименование видов работ |
Наименование факторов |
Единица измерения |
Числовые значения факторов |
Номер таблица |
Норматив численности |
|||||
| 1 |
2 |
3 |
4 |
5 |
6 |
7 |
|||||
| 1 |
Контроль за соблюдением законодательных и иных нормативных актов по охране труда |
Среднесписочная численность работников на предприятии Численность рабочих, занятых на тяжелых и связанных с вредными условиями труда работах |
Чел. Чел. |
392 84 |
1 |
0,06 |
|||||
| 2 |
Оперативный контроль за состоянием охраны труда на предприятии |
Среднесписочная численность работников организации Численность рабочих, занятых на тяжелых и связанных с вредными условиями труда работах Количество самостоятельных структурных подразделений |
Чел. Чел. Чел. |
392 84 8 |
2 |
0,29 |
|||||
| 3 |
Организация работы по снижению производственного травматизма |
Среднесписочная численность работников организации Численность рабочих, занятых на тяжелых и связанных с вредными условиями труда работах |
Чел. Чел. |
392 84 |
3 4 |
0,13 |
|||||
Нормативная численность работников службы охраны труда (Чн ) в организации определяется суммированием численности по таблицам в зависимости от факторов, установленных по данным статистической и оперативной отчетности.
Списочная численность работников службы охраны труда (Чсп ) устанавливается по формуле:
Чсп = Чн ×Кн , (3.1)
Где: Кн – коэффициент, учитывающий планируемые невыходы работников во время отпуска, болезни и т.п., определяется по формуле:
Кн =1 +% планируемых невыходов/1
где % планируемых невыходов определяется по данным бухгалтерского учета. Проведя расчет нормативной численности работников службы охраны труда ООО «Касьяновская ОФ» получаем:
Списочная численность работников службы охраны труда: Чсп = 1,4×1,1 = 1,54
Это составляет 2 человека, что на самом деле и есть на КОФ [19]
3.3 Разработка СУОТ на «Касьяновской обогатительной фабрике»
На основе выше сказанного предложим свою структуру управления, при этом усилив техническую сторону в ней, так как основная проблема фабрики состоит в введении контроля за технической службой.
Следовательно, внеся изменения в структуру сл. управления на КОФ, мы тем самым усилили контроль за работой технической службы.
Для уменьшения отказов технологического оборудования, данным дипломным проектом предлагается ввести на фабрике планово предупредительные ремонты (ППР). Таким образом, каждый месяц останавливать производство фабрики на 30-40 мин. в среднем.
При этом мы сможем наблюдать снижение риска отказа:
1.нарушение крепления сит (продолжительность отказа) 3ч. 15 мин. Возьмем продолжительность отказа по ППР 30 мин., и рассчитаем риск отказа:
Rотк =0,5/720=0,000694
Риск отказа уменьшился на 0,003806
2. износ отверстий в пластинах, порыв скребковой цепи:
Риск отказа уменьшился на 0,009506
выдавило прокладку в горизонтальной плоскости разъема насоса:
риск отказа уменьшился на 0,001306
3.Насос Д 2000/100-2 (выдавило прокладку в горизонтальной плоскости разъема насоса), риск отказа уменьшился на 0,001306.
На основе этого можно сделать следующий вывод: введя на данном предприятии планово-предупредительные ремонты, мы тем самым снижаем риск отказа технологического оборудования, что в свою очередь повышает производительность фабрики.
4. Расчет экономической эффективности средств индивидуальной защиты
Рассмотрим «Комплексный план по охране труда, промышленной и экологической безопасности ООО «Касьяновская ОФ» на период до 31. 12. 2011 г.» (Приложение Б), который является одним из требований СУОТ. Рассчитаем из данного перечня мероприятий по приобретению СИЗ экономическую эффективность использования средств защиты рук и ног.
Экономической характеристикой использования СИЗ является не «стоимость СИЗ», а стоимость использования, зависящая от времени использования. Для того, чтобы получить величину, независимую от этого времени, надо поделить «стоимость использования» на «время использования».
Такую относительную характеристику, полностью характеризующую расходы на данный тип СИЗ, называется «удельной стоимостью использования» (УСИ):
УСИ = СИ/ВИ (4.1)
Где СИ – стоимость использования (в ед. времени), ВИ – время использования (в единицу времени). УСИ (рубль в смену) показывает удельный расход средств на обеспечение одним наименованием СИЗ одного работника в одну рабочую смену.
Чем меньше значение УСИ, тем оптимальнее (дешевле) использование (при одинаковых эргономических и защитных свойствах) данных средств индивидуальной защиты. Используя данные УСИ по всей совокупности СИЗ, приобретенных на год, можно установить своеобразный рейтинг «оптимальности» того или иного средства индивидуальной защиты».
Для решения вопроса о выборе той или иной марки данного типа СИЗ и для оптимизации средств на его покупку с экономической точки зрения необходим другой показатель – коэффициент относительной эффективности, который можно рассчитать по формуле:
Котн =УСИ (старое)/ УСИ (новое) (4.2)
Где УСИ (старое) – УСИ уже используемого СИЗ, а УСИ (новое) – УСИ нового (или современного) СИЗ.
В случае если Котн >1, то применение нового СИЗ экономически обосновано и наоборот [20]
Таблица 4.1 - Экономическая эффективность использования средств защиты рук
| перчатки |
Цена, руб. |
Срок носки |
Кол-во на год |
Уст. |
Кот. |
экономия |
|||||
| мес. |
смена |
год |
мес. |
смена |
Мес. |
год |
3 года |
||||
| Рукавицы брезентовые |
19 |
0,5 |
11 |
24 |
456 |
38 |
1,73 |
1,00 |
0 |
0 |
0 |
| Перчатки «Хайкрон» |
85 |
3 |
66 |
4 |
340 |
28,3 |
1,29 |
1,34 |
9,7 |
116 |
348 |
Из расчета на одного человека
Перчатки «Хайкрон» производства фирмы Ansell, имеют нитриловое масло-бензостойкое покрытие ладони, стойкое к порезам и проколам, подходят для работы с грубыми и жесткими поверхностями с образивными материалами, литьем, коваными изделиями и кирпичом. Изнутри эти перчатки обработаны специальным составом, предотвращающим раздражение кожи рук, кроме этого, они антистатичны.
С позиции отдела материально-технического снабжения решение естественно принимается в сторону продукции с более низкой ценой –рукавицы брезентовые.
Но когда начинаем проводить элементарные расчеты с применением понятий удельной стоимости СИЗ и коэффициента относительной эффективности, то приходим к следующим выводам:
1. приобретая более дорогие перчатки «Хайкрон», но с более длительным сроком эксплуатации, мы в течение года «зарабатываем» на приобретение только одной пары перчаток за 85 руб. свыше 116 руб.;
2. наряду с финансовой экономией от приобретения мы получаем реальное улучшение защитных свойств продукта, улучшенную экономику эксплуатации и соответственно повышение производительности труда.
Простые кирзовые сапоги по цене 693 руб. за пару имеют срок использования 264 дня (12 месяцев). Более современные средства защиты ног – ботинки «Крафт». Розничная цена ботинок «Крафт» 474 руб за комплект, имеют срок использования 528 дней (24 месяца).
Таблица 4.2 - Экономическая эффективность использования средств защиты ног.
| Сапоги |
Цена, руб. |
Срок носки |
Кол-во на год |
Уст. |
Кот. |
экономия |
|||||
| мес. |
смена |
год |
мес. |
смена |
Мес. |
год |
3 года |
||||
| Сапоги кирзовые |
693 |
12 |
264 |
1 |
693 |
57,75 |
2,63 |
1 |
0 |
0 |
0 |
| Ботинки Крафт |
474 |
24 |
528 |
0,5 |
273 |
19,75 |
0,9 |
2,92 |
38 |
456 |
1368 |
Расчеты показывают, что выбирая ботинки «Крафт» мы «зарабатываем» в год 1368 руб.
Покупателю (работодателю) в данных обстоятельствах необходимо правильно принимать экономические решения, учитывая и то, что даже если текущие расчеты показали равенство коэффициента (Кот) прежних и новых СИЗ, то возможно и эргономические свойства новых СИЗ позволят повысить производительность труда и принесут соответствующие экономические выгоды.
На примере ООО «Касьяновская ОФ» проведем сравнительный анализ применяемой традиционной схемы обеспечения СИЗ и согласно проводимым расчетам предложим схему применения современных СИЗ.
При традиционной схеме обеспечения СИЗ (приложение Б) итоговая стоимость обеспечения СИЗ составляет на период до 31.12.2011 составляет 2729 тыс. 32 руб. Чтобы узнать как изменится итоговая сумма затрат от современных СИЗ, проведем следующие расчеты:
1. Рукавицы брезентовые заменяем на перчатки «Хайкрон», в итоге предприятие за год тратит на их приобретение 56 тыс. 700 руб., что на 19 тыс. 400 руб. меньше, чем предприятии тратит на брезентовые рукавицы.
2. Сапоги кирзовые заменяем на ботинки Крафт, в итоге фабрика за год тратит на их приобретение 59 тыс. 250 руб., что на 113 тыс. 95 руб. меньше, чем предприятие тратит на традиционных кирзовых сапогах.
Из выше сказанного можно сделать следующий вывод: применяя схему от приобретения современных СИЗ предприятие затратит на их приобретение в расчете на 2007 год 357 тыс. 85 руб., что на 132 тыс. 85 руб. меньше, чем предприятие тратит на традиционные СИЗ; в расчете на 2008 год предприятие затратит на современные СИЗ 441 тыс. 35 руб., что на 49 тыс. 35 руб. меньше от традиционных СИЗ. Аналогично рассчитаем 2009 год: фабрика затратит на современные СИЗ 355 тыс. 25 руб., что на 168 тыс. 26 руб. меньше от традиционных СИЗ; в расчете на 2010 год от современных СИЗ сумма затрат составит 351 тыс. 55 руб., что на 185 тыс. 1руб меньше от традиционных СИЗ; в расчете на 2011 год сумма затрат на современные СИЗ составит 383 тыс. 5 руб., что на 203 тыс. 2 руб. меньше от традиционных СИЗ. В сумме это составляет 1888 тыс 45 руб. на период до 31.12.2011 г., что на 840 тыс. 87 руб. меньше, чем предприятие потратит на приобретение традиционных СИЗ. Это дает фабрики не только экономическую выгоду, но и позволит улучшить условия труда и тем самым повысить производительность предприятия.
ЗАКЛЮЧЕНИЕ
В данном дипломном проекте изучена и усовершенствована система управления охраны труда на ООО «Касьяновская обогатительная фабрика», выполнены задачи, поставленные в начале дипломной работы.
1. Изучен технологический процесс предприятия, на основе его был построен системный анализ вредностей и опасностей, рассмотрены более подробно вредные и опасные факторы по трем направлениям: вредности при обслуживании машин и механизмов; токсичные вещества и пылевой фактор, пожарная опасность.
2. Изучена действующая СУОТ на «Касьяновская обогатительная фабрика», выявлены ее недостатки, и на основе этого была проведена реорганизация СУОТ с усилением производственного контроля над технологическим оборудованием.
3. Проведена оценка надежности технических систем методом «дерево отказов», рассчитан риск и предложены мероприятия по снижению риска, путем введения на предприятии ППР (планово-предупредительные ремонты).
4. Рассчитана экономическая эффективность замены средств индивидуальной защиты более современными моделями, имеющими больший срок носки.
В целом, проектом достигнута основная цель, поставленная перед исследованием – формирование более эффективной системы управления охраной труда, позволяющая контролировать и снижать риски ущербов.
СПИСОК ЛИТЕРАТУРЫ
1. Андреев С.Е., Перов В.А., Зверичев В.В. Дробление, измельчение и гохочение полезных ископаемых. 3-е изд., перераб.и доп. – М.: Недра, 1980.
2. Борычев И.И. Охрана труда на предприятиях угольной промышленности. М., Недра, 1978.
3. ГОСТ РФ 12.0.006-2002 «Общие требования к системе управления охраной труда в организации».
4. Горчаков С.П., Мокронский А.С., Гриф Б.В. Охрана труда в угольной промышленности. М., Недра, 1978.
5. Коваль Б.А., Губский П.К. Охрана труда на углеобогатительных фабриках. М., Недра, 1976.
6. Линч А. Д. Циклы дробления и измельчения. Моделирование, оптимизация, проектирование и управление. Пер. с англ. – М.: Недра, 1981
7. Биленко Л. Ф. Закономерности измельчения в барабанных мельницах. – М.: Недра, 1984.
8. Подготовка минерального сырья к обогащению и переработке. В.И. Ревнивцев, Е. И. Азбель, Е.Г. Баранов и др.; Под ред. В.И. Ревнивцева. – М.: Недра, 1978.
9. Руденко К.Г., Шемаханов М.М. Обезвоживание и пылеулавливание. М., Недра,1981.
10. Справочник по обогащению руд. Обогатительные фабрики / Под ред. О.С. Богданова, Ю.Ф. Непаракова, 2-е изд., перераб и доп.-М.:Недра,1984.
11. Справочник по обогащению углей. Под ред. И.С. Брагова, А.М. Коткина, И.С. Зарубина 2-е изд., перераб. и доп.-М.: Недра, 1984.
12. Филиппов В.А. Очистка промышленных газов на углеобогатительных и брикетных фабриках. М., Недра, 1982.
13. Шувалов М.Г. Основы пожарного дела М., Стройиздат, 1979
14. Тимофеева С.С. Надежность технических систем и техногенный риск. Учебное пособие.-Иркутск: Изд-во ИрГТУ.-2003.-290с.
15. Ткаченко Л.А., Переплетчиков В.И. Монтаж технологического оборудования углеобогатительных фабрик. М., Недра, 1966.
16. Машков А.К., Сердюк В.С., Штриплинг Л.О. Надежность технических систем и техногенный риск.- Омск.-Изд-во ОмГТУ.-1998-72с.
17. Реин О. Три десятилетия исследования риска: достижения и новые подходы // Вопросы анализа риска.-1999.-Т.1.-№7.-с.80-99.
18. Рябинин И.А., Черкесов Г.Н. Логико-вероятные методы исследования надежности структурно-сложных систем.- М.: Радио и связь, 1981.-263 с.
19. Межотраслевые нормативы численности работников службы охраны труда в организациях. Утверждены постановлением Министерства труда и социального развития от 22 января 2001 г. № 10.
20. Какаулин С.П. Экономика безопасного труда. Учебное пособие. - Иркутск: изд-во,-2006-230с.
Приложение А
Анализ отказов технологического оборудования по ООО «Касьяновская ОФ» за май 2006 г.
I. Грохот ГИСТ-72 поз. 204 останавливался в процессе работы 2 раза по следующим причинам:
- нарушено крепление штампованных сит - 2 раза с продолжительностью отказов 3 часа 15 минут.
II. Грохоты ГИСЛ-62 поз. 106 поз. 107 останавливались в процессе работы 2 раза по следующим причинам:
- замена шпильки М 48х5 крепления вибратора - 1 раз с продолжительностью отказа 35 минут
- негабариты породы 1 раз с продолжительностью отказа 35 минут.
III. Грохот ГИСЛ-82 поз. 87 останавливался в процессе работы 1 раз по следующей причине;
- нарушено крепления штампованных сит – 1 раз с продолжительностью отказа 30 минут
IV.Ленточные конвейеры поз. 112; поз. 553; поз. 555; поз. 570 останавливались в процессе работы 4 раза по следующим причинам:
- подклейка стыков ленты – 1 раз с продолжительностью отказа 1 час;
- ремонт бортов – 1 раз с продолжительностью отказа 40 минут;
- негабариты породы – 1 раз с продолжительностью отказа 30 минут;
- ремонт цепи «Галя» - 1 раз с продолжительностью отказа 40 минут.
На устранение вышеперечисленных отказов затрачено 2 часа 50 минут рабочего времени.
V. Скребковый конвейер КСГС-10 поз. 212 останавливался в процессе работы 4 раза по следующей причине:
- износ отверстий в пластинах, порыв скребковой цепи – 4 раза с продолжительностью отказа 7 часов 25 минут.
VI.Гидроотвал. II-ой подъем. Насос Д2000/100-2 №1 останавливался в процессе работы 2 раза по следующим причинам:
- выдавило прокладку в горизонтальной плоскости разъема насоса – 1 раз с продолжительностью отказа 1 час 30 минут;
- вымыв смазки подшипников со стороны эл. двигателя – 1 раз с продолжительностью отказа 1 час.
На устранение вышеперечисленных отказов затрачено 2 часа 30 минут рабочего времени
VII. Отсутствие электроэнергии
ВВод № II. Отсутствие электроэнергии – 2 час
Приложение Б
| Предложенная система обеспечения, с учетом применения от современных СИЗ. |
||||||||||||||
| № п/п |
Наименование мероприятий |
Единица измерений |
План на период до 31.12.2011г. |
В том числе по годам |
Краткое обосноваие мероприятий |
|||||||||
| Количество |
Стоимость, тыс.руб. |
2007г. |
2008г. |
2009г. |
2010г. |
2011г. |
||||||||
| В натуральном выражении |
Стоимость, тыс. руб. |
В натуральном выражении |
Стоимость, тыс. руб. |
В натуральном выражении |
Стоимость, тыс. руб. |
В натуральном выражении |
Стоимость, тыс. руб. |
В натуральном выражении |
Стоимость, тыс. руб. |
|||||
| 1 |
2 |
3 |
7 |
8 |
9 |
10 |
11 |
12 |
13 |
14 |
15 |
16 |
17 |
|
| 1. |
Приобретение средств индивидуальной защиты |
1888,45 |
490,70 |
592,21 |
523,51 |
536,65 |
586,25 |
|||||||
| 1.1 |
Беруши |
пара |
2500 |
44,5 |
500 |
7,8 |
500 |
8,4 |
500 |
8,9 |
500 |
9,4 |
500 |
10,0 |
| 1.2 |
Боты диэлектрические |
пар |
50 |
49,3 |
30 |
13,0 |
5 |
2,3 |
5 |
14,8 |
5 |
2,6 |
5 |
16,6 |
| 1.3 |
Брюки ватные |
шт. |
50 |
12,1 |
10 |
2,2 |
20 |
4,8 |
20 |
5,1 |
||||
| 1.4 |
Валенки |
пар |
300,0 |
108,9 |
60 |
19,1 |
60 |
20,4 |
60 |
21,8 |
60 |
23,1 |
60 |
24,5 |
| 1.5 |
Костюм шахтерский Горизонт |
шт. |
1250 |
494,8 |
250 |
86,8 |
250 |
92,9 |
250 |
99,0 |
250 |
104,9 |
250 |
111,2 |
| 1.6 |
Куртка ватная с меховым воротником |
шт. |
300 |
112,6 |
60 |
19,8 |
60 |
21,2 |
60 |
22,5 |
60 |
23,9 |
60 |
25,3 |
| 1.7 |
Маска электросварщика |
шт. |
50 |
6,2 |
10 |
1,1 |
10 |
1,2 |
10 |
1,2 |
10 |
1,3 |
10 |
1,4 |
| 1.8 |
Носилки |
шт. |
1 |
4,0 |
1 |
4,0 |
||||||||
| 1.9 |
Очки защитные |
пар |
150 |
13,2 |
30 |
2,3 |
30 |
2,5 |
30 |
2,6 |
30 |
2,8 |
30 |
3,0 |
| 1.10 |
Перчатки диэлектрические |
пар |
1080 |
120,8 |
240 |
22,3 |
210 |
20,9 |
210 |
25,4 |
210 |
23,6 |
210 |
28,6 |
| 1.11 |
Перчатки резиновые |
пар |
150 |
2,3 |
30 |
0,4 |
30 |
0,4 |
30 |
0,5 |
30 |
0,5 |
30 |
0,5 |
| 1.12 |
Пояс монтажный предохранительный ПП1А |
шт. |
75 |
108,9 |
15 |
19,1 |
15 |
20,4 |
15 |
21,8 |
15 |
23,1 |
15 |
24,5 |
| 1.13 |
Пылесос промышленный |
шт |
2 |
36,8 |
2 |
36,8 |
0,0 |
0,0 |
0,0 |
0,0 |
||||
| 1.14 |
Респиратор противопылевый ШБ-1 "Лепесток" |
шт. |
5000 |
29,5 |
1000 |
5,2 |
1000 |
5,5 |
1000 |
5,9 |
1000 |
6,3 |
1000 |
6,6 |
| 1.15 |
Перчатки «Хайкрон» |
пар |
3340 |
283,5 |
668 |
56,7 |
668 |
56,7 |
668 |
56,7 |
668 |
56,7 |
668 |
56,7 |
| 1.16 |
Самоспасатель изолирующий ШСС |
шт. |
40 |
118,1 |
0 |
0,0 |
40 |
118,1 |
0 |
0,0 |
0 |
0,0 |
0 |
0,0 |
| 1.17 |
Ботинки «Крафт» |
пар |
625 |
296,25 |
125 |
59,250 |
125 |
59,250 |
125 |
59,250 |
125 |
59,250 |
125 |
59,250 |
| 1.18 |
Сапоги резиновые |
пар |
250 |
43,7 |
50 |
7,7 |
50 |
8,2 |
50 |
8,7 |
50 |
9,3 |
50 |
9,8 |
| 1. 91 |
Шина Крамера медицинская |
шт. |
4 |
3,0 |
4 |
3,0 |
||||||||