| Скачать .docx |
Реферат: Хемотроника
как новое научно-техническое направление возникло на стыке электрохимии и электроники. Это наука о построении разнообразных электрохимических приборов на основе явлений, связанных с прохождением тока в жидких телах с ионной проводимостью.
Исследования показали, что жидкостные системы имеют ряд важных преимуществ перед системами на основе твердых тел. К основным достоинствам жидкостных (электролитических) приборов следует отнести: низкие рабочие напряжения (до 1 В) и малые токи (микроамперы), что позволяет создавать весьма экономичные приборы; появление нелинейности характеристик при малых приложенных напряжениях (0,05...0,005 В), что позволяет достичь высокой чувствительности нелинейных преобразователей; протекание физико-химических процессов в тонком слое (единицы микрометров), что дает возможность создавать микроминиатюрные элементы схем. Вместе с тем следует учитывать, что небольшая подвижность (порядка 5 · 10-4 см2 /(В · с)) значительно ограничивает сверху рабочий диапазон этих приборов (f » 0...1 кГц).
В настоящее время предложено большое количество различных хемотронных приборов и устройств: управляемые сопротивления, точечные и плоскостные электрохимические диоды и транзисторы, интеграторы, блоки памяти ЭВМ, каскады усиления постоянного тока и др. Общность механизма работы хемотронных приборов и электрохимических механизмов восприятия, преобразования и хранения информации в сложнейших системах живых организмов (в том числе и в нейронах человеческого мозга) позволяет рассчитывать на создание в будущем на жидкостной основе биопреобразователей информации - своеобразных моделей человеческого интеллекта.
Из разнообразных технических средств хемотроники наибольший интерес представляют управляемые сопротивления и запоминающие устройства.
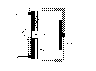
Принцип работы электрохимического управляемого сопротивления (этот прибор иногда называют мимистором, рис. 1) основан на изменении сопротивления проводника в результате катодного осаждения на него металла или анодного растворения. Мимистор, работающий с использованием медного электролита, состоит из стеклянного корпуса 4, заполненного электролитом 1 (обычно CuSO4 + H2 SO4 + этанол). На одной из стенок герметично закрытой ванны нанесена электропроводящая подложка 6, имеющая выводы 7 и 5, расположенные вне гальванической ванны. Электролит омывает электрод 2 с выводом 3. Входные сигналы подаются на электропроводящую подложку 6 и электрод 2. В зависимости от полярности входных сигналов на подложке 6 медь будет или гальванически осаждаться, или анодно растворяться. Тем самым будет изменяться электрическое сопротивление медной пленки, находящейся на подложке 6. Воспроизведение величины изменяющегося сопротивления обычно производят с помощью мостовых измерительных схем. Приборы подобного типа имеют диапазон изменения сопротивления 0...1000 Ом, диапазон токов управления 0,05...1 мА, потребляемую мощность управления 10-3 ...10-6 Вт, объем 0,2...0,4 см3 , массу - несколько граммов. Они могут работать при температурах - 15...+ 100 °С, устойчивы к ударным нагрузкам и вибрации. Все эти качества мимисторов делают их весьма перспективными приборами для использования в автоматике, вычислительной и измерительной технике. Они находят применение для создания реле времени, счетчиков импульсов, интегрирующих устройств, самонастраивающихся систем автоматики и т. п.

Рис. 1
Принцип действия хемотронной ячейки памяти иллюстрирует рис. 2. В герметичном пластмассовом корпусе расположены два пластинчатых электрода 1 из золота или платины. Электроды с внутренней стороны изолированны эпоксидным покрытием 2, за исключением узкого зазора 3, ширина которого не должна превышать 0,1 мм. На противоположной стенке ячейки напротив зазора расположен медный электрод 4. Расстояние между этим электродом и пластинчатыми электродами 1 составляет примерно 0,5 мм. Сопротивление между электродами 1 зависит от наличия раствора электролита в зазоре 3. Если зазор заполнен раствором, то это сопротивление велико. При подаче на электроды 1 напряжения, отрицательного относительно электрода 4, последний начинает растворяться, и в зазоре 3 происходит отложение меди. Через некоторое время (время записи) зазор между электродами 1 будет замкнут осажденной медью и сопротивление между ними резко снизится из-за высокой

Рис. 2
проводимости меди. Если же на электроды 1 подать напряжение, положительное относительно электрода 4, то осажденная в зазоре медь растворяется и ячейка возвращается в прежнее состояние, характеризуемое высоким сопротивлением между электродами 1. Таким образом, ячейка имеет два устойчивых состояния, позволяющих записывать информацию в двоичном коде. С помощью несложной схемы коммутации на трехпозиционном переключателе можно осуществить три вида операций - записи, воспроизведения и стирания.
Литература
Б. С. Гершунский. Основы электроники и микроэлектроники. Киев, ВШ, 1989г.