| Похожие рефераты | Скачать .zip |
Реферат: Расчет погрешности вольтметра
ЗАДАНИЕ
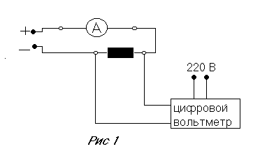
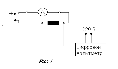
Выбрать цифровой вольтметр для измерения напряжения постоянного тока (рис. 1) с учётом Rнг и условий измерения.

ИСХОДНЫЕ ДАННЫЕ
Вариант 87
Показания вольтметра 0,92 В
Вариация напряжения в сети питания +10%
Допускаемая погрешность измерения 2,5 %
Сила тока в цепи 2,87 мА
Температура окружающей среды +35 С.
РАСЧЁТ РЕЗУЛЬТИРУЮЩЕЙ ПОГРЕШНОСТИ
Прежде всего определим Rнг
Rнг = Ux /I = 0,92/2,87 = 320,5 ОМ
Так как это значение на несколько порядков меньше входных сопротивлений цифровых вольтметров, то осуществляем предварительный выбор прибора по значению осн .
П
ри
измерении 0,92
В на вольтметре
В7-16, предел измерения
устанавливается
1 В. Для времени
преобразования
20 мс, предел
допускаемой
основной погрешности
будет равен
А
для времени
преобразования
2 мс получим,
что
Эти значения гораздо меньше доп = 2,5 %, поэтому не будем затруднять себя рассчитывать остальные погрешности измерения для этого прибора.
Практически такое же несущественное число получится при анализе характеристик вольтметра Ф203.
осн = 0, 208 %
В случае использования прибора В7-22 предел измерений установим равным 2 В.

Вольтметр Щ4313. Установив диапазон измерений 0,5 - 5В, получим, что

Полученное значение основной погрешности очень близко к допустимому значению (2,5 2,72), но в результате дальнейшего расчёта не выполняется условие (Р) доп. Поэтому этот вольтметр тоже не подходит.
Тогда попробуем другой наиболее близкий вольтметр - В7-22.
Определим дополнительную погрешность прибора, вызванную вариацией напряжения питания. Анализируя технические характеристики прибора приходим к выводу, что заданная вариация напряжения питания +10В является допускаемым верхним пределом (+22В) нормального значения напряжения в сети питания вольтметра. Таким образом
пит = 0
Следующим шагом будет определение дополнительной погрешности прибора, вызванной повышенной (+35С) рабочей температурой. Обратившись к техническим характеристикам данного вольтметра узнаём, что дополнительная погрешность прибора, вызванная отклонением температуры от нормальной (202С) до крайних значений рабочих температур (от -10 до +40С), не превышает половины предела допускаемой основной погрешности на каждые 10С изменения температуры.
Исходя из вышесказанного получим:
т = 0,5 осн + 0,25*осн = 0,75осн
т = 0, 435 %
Определим погрешность из-за несоответствия свойств обьекта и прибора по формуле
![]()
У![]()
читывая,
что при данном
диапазоне
входное сопротивление
составляет
100 МОм получим,
что
Поправка для этой ситематической погрешности
= 0,0000029
Исправленное значение показаний вольтметра
Uv = 0,92 + 0,0000029 = 0,9200029
Приближённо погрешность определения поправки равна погрешности определения Rнг . Так как значения I, Rнг, являются маленькими, то погрешность определения поправки является величиной второго порядка малости и ею можно пренебречь.
И
только теперь,
выбрав доверительную
вероятность
Р = 0,95; к = 1,1 и учитывая
Получим, что

Условие (Р) доп выполняется ( 0,79 < 2,5).
Абсолютная форма представления погрешности
(Р) = 0,79*0,9200029*10-2 = 0,0072 = 0, 007 В, Р = 0,95
Результат измерения напряжения с помощью выбранного вольтметра В7-22 может быть представлен так:
U = 0,92 0,007 В; Р = 0,95; ТРЕУГ.
Для рассматриваемого диапазона измерения (0-2 В) выбранного вольтметра на рис. 2.1 и рис. 2.2 представлены графики изменения пределов основной погрешности прибора и результирующей погрешности измерения (для заданных условий) соответственно при относительной (рис. 2.1) и абсолютной форме (рис. 2.2) представления погрешностей
Из анализа графиков следует, что измеряемое значение Ux попадает в первую половину диапазона с заниженной точностью. Поэтому данный случай использования вольтметра В7-22 следует отнести к нерекомендуемым.
Исходя из экономических соображений можно предположить использовать вольтметр более грубого класса точности, чем В7-22, но удовлетворяющий заданным условиям измерения за счёт благоприятного сочетания Ux и Uпр . В этом случае измерение 0,92 В должно осуществлятся в пределе от 0 до 1,5 В. При расчёте предела допускаемой основной погрешности этого прибора предполагаем для него такое же значение осн в рабочей точке диапазона, какое было получено у нас выше (0,58 %).
Э![]()
то
значение определяем
по следующей
формуле:
Д![]()
ля
верхнего предела
диапазона
предположим
Из совместного решения вышеприведенных выражений получим d = 0,1 и c = 0,4.
Значит, для предлагаемого вольтметра получим:

При использовании этого вольтметра для Ux = 0,92 В при Uпр = 1,5 В получим осн = 0,57, что практически не отличается от значения, рассчитанного нами выше. Следовательно, дальнейшие расчёты можно не проводить.
Проведенный расчет предела основной допускаемой погрешности предлагаемого вольтметра иллюстрируется графиками, представленными на рис. 2.3, где а – пределы осн для В7-22, а b – пределы осн для предлагаемого вольтметра.
В
соответствии
с требованием
стандартов
формула основной
погрешности,
получившаяся
выше, должна
быть преобразована
следующим
образом:
В итоге для предполагаемого вольтметра получим класс точности
0,5/0,1.
Проведя аналогичные преобразования формулы осн вольтметра В7-22, для него получим класс точности 0,35/0,2. Исходя из экономической целесообразности (при прочих равных условиях) на производстве предпочтительнее использовать менее точный прибор класса 0,5/0,1.
Overview
Лист1Лист2
Лист3
Лист2 (2)
Sheet 1: Лист1
| Uх | sосн1 | sосн1 окр | sосн2 | sосн2 окр | S(P)1 | S(P)1 окр | S(P)2 | S(P)2 окр | нс | Uv | P1 | P2 | cосн 1 | cосн2 | sоснb1 | sоснb1 окр | sоснb2 | sоснb2 окр |
| 0 | 400.15 | 400.150 | -400.15 | -400.150 | 550.21 | 550.206 | -550.21 | -550.206 | 0.00000000497198 | 0 | 0.01 | -0.01 | 0 | 0 | 500.1 | 500.100 | -500.1 | -500.100 |
| 0.1 | 4.15 | 4.150 | -4.15 | -4.150 | 5.71 | 5.706 | -5.71 | -5.706 | 0.00000049719753 | 0.1 | 0.01 | -0.01 | 0 | 0 | 5.1 | 5.100 | -5.1 | -5.100 |
| 0.2 | 2.15 | 2.150 | -2.15 | -2.150 | 2.96 | 2.956 | -2.96 | -2.956 | 0.00000099439506 | 0.2 | 0.01 | -0.01 | 0 | 0 | 2.6 | 2.600 | -2.6 | -2.600 |
| 0.3 | 1.48 | 1.483 | -1.48 | -1.483 | 2.04 | 2.039 | -2.04 | -2.039 | 0.00000149159258 | 0.3 | 0.01 | -0.01 | 0 | 0 | 1.77 | 1.767 | -1.77 | -1.767 |
| 0.4 | 1.15 | 1.150 | -1.15 | -1.150 | 1.58 | 1.581 | -1.58 | -1.581 | 0.00000198879011 | 0.4 | 0.01 | -0.01 | 0 | 0 | 1.35 | 1.350 | -1.35 | -1.350 |
| 0.5 | 0.95 | 0.950 | -0.95 | -0.950 | 1.31 | 1.306 | -1.31 | -1.306 | 0.00000248598764 | 0.5 | 0.01 | -0.01 | 0 | 0 | 1.1 | 1.100 | -1.1 | -1.100 |
| 0.6 | 0.82 | 0.817 | -0.82 | -0.817 | 1.12 | 1.123 | -1.12 | -1.123 | 0.00000298318517 | 0.6 | 0.01 | -0.01 | 0 | 0 | 0.93 | 0.933 | -0.93 | -0.933 |
| 0.7 | 0.72 | 0.721 | -0.72 | -0.721 | 0.99 | 0.991 | -0.99 | -0.991 | 0.00000348038270 | 0.7 | 0.01 | -0.01 | 0.01 | -0.01 | 0.81 | 0.814 | -0.81 | -0.814 |
| 0.8 | 0.65 | 0.650 | -0.65 | -0.650 | 0.89 | 0.894 | -0.89 | -0.894 | 0.00000397758022 | 0.8 | 0.01 | -0.01 | 0.01 | -0.01 | 0.73 | 0.725 | -0.73 | -0.725 |
| 0.9 | 0.59 | 0.594 | -0.59 | -0.594 | 0.82 | 0.817 | -0.82 | -0.817 | 0.00000447477775 | 0.9 | 0.01 | -0.01 | 0.01 | -0.01 | 0.66 | 0.656 | -0.66 | -0.656 |
| 1 | 0.55 | 0.550 | -0.55 | -0.550 | 0.76 | 0.756 | -0.76 | -0.756 | 0.00000497197528 | 1 | 0.01 | -0.01 | 0.01 | -0.01 | 0.6 | 0.600 | -0.6 | -0.600 |
| 1.1 | 0.51 | 0.514 | -0.51 | -0.514 | 0.71 | 0.707 | -0.71 | -0.707 | 0.00000546917281 | 1.1 | 0.01 | -0.01 | 0.01 | -0.01 | 0.55 | 0.555 | -0.55 | -0.555 |
| 1.2 | 0.48 | 0.483 | -0.48 | -0.483 | 0.66 | 0.664 | -0.66 | -0.664 | 0.00000596637034 | 1.2 | 0.01 | -0.01 | 0.01 | -0.01 | 0.52 | 0.517 | -0.52 | -0.517 |
| 1.3 | 0.46 | 0.458 | -0.46 | -0.458 | 0.63 | 0.630 | -0.63 | -0.630 | 0.00000646356786 | 1.3 | 0.01 | -0.01 | 0.01 | -0.01 | 0.48 | 0.485 | -0.48 | -0.485 |
| 1.4 | 0.44 | 0.436 | -0.44 | -0.436 | 0.6 | 0.600 | -0.6 | -0.600 | 0.00000696076539 | 1.4 | 0.01 | -0.01 | 0.01 | -0.01 | 0.46 | 0.457 | -0.46 | -0.457 |
| 1.5 | 0.42 | 0.417 | -0.42 | -0.417 | 0.57 | 0.573 | -0.57 | -0.573 | 0.00000745796292 | 1.5 | 0.01 | -0.01 | 0.01 | -0.01 | 0.43 | 0.433 | -0.43 | -0.433 |
| 1.6 | 0.4 | 0.400 | -0.4 | -0.400 | 0.55 | 0.550 | -0.55 | -0.550 | 0.00000795516045 | 1.6 | 0.01 | -0.01 | 0.01 | -0.01 | 0.41 | 0.413 | -0.41 | -0.413 |
| 1.7 | 0.39 | 0.385 | -0.39 | -0.385 | 0.53 | 0.529 | -0.53 | -0.529 | 0.00000845235797 | 1.7 | 0.01 | -0.01 | 0.01 | -0.01 | 0.39 | 0.394 | -0.39 | -0.394 |
| 1.8 | 0.37 | 0.372 | -0.37 | -0.372 | 0.51 | 0.512 | -0.51 | -0.512 | 0.00000894955550 | 1.8 | 0.01 | -0.01 | 0.01 | -0.01 | 0.38 | 0.378 | -0.38 | -0.378 |
| 1.9 | 0.36 | 0.361 | -0.36 | -0.361 | 0.5 | 0.496 | -0.5 | -0.496 | 0.00000944675303 | 1.9 | 0.01 | -0.01 | 0.01 | -0.01 | 0.36 | 0.363 | -0.36 | -0.363 |
| 2 | 0.35 | 0.350 | -0.35 | -0.350 | 0.48 | 0.481 | -0.48 | -0.481 | 0.00000994395056 | 2 | 0.01 | -0.01 | 0.01 | -0.01 | 0.35 | 0.350 | -0.35 | -0.350 |
Sheet 2: Лист2
|
|||||||||||||
Sheet 3: Лист3
|
||||||||||||
Sheet 4: Лист2 (2)
|
|||||||||||||
МГАПИ
Расчетная работа
Группа ПР-7
Специальность 2008
Студент
.
Задание
Выбрать цифровой вольтметр для измерения напряжения постоянного тока (рис. 1) с учётом Rнг и условий измерения.

Вариант 74
Исходные данные
Показания вольтметра — 1,8 В
Вариация напряжения в сети питания — -5%
Допускаемая погрешность измерения — 2,0%
Сила тока в цепи — 3,62 мА=0,00362A
Температура окружающей среды — +10 С.
Расчет результирующей погрешности.
Прежде всего определим Rнг: Rнг = Ux / I = 1,8 / 0,00362 = 497,2 Ом
Так как это значение на несколько порядков меньше входных сопротивлений цифровых вольтметров, то осуществляем предварительный выбор прибора по значению осн.
При измерении
1,8 В на вольтметре
В7-16, предел измерения
устанавливается
10 В. Для времени
преобразования
20 мс, предел
допускаемой
основной погрешности
будет равен
.
А для времени
преобразования
2 мс получим,
что
.
Эти значения
гораздо меньше
доп=2,0%,
поэтому не
будем затруднять
себя рассчитывать
остальные
погрешности
измерения для
этого прибора.
При анализе
характеристик
вольтметра
Ф203 получится
такое же несущественное
число:
.
В случае
использования
прибора В7-22 предел
измерений
установим
равным 2 В.
.
Вольтметр
Щ4313. Установив
диапазон измерений
0,5 — 5В, получим,
что
.
Полученное
значение основной
погрешности
очень близко
к допустимому
значению
(2,0
2,778
),
но в результате
дальнейшего
расчёта не
выполняется
условие
(Р)доп.
Поэтому этот
вольтметр тоже
не подходит.
Тогда
попробуем
другой наиболее
близкий вольтметр
— В7-22.
.
Определим
дополнительную
погрешность
прибора, вызванную
вариацией
напряжения
питания. Анализируя
технические
характеристики
прибора приходим
к выводу, что
заданная вариация
напряжения
питания +10В является
допускаемым
верхним пределом
(+22В) нормального
значения напряжения
в сети питания
вольтметра.
Таким образом:
пит=0
Следующим шагом будет определение дополнительной погрешности прибора, вызванной повышенной (+35С) рабочей температурой. Обратившись к техническим характеристикам данного вольтметра узнаём, что дополнительная погрешность прибора, вызванная отклонением температуры от нормальной (202С) до крайних значений рабочих температур (от -10 до +40С), не превышает половины предела допускаемой основной погрешности на каждые 10С изменения температуры. Исходя из вышесказанного получим: т=0,5осн+0,25осн=0,75осн, т=0,279%.
Определим
погрешность
из-за несоответствия
свойств объекта
и прибора по
формуле
,
учитывая, что
при данном
диапазоне
входное сопротивление
составляет
100 МОм получим,
что
В.
Поправка для
этой систематической
погрешности
=0,0000089.
Исправленное значение показаний вольтметра :Uv=1,8+0,0000088=1,8000088. Приближённо погрешность определения поправки равна погрешности определения Rнг. Так как значения I, Rнг, являются маленькими, то погрешность определения поправки является величиной второго порядка малости и ею можно пренебречь.
И только
теперь, выбрав
доверительную
вероятность
Р=0,95; к=1,1 и учитывая
,
получим, что
,
P=0,95.
Условие (Р)
доп
выполняется
(0,512<2,0).
Абсолютная форма представления погрешности: (Р)=0,5121,800008910-2=0,00920,009В, Р=0,95.
Результат измерения напряжения с помощью выбранного вольтметра В7-22 может быть представлен так: U = 1,80,009В; Р=0,95; ТРЕУГ.
Для рассматриваемого диапазона измерения (0-2 В) выбранного вольтметра на рис. 2.1 и рис. 2.2 представлены графики изменения пределов основной погрешности прибора и результирующей погрешности измерения (для заданных условий) соответственно при относительной (рис. 2.1) и абсолютной форме (рис. 2.2) представления погрешностей.
Из анализа графиков следует, что измеряемое значение Ux попадает в первую половину диапазона с заниженной точностью. Поэтому данный случай использования вольтметра В7-22 следует отнести к нерекомендуемым.
Исходя
из экономических
соображений
можно предположить
использовать
вольтметр более
грубого класса
точности, чем
В7-22, но удовлетворяющий
заданным условиям
измерения за
счёт благоприятного
сочетания Ux
и Uпр
. В этом случае
измерение 1,8 В
должно осуществлятся
в пределе от
0 до 2,5 В. При расчёте
предела допускаемой
основной погрешности
этого прибора
предполагаем
для него такое
же значение
осн
в рабочей точке
диапазона,
какое было
получено у нас
выше (
).
Это значение
определяем
по следующей
формуле:
.
Для верхнего
предела диапазона
предположим:
.
Из совместного
решения вышеприведенных
выражений
получим d=0,185
и c=0,115.
Значит, для
предлагаемого
вольтметра
получим:
.
При использовании
этого вольтметра
для Ux
=1,8В при Uпр
=2,5В получим
осн=0,377,
что практически
не отличается
от значения,
рассчитанного
нами выше.
Следовательно,
дальнейшие
расчёты можно
не проводить.
Проведенный расчет предела основной допускаемой погрешности предлагаемого вольтметра иллюстрируется графиками, представленными на рис. 2.3, где а – пределы осн для В7-22, а b – пределы осн для предлагаемого вольтметра.
В соответствии
с требованием
стандартов
формула основной
погрешности,
получившаяся
выше, должна
быть преобразована
следующим
образом:
.
В итоге для предполагаемого вольтметра получим класс точности
0,3/0,2.
Проведя аналогичные преобразования формулы осн вольтметра В7-22, для него получим класс точности 0,35/0,2.
Исходя из экономической целесообразности (при прочих равных условиях) на производстве предпочтительнее использовать менее точный прибор класса 0,3/0,2.
Похожие рефераты:
Основы стандартизации, метрологии и сертификации
Автоматизация печи обжига известняка
Обработка результатов измерений
Совершенствование метрологического обеспечения измерений в турбокомпрессорном цехе Узюм-Юганской ГКС
Измеритель отношения сигнал/шум ТВ канала
Оборудование летательных аппаратов
Автоматизация доменного процесса
Кинематика и динамика поступательного движения