Скачать .docx  

Реферат: Контрольная работа: Основы конструирования и проектирования приспособлений

Содержание

1 Спроектируйте приспособление

1.1 Задание на проектирование

1.2 Краткое описание детали для проектирования приспособления

1.3 Схема базирования

1.4 Описание проектируемого приспособления

1.5 Расчет приспособления на точность

1.6 Расчет приспособления

1.7 Технико-экономическое обоснование

1.8 Выводы

2 Назовите конструктивные разновидности установок и габаритов, каково их назначение?

3 Что такое УБП? Назовите их достоинства и недостатки, область применения

4 В какой последовательности следует разрабатывать схему приспособления

Литература


1 Спроектируйте приспособление

1.1 Задание на проектирование

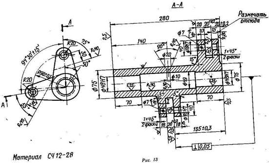
Спроектируйте приспособление для контроля неперпендикулярности пазов 20+0,2 рычага к оси отверстия Ø48. Годовая программа 30000 шт. в год.

1.2 Краткое описание детали для проектирования приспособления

Деталь «Рычаг» представляет собой цилиндрическую трубу длиною 280 мм с наружным диаметром 75 мм внутренним – 48Н7 мм. На наружном диаметре расположены два выступа в форме вилок с шириною паза 20+0,2 мм. Выступы разнесены относительно оси рычага на 94,5°. В выступах имеется отверстие Ø18.

Рычаг предназначен для установки центральным отверстием Ø48 на ось на которой имеет возможность поворачиваться. В вилочные выступы рычага устанавливаются ответные детали механизма для передачи движения при повороте рычага вокруг центральной оси.

1.3 Схема базирования

Технологическая база – поверхность детали, используемая для определения положения заготовки или изделия в процессе изготовления или ремонта.

Технологическая установка – процесс базирования и закрепления заготовки или изделия в приспособлении.

Для измерения неперпендикулярности боковой поверхности паза относительно центральной оси её (ось) необходимо принять за основную двойную направляющую базу. При этом опорной базой будут выступать боковые поверхности пазов (по-переменно в процессе измерения).

Таким образом будет проходить измерение перпендикулярности пазов относительно оси.

Рис. 1. Схема базирования

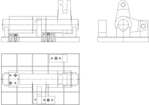
1.4 Описание проектируемого приспособления

Приспособление состоит из основания в виде плиты с закрепленными на ней измерительными и базовыми элементами. Измеряемая деталь надевается на скалку и устанавливается на призмы. После чего деталь вручную поворачивается таким образом, что бы калибр-уголок вошел в паз. Ели деталь годная то калибр-уголок свободно входит в паз как один, так и другой без ощутимых заеданий. В случае если неперпендикулярность паза больше заданной, то при попытке установить вращением детали калибр уголок в пазе вилки будет происходить заедание детали либо её подъем в призмах. То есть не получиться одновременно и удержать скалку с деталью в контакте с призмами и ввести калибр уголок в измеряемый паз.

Рис. 2. Приспособление

1.5 Расчет приспособления на точность

Погрешности установки, базирования, закрепления, приспособления в общем случае включают систематические и случайные составляющие погрешности. Обычно систематические погрешности компенсируют при настройке технологической системы поэтому под погрешностями , , , понимают предельные случайные отклонения поверхностей (на расчетных схемах – центров, осей поверхностей) от требуемого (идеализированного) положения.

Погрешность установки заготовки в приспособлении

где погрешность базирования; погрешность закрепления; погрешность установки приспособления в связи с износом установочных элементов приспособления

Погрешность базирования в осевом направлении для гладких цилиндрических оправок – 0,020 (в нашем случае не учитывается, так как базирования вдоль оси не требуется) мм, погрешность базирования в радиальном направлении 0,010 мм

Погрешность закрепления в нашем приспособлении отсутствует в виду отсутствия самого закрепления. На данной контрольной операции закрепления не требуется.

Погрешность установки приспособления в связи с износом установочных элементов в осевом и радиальном направлениях

0,005 мм

таким образом, погрешность установки заготовки в приспособлении:

в осевом направлении 0,005 мм

в радиальном направлении 0,011 мм

1.6 Расчет приспособления

Расчет приспособления для измерения сводится к определению размеров элементов приспособления контактирующих с деталью и влияющих на показания измерений. В нашем случае это деталь скалка и калибр-уголок. Обе детали рассчитываются на определение наружного размера, который принимаем по размеру проходного калибра для данного размера.

Расчеты ведем по формулам из ГОСТ 24853-81 Калибры гладкие для размеров до 500 мм. Допуски.

Рассчитаем калибр-пробку для размеров Ø48Н7 и 20Н12

Рис. 3 Схема полей допусков калибра-пробки
для квалитетов 6-8

Рис. 4 Схема полей допусков калибра-пробки
для квалитетов 9-17

Ø48Н7

Исполнительный размер проходного калибра , мм

где мм – минимальный размер измеряемого[1] отверстия; мм – табличный показатель

мм

Допуск на исполнительный размер проходного калибра , мм

где мм – табличный показатель

мм

Получаем размер, проставляемый на чертеже

20Н12

Исполнительный размер проходного калибра , мм

где мм – минимальный размер измеряемого[2] отверстия; мм – табличный показатель

мм

Допуск на исполнительный размер проходного калибра , мм

где мм – табличный показатель

мм

Получаем размер, проставляемый на чертеже

1.7 Технико-экономическое обоснование

Применение измерительных приспособлений для контроля качества изготовления деталей дает ряд преимуществ:

- повышает точность и уменьшает погрешность измерения

- сокращает трудоемкость контрольных работ

- расширяет технологические возможности отделов технического контроля

При выполнении экономического расчета установим группу сложности приспособления III, его стоимость 8 000,00 р. и срок амортизации 3 года.

Затраты с учетом расходов на эксплуатацию и ремонт приспособления в течение одного года

где увеличение расходов на ремонт и обслуживание

666,67 р.

Технологическая себестоимость выполнения операций определяется для двух вариантов – без приспособления и с использованием спроектированного приспособления

где часовая тарифная ставка для контролера сдельщика 4 разряда; штучное время измерения детали на данной операции (без приспособления 1 мин, с приспособлением 0,5 мин); годовая программа; накладные расходы

96 000,00 р.

48 000,00 р.

Размер годовой экономии по сравниваемым вариантам

48 000,00 р.

Полученная положительная экономия означает целесообразность применения данного приспособления на заданной операции.

Сокращение времени операции при применении нового приспособления в %

50%

Рост производительности труда

100%

1.8 Выводы

В данной контрольной работе на основании чертежа рычага было разработано приспособление для контроля детали

По результатам расчета технико-экономических показателей обосновано применение данного приспособления, позволяющего увеличить производительность труда на 50%, что должно принести годовую экономию в размере 48 000,00 р.

Таким образом, выполненная работа показывает преимущества, получаемые при увеличении степени автоматизации и механизации, технологических процессов в производстве.


2 Назовите конструктивные разновидности установок и габаритов. каково их назначение?

Конструктивные разновидности установок и габаритов это конструктивные разновидности опорных элементов базирования, которые предназначены для базирования и удержания заготовки под действием зажимающих сил.

По целевому назначению приспособления делят на следующие группы:

Станочные для установки и закрепления обрабатываемых заготовок. Эти приспособления подразделяют на сверлильные, фрезерные, расточные, токарные и др. (по группам станков).

Станочные для установки и закрепления рабочего инструмента. К ним относятся патроны для сверл, разверток, метчиков, многошпиндельные сверлильные и фрезерные головки, инструментальные державки для токарно-револьверных станков и автоматов и другие устройства. Эти приспособления называются вспомогательным инструментом.

Сборочные, используемые для соединения деталей в изделия. Применяют следующие типы приспособлений: а) для крепления базовых деталей собираемого изделия; б) для обеспечения правильной установки соединяемых элементов изделия; в) для предварительного деформирования устанавливаемых упругих элементов (пружин, разрезных колец); г) для запрессовки, клепки, развальцовывания и других операций, когда при сборке требуются большие силы.

Контрольные, применяемые для проверки заготовок при промежуточном и окончательном контроле деталей, а также при сборке машин.

Приспособления для захвата, перемещения и перевертывания заготовок, деталей и собираемых изделий.


3 Что такое УБП? Назовите их достоинства и недостатки, область применения

По степени специализации станочные приспособления делят на следующие группы: универсально-безналадочные (УБП), универсально-наладочные (УНП), универсально-сборные (УСП), сборно-разборные (СРП), неразборные специальные (НСП), специализированные наладочные (СНП).

Универсальные безналадочные приспособления (УБП) применяются для базирования и закрепления однотипных заготовок в условиях единичного и мелкосерийного производства. К этому типу принадлежат универсальные патроны с неразъемными кулачками, универсальные фрезерные и слесарные тиски.

К группе УБП относятся универсальные приспособления общего назначения: центры, поводковые устройства, оправки, токарные патроны, цанговые приспособления, плиты магнитные и электромагнитные, столы и т.д. Они изготовляются как принадлежность к станку заводом изготовителем станков или специализированными предприятиями. УБН применяют в единичном и мелкосерийном производстве; на станках с ЧПУ – в мелкосерийном производстве.

Универсальная безналадочная оснастка (УБО) используется для многократной и долговременной установки различных по форме и размерам заготовок, обрабатываемых на универсальных металлорежущих станках.

Преимущества этой оснастки: небольшие сроки и затраты на проектирование и изготовление, разнообразие деталей, для которых они могут использоваться, возможность использовать их до полного износа. Основным недостатком УБО является невысокая производительность из-за необходимости постоянно выверять точность установки заготовок.


4 В какой последовательности следует разрабатывать схему приспособления

Схему приспособления следует разрабатывать в следующей последовательности:

1. Разработка схемы базирования заготовки.

2. Определение направления действия сил и моментов резания при механической обработке деталей.

3. Определение вида опорных элементов и формы их рабочей поверхности.

Для проектирования приспособления требуются следующие исходные данные:

- чертеж и технические требования на деталь;

- операционный эскиз заготовки, операции или перехода;

- справочная литература, ГОСТы, ОСТы и заводские нормали;

- основные размеры станка и его характеристика.

Последовательность разработки конструкции приспособления

Чертеж детали.

Схема базирования заготовки в приспособлении, определение точек приложения и направления силового замыкания.

Чертеж установочных, направляющих и опорных элементов приспособления.

Чертеж зажимных, фиксирующих, вспомогательных элементов приспособления.

Привод зажимного устройства. Выбор привода основывается на необходимом усилии зажима заготовки и габаритных размерах привода.

Корпус приспособления с устройствами для крепления его на столе станка.


Литература

1. Альбом по проектированию приспособлений. Учебное пособие для студентов машиностроительных специальностей вузов.- М.: Машиностроение, 1991.

2. Верников А.Я. Магнитные и электромагнитные приспособления в металлообработке. - М.: Машиностроение, 1984, ил.

3. Горошкин А.К. Приспособления для металлорежущих станков М.: Машиностроение, 1979, - 303 с. ил.

4. Корсаков B.C. Основы конструирования приспособлений М.: Машиностроение, 1983, - 227 с.

5. Кузнецов Ю.И. и др. Оснастка станков с ЧПУ. Справочник.- М.: Машиностроение, 1983, - 350 с., ил.

6. Кузнецов Ю.И. и др. Приспособления и оснастка для базирования и крепления деталей типа тел вращения на металлорежущих станках М.: ВНИИТЭМР, 1991.

7. Станочные приспособления. Справочник в 2-х том,/ Под ред. Вардашкина Б.Н. и др. - М.: Машиностроение, 1984, ил.

8. Переналаживаемая технологическая оснастка. /Под ред. Д.И.Полякова. -М.: Машиностроение, 1988.

9. Уткин Н.Ф, Приспособления для механической обработки Л.: Лениздат, 1983,-П5 с., ил.

http://elib.ispu.ru/library/lessons/techos/index.html


[1] в нашем случае базового отверстия Ø48Н 7

[2] в нашем случае базового паза 20+0,2