| Скачать .docx |
Реферат: Лабораторная работа: Определение твердости по Бринелю, Раквеллу, Виккерсу
![]()
|
Тема: Определение твердости по Бринелю, Раквеллу, Виккерсу
Цель: научиться производить испытания на твердость по Бринелю, Раквеллу, Виккерсу.
Задание:
1. Описать методику определения твердости по Бринелю, Раквеллу, Виккерсу. Привести схемы испытания различными способами.
2. Привести расчеты определения твердости по Бринелю, Раквеллу, Виккерсу.
3. Перевести твердость по Бринелю в твердость по Раквеллу, Виккерсу.
4. Результаты работы оформить в виде протокола.
1. Методика определения твердости по Бринелю
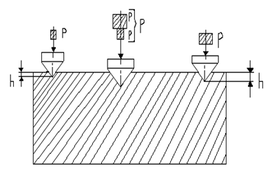
Испытание на твердость по Брюнелю производится вдавливанием в испытываемый образец стального шарика определенного диаметра под действием заданной нагрузки в течении определенного времени (рисунок 2.1).
В результате вдавливание шарика на поверхность образца получается отпечаток (лунка). Отношение давления поверхности полученного отпечатка (шарового сегмента) дает число твердости, обозначаемое НВ.
Порядок проведения испытания:
а) Установить на подвеску грузы, соответствующие выбранной для испытания нагрузке.
б) Наконечник с шариком вставить в шпиндель и укрепить.
в) На столик поместить испытаемый образец.
г) Вращением рукоятки по часовой стрелке поднять столик и прижать образец к шарику.
д) Нажатием кнопки включить электродвигатель.
е) Измерить полученный отпечаток.
ж) Определить твердость.
![]()
р
![]() |
D
![]()


![]()
![]()
![]()
![]()
![]()










![]()
![]()
![]()
![]()
![]()
![]()
![]()

![]()
![]()






h
d
Рисунок 2.1 Схема испытаний по Бринелю.
P - давление на шарик. d - диаметр лунки.
D - диаметр шарика. h - глубина отпечатка.
Методика измерения отпечатка
Полученный отпечаток измеряется лупой или микроскопах в двух взаимно перпендикулярных направлениях, диаметр отпечатка определяется как средне арифметическое из двух измерений. Передвигая лупу, надо один край отпечатка совместить с началом шкалы (рисунок 2.2). Прочитать деления шкалы, с которым совпадает противоположный край отпечатка. Данный отсчет и будет соответствовать размеру диаметра отпечатка. Затем лупу или образец надо повернуть на 900 и измерить диаметр отпечатка второй раз.
Отсчёт по шкале лупы. d = 3,4 мм.
Рисунок 2.2 Размер отпечатка.
2. Методика определения твердости по Раквеллу
Испытание на твердость по Раквеллу производится вдавливанием в испытываемый образец конуса с углом 1200 . Конус вдавливают в испытательный образец под действием двух последовательно прилагаемых нагрузок- предварительной Р0 и основной Р1 . Общая нагрузка Р будет равна сумме предварительной Р0 и основной Р1 нагрузок (рисунок 2.3). h0 - глубина внедрения наконечника в испытательный материал под действием предварительной нагрузки P0 . Глубина внедрения наконечника в испытательный материал под действием основной нагрузки P1 .
Порядок проведения испытания:
а) Выбрать наконечник с нагрузкой в зависимости от твёрдости испытуемого образца.
б) В конце шпинделя прибора закрепить оправку с конусом и установить необходимую нагрузку.
в) Установить на стол испытуемый образец.
г) Вращением маховика по часовой стрелки осторожно поднимать до тех пор, пока не упрётся в ограничительный чехол.
д) Плавным нажатием на кнопку включить.
е) После окончание цикла нагружения произвести отсчёт по шкале индикатора.
ж) Вращением маховика против часовой стрелки отпустить стол.

Рисунок 2.3 Схема испытаний по Раквеллу.
Методика определение отпечатка.
Во первых необходимо создать предварительную нагрузку, стрелка подойдет к красной точке. Затем необходимо произвести испытания, большая стрелка будет показывать число твёрдости по Раквеллу (рисунок 2.4)

Рисунок 2.4 Циферблат прибора
3. Методика определение твёрдости по Виккерсу
Испытания на твёрдость по Виккерсу производится вдавливанием в испытываемый образец четырёхгранной алмазной пирамиды с углом при вершине 1360 (рисунок 2.5). По нагрузке, приходящей на единицу поверхности отпечатка, определяется число твёрдости обозначаемое HV. В результате вдавливания на поверхности образуется отпечаток в виде четырёхугольника.
Порядок поведения испытаний.
1. На подвеску 11 (рисунок 2.5) установить груз 12 нужной величины (5, 10, 20, 30, 50 или 100 кГ).
2. В нижней части микроскопа 4 установить объектив с увеличением 10 или втулку с объективом с увеличением 3,7х
3. На столик 13 установить испытываемый образец 14.
4. Рукояткой 6 повернуть головку 1 в крайнее левое положение.
5. Рукояткой 19 взвести механизм грузового привода.
6. Вращением маховика 15 поднять столик 13 и прижать образец 14 к чехлу 3.
7. Нажать спусковую педаль 23.
8. Сделать выдержку до момента потухания сигнальной лампочки
9. Вращением маховика 15 опустить столик 13 с образцом 14.
10. Рукояткой 6 повернуть головку 1 в крайнее правое положение,
11. Вращением маховика 15 поднять столик 13 с образцом 14 настолько, чтобы при наблюдении в окуляр микроскопа 4 был ясно виден полученный отпечаток.
12. Измерить диагональ отпечатка.
13. После первого измерения диагонали отпечатка образец повернуть на 90° и вторично измерить вторую диагональ.
14. Вычислить среднее арифметическое длины обеих диагоналей
15. Определить число твердости HV, пользуясь для этого специальными таблицами.
16. Определить твердость данного образца второй раз и полученный результат записать в протокол испытания.

Рисунок 2.5 Схема прибора ТК-2
Методика определение отпечатка
Расстояние между центром первого отпечатка и краем второго, смежного с ним, должно быть не менее 2,5 диагоналей отпечатки(рисунок 2.6).
Имеющийся на окуляре микроскопа дополнительный пунктирный штрих применяют при серийных испытаниях. Например, для серии деталей установлен допуск по твердости в пределах 300—350 ед., что при нагрузке 10 кГ соответствует отпечатку 249—230 мк. Правый штрих устанавливают от левого штриха на расстоянии 230 мк.
Вращением малого левого винта пунктирный штрих совмещают с правым штрихом.

0 1 2 3 4 5 6 7 8
Рисунок 2.6 Размер отпечатка
4. Расчёты определение твёрдости по Бреннелю
Отношение давления Р к поверхности полученного отпечатка F дает число твердости, обозначаемое HB
(2.1)
Поверхность F шарового сегмента
(2.2)
D-диаметр вдавливаемого шарика в мм.
h-глубина отпечатка в мм.
Так как глубину отпечатка h измерить трудно, а гораздо проще измерить диаметр отпечатка d, то целесообразно величину h выразить через диаметры шарика D и отпечатка d:
![]()
(2.3)
Тогда поверхность F шарового сегмента
(2.4)
Число твердости по Бринеллю будет характеризоваться формулой
(2.5)
HB = 6000/3,14.10 × (10- Ö 102 -5,652 ) =109 кГ/мм2
5. Расчёты определение твёрдости по Раквеллу
Число твердости по Роквеллу — число отвлеченное и выражается в условных единицах.
За единицу твердости принята величина, соответствующая осевому перемещению наконечника на 0,002 мм . Число твердости по Роквеллу HR определяется по формулам: при измерении по шкале В: HR = 130 - еч при измерении по шкалам С и A: HR = 100-е.
Величина е определяется по следующей формуле:
(2.6)
h0 — глубина внедрения наконечника в испытываемый материал под действием предварительной нагрузки Р0
h-глубина внедрения наконечника в испытываемый материал под действием общей нагрузки Р, измеренная после снятия основной нагрузки Р1 с оставлением предварительной нагрузки Р0 .
6. Расчёты определение твёрдости по Виккерсу
Твёрдость по Виккерсу определяется по формуле:
(2.7)
Р- нагрузка на пирамиду в кГ
d- среднее арифметическое длины обеих диагоналей отпечатка после снятия нагрузки в мм
α- угол между противоположными гранями пирамиды при вершине, равный 136о .
7. Перевод твёрдости по Бреннелю в твёрдость по Роквеллу и Виккерсу
Перевод твёрдости по Бреннелю в твёрдость по Роквеллу и Виккерсу производиться с помощью табличных данных.
Таблица 1
| материал | Диамет шара | Диаметр отпечатк | Нагрузк | HBКГ/мм |
HRA | HRB | HRС | HVКГ/мм2 |
| 1 | 2 | 3 | 4 | 5 | 6 | 7 | 8 | 9 |
| Сталь | 10 мм | 5,65 мм | 3000 кг | 109 | - | 66 | - | 110 |
Вывод: твердость определяется различными способами: по Бреннелю, Роквеллу, Виккерсу. Твердость показывает сопротивление материала проникновению в него другого более твердого тела.

