| Скачать .docx |
Курсовая работа: Курсовая работа: Наружные сети газоснабжения
Федеральное агентство по образованию
Федеральное государственное образовательное учреждение
среднего профессионального образования
«Курганский архитектурно-строительный колледж»
Специальность 270111
«Монтаж и эксплуатация
оборудования и систем
газоснабжения»
Пояснительная записка
к курсовому проекту по дисциплине
«Газовые сети и установки».
На тему «Газоснабжение района города Петухово».
Студент: Алябышев А.М.
Группа МГД-324
Руководитель: Власов В.И.
Курган 2008г
Введение
Россия – крупнейший мировой производитель и поставщик природного газа. Из 2 тыс. млрд.куб.м. его мирового производства 645 млрд.куб.м. (32,25%) приходиться на РФ. Согласно прогнозам специалистов, за период 2000-2007г.г. намечается некоторая стабилизация в объёмах добычи газа, однако, потребление его в сельской местности должно удвоиться. Удовлетворить возрастающую потребность в природном газе можно только на основе ускоренного внедрения достижений науки в сферу производства газоиспользующей техники и технических средств, совершенствования системы управления.
Перспективы газификации сегодня напрямую связаны с проблемами оздоровления сельского хозяйства и снятия на селе социальной напряженности, которые оказывают влияние на жизненный уровень населения. Применение газа позволяет многократно ускорить техническое перевооружение теплового хозяйства сельскохозяйственных производственных зданий и сооружений, одновременно давая большой социальный эффект за счет коренного улучшения условий труда и жизни.
Максимальный эффект комплексного использования газа достигается при теплоснабжении жилых домов, объектов коммунально-бытового обслуживания и производственных помещений.
Необходимо отметить, что в последние годы созданы новые типы унифицированного газоиспользующего оборудования и горелочных устройств, методы оптимизации его тепловой работы, разработаны соответствующие системы безопасности, что позволяет во многих случаях заменить нагрев электроэнергией, паром, горячей водой непосредственным сжиганием природного газа. Такая замена повышает коэффициент использования первичного топлива, а в ряде случаев сокращает цикл нагрева.
В настоящее время президентом РФ и правительством страны перед учёными ставится важная народнохозяйственная задача по разработке технических решений и созданию условий для экономии и рационального использования топливно-энергетических ресурсов. Для решения поставленных задач разработана программа, включающая прогноз развития техники сжигания газа, газоиспользующих технологий, а также межотраслевую программу повышения эффективности использования газа.
1.Проектирование наружных сетей газоснабжения.
1.1 Определение площади застройки территории.
Площадь застройки определяется на основании исходных данных по планировке района.
При масштабе 1:4000 (1см = 40м)
Sфакт. = Sгеом. × 0,16 , (га)
S1 =2,2×4,1=9,02 , см2
S2 =4,9×4,1=20,09 , см2
S3 =4,1×4,1=16,81 , см2
S4 =3,9×2,1=8,19 , см2
S5 =3,9×3,7+1,56=15,99 , см2
S6 =2,1×5,9+0,42=12,81 , см2
S7 =2,2×4,9+0,44=11,22 , см2
S8 =5,4+7,8=13,2 , см2
S9 =2,7×4,1=10,8 , см2
S10 =2,9×4+1,7=13,3 , см2
S11 =4,48+1,4=5,08 , см2
S12 =6+1,05+1,725+0,575=9,35 , см2
S13 =9,99×1,48=11,47 , см2
Sгеом. =157,33 ,см2
Sфакт. =157,33×0,16=25,15 га
где Sгеом. - геометрическая площадь квартала, см2 .
1.2 Определение численности населения района.
N = ∑ Sфакт. × n, чел.
где ∑ Sфакт – сумма фактических площадей кварталов, га
n – плотность населения района, чел./га по заданию.
N=25,15×120=3012 чел.
1.3 Определение годовых расходов теплоты.
Годовой расход теплоты микрорайоном (населенным пунктом) определяется в соответствии с нормами потребления газа бытовыми и коммунально-бытовыми потребителями.
1.3.1 Годовой расход теплоты в квартирах:
Qгод.кв. = Yкв. N(Z1кв q1кв + Z2кв q2кв + Z3кв q3кв ), МДж/год
где N – количество жителей, чел;
Yкв - доля газифицированных квартир от их общего числа;
Z1кв - доля квартир с газовой плитой и централизованным горячим водоснабжением;
Z2кв - доля квартир с газовой плитой и водонагревателем (при отсутствии централизованного горячего водоснабжения);
Z3кв - доля квартир с газовой плитой и отсутствии централизованного горячего водоснабжения и газового водонагревателя;
q1кв , q2кв ,q3кв - соответственно нормы расхода теплоты на одного человека, МДж/год.
q1кв = 4100 МДж/год;
q2кв = 10000 МДж/год;
q3кв = 6000 МДж/год.
Qгод.кв = 1,0∙3012∙(0,6∙4100 + 0,2∙10000 + 0,2∙ 6000) = 17047920 МДж/год
1.3.2 Годовой расход теплоты на нужды предприятий торговли, предприятий бытового обслуживания населения (ателье, мастерскими, парикмахерскими, магазинами и др.) в зависимости от развитости инфраструктуры населенного пункта принимается равным 1-5% от годового расхода газа населением (по заданию).
Qпр.быт.об. = (0,01-0,05)×Qгод.кв. , МДж/год
Qпр.быт.об. = 0,04×17047920, МДж/год
1.3.3 Годовой расход теплоты в учреждениях здравоохранения:
Годовой расход теплоты в учреждениях здравоохранения:
По количеству мест:
=
х
, МДж/год
- количество коек (из задания).
- норма расхода тепла на одну койку, МДж/год
= 3200×30=96000, МДж/год
1.3.4 Годовой расход теплоты для бань по потребности населения:
Qб =52Zб Yб N (qб Zб +qб.в. Zб.в. ), МДж/год
52 – число помывок в год на одного человека;
Yб – доля охвата бань газоснабжением;
Zб – доля охвата обслуживанием банями населения от общей численности (0,1 – 0,3);
N – численность населения района, чел.
qб , qб.в. –норма расхода теплоты на одну помывку с ваннами и без ванн соответственно.
Qб =52×1×0,2×40×3012=1252992 , МДж/год
1.3 Определение годового и часового расхода газа
Годовой расход газа определяется для всех категорий потребителей.
Qу = Qгод /Qн
где Qгод – годовой расход теплоты, МДж/год;
Qн – низшая теплота сгорания газа, МДж/м3 .
Qу.год.кв. = 17047920/36,7=464521 , МДж/м3 ;
Qу.пр.быт.об. = 6819168/36,7=185808,4 , МДж/м3 ;
Qу.бани = 1252992/36,7=34141,5 , МДж/м3 ;
Qу.бол. = 96000/36,7=2615,8 , МДж/м3 .
1.4 Определение часовых расходов газа
Системы газоснабжения населенных пунктов рассчитывают на максимальный часовой расход газа, определяемый по формуле:
= kmax
· Qу
, м3
/ч;
Где kmax - коэффициент часового максимума.
kmax населения. = 1/2050
kmax бани = 1/2700
Qу – годовой расход газа, м3 /ч;
=1/2050∙464521= 226,5 м3
/ч
=1/2050∙185808,4= 90,6 м3
/ч
=1/2700∙34141,5= 12,6 м3
/ч
=1/2050∙2615,8= 1,2 м3
/ч
Полученные результаты сводим в таблицу 1.
Таблица 1.
Категории потребителей |
Годовой расход теплоты Qгод ,МДж/год | Годовой расход газа Qу, м 3 /год | Коэффициент часового максимума kmax | Максимальный часовой расход газа |
Потребление газа в квартирах Бани Больницы Мелкие предприятия коммунально-бытового назначения (1-5% от Qкв ) |
17047920 1252992 96000 6819168 |
464521 34141,5 2615,8 185808,4 |
1/2050 1/2700 1/2050 1/2050 |
226,5 12,6 1,2 90,6 |
| Итого | 25216080 | 687086,7 | 330,9 |
1.6 Выбор оптимального количества ГРП
Для ГРП, питающего сеть низкого давления, оптимальная производительность принимается в пределах 1500-2000м3 /ч при оптимальном радиусе действия 0,5-1 км с учетом этих показателей количество ГРП определяется по формуле:


где
- суммарный часовой расход газа через городские ГРП;
F –газифицируемая площадь, включая площадь проездов, м2
1 га = 1000м2
- оптимальный радиус действия ГРП, принимается в пределах 500-1000м.
![]()
330,9/1750=0,189
1.7 Подбор оборудования ГРП
Из общей длины городских газопроводов обычно 70-80% составляют газопроводы низкого давления, и только 20-30% - среднего высокого давления. Поэтому выбор количества ГРП, питающих сеть низкого давления, необходимо производить на основе технико-экономических расчетов, исходя из принципа минимальных капиталовложений и эксплутационных расходов.
Подбор шкафных и блочных ГРП и ГРУ выполняется на основании тех же данных, что и оборудования по техническим характеристикам или паспортным данным.
Требуемая пропускная способность ГРП:
![]()
где -
суммарный максимальный часовой расход газа населенным пунктом (табл.1.1);
1,2 – коэффициент увеличения пропускной способности для нормальной работы регулятора (20%).
м3
/ч
Принимаем ГРПШ-05-2У1(Радон)
Паспортные характеристики:
- входное давление не более 0,6 МПа;
- -выходное давление 0,002-0,005 МПа;
- Регулятор давления: РДНК-400М;
- Максимальная пропускная способность: 500 м3 /ч
Расчет кольцевых газопроводов

, м3
/ч∙га
- удельный расход газа;
- сумма максимальных часовых расходов газа квартирами, мелкими отопительными установками и мелкими коммунальными предприятиями, (без учета расхода газа крупными потребителями), м3
/ч;
- площадь застройки района, га;
, м3
/ч∙га
S – площадь газоснабжаемой территории, га
SI
= 16,81+8,19+15,99+12,81+10,8+13,3=98 см2
0,16=15,67 га
SII
= 13,2+5,08+9,35+11,47=39,1 см2
0,16=6,25 га
SIII
= 9,02+11,22=20,24 см2
0,16=3,23 га
Qi – расход газа, м3 /ч
Qi
I
=13,15
15,67=206,06 , м3
/ч
Qi
II
=13,15
6,25=82,18 , м3
/ч
Qi III
=13,15
3,23=42,47 , м3
/ч
li – длина питающего контура, м
li I
= 7,4+10,3+6,3+16,4+4,3=44,7
40=1788, м
li
II
= 10,3+4,3+16,4+6,2+7,4=44,6
40=1784, м
li
III
= 10,4
40=416, м
Удельный путевой расход газа для каждого контура сети определяется по формуле : qi = Qi /Σli , м3 /ч∙м
qi I = 206,06/ 1788=0,11 , м3 /ч·м
qi II = 82,18/ 1784=0,04 , м3 /ч·м
qi III = 42,47/ 416=0,1 , м3 /ч·м
где Qi - расход газа квартирами, мелкими отопительными установками и мелкими коммунальными предприятиями, газоснабжаемыми от данного контура, м3 /ч; Σli – суммарная длина питающего контура сети, м
Результаты расчета сводятся в таблицу 2.
Таблица 2.
| Номер контура | Площадь газоснабжаемой территории, S, га | Расход газа, qуд , приходящийся на 1га застройки | Расход газа Qi , м3 /ч |
Длина питающего контура, li , м |
qi, удельный путевой рас-ход, м3 /ч·м |
| I | 15,67 | 13,15 | 206,06 | 1788 | 0,11 |
| II | 6,25 | 13,15 | 82,18 | 1784 | 0,04 |
| III | 3,23 | 13,15 | 42,47 | 416 | 0,1 |
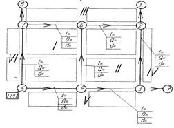
Предварительное распределение потоков в сети выполняется таким образом, чтобы потоки газа двигались к потребителям кратчайшим путем, а точки их встречи располагались противоположно точкам питания. Головные участки, примыкающие к точкам питания, должны быть взаимозаменяемыми, а их расчетные расходы должны пролегать в зонах наибольшего потребления газа. Пример распределения потоков газа см. рис.2. Расчетные расходы по участкам сети определяются по формуле:
Qр =0,55Qпут + Qтр , м3 /ч
где Qпут – путевой расход газа на участке, м3 /ч
q – удельный расход газа, м3 /ч∙м
q1-2 = qI =0,11
q2-3 = qI =0,11
q3-4 = qI + qIII =0,1+0,11=0,21
q4-5 = qI+ qII =0,11+0,04=0,15
q5-6 = qI+ qII =0,11+0,04=0,15
q6-7 = qII =0,04
q7-8 = qII =0,04
q8-9 = qII =0,04
q1-6 = qI =0,11
q9-4 = qII+ qIII =0,1+0,04=0,14
Qпут = lуч × qi уч , м3 /ч
Qпут 1-2 = 308×0,11=33,88 , м3 /ч
Qпут 2-3 = 344×0,11=37,84 , м3 /ч
Qпут 3-4 = 176×0,21=36,96 , м3 /ч
Qпут 4-5 = 296×0,15=37,84 , м3 /ч
Qпут 5-6 = 416×0,15=62,4 , м3 /ч
Qпут 6-7 = 168×0,04=6,72 , м3 /ч
Qпут 7-8 = 180×0,04=7,2 , м3 /ч
Qпут 8-9 = 456×0,04=18,24 , м3 /ч
Qпут 9-4 = 244×0,14=34,16 , м3 /ч
Qпут 1-6 = 252×0,11=27,72 , м3 /ч Qтр – транзитный расход газа на участке, м3 /ч, определяется как сумма путевых расходов всех последующих участков и расхода газа крупным потребителем, подключенным к этом участку.
Qтр 1-2 = 0
Qтр 2-3 = 33,88
Qтр 3-4 = 71,72
Qтр 4-5 = 90,12
Qтр 5-6 = 27,72
Qтр 6-7 = 27,72
Qтр 7-8 = 34,44
Qтр 8-9 = 41,64
Qтр 1-6 = 0
Qтр 9-4 = 108,68+44,4+62,4+27,72=243,2
Qp - расчётный расход газа , м3 /ч
Qp 1-2 = 0,55×33,88+0=18,6
Qp 2-3 = 0,55×37,84+33,88=54,6
Qp 3-4 = 0,55×36,96+71,72=92
Qp 4-5 = 0,55×44,4+90,12=114,5
Qp 5-6 = 0,55×62,4+27,72=62
Qp 6-7 = 0,55×6,72+27,72=31,4
Qp 7-8 = 0,55×7,2+34,44=38,4
Qp 8-9 = 0,55×18,24+41,6=51,6
Qp 1- 6 = 0,55×27,72+0=15,2
Qp 9-4 = 0,55×34,16+243,2=261,9
Расчеты сводятся в таблицу 3.
Таблица 3.
| Участок | Длина участка, м | Удельный расход газа, м3 /ч∙м |
Расход газа, м3 /ч | |||
| Qпут | 0,55 Qпут | Qтр | Qр | |||
| 1-2 | 308 | 0,11 | 33,88 | 18,6 | - | 18,6 |
| 2-3 | 344 | 0,11 | 37,84 | 20,8 | 33,88 | 54,6 |
| 3-4 | 176 | 0,21 | 36,96 | 20,3 | 71,72 | 92 |
| 4-5 | 296 | 0,15 | 44,4 | 24,4 | 90,12 | 114,5 |
| 5-6 | 416 | 0,15 | 62,4 | 34,3 | 27,72 | 62 |
| 6-7 | 168 | 0,04 | 6,72 | 3,6 | 27,72 | 31,4 |
| 7-8 | 180 | 0,04 | 7,2 | 3,96 | 34,44 | 38,4 |
| 8-9 | 456 | 0,04 | 18,24 | 10 | 41,64 | 51,6 |
| 1-6 | 252 | 0,11 | 27,72 | 15,2 | - | 15,2 |
| 9-4 | 244 | 0,14 | 34,16 | 18,7 | 243,2 | 261,9 |
Проверка: расход газа выходящего из ГРПШ
Qгрпш = Qп(8-9) + Qтр(8-9) + Qп(9-4) + Qтр(9-4)
Qгрпш = 18,24+41,64+34,16+243,2=337,2
Qгрпш
= ![]()
Предварительные расчетные расходы по участкам сети определены верно, если отклонение от максимального часового расхода на район не превышает 10%.


Расчетные потери давления газа от ГРП до наиболее удаленного прибора, ∆pp , принимают не более: суммарные -1800Па
на уличные и внутриквартальные сети -1200Па
на дворовые и внутридомовые – 600Па.
Удельные потери давления основных направлений определяются по формуле:
, Па/м
где
- расчетные потери давления газа в уличных и внутриквартальных газопроводах;
1,1 – коэффициент, учитывающий потери давления газа в местных сопротивлениях (10% от потерь давления на трение);
- сумма длин участков по основным направлениям.
, Па/м
, Па/м
, Па/м
Если один участок входит в разные направления, для определения его диаметра принимается меньшее из значений удельных потерь давления.
По расчетному расходу и удельным потерям давления с помощью таблиц для гидравлического расчета или номограмм определяется диаметр газопровода, уточняются удельные потери давления.
Внутренний диаметр газопровода принимается из стандартного ряда внутренних диаметров трубопроводов: ближайший больший — для стальных газопроводов и ближайший меньший — для полиэтиленовых.
Потери давления газа на участке определяются по формуле :
∆p=∆pуд· ·1,1 lуч , Па
Результаты гидравлического расчета сводятся в таблицу 4 .
Таблица 4.
Ко- ль- цо № |
Участки кольца | Предварительное распределение | Попра- вочный расход ∆Q, м3 /ч |
Окончательное распределение потоков |
||||||||||
Но- мер |
Номер сосед- него кольца |
Дли- на уча- стка |
Dн х S |
Qр м3 /ч |
∆p/l, Па/м |
∆p, Па |
∆p/Qр | ∆Qуч, м3 /ч |
Qр м3 /ч |
∆p/l, Па/м |
∆p, Па |
|||
| I | 1-2 | - | 308 | 70х3 | 18,6 | 0,45 | 138,6 | 7,4 | ||||||
| 2-3 | - | 344 | 89х3 | 54,6 | 0,95 | 326,8 | 5,9 | |||||||
| 3-4 | - | 176 | 114х3 | 92 | 0,85 | 149,6 | 1,6 | |||||||
| 4-5 | II | 296 | 133х4 | -114,5 | 0,5 | 148 | 1,2 | |||||||
| 5-6 | II | 416 | 108х4 | -62 | 0,45 | 187,2 | 3 | |||||||
| 6-2 | - | 252 | 60х3,5 | -15,2 | 0,95 | 239,4 | 15,75 | |||||||
Q = Σ∆p ×100% =3,3% Σ|∆p| |
Σ∆p Σ|∆p| |
Σ | ||||||||||||
| II | 9-4 | - | 244 | 159х4 | 261,9 | 1 | 244 | 0,9 | ||||||
| 4-5 | I | 296 | 133х4 | 114,5 | 0,5 | 148 | 1,2 | |||||||
| 5-6 | I | 416 | 108х4 | 62 | 0,45 | 187,2 | 3 | |||||||
| 6-7 | 168 | 76х4 | -31,4 | 0,8 | 134,4 | 4,2 | ||||||||
| 7-8 | 180 | 89х3 | -38,4 | 0,65 | 117 | 3 | ||||||||
| 8-9 | - | 456 | 89х3 | -51,6 | 0,8 | 364,8 | 7 | |||||||
Q = Σ∆p ×100% =-2% Σ|∆p| |
Σ∆p Σ|∆p| |
|||||||||||||
Примечание: расходы, направленные по часовой стрелке считать положительными, против часовой стрелки - отрицательными.
Гидравлический расчет кольцевой сети можно считать законченным в случае, когда ошибка Q≤10%, при больших значениях ошибки выполняется увязка кольцевой сети.
2.Проектирование внутренней системы газоснабжения
2.1 Проектирование внутренней системы газоснабжения
В зависимости от функционального назначения объекта, в соответствии с заданием, принимается газовое оборудование, приводятся его технические характеристики. Размещение оборудования в помещениях выполняется с учетом требований нормативных документов.
2.2 Гидравлический расчет внутреннего газопровода
На основании принятых решений выполняется расчетная схема внутреннего газопровода. Длины участков определяются по плану здания.
Расчетная схема внутридомового газопровода

Максимальный часовой расход газа определяется одним из двух методов расчета расхода.
Выбор метода определения расчетных расходов зависит от исходных данных. Следует учесть, что расчетный расход газа, определенный по коэффициенту одновременности действия приборов, может быть несколько завышен ввиду несоответствия мощности установленных приборов потребности населения. Определение расходов начинается с диктующей (наиболее далеко и высоко расположенной) точки газопотребления.
2.2.1.Определение номинального расхода газа
2,5- номинальный расход газа для ВПГ-18
1,25- номинальный расход газа для ПГ-4
2.2.2.Определение расчётного расхода газа
, м3
/ч
, м3
/ч
, м3
/ч
, м3
/ч
, м3
/ч
, м3
/ч
Результаты определения расчетных расходов по участкам сводятся в таблицу 5.
Таблица 5.
| № участка | Количество установленных приборов (групп приборов) | Коэффициент одновременности работы, ksim | Номинальный расход, м3 /ч | Расчетный расход Qр , м3 /ч |
| 0-1 | 2 | 0,560 | 3,75 | 4.2 |
| 1-2 | 2 | 0,560 | 3,75 | 4.2 |
| 2-3 | 2 | 0,560 | 3,75 | 4.2 |
| 3-4 | 2 | 0,560 | 3,75 | 4.2 |
| 4-5 | 1 | 0,700 | 2,5 | 1,75 |
Диаметр участков газопровода определяется по номограмме или таблицам для гидравлического расчета газопроводов низкого давления, аналогично диаметрам газопроводов распределительной сети. Диаметр подводки к газовым приборам принимается не менее диаметра присоединительного патрубка (тех. характеристики приборов).
Расчетная длина участков газопровода определяется по формуле:
1═lг +Σζ×lэкв. , м
где lг – геометрическая длина участка газопровода, определяется по плану, разрезу здания и аксонометрической схеме газопровода;
Σζ - сумма коэффициентов местных сопротивлений;
lэкв - эквивалентная длина прямолинейного участка, м, принимается по таблицам для гидравлического расчета.
Потери давления на участке газопровода определяются по формуле:
, Па
где ∆р/l- удельные потери давления на участке, для принятого диаметра газопровода и расчетного расхода газа.
При разных высотных отметках начала и конца участка газопровода необходимо учитывать геометрическое давление:
Ргст = ±gH(ρв -ρг ), Па
где ρв – плотность воздуха, ρв = 1,29 кг/м3 ;
ρг - плотность газа, кг/м3;
g- ускорение свободного падения, g=9,81 м/с2 ;
Н –разность высотных отметок начала и конца участка, м.
При расчете газопроводов природного газа гидростатическое давление на стояках учитывается со знаком «-».
Потери давления в газовых приборах принимаются согласно паспортным
данным.
Таблица 6.
№ учас. 1 |
Qр , м3 /ч 2 |
d, мм 3 |
1г м 4 |
Σζ 5 |
1экв Σζ=1 6 |
1экв , м 7 |
1, м 8 |
∆ρ/1 Па/м 9 |
∆ρ, Па 10 |
Н, м 11 |
Ρгст, Па 12 |
∆ρ+ρгст , Па 13 |
| 0-1 | 4,2 | 20 | 9,6 | 4,4 | 0,48 | 2,112 | 20,27 | 2,25 | 45,6 | 2 | 10,9 | 56,5 |
| 1-2 | 4,2 | 20 | 8,4 | 4,4 | 0,48 | 2,112 | 17,7 | 2,25 | 39,8 | 2 | 10,9 | 50,7 |
| 2-3 | 4,2 | 15 | 0,9 | 4,4 | 0,38 | 1,672 | 1,5 | 8,75 | 13,1 | 2 | 10,9 | 24 |
| 3-4 | 4,2 | 15 | 1,0 | 2,2 | 0,38 | 0,836 | 0,836 | 8,75 | 7,3 | 2 | 10,9 | 18,2 |
| 4-5 | 1,75 | 15 | 0,5 | 4,0 | 0,36 | 1,44 | 0,72 | 6,25 | 4,5 | 2 | 10,9 | 15,4 |
| Всего | 164,8 | |||||||||||
| Потери в газовом приборе | 50 | |||||||||||
| Итого | 214,8 | |||||||||||
2 – из таблицы 5; 8 – 4х7;
3 – по номограмме; 9 – по приложению;
4 – по аксонометрической схеме; 10 - 8×9;
5 – по приложению; 11 – по аксонометрической схеме;
6 – по приложению; 12 -10+12 (с учетом знака)
7 - 5×6;
Список литературы
1. СНиП 42-01-2002 Газораспределительные системы.
2. СП 42-101-2003. Общие положения по проектированию и строительству газораспределительных систем из металлических полиэтиленовых труб. - М.Госстрой, 2004
3. СП 42-102-2004. Проектирование и строительство газопроводов из металлических труб. - М.: Госстрой, 2004
4. СП 42 — 103 - 2003 - Проектирование и строительство газопроводов из полиэтиленовых труб и реконструкция изношенных газопроводов - М.: По-лимергаз 2004
5. ПБ 12-529-03 Правила безопасности систем газораспределения и газопо-требления.
6. Ионин А.А. Газоснабжение. -М: Стройиздат, 1989. -439 с.
7. Жила В.А. Газовые сети и установки. Учеб. Пособие для ср. проф. Образования.-М.:Издательский центр «Академия», 2003.-272 с.
8. Стаскевич Н.Л., Северинец Г.Н., Вигдорчик Д.Я. Справочник по газоснабжению и использованию газа. -Л: Недра, 1990. -762 с.
9. СНиП 31 - 03 - 2001 - Производственные здания