| Скачать .docx |
Курсовая работа: Мембранные системы "Биокон"
Введение
1. Конструкция и принципы работы мембранных систем БИОКОН.
2. Применений мембранных систем БИОКОН.
Введение
Мембранные процессы фильтрации и, в частности, ультрафильтрация и микрофильтрация являются сепарационными процессами, которые протекают под давлением с использованием пористых полимерных или неорганических материалов. Эти процессы за последние 30 лет нашли широкое применение в различных отраслях промышленности для очистки или концентрирования жидких сред.
Объем продаж мембран и мембранного оборудования непрерывно увеличивается с ежегодным темпом роста примерно на 10-12 %. Например, в 1986г. мембранный рынок составлял $3,2 млрд., в 1990г. – $6,1 млрд., а в конце 90-х годов должен был составить по оценкам экспертов около $10-11 млрд. /1, 2, 3/.
Производство мембран и оборудования на их основе сосредоточено главным образом в трех регионах: США, Западная Европа и Япония, на долю которых приходится около 97 % всего производства и 75 % закупок, связанных с мембранной техникой. В настоящее время в этих регионах в мембранной промышленности занято около 100 фирм и предприятий, причем только 60 из них производят собственно мембраны и мембранные модули, а остальные осуществляют проектирование оборудования с использованием мембран в качестве элементов промышленных установок /4, 5/.
Россия, главным образом, импортирует мембранную технику, таких западных фирм как, «Миллипор» (США), Палл (Германия), «Кюно» (Франция), «Мембрафлоу» (Германия) и некоторых других компаний.
Однако в России имеется, хотя и недостаточно развитая, отечественная мембранная отрасль промышленности. Из производителей полимерных мембран в России следует отметить, в первую очередь, ЗАО НТЦ «Владипор» (г. Владимир, листовые и рулонные мембраны), ГП ВНИИПВ (г. Мытищи, полые волокна), ГНИИ «Кристалл» (г. Дзержинск, трубчатые мембраны).
Конкурентно способное производство мембранного оборудования в России относится, в основном, к процессам водоподготовки, где часто используются зарубежные мембраны и компоненты мембранного оборудования (компании «Национальные водные ресурсы» г. Москва, «Медиано-Фильтр» г. Москва и др.) а также к процессам ультрафильтрации с использованием полимерных мембран в медицинской промышленности, например, фирмы «Владисарт» (г. Владимир).
В 70-х годах на рынке мембран Европы, США и Японии появились керамические мембраны. Керамические мембраны, создаваемые обычно на основе оксидов, нитридов и карбидов ряда металлов, предназначались для микро- и ультрафильтрации различных жидкостей, агрессивных по своей природе или требующих для осуществления эффективных процессов разделения их нагрева до температур свыше 100 градусов Цельсия, где полимерные (органические) мембраны теряют свои свойства или разрушаются. Кроме высокой температурной стабильности, существует еще целый ряд характерных для керамических мембран свойств, которые позволяют выделить их в отдельное направление коммерческой и научно-технической деятельности, получившее за рубежом название "бизнес керамических мембран".
Среди таких свойств следует в первую очередь отметить:
- механическую стабильность;
- стойкость к химическому и микробиологическому воздействию;
- стабильность создаваемых структурных пор и возможность активного управления ими в процессе производства мембран;
- возможность использования обратных потоков через мембрану;
- высокая пропускная способность мембран;
- большой срок службы.
За счет перечисленных преимуществ использование керамических мембран по сравнению с полимерными мембранами позволяет снизить эксплуатационные расходы (в основном за счет большего срока службы), уменьшить габариты и вес фильтровальной установки, что также несколько снижает величину капитальных затрат.
Несмотря на доминирующие позиции полимерных мембран в биотехнологических секторах промышленности на Западе, керамические мембраны начинают постепенно проникать в эти отрасли благодаря тому, что они в меньшей степени воздействуют на свертывание белков на поверхности мембран, а также позволяют многократно проводить их стерилизацию паром. Широкое применения керамические мембраны находят при фильтрации промышленных сточных вод, в частности в Германии, где сильно развита металлообрабатывающая промышленность.
Объем продаж керамических мембран в 1988г. составил $32 млн., в 1993г. - $40 млн. В 1991г. эксперты предсказывали в 90-е годы бурный рост объемов продаж неорганических мембран. Ожидалось, что объем продаж должен был составить в 1999г. около $450 млн. Однако этого не произошло, что было обусловлено высокой стоимостью керамических мембран, превышавшей в 3-5 раз стоимость полимерных мембран (для керамических мембран цены составляли - $1800 - $2500 за 1 кв. метр поверхности мембраны). Последующие оценки были более скромные. Предсказывают, что объем продаж неорганических мембран в 2003г. составит $228 млн. при доле керамических мембран 70 %
В России в настоящее время существуют небольшие производства (300-500 м2 /год) конкурентно способных по качеству неорганических мембран, например, ООО «НПО «Керамикфильтр» (г. Москва, трубчатые керамические мембраны) и ГУП НПЦ «Ультрам» (г. Москва, листовые металлокерамические мембраны).
1. Конструкция и принципы работы мембранных систем БИОКОН
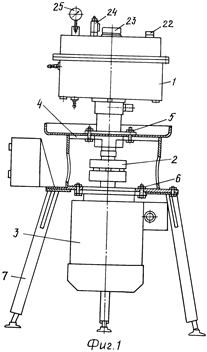
Базовые фильтрационные системы БИОКОН представляет собой два вида однотипных изделий - фильтрационные аппараты и фильтрационные модули, отличающиеся, главным образом, своими масштабными показателями (размером и весом).
В качестве фильтрующего материала (фильтрационного элемента) используются полимерные мембраны в виде рулонных мембранных элементов (тип ЭРУ-100-1016, ЗАО «Владипор», г. Владимир) или керамические мембраны в виде одноканальных трубчатых керамических элементов (типа КМФЭ, ООО «НПО «Керамикфильтр», г. Москва). Размер пор или порог задержки фильтрующего материала составляет:
для керамических мембран: 0.03 мкм, 0.2 мкм, 0.8 мкм, 1.2 мкм,
для полимерных мембран: 500, 10000, 20000, 50000 дальтон.
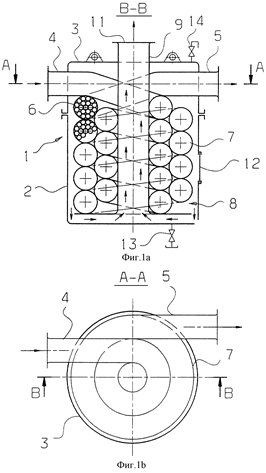
Керамические мембраны типа КМФЭ представляют собой трубки длиной 800 мм с внутренним диаметром 6 мм и внешним диаметром 10 мм, выполненные из пористого оксида алюминия, на внутренней поверхности которых нанесен селективный слой их нитевидных кристаллов карбида кремния (толщина кристаллов около 0.1 мкм).
Полимерные мембраны типа ЭРУ-100-1016 представляют собой мембранные элементы рулонного типа длиной 1016 мм и внешним диаметром 100 мм с мембраной из полисульфонамида.
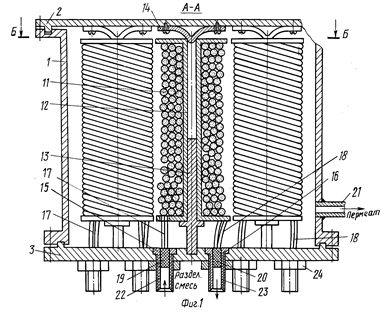
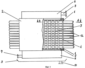
Фильтрационный аппарат состоит из цилиндрического корпуса с торцевыми фланцами, выполненными из нержавеющей стали. Внутрь корпуса вставляются трубчатые керамические фильтрующие элементы или рулонные мембранные элементы. Герметизация фильтрующих элементов в аппарате осуществляется в торцевых фланцах за счет резиновых колец. На корпусе фильтрационного аппарата и торцевых фланцах имеются патрубки и штуцера для подвода фильтруемой среды, отвода фильтрата и концентрата.
Фильтрационный модуль состоит из одного или нескольких фильтрационных аппаратов, циркуляционного насоса (центробежного типа), питающего насоса, теплообменного устройства, входного и выходного коллекторов, несущей рамы, вентилей, манометров, расходомеров, вспомогательной емкости (по необходимости), соединительной быстросъемной арматуры, силового пульта.
Фильтрационный модуль построен по принципу циркуляционной петли для создания режима фильтрации в поперечном потоке (тангенциальной фильтрации).
Фильтруемая жидкость подается в модуль питающим насосом. Внутри модуля фильтруемая жидкость под действием циркуляционного насоса непрерывно прокачивается по циркуляционному контуру, образуемому соединенными последовательно (для керамических мембран) или параллельно (для полимерных мембран) несколькими фильтрационными аппаратами, теплообменником и циркуляционным насосом.
Часть жидкости и частицы, размер которых меньше размера пор, под действием давления (0,5 – 3,5 кгс/см2 ) проходят через мембранную поверхность фильтрационных элементов и непрерывно выводятся из модуля. Эта часть жидкости называется пермеатом . Дефицит жидкости в модуле восполняется постоянной подпиткой новой фильтруемой жидкостью.
Частицы, размер которых больше размера пор, задерживаются селективным слоем и накапливаются внутри циркуляционного контура. Эта часть потока называется концентратом . Осадок, образующийся над мембраной, непрерывно смывается циркуляционным потоком, скорость которого составляет 4-7 м/с для керамических мембран и 1-1,5 м/с для полимерных мембран.
Промышленные системы БИОКОН проектируются из нескольких фильтрационных модулей, управляющих вентилей и системы автоматического контроля. Компания БИОКОН располагает «ноу-хау» по проектированию крупных промышленных систем с учетом оптимального выбора типа мембраны и масштабов фильтрационной системы для конкретного продукта. Компания БИОКОН производит широкую гамму фильтрационных систем.
Поверхность фильтрации базовых модулей составляет:
- для керамических мембран: 0,5; 1,1; 4; 8; 10; 20 м2 ;
- для рулонных мембран: 5, 10, 20, 40, 80, 90, 150, 240 м2 .
Накопленный опыт применения керамических мембран и рулонных элементов показывает, что они наиболее эффективны при высоких температурах:
- для керамических мембран: 40-90 0 С;
- для рулонных элементов: 40-55 0 С,
при этом срок службы составляет для керамических мембран – 3-5 лет, для рулонных элементов – 0,5 – 1 год.
2. Применений мембранных систем БИОКОН
2.1 Фармацевтическая и микробиологическая промышленности
2.1.1 Рибофлавин . Культуральная жидкость продуцента витамина В12 (рибофлавина) подвергается микрофильтрации на керамических мембранах размером пор 0,2 мкм при температуре более 110 0 С для отделения биомассы от растворенного при такой температуре витамина В12 . Скорость фильтрации составляет 400 л/м2 /ч. Используется установка с поверхностью фильтрации 20 м2 .
2.1.2 Эритромицин . Культуральная жидкость продуцента эритромицина разбавляется в два раза водой затем подвергается микрофильтрации на керамических мембранах с размером пор 0,2 мкм при температуре 40 0 С. Скорость фильтрации составляет 60-80 л/м2 /ч. Выход антибиотика на стадии микрофильтрации увеличивается на 17-21 % по сравнению с прежней заводской технологией с использованием фильтр-прессов. Продолжительность процесса мойки и регенерации керамических мембран составляет 30 мин. В настоящее время используется установка с поверхностью фильтрации 110 м2 . Полная проектная мощность установки составит 290 м2 .
2.1.3 Витамин В2 . . Очищенный от биомассы раствор культуральной жидкости концентрируется путем нанофильтрации с использованием рулонных элементов ЭРН-100-1016 в 40 раз. Скорость фильтрации составляет 8-10 л/м2 /ч.
2.1.4 Лизин . Для получения кристаллического лизина культуральная жидкость продуцента лизина подвергается процессу предварительной очистки от биомассы путем микрофильтрации на керамических мембранах с размером пор 0,2 мкм при температуре 50 0 С. Скорость фильтрации составляет 120-160 л/м2 /ч. По технологии 75 % получаемого очищенного раствора направляется для получения кристаллического лизина, а концентрат биомассы (25 %) направляется для производства кормового лизина. Проектная мощность установки составляет 160 м2 .
2.1.5 Ферменты. Спиртовой (70%) экстракт белков и ферментов очищается на установке с поверхностью фильтрации 1,1 м2 с использованием керамических мембран с размером пор 0,2 мкм. Скорость фильтрации составляет 130 л/м2 /ч.
Разделение / концентрирование органических компонентов технологических потоков при помощи ультрафильтрационных элементов
Ультрафильтрационные элементы G-серии успешно используются для фракционирования и концентрирования компонентов технологического потока в нескольких отраслях промышленности. Ультрафильтрационные мембраны G-серии идеально подходят для этой задачи благодаря своим достаточно точным характеристикам по отсечке молекулярной массы и химической стойкости.
Химическая, фармацевтическая и биотехническая отрасли промышленности используют ультрафильтрационные элементы G-серии для разделения компонентов собственных технологических потоков. Существует много потенциальных видов применения в других отраслях промышленности.
| (11) Номер публикации | 2125392 |
| (516) Номер редакции МПК | 6 |
| (51) Основной индекс МПК | A23L2/10 |
| (51) Основной индекс МПК | A23C1/12 |
| (51) Основной индекс МПК | A23C1/14 |
| Название | УСТРОЙСТВО ДЛЯ КОНЦЕНТРИРОВАНИЯ ЖИДКИХ ПИЩЕВЫХ ПРОДУКТОВ |
| (56) Аналоги изобретения | RU, патент 2060764 C1, 27.05.96. |
| (71) Имя заявителя | Всероссийский научно-исследовательский институт консервной и овощесушильной промышленности |
| (72) Имя изобретателя | Квасенков О.И. |
| (72) Имя изобретателя | Гореньков Э.С. |
| (73) Имя патентообладателя | Всероссийский научно-исследовательский институт консервной и овощесушильной промышленности |
| (98) Адрес для переписки | 115583 Москва, ул.Генерала Белова 55-247, Квасенкову О.И. |
Изобретение относится к оборудованию для концентрирования жидких пищевых продуктов, например соков и молока. Устройство содержит секционированный корпус, в котором на полом приводном валу установлен перфорированный ротор c перфорированными обечайками, образующими гидравлические затворы относительно его торцов. Устройство содержит перфорированный статор, охватывающий ротор и патрубки подачи жидкого продукта и газообразного теплоносителя, отвода концентрата и выхлопной. Перфорация ротора и его обечаек выполнена в виде сопел Лаваля. Изобретение позволяет снизить энергоемкость устройства. 1 з.п. ф-лы, 2 ил.

(11) Номер публикации |
2125391 |
| (516) Номер редакции МПК | 6 |
| (51) Основной индекс МПК | A23L2/10 |
| (51) Основной индекс МПК | A23C1/12 |
| (51) Основной индекс МПК | A23C1/14 |
| Название | УСТРОЙСТВО ДЛЯ КОНЦЕНТРИРОВАНИЯ ЖИДКИХ ПРОДУКТОВ |
| (56) Аналоги изобретения | RU, патент 2060764 C1, 27.05.96. |
| (71) Имя заявителя | Всероссийский научно-исследовательский институт консервной и овощесушильной промышленности |
| (72) Имя изобретателя | Квасенков О.И. |
| (72) Имя изобретателя | Гореньков Э.С. |
| (73) Имя патентообладателя | Всероссийский научно-исследовательский институт консервной и овощесушильной промышленности |
| (98) Адрес для переписки | 115583 Москва, ул.Генерала Белова 55-247, Квасенкову О.И. |
Изобретение относится к оборудованию для концентрирования жидких пищевыхпродуктов, таких как соки и молоко. Устройство содержит секционированный корпус, в котором на полом приводном валу установлен перфорированный ротор с перфорированными обечайками, образующими гидравлические затворы относительно его торцов, перфорированный статор, охватывающий ротор, и патрубки подачи газообразного теплоносителя и продукта, отвода концентрата и выхлопной. При этом перфорация ротора и его обечаек имеет вид сопел Лаваля, а в соплах обечаек установлены стержневые резонаторы. Изобретение позволяет снизить энергоемкость устройства.

| (11) Номер публикации | 97116964 |
| (516) Номер редакции МПК | 6 |
| (51) Основной индекс МПК | A23L2/10 |
| (51) Основной индекс МПК | A23C1/12 |
| (51) Основной индекс МПК | A23C1/14 |
| Название | УСТРОЙСТВО ДЛЯ КОНЦЕНТРИРОВАНИЯ ЖИДКИХ ПИЩЕВЫХ ПРОДУКТОВ |
| (71) Имя заявителя | Всероссийский научно-исследовательский институт консервной и овощесушильной промышленности |
| (72) Имя изобретателя | Квасенков О.И. |
| (72) Имя изобретателя | Гореньков Э.С. |
| (98) Адрес для переписки | 115583, Москва, ул.Генерала Белова, д.55, кв.247, Квасенкову О.И. |
1. Устройство для концентрирования жидких пищевых продуктов , содержащее секционированный корпус, размещенный в нем на полом приводном валу перфорированный цилиндрический ротор, перфорация которого имеет вид сопел Лаваля, охватывающий ротор статор с каналами подачи газообразного теплоносителя, патрубок подачи продукта, сообщенный с полостью вала, выхлопной патрубок, сообщенный с полостью ротора, и патрубки подачи газообразного теплоносителя и отвода концентрата, сообщенные с разными секциями корпуса, отличающееся тем, что ротор снабжен по меньшей мере одной внутренней перфорированной цилиндрической обечайкой, установленной с образованием гидравлического затвора относительно одного из его торцов.
2. Устройство по п.1, отличающееся тем, что ротор снабжен несколькими обечайками, образующими гидравлические затворы относительно его торцов в шахматном порядке.
| (11) Номер публикации | 2135036 |
| (516) Номер редакции МПК | 6 |
| (51) Основной индекс МПК | A23L2/08 |
| (51) Основной индекс МПК | A23C1/12 |
| Название | АППАРАТ ДЛЯ СГУЩЕНИЯ ЖИДКИХ ПРОДУКТОВ |
| (56) Аналоги изобретения | Касьянов Г.И., Квасенков О.И., Шаззо Р.И. Консервы для детей. - Краснодар, КубГТУ, 1996, с. 185 - 186. |
| (71) Имя заявителя | Кубанский государственный технологический университет |
| (72) Имя изобретателя | Квасенков О.И. |
| (72) Имя изобретателя | Касьянова Е.Е. |
| (72) Имя изобретателя | Касьянов Г.И. |
| (73) Имя патентообладателя | Кубанский государственный технологический университет |
| (98) Адрес для переписки | 115583, Москва, ул.Генерала Белова, д.55, кв.247, Квасенкову О.И. |
Изобретение относится к консервированию пищевых продуктов. Аппарат включает корпус с выпарным патрубком и патрубком отвода концентрата, пакет тарелок, рассекатель, втулку с радиальным каналом, стержневой концентратор продольных колебаний. Тарелки выполнены в виде усеченных конусов и установлены в корпусе с образованием с его стенкой канала для стока концентрата. Рассекатель размещен под тарелками. Втулка с радиальным каналом размещена в верхней части корпуса, а ее радиальный канал сообщен с патрубком подачи продукта. Концентратор установлен во втулке заподлицо и соединен с источником ультразвука. Аппарат снабжен высоковольтным источником постоянного тока. Последний соединен одной фазой с концентратором, а второй - с пакетом тарелок и рассекателем. Изобретение позволит повысить производительность аппарата.

| (11) Номер публикации | 2001121407 |
| (516) Номер редакции МПК | 7 |
| (51) Основной индекс МПК | B01D63/00 |
| Название | МЕМБРАННАЯ УСТАНОВКА |
| (71) Имя заявителя | Скиданов Евгений Викторович |
| (72) Имя изобретателя | Скиданов Евгений Викторович |
| (98) Адрес для переписки | 410026, г.Саратов, ул. Большая Садовая, 153/163, ООО НПП "Лисскон", Е.В.Скиданову |
1. Мембранная установка, содержащая емкость разделяемого раствора, последовательно соединенные трубопроводами мембранный аппарат, разделяющий раствор на концентрат и пермеат, емкость пермеата, вакуумирующее устройство, выход которого соединен с емкостью разделяемого раствора, а также запорно-регулирующие клапаны, отличающаяся тем, что она имеет центробежный очиститель, вход которого соединен с емкостью разделяемого раствора, выполненной герметичной, а выход - с входом мембранного аппарата.
2. Установка по п.1, отличающаяся тем, что емкость пермеата выполнена секционной, каждая из которых снабжена подводами и отводами пермеата.
3. Установка по п.1, отличающаяся тем, что вакуумирующее устройство выполнено в виде вакуумного насоса.
4. Установка по п.1, отличающаяся тем, что она снабжена масляным фильтром, расположенным между вакуумирующим устройством и емкостью разделяемого раствора.
5. Установка по п.1, отличающаяся тем, что она снабжена дополнительной емкостью для промывочного раствора, вход которой соединен с выходом мембранного аппарата, предназначенным для концентрата, а выход - с входом центробежного очистителя.
6. Установка по пп.1-5 или 4, отличающаяся тем, что она снабжена компрессором, подключенным через масляный фильтр к входу мембранного аппарата или его выходу, предназначенному для пермеата.
7. Установка по п.1, отличающаяся тем, что выход мембранного аппарата, предназначенный для концентрата соединен с емкостью разделяемого раствора.
8. Установка по п.1, отличающаяся тем, что она имеет дроссельный клапан, установленный на выходе вакуумирующего устройства.
9. Установка по п.1, отличающаяся тем, что она снабжена устройством очистки пермеата от органических загрязнений, расположенным на выходе из емкости пермеата.
10. Установка по п.9, отличающаяся тем, что устройство очистки пермеата от органических загрязнений выполнено в виде угольного адсорбера.
11. Установка по пп.1-9 или 9, отличающаяся тем, что она снабжена нагнетательным насосом, ультрафиолетовым облучателем, накопительной емкостью, последовательно соединенными и образующими замкнутый контур, причем вход нагнетательного насоса соединен с выходом устройства очистки пермеата от органических загрязнений.
12. Установка по п.1 или 1-11, отличающаяся тем, что она снабжена блоком контроля, включающим манометры, установленные на входе мембранного аппарата и на выходе накопительной емкости, датчики: уровней каждой емкости, солесодержания разделяемого раствора и пермеата, счетчики расхода пермеата и концентрата на выходе из мембранного аппарата, вакууметр, установленный перед вакуумирующим устройством.
13. Установка по п.1 или 1-12, отличающаяся тем, что она снабжена блоком автоматического управления центробежным очистителем, вакуумирующим устройством, компрессором, нагнетательным насосом, ультрафиолетовым облучателем и запорно-регулирующими клапанами, причем блок автоматического управления связан с блоком контроля
(11) Номер публикации |
2182514 |
| (516) Номер редакции МПК | 7 |
| (51) Основной индекс МПК | B01D63/00 |
| Название | АППАРАТ ДЛЯ ФИЛЬТРАЦИИ ЖИДКОСТЕЙ (ВАРИАНТЫ) |
| (56) Аналоги изобретения | RU 2063785 С1, 20.07.1996. RU 2162730 С2, 10.02.2001. US 5277807 А, 11.01.1994. US 5128037 А, 07.07.1992. DE 4447211 А1, 04.07.1996. |
| (71) Имя заявителя | Терпугов Григорий Валентинович |
| (71) Имя заявителя | Мынин Владимир Николаевич |
| (72) Имя изобретателя | Александрин А.П. |
| (72) Имя изобретателя | Комягин Е.А. |
| (72) Имя изобретателя | Мынин В.Н. |
| (72) Имя изобретателя | Терпугов Г.В. |
| (73) Имя патентообладателя | Терпугов Григорий Валентинович |
| (73) Имя патентообладателя | Мынин Владимир Николаевич |
| (98) Адрес для переписки | 129301, Москва, ул. Б. Галушкина, 17, кв.224, Г.В.Терпугову |
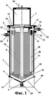
Изобретение относится к средствам очистки жидкостей и газов, например в сельском хозяйстве, медицинской, пищевой и микробиологической отраслях промышленности, а также может быть использовано для разделения и концентрирования технологических растворов, водоподготовки, очистки сточных вод других производств. Аппарат для фильтрации жидкостей содержит корпус, в котором соосно установлены центральная распределительная труба с рядами отверстий и набор трубчатых мембранных элементов, укрепленный в трубной решетке, крышку с патрубком, днище, кольцевую чашку для заглушки концов мембранных элементов, герметизирующие уплотнения между крышкой и трубной решеткой. Согласно изобретению днище закреплено на центральной распределительной трубе, трубная решетка и днище имеют кольцевые проточки для корпуса, верхний конец центральной распределительной трубы снабжен резьбой для крепления крышки, в крышке и трубной решетке выполнены кольцевые полости, патрубок на крышке расположен параллельно оси центральной распределительной трубы или под углом к ней, меньшем 90o , причем центральная распределительная труба имеет в центре неподвижную перегородку, а суммарное сечение отверстий в каждом ряду увеличивается от перегородки к периферии центральной распределительной трубы. Второй вариант аппарата содержит обечайку между крышкой и трубной решеткой, внутри которой размещен адсорбент между кольцевыми сетками. Технический результат - равномерное распределение жидкости или газа, повышение качества фильтрации, упрощение сборки-разборки, обеспечение замены всего набора мембранных элементов

| (11) Номер публикации | 2179061 |
| (516) Номер редакции МПК | 7 |
| (51) Основной индекс МПК | B01D63/00 |
| Название | СПОСОБ И УСТРОЙСТВО ДЛЯ МЕМБРАННОЙ ФИЛЬТРАЦИИ (ВАРИАНТЫ) |
| (56) Аналоги изобретения | RU 2153389 С1, 27.07.2000. US 4755300 А, 05.07.1988. US 4498990 А, 12.02.1985. RU 2113863 С1, 27.06.1998. RU 2164443 С1, 27.03.2001. |
| (71) Имя заявителя | Соловьев Анатолий Павлович |
| (72) Имя изобретателя | Соловьев А.П. |
| (73) Имя патентообладателя | Соловьев Анатолий Павлович |
Технический результат: фильтрация без забивания мембран во времени, а следовательно без уменьшения их производительности и без изменения их характеристик, что обеспечит их широкое применение при холодной стерилизации напитков и лекарственных средств, осветлении соков, вин и пива, плазмаферезе, концентрировании клеток, обработке сточных вод, получении чистой воды и т. д. В предложенных вариантах способа фильтрация ведется из потока раствора, перпендикулярного направлению транспорта, на жестких полупроницаемых керамических мембранах высокой пористости. Отличительной особенностью этих способов является создание условий фильтрации, при которых предотвращается образование гелевого слоя на поверхности мембраны в течение всего процесса фильтрации, для этого предлагается проводить фильтрацию в сочетании знакопеременного трансмембранного давления (ТМД) с направленными потоками фильтруемой жидкости. При положительном ТМД фильтруемая жидкость движется вдоль поверхности мембраны, а фильтрат удаляется наружу: при отрицательном ТМД часть фильтрата (не более 20%) возвращается обратно через поры мембраны и обеспечивает их очистку от застрявших частиц, при этом последующий поток фильтруемой жидкости, когда вновь создается положительное ТМД, смешивается с этими частицами и фильтрация происходит вновь на чистых мембранах. Заявлены устройства, одно из которых состоит из фильтр-поршня, который совершает возвратно-поступательное перемещение в жестком корпусе, при этом, благодаря использованию трех клапанов однонаправленного потока, двух эластичных непроницаемых мембран, двух дистанционных колец и других конструктивных особенностей. Во втором устройстве мембранный фильтр выполнен в виде жесткой конструкции, неподвижно закрепленной в корпусе. Фильтр может состоять из одного пористого полупроницаемого цилиндра или кассеты из нескольких небольшого диаметра полупроницаемых трубок. Для создания пульсирующего ТМД используется поршень мембранного типа, который совершает возвратно-поступательное перемещение благодаря использованию соленоида. Соленоид также предлагается использовать для осуществления возвратно-поступательного перемещения фильтр-поршня. Кроме того, для создания необходимого рабочего зазора вдоль поверхности мембраны при использовании жестко закрепленного мембранного фильтра в конструкции предложено использовать плавающие или неподвижные мандрены.

| (11) Номер публикации | 2168350 |
| (516) Номер редакции МПК | 7 |
| (51) Основной индекс МПК | B01D63/00 |
| Название | ФИЛЬТРОВАЛЬНАЯ УСТАНОВКА ДЛЯ ОЧИСТКИ ЖИДКОСТИ |
| (56) Аналоги изобретения | RU 2052278 C1, 20.01.1996. GB 2176715 A, 27.06.1985. RU 2049534 C1, 10.12.1995. RU 2046008 C1, 20.10.1995. US 5453180 A, 26.09.1995. DE 3212316 A1, 13.10.1983. |
| (71) Имя заявителя | Воложинский Лев Абрамович |
| (71) Имя заявителя | Гаврилов Лев Николаевич |
| (71) Имя заявителя | Давыдов Валерий Вартанович |
| (71) Имя заявителя | Каграманов Георгий Гайкович |
| (72) Имя изобретателя | Воложинский Л.А. |
| (72) Имя изобретателя | Гаврилов Л.Н. |
| (72) Имя изобретателя | Давыдов В.В. |
| (72) Имя изобретателя | Каграманов Г.Г. |
| (72) Имя изобретателя | Карпов М.В. |
| (73) Имя патентообладателя | Воложинский Лев Абрамович |
| (73) Имя патентообладателя | Гаврилов Лев Николаевич |
| (73) Имя патентообладателя | Давыдов Валерий Вартанович |
| (73) Имя патентообладателя | Каграманов Георгий Гайкович |
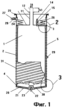
Устройство предназначено для очистки жидкости, преимущественно для очистки питьевой воды в быту. Фильтровальная установка для очистки жидкости содержит, по меньшей мере, одну ступень очистки в виде фильтрующего устройства, по меньшей мере, с одним фильтрующим элементом, средство подвода загрязненной жидкости, средство для отвода недоочищенной жидкости, средство для отвода очищенной жидкости и гидроаккумулятор, который выполнен в виде корпуса, имеющего горловину и съемную крышку, внутри которого расположена гибкая камера, а фильтрующее устройство установлено внутри камеры и герметично закреплено на съемной крышке. Установка обладает малыми массогабаритными параметрами и обеспечивает простоту обратной промывки фильтрующего устройства

| Статус | действует |
| (11) Номер публикации | 2162730 |
| (516) Номер редакции МПК | 7 |
| (51) Основной индекс МПК | B01D63/00
|
| (51) Основной индекс МПК | B01D61/00
|
| Название | МОДУЛЬНАЯ СИСТЕМА ФИЛЬТРАЦИИ |
| (56) Аналоги изобретения | US 4125463 А, 14.11.1978. US 4759850 А, 26.07.1988. US 4959237 А, 25.09.1990. US 4512886 А, 30.04.1985. US 5229005 А, 20.07.1993. US 3456802 А, 22.07.1969. US 4142966 А, 06.03.1979. SU 1238297 А, 10.07.1999. SU 1554952 А1, 07.04.1990. US 4135364 А, 23.01.1979. US 4911847 А, 27.03.1990. |
| (71) Имя заявителя | НЭЙТ Интернешнл (US)
|
| (72) Имя изобретателя | ЧЕНСЕЛЛОР Деннис (US)
|
| (72) Имя изобретателя | ЧЕНСЕЛЛОР Марк (US)
|
| (72) Имя изобретателя | ВОДЖЕЛ Джаккетта (US)
|
| (73) Имя патентообладателя | НЭЙТ Интернешнл (US)
|
| (85) Дата соответствия ст.22/39 PCT | 1999.04.05 |
| (86) Номер и дата международной или региональной заявки | US 97/15181 (28.08.1997) |
| (87) Номер и дата международной или региональной публикации | WO 98/09718 (12.03.1998) |
| (98) Адрес для переписки | 193036, Санкт-Петербург, а/я 24, "НЕВИНПАТ", Поликарпову А.В. |
Система для очистки содержащей частицы жидкости включает ряд мембран, расположенных внутри канала в мембранных блоках, выпускной трубопровод, соединяющий мембранные блоки, проход для пермеата, соединяющий мембранные блоки, первый насос, соединенный по жидкости с камерой, для транспортировки, по меньшей мере, части очищенной жидкости по направлению к выходу. Аппарат обратного осмоса для фильтрации питающей жидкости включает канал для жидкости, находящейся в различном положении под различным давлением, ряд мембран, расположенных в мембранных блоках, первый проход для транспортирования питающей жидкости, второй проход, соединяющий мембранные блоки и транспортирующий пермеат, третий проход, соединяющий мембранные блоки и транспортирующий протекающую мимо мембраны жидкость. Способ очистки питающей жидкости включает накачивание части питающей жидкости в канал, обеспечение ряда мембран в мембранных блоках и размещение этих блоков в канале в различных положениях, в которых на мембранах имеется перепад давления, омывание внешней поверхности мембраны жидкостью из канала, перенос очищенного вещества в соответствующей трубопровод, который соединяет модули, перенос промывающей жидкости в трубопровод для промывающей жидкости, который соединяет мембранные блоки. Технический результат - эффективная очистка больших количеств жидкости с использованием фильтрации под давлением.

(11) Номер публикации |
2153389 |
| (516) Номер редакции МПК | 7 |
| (51) Основной индекс МПК | B01D63/00 |
| (51) Основной индекс МПК | B01D12/00 |
| Название | МЕМБРАННЫЙ ФИЛЬТР И СИСТЕМА ДЛЯ ПЛАЗМАФЕРЕЗА (ВАРИАНТЫ) |
| (56) Аналоги изобретения | US 4755300 A, 05.07.1988. US 4808307 A, 28.12.1989. US 4712176 A, 15.12.1987. RU 2113863 C1, 27.06.1998. RU 2033188 C1, 20.04.1995. |
| (71) Имя заявителя | Соловьев Анатолий Павлович |
| (72) Имя изобретателя | Соловьев А.П. |
| (73) Имя патентообладателя | Соловьев Анатолий Павлович |
| (98) Адрес для переписки | 123373, Москва, бул. Яна Райниса 43, кв.247, Соловьеву |
Устройство для мембранного разделения растворов содержит неподвижный пустотелый цилиндрический корпус, имеющий с одной стороны дно и снабженный штуцерами для подвода и отвода жидкости и подвижный цилиндр с полупроницаемой мембраной на цилиндрической поверхности и штуцером для отвода фильтрата. Подвижный цилиндр установлен внутри цилиндрического корпуса с зазором по цилиндрической поверхности. При этом подвижный цилиндр с мембраной выполнен в виде фильтр-поршня, имеет меньшую длину, чем корпус, и снабжен тяговым элементом для осуществления возвратно-поступательного перемещения внутри корпуса. Штуцер корпуса для подвода жидкости снабжен клапаном, пропускающим жидкость только вовнутрь корпуса и расположен со стороны дна корпуса. Кроме того, штуцер корпуса для отвода жидкости снабжен клапаном для пропускания жидкости только наружу и расположен с противоположной стороны дна корпуса, а штуцер для отвода фильтрата снабжен клапаном для пропускания жидкости только наружу. Технический результат заключается в высокоэффективном и в то же время щадящем режиме фильтрации.

| (11) Номер публикации | 2076773 |
| (516) Номер редакции МПК | 6 |
| (51) Основной индекс МПК | B01D63/00 |
| Название | МЕМБРАННЫЙ АППАРАТ |
| (56) Аналоги изобретения | Заявка ЕПВ N 0155260, кл. B 01 D 13/00, 1985. |
| (71) Имя заявителя | Российский научный центр "Прикладная химия" |
| (72) Имя изобретателя | Тахистов Ю.В. |
| (72) Имя изобретателя | Маркевич А.В. |
| (72) Имя изобретателя | Леонтьев В.С. |
| (72) Имя изобретателя | Трукшин И.Г. |
| (72) Имя изобретателя | Вишняков В.М. |
| (72) Имя изобретателя | Тимофеев С.В. |
| (72) Имя изобретателя | Боброва Л.П. |
| (73) Имя патентообладателя | Российский научный центр "Прикладная химия" |
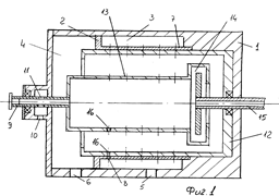
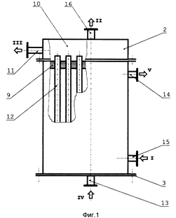
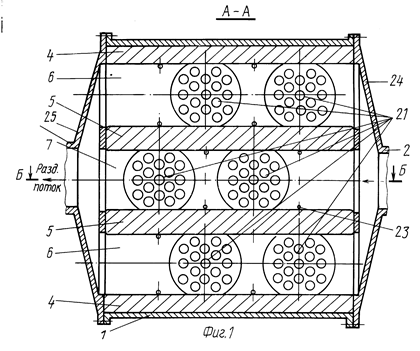
Изобретение относится к разделению газов и жидкостей. Мембранный аппарат для разделения газов и жидкостей содержит корпус, мембранные элементы, каждый из которых включает рамку, подложку и полупроницаемые мембраны, и проставки, расположенные в полостях между мембранными элементами. Аппарат снабжен раструбами для подачи и отвода разделяемой среды, трубопроводами для отвода пермеата и соединенным с ними коллектором, при этом мембранные элементы установлены параллельно потоку разделяемой среды и каждый мембранный элементы выполнен в виде модуля, содержащего две мембраны, герметично соединенные по периметру с образованием замкнутого чехла, охватывающего полость для отвода пермеата, внутри которого расположены состоящая из жестко соединенных планок рамка, фиксированные в планках опорные стержни, и подложки, размещенные на опорных стержнях, причем в одной из планок выполнена система каналов, сообщенных с одной стороны с полостью для отвода пермеата, а с другой стороны с трубопроводом, соединенным с коллектором.

| (11) Номер публикации | 2064819 |
| (516) Номер редакции МПК | 6 |
| (51) Основной индекс МПК | B01D63/00 |
| Название | МЕМБРАННЫЙ АППАРАТ ДЛЯ РАЗДЕЛЕНИЯ РАСТВОРОВ |
| (56) Аналоги изобретения | Авторское свидетельство СССР N 1680287, кл. B 01D 63/16, 1991. |
| (71) Имя заявителя | Воронежский технологический институт |
| (72) Имя изобретателя | Тройнин В.Е. |
| (72) Имя изобретателя | Щербаков В.Н. |
| (72) Имя изобретателя | Шаяхметов А.Ш. |
| (72) Имя изобретателя | Ананьева Л.Н. |
| (73) Имя патентообладателя | Воронежский технологический институт |
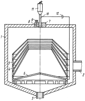
Изобретение может быть использовано, например, в пищевой промышленности для осветления и концентрирования соков и решает задачу повышения функциональной возможности и снижения энергозатрат. Мембранный аппарат для разделения растворов содержит корпус с патрубками подвода исходного раствора и отвода концентрата, соосно расположенную внутри корпуса полую трубу, на которой установлены мембранные элементы в виде винтового конвейера. Корпус установлен вертикально и снабжен средством для перемешивания раствора в виде барабана, установленного с возможностью вращения над верхним торцом трубы. Винтовой конвейер выполнен полым с размещенными на двух его противоположных поверхностях полупроницаемыми мембранами с различной проницаемостью. Внутреннее пространство винтового конвейера разделено непроницаемой винтообразной перегородкой на две полости, каждая из которых сообщена с патрубками отвода пермеата. При вращении барабана раствор подсасывается из полой трубы и направляется вниз по винтовому конвейеру, где происходит разделение через поверхности мембран.

| (11) Номер публикации | 2036703 |
| (516) Номер редакции МПК | 6 |
| (51) Основной индекс МПК | B01D63/00 |
| Название | МЕМБРАННЫЙ АППАРАТ |
| (56) Аналоги изобретения | Авторское свидетельство СССР N 1685493, кл. B 61D 61/08, 1991. |
| (71) Имя заявителя | Артемов Николай Степанович |
| (72) Имя изобретателя | Артемов Николай Степанович |
| (73) Имя патентообладателя | Артемов Николай Степанович |
Изобретение относится к аппаратам для разделения жидких сред с помощью полупроницаемых мембран и может быть использовано в химической, пищевой и микробиологической промышленности. Мембранный аппарат содержит цилиндрический корпус 1 с размещенными в нем мембранными элементами 2, крышки 3 со штуцерами отвода пермеата 7. Закрепленные в корпусе 1 патрубки подвода раствора 10 и отвода концентрата 9 выполнены изогнутыми в противоположные стороны и установлены на боковой поверхности входной и выходной частей корпуса 1, оси патрубков 9, 10 расположены в одной вертикальной плоскости на противоположных сторонах боковой поверхности. Каждая крышка 3 снабжена патрубком 6, соединяющим штуцер отвода пермеата 7 с пермеатотводящей трубкой мембранных элементов 2, установленной под углом пластиной 11. Свободные концы патрубков подвода раствора и отвода концентрата 9 снабжены устройствами для соединения с трубопроводами с возможностью осевого перемещения.

| (11) Номер публикации | 2179062 |
| (516) Номер редакции МПК | 7 |
| (51) Основной индекс МПК | B01D63/08 |
| (51) Основной индекс МПК | B01D63/16 |
| (51) Основной индекс МПК | B01D33/15 |
| Название | МЕМБРАННЫЙ АППАРАТ ДЛЯ РАЗДЕЛЕНИЯ ЖИДКИХ СМЕСЕЙ |
| (56) Аналоги изобретения | WO 98/09720 А, 12.03.1998. RU 2 070 428 С1, 20.12.1996. EP 09 48 391 А1, 13.10.1999. JP 06-312121 А, 08.11.1994. JP 07- 155565 А, 20.06.1995. US 4025425 А, 24.05.1977. |
| (71) Имя заявителя | Трусов Лев Ильич, Пензин Роман Андреевич, |
| (71) Имя заявителя | Охрименко Е.А. Трусов Л.И. Гелис В.М. Пензин Р.А. |
| (72) Имя изобретателя | Свитцов А.А. Тарасов В.П. Трусов Лев Ильич Пензин Роман Андреевич |
Изобретение относится к устройствам для разделения жидких смесей с помощью полупроницаемых мембран и предназначено для осуществления процессов микрофильтрации, ультрафильтрации и обратного осмоса с целью очистки, концентрирования, фракционирования жидкостей, в том числе промышленных отходов в атомной энергетике, в микробиологической, пищевой, медицинской и других отраслях промышленности. Предложенный мембранный аппарат для разделения жидких смесей содержит набор вращающихся круглых мембранных элементов, каждый из которых выполнен в виде двух полупроницаемых мембран и размещенного между ними дренажного слоя с отверстием в центре и с герметизирующим слоем на периферии, центральный полый вал с перфорированными стенками, на котором закреплен набор мембранных элементов, набор неподвижных сепараторных элементов, каждый из которых выполнен в виде внутреннего и периферийного колец, соединенных радиальными перемычками, причем каждый сепараторный элемент размещен между каждыми двумя смежными мембранными элементами, а в периферийных кольцах выполнены отверстия, при осевом совмещении которых в наборе сепараторных элементов образуются каналы для размещения стягивающих шпилек, цилиндрический корпус, выполненный в виде обечайки и днища, верхнюю крышку со штуцером ввода исходной смеси, узел уплотнения центрального полого вала, узел соединения центрального вала с электродвигателем, узел вывода концентрата и узел вывода пермеата, в котором каждый мембранный элемент снабжен жесткой недеформируемой основой, размещенной в дренажном слое, центральный полый вал снабжен верхней и нижней торцевыми пробками, причем верхняя торцевая пробка размещена под верхней крышкой, радиальные перемычки сепараторного элемента выполнены в поперечном сечении в виде равнобедренной трапеции, узел соединения центрального вала с электродвигателем выполнен в виде муфты и размещен соосно с центральным валом, а узел вывода пермеата размещен в узле уплотнения центрального полого вала над нижней торцевой пробкой. Кроме того, полупроницаемые мембраны выполнены в виде двухслойных пластин, в которых нижний слой выполнен из пористого металла, например пористой нержавеющей стали, в котором размер пор не менее 1,5 мкм, толщина металлического листа не более 0,2 мкм, а верхний слой выполнен из пористой керамики, в качестве которой использованы оксиды, нитриды, карбиды, бориды металлов из группы Al, Ti, Zr, Mg или их смеси, и которая имеет поры не более 0,5 мкм, а толщину - не более 10 мкм. Изобретение позволяет создать такой мембранный аппарат для разделения жидких смесей, который при максимально возможной производительности и высоком качестве разделения обеспечит надежность работы при очистке высокотоксичных и сильнозагрязненных жидкостей, прежде всего растворов атомной промышленности, в том числе жидких радиоактивных отходов.

| Статус | прекратил действие |
| (11) Номер публикации | 2120330 |
| (516) Номер редакции МПК | 6 |
| (51) Основной индекс МПК | B01D63/16
|
| Название | УЛЬТРАФИЛЬТР |
| (56) Аналоги изобретения | Шахов С.В. Исследование и совершенствование процесса обезвоживания ферментных препаратов с использованием ультрафильтрации и сублимационной сушки. Автореферат дис. к.т.н. - Воронеж, ВГТА, 1995, с.8 - 9. RU 2064819 C1, 1996. SU 1680287 A1, 1991. SU 1650226 A1, 1991. SU 586919 A, 1978. DE 4137496 A1, 1993. DE 4308404 A1, 1993. |
| (71) Имя заявителя | Общество с ограниченной ответственностью "РЮТАР"
|
| (72) Имя изобретателя | Юрьев Д.Н.
|
| (72) Имя изобретателя | Квасенков О.И.
|
| (72) Имя изобретателя | Ратников А.Ю.
|
| (73) Имя патентообладателя | Общество с ограниченной ответственностью "РЮТАР" |
Изобретение предназначено для мембранного разделения жидкостей. Устройство содержит корпус с входным и выходным патрубками и установленный в корпусе на приводном валу полый спиральный ультрафильтрующий элемент, полость которого сообщена с полостью вала, а поверхность витков, обращенная к выходному патрубку, выполнена сплошной. Устройство обладает повышенной надежностью разделения жидкостного потока.

| Статус | может прекратить действие в соответствии со ст. 30 Патентного закона |
| (11) Номер публикации | 2181619 |
| (516) Номер редакции МПК | 7 |
| (51) Основной индекс МПК | B01D63/06
|
| Название | АППАРАТ ДЛЯ МЕМБРАННОГО КОНЦЕНТРИРОВАНИЯ |
| (56) Аналоги изобретения | RU 2139130 C1, 10.10.1999. RU 2142330 C1, 10.12.1999. SU 1745320 A1, 07.07.1992. SU 1502042 A1, 23.08.1989. RU 2119378 C1, 27.09.1998. WO 91/04784 A1, 18.04.1991. |
| (71) Имя заявителя | Кемеровский технологический институт пищевой промышленности
|
| (72) Имя изобретателя | Лобасенко Б.А.
|
| (72) Имя изобретателя | Сафонов А.А.
|
| (72) Имя изобретателя | Лобасенко Р.Б.
|
| (72) Имя изобретателя | Черданцева А.А.
|
| (73) Имя патентообладателя | Кемеровский технологический институт пищевой промышленности
|
| (98) Адрес для переписки | 650060, г.Кемерово, Бульвар Строителей, 47, КемТИПП |
Изобретение относится к области концентрирования растворов методом ультрафильтрации, обратного осмоса и может быть использовано в пищевой, химической, фармацевтической и других отраслях промышленности. К концу трубчатой мембраны крепится устройство, представляющее собой корпус с двумя кольцевыми щелями, с внешней стороны которого присоединен кожух. Внутри корпуса находится полый шток переменной конфигурации, имеющий переднюю часть в виде конуса, за торцевой поверхностью которого выполнена цилиндрическая проточка меньшего диаметра и резьба. Полость проточки соединяется со штуцером для отвода продукта с помощью канала в корпусе. Технический результат - увеличение производительности процесса.

| Статус | действует |
| (11) Номер публикации | 2184602 |
| (516) Номер редакции МПК | 7 |
| (51) Основной индекс МПК | B01D63/06
|
| Название | МЕМБРАННЫЙ МОДУЛЬ УСТАНОВКИ ДЛЯ МЕМБРАННОГО РАЗДЕЛЕНИЯ СМЕСЕЙ, ЕГО ПРИМЕНЕНИЕ И СПОСОБ ЕГО ИЗГОТОВЛЕНИЯ |
| (56) Аналоги изобретения | US 3294504 А, 27.12.1966. US 5202023 А, 13.04.1993. RU 2045328 С1, 10.10.1995. US 4036760 А, 19.07.1977. |
| (71) Имя заявителя | БУХЕР-ГИЕР АГ (CH)
|
| (72) Имя изобретателя | ГАРТМАН Эдуард (CH)
|
| (73) Имя патентообладателя | БУХЕР-ГИЕР АГ (CH)
|
| (74) Патентный поверенный | Курышев Владимир Васильевич |
| (85) Дата соответствия ст.22/39 PCT | 1998.08.07 |
| (86) Номер и дата международной или региональной заявки | CH 97/00414 (31.10.1997) |
| (87) Номер и дата международной или региональной публикации | WO 98/19778 (14.05.1998) |
| (98) Адрес для переписки | 121087, Москва, а/я 33, В.В.Курышеву |
Изобретение относится к измерительной техники. Мембранный модуль содержит трубчатые мембраны, которые в мембранном модуле находятся в намотанном, изогнутом виде. Благодаря этому получается гораздо большая общая фильтрующая поверхность, упрощается сборка и становится возможной переработка смесей с высоким содержанием твердых веществ. Технический результат - повышение рентабельности установки.

| (11) Номер публикации | 2141866 |
| (516) Номер редакции МПК | 6 |
| (51) Основной индекс МПК | B01D63/06 |
| Название | МЕМБРАННЫЙ АППАРАТ |
| (56) Аналоги изобретения | RU 2102127 C1, 20.01.98. RU 2050956 C1, 27.12.95. RU 2056149 C1, 20.03.96. SU 1095227 A, 07.06.84. US 3774771 A, 27.11.73. JP 57150402 A, 17.09.82. |
| (71) Имя заявителя | Федеральное государственное унитарное предприятие "Исследовательский Центр им.М.В.Келдыша" |
| (71) Имя заявителя | Закрытое акционерное общество НПО "Энергетические и космические технологии" |
| (72) Имя изобретателя | Десятов А.В. |
| (72) Имя изобретателя | Инкин А.И. |
| (72) Имя изобретателя | Сидорин Г.М. |
| (73) Имя патентообладателя | Федеральное государственное унитарное предприятие "Исследовательский Центр им.М.В.Келдыша" |
| (73) Имя патентообладателя | Закрытое акционерное общество НПО "Энергетические и космические технологии" |
| (98) Адрес для переписки | 125438, Москва, ул.Онежская, д.8/10, Федеральное государственное унитарное предприятие "Исследовательский Центр им.М.В.Келдыша", Коршуновой И.А. |
Изобретение относится к трубчатым мембранным аппаратам для очистки жидкости, в частности очистки сточных вод промышленных предприятий, природных вод в системах водоснабжения, очистки смазочно-охлаждающих жидкостей в процессах регенерации отработанных масел и моющих растворов и для концентрирования растворов ферментов, осветления соков и т.д. Мембранный аппарат содержит корпус с патрубками для подвода исходной жидкости, отвода очищенной жидкости и концентрата и трубные решетки с закрепленными в них трубчатыми мембранными элементами. Один конец трубчатых мембранных элементов закрыт пробками из герметика и зажат опорной головкой с глухими отверстиями под каждый мембранный элемент. Другой конец мембранных элементов герметизирован с помощью двух трубных решеток, между которыми налит слой герметика, и через слой герметика зажат перфорированным опорным диском с диаметром отверстий, равным внутреннему диаметру или меньшим внутреннего диаметра трубчатых мембранных элементов. Технический результат: уменьшение металлоемкости и трудоемкости в изготовлении, обеспечение широкого диапазона температурных режимов и возможности проведения импульсной высокоскоростной промывки обратным током очищенной жидкости в течение всего срока службы без замены отдельных мембранных элементов, создание аппарата, противодействующего возникновению колебаний при высоких скоростях потока.

| Статус | прекратил действие, но может быть восстановлен |
| (11) Номер публикации | 2134610 |
| (516) Номер редакции МПК | 6 |
| (51) Основной индекс МПК | B01D63/06
|
| Название | МЕМБРАННЫЙ АППАРАТ |
| (56) Аналоги изобретения | RU 2023490 C1, 30.11.94. RU 2050177 C1, 20.12.95. US 5116494 A, 26.05.92. EP 0403074 A2, 19.12.90. |
| (71) Имя заявителя | Российский научный центр "Прикладная химия"
|
| (72) Имя изобретателя | Тахистов Ю.В.
|
| (72) Имя изобретателя | Маркевич А.В.
|
| (72) Имя изобретателя | Леонтьев В.С.
|
| (72) Имя изобретателя | Боброва Л.П.
|
| (72) Имя изобретателя | Тимофеев С.В.
|
| (73) Имя патентообладателя | Российский научный центр "Прикладная химия"
|
| (98) Адрес для переписки | 197198, Санкт-Петербург, пр.Добролюбова 14, Российский научный центр "Прикладная химия", Базанову А.Г. |
Изобретение относится к разделению жидких и газовых смесей, в частности к системам мембранного разделения. Технический результат - повышение надежности и упрощение эксплуатации. Мембранные элементы выполнены в виде мотков, надетых на опорный цилиндр, размешенный по оси корпуса, а подводящие и отводящие концы мембранных элементов через прорези и центральный канал опорного цилиндра введены в цилиндрические втулки, пропущенные через опорную плиту с образованием в них трубных решеток. При этом в одни втулки введены подводящие концы мембранных элементов, а в другие - отводящие концы этих элементов, а штуцера ввода и вывода разделяемой смеси сообщаются с соответствующими цилиндрическими втулками. Мотки мембранных элементов либо свободно уложены в корпусе на перфорированных или пористых дисках, разделяющих соседние мотки, либо размещены на бобинах, фиксируемых на опорных цилиндрах.

| Статус | прекратил действие, но может быть восстановлен |
| (11) Номер публикации | 2134609 |
| (516) Номер редакции МПК | 6 |
| (51) Основной индекс МПК | B01D63/06
|
| Название | МЕМБРАННЫЙ АППАРАТ |
| (56) Аналоги изобретения | RU 2023490 C1, 30.11.94. RU 2046644 C1, 27.10.95. US 5116494 A, 26.05.92. EP 0403074 A2, 19.12.90. |
| (71) Имя заявителя | Российский научный центр "Прикладная химия"
|
| (72) Имя изобретателя | Тахистов Ю.В.
|
| (72) Имя изобретателя | Маркевич А.В.
|
| (72) Имя изобретателя | Леонтьев В.С.
|
| (72) Имя изобретателя | Боброва Л.П.
|
| (72) Имя изобретателя | Тимофеев С.В.
|
| (73) Имя патентообладателя | Российский научный центр "Прикладная химия"
|
| (98) Адрес для переписки | 197198, Санкт-Петербург, пр.Добролюбова 14, Российский научный центр "Прикладная химия" Базанову А.Г. |
Изобретение относится к области разделения жидких и газовых смесей, в частности к системам мембранного разделения. Технический результат: повышение надежности и упрощение эксплуатации. Мембранные элементы выполнены в виде гибких полупроницаемых волокон или капилляров, намотанных на бобины, которые размещены в корпусе в шахматном порядке параллельно друг другу. Бобины с одной стороны установлены на фиксаторах, жестко соединенных с опорной плитой, а с другой взаимодействуют с центрующими элементами, размещенными на крышке. При этом через опорную плиту пропущены цилиндрические втулки, в которые вклеены с образованием трубных решеток подводящие и отводящие концы мембранных элементов.

| Статус | может прекратить действие в соответствии со ст. 30 Патентного закона |
| (11) Номер публикации | 2113895 |
| (516) Номер редакции МПК | 6 |
| (51) Основной индекс МПК | B01D63/06
|
| Название | УСТРОЙСТВО ДЛЯ ОСУЩЕСТВЛЕНИЯ ПРОЦЕССОВ МЕМБРАННОГО РАЗДЕЛЕНИЯ ЖИДКИХ СРЕД |
| (56) Аналоги изобретения | US 4720342 (Mitsubishi Rayon Co., Ltd), 19.01.88, B 01 D 13/01. |
| (71) Имя заявителя | Московская государственная академия химического машиностроения
|
| (72) Имя изобретателя | Муштаев В.И.
|
| (72) Имя изобретателя | Трифонов С.А.
|
| (72) Имя изобретателя | Пахомов А.А.
|
| (72) Имя изобретателя | Палеев Д.Л.
|
| (72) Имя изобретателя | Колпаков В.А.
|
| (72) Имя изобретателя | Тырин Н.В.
|
| (73) Имя патентообладателя | Московская государственная академия химического машиностроения
|
Изобретение относится к мембранной технике и может использоваться в любой отрасли промышленности для разделения жидких смесей. Цель изобретения - интенсификация процесса мембранного разделения жидких смесей путем снижения концентрационной поляризации. Это достигается благодаря тому, что в мембранном аппарате, состоящем из последовательно состыкованных модулей с трубчатыми металлическими мембранами, между модулями установлены перфорированные пластины, которые имеют отверстия с отогнутыми кромками, образующими лепестки со скошенными краями, загнутыми в винтовую линию. Перфорированные пластины расположены между модулями в чередующем порядке с одиночными прокладками, диаметр отверстий у которых больше диаметра отверстия трубчатой мембраны, при этом в прокладках имеются каналы для перетока жидкости из одной трубки в другую. Крышки аппарата снабжены перегородками, делящими внутренний объем крышки на части, концы перегородок входят в пазы, находящиеся в трубных досках. Подвергаемая разделению жидкость под избыточным давлением поступает в аппарат. При входе в металлическую пористую трубку часть жидкостного потока, примыкающая к внутренней поверхности трубки, испытывает воздействие лепестков со скошенными краями, загнутыми в винтовую линию, приобретает вращательное движение, интенсивно омывает внутреннюю поверхность трубки. Далее поток проходит последовательно через модули и выводится из аппарата. Часть жидкости проникает через пористые металлические мембраны и попадает во внутреннюю часть корпуса аппарата, стекает вниз и выводится через патрубок. Изобретение позволяет повысить интенсивность процесса мембранного разделения за счет постоянной очистки внутренней поверхности мембраны.

| Статус | может прекратить действие в соответствии со ст. 30 Патентного закона |
| (11) Номер публикации | 2113894 |
| (516) Номер редакции МПК | 6 |
| (51) Основной индекс МПК | B01D63/06
|
| Название | УСТРОЙСТВО ДЛЯ ОСУЩЕСТВЛЕНИЯ БАРОМЕМБРАННЫХ ПРОЦЕССОВ ПРИ РАЗДЕЛЕНИИ ЖИДКИХ СРЕД |
| (56) Аналоги изобретения | US 3878104 (Comision Para E1 Aprovechamiento De Aquas Salinas), 15.04.75, B 01 D 31/00 |
| (71) Имя заявителя | Московская государственная академия химического машиностроения
|
| (72) Имя изобретателя | Муштаев В.И.
|
| (72) Имя изобретателя | Трифонов С.А.
|
| (72) Имя изобретателя | Пахомов А.А.
|
| (72) Имя изобретателя | Палеев Д.Л.
|
| (72) Имя изобретателя | Колпаков В.А.
|
| (72) Имя изобретателя | Тырин Н.В.
|
| (73) Имя патентообладателя | Московская государственная академия химического машиностроения
|
Изобретение относится к устройствам для осуществления баромембранных процессов и может быть использовано в любой отрасли промышленности и сельского хозяйства, где происходит разделение жидких сред. Цель изобретения - увеличение производительности аппарата путем периодической очистки внутренней поверхности трубчатых мембран. Аппарат состоит из трубных решеток, с закрепленными между ними трубчатыми мембранами, крышек с патрубками подвода и отвода жидкости, сборника фильтрата, боковых стенок и пакетов, расположенных между рядами трубчатых мембран и боковыми стенками. Пакеты имеют полости, разделенные между собой и размещенные горизонтальными рядами. Периодически в четные и нечетные ряды полостей нагнетают воздух, полости охватывают трубчатые мембраны, в результате происходит смыв с внутренней поверхности мембран слоя отложений.

| Статус | прекратил действие |
| (11) Номер публикации | 2113893 |
| (516) Номер редакции МПК | 6 |
| (51) Основной индекс МПК | B01D63/06
|
| Название | УСТРОЙСТВО ДЛЯ ОСУЩЕСТВЛЕНИЯ ПРОЦЕССОВ МЕМБРАННОГО РАЗДЕЛЕНИЯ ЖИДКИХ СРЕД |
| (56) Аналоги изобретения | SU 1586756 A1 (Всесоюзный научно-исследовательский и технологический инст итут монтажа, эксплуатации и ремонта машин и оборудования животноводческих и птицеводческих ферм) , 23.08.90, B 01 D 69/04. |
| (71) Имя заявителя | Московская государственная академия химического машиностроения
|
| (72) Имя изобретателя | Муштаев В.И.
|
| (72) Имя изобретателя | Трифонов С.А.
|
| (72) Имя изобретателя | Пахомов А.А.
|
| (72) Имя изобретателя | Палеев Д.Л.
|
| (72) Имя изобретателя | Колпаков В.А.
|
| (72) Имя изобретателя | Тырин Н.В.
|
| (73) Имя патентообладателя | Московская государственная академия химического машиностроения
|
Изобретение относится к устройствам для осуществления мембранных процессов и может быть использовано в любой отрасли промышленности и сельского хозяйства, где производится разделение жидких сред. Цель изобретения - повышение эффективной работы аппарата за счет снижения концентрационной поляризации. Это достигается благодаря тому, что в мембранном аппарате, состоящем из корпуса, фланцев с патрубками подвода и отвода жидкости и трубчатых мембран с направляющими вставками на опорах, направляющие вставки выполнены в виде выпуклых лопаток различной длины с округлыми краями и отогнутых под углом 10°- 40°, причем лопатки укреплены на пластинах, повернутых вдоль радиальной оси. Под действием направляющих вставок часть жидкости в трубчатой мембране совершает вращательно-поступательные движения, активно смывая с внутренней поверхности мембран отложения и разрушая слой с концентрационной поляризацией.

Статус |
прекратил действие |
| (11) Номер публикации | 2113892 |
| (516) Номер редакции МПК | 6 |
| (51) Основной индекс МПК | B01D63/06
|
| Название | УСТРОЙСТВО ДЛЯ ОСУЩЕСТВЛЕНИЯ МЕМБРАННЫХ ПРОЦЕССОВ МЕТОДОМ ИСПАРЕНИЯ ЧЕРЕЗ МЕМБРАНУ |
| (56) Аналоги изобретения | Дытнерский Ю.И. Баромембранные процессы. Теория и расчет. - М.: Химия, 19 86, с. 53. |
| (71) Имя заявителя | Московская государственная академия химического машиностроения
|
| (72) Имя изобретателя | Муштаев В.И.
|
| (72) Имя изобретателя | Трифонов С.А.
|
| (72) Имя изобретателя | Пахомов А.А.
|
| (72) Имя изобретателя | Палеев Д.Л.
|
| (72) Имя изобретателя | Колпаков В.А.
|
| (72) Имя изобретателя | Тырин Н.В.
|
| (73) Имя патентообладателя | Московская государственная академия химического машиностроения
|
Изобретение относится к устройствам для осуществления мембранных процессов методом испарения через мембрану и может быть использовано в любой отрасли промышленности, где производится разделение жидких сред. Цель изобретения - интенсификация процесса разделения смеси путем подвода теплоты в зону массообмена. Мембранный аппарат состоит из корпуса, в котором расположены закрепленные в S-образной распорке гофрированные перегородки, свернутые в спираль и образующие две спиральные камеры для противоточного движения разделяемой смеси и горячего теплоносителя. В первой камере располагаются мембраны из полого волокна, открытые концы которых выходят в камеру для сбора пермеата. Подлежащая разделению нагретая смесь протекает по спиральной камере, дополнительно подогреваясь по всей ее длине горячим теплоносителем, и разделяется на мембране. Легкопроницающий компонент по внутреннему каналу полого волокна отводится в сборник пермеата и удаляется. Концентрат отводится из спиральной камеры через соответствующий патрубок. Конструкция аппарата позволяет одновременно выделять из смеси несколько компонентов, используя в одном модуле мембраны различных типов и несколько сборников пермеата для отдельных компонентов.

Статус |
может прекратить действие в соответствии со ст. 30 Патентного закона |
| (11) Номер публикации | 2113891 |
| (516) Номер редакции МПК | 6 |
| (51) Основной индекс МПК | B01D63/06
|
| Название | МЕМБРАННЫЙ АППАРАТ |
| (56) Аналоги изобретения | Дубяга В.П., Перепечкин Л.П., Каталевский Е.Е. Полимерные мембраны. - М.: Химия, 1981, с. 159, рис. 5.1 б. |
| (71) Имя заявителя | Московская государственная академия химического машиностроения
|
| (72) Имя изобретателя | Муштаев В.И.
|
| (72) Имя изобретателя | Трифонов С.А.
|
| (72) Имя изобретателя | Пахомов А.А.
|
| (72) Имя изобретателя | Палеев Д.Л.
|
| (72) Имя изобретателя | Колпаков В.А.
|
| (72) Имя изобретателя | Тырин Н.В.
|
| (73) Имя патентообладателя | Московская государственная академия химического машиностроения
|
Изобретение может быть использовано в пищевой, химической и химико-фармацевтической промышленности и позволяет повысить эффективность работы мембранного аппарата путем предварительной очистки жидкости. Это достигается тем, что в корпусе аппарата размещен трубчатый мембранный модуль и адсорбционный стакан с фильтрующими материалами. В корпусе имеются патрубки для подсоединения к источнику воды отбора очищенной воды. Дополнительно в трубчатые металлические мембраны могут быть установлены перфорированные трубки и пакет с адсорбентом. 1 с. и 2 з.п.ф-лы, 2 ил.

(11) Номер публикации |
2093252 |
| (516) Номер редакции МПК | 6 |
| (51) Основной индекс МПК | B01D63/06 |
| Название | МЕМБРАННЫЙ АППАРАТ (ВАРИАНТЫ) |
| (56) Аналоги изобретения | Авторское свидетельство СССР N 799779, кл. B 01 D 63/06, 1981. |
| (71) Имя заявителя | Тахистов Юрий Васильевич |
| (71) Имя заявителя | Маркевич Анатолий Владимирович |
| (72) Имя изобретателя | Тахистов Юрий Васильевич |
| (72) Имя изобретателя | Маркевич Анатолий Владимирович |
| (73) Имя патентообладателя | Тахистов Юрий Васильевич |
| (73) Имя патентообладателя | Маркевич Анатолий Владимирович |
Сущность изобретения: в мембранном аппарате, содержащем трубчатые мембранные элементы, торцевые крышки с подводящим и отводящим патрубками, по первому варианту трубчатые мембранные элементы собраны в установленные один на другом модули посредством прямоугольных рам, на двух противоположных сторонах которых выполнены отверстия для герметичного крепления торцов мембранных элементов и перпендикулярные им соосные отверстия для образования сборных и распределительных каналов. По второму варианту - сборные и распределительные каналы образованы путем выполнения в рамках щелевидных прорезей.

Статус |
может прекратить действие в соответствии со ст. 30 Патентного закона |
| (11) Номер публикации | 2083269 |
| (516) Номер редакции МПК | 6 |
| (51) Основной индекс МПК | B01D63/06
|
| Название | МЕМБРАННЫЙ АППАРАТ |
| (56) Аналоги изобретения | Патент США N 4801381,кл. B 01 D 13/00, 1989. |
| (71) Имя заявителя | Научно-исследовательский институт ядерной физики при Томском политехническом университете
|
| (72) Имя изобретателя | Головков В.М.
|
| (72) Имя изобретателя | Хлоповских В.М.
|
| (72) Имя изобретателя | Шипилов А.Л.
|
| (72) Имя изобретателя | Костромитин Н.А.
|
| (73) Имя патентообладателя | Научно-исследовательский институт ядерной физики при Томском политехническом университете
|
Мембранный аппарат предназначен для микро-, ультрафильтрации и концентрирования жидких сред и может использоваться в медико-биологической, химико-фармацевтической и пищевой промышленности. Содержит собранные в пакет полупроницаемые мембраны и дренажные пластины с прорезями. Эти каналы соединены со сквозными отверстиями, в которых установлены уплотняющие кольца с отверстиями на боковой поверхности для перетока жидкости. Дренажные пластины изготовлены из металла, предел текучести которого меньше предела текучести материала мембран. Кольца для перетока жидкости изготовлены из материала, предел текучести которого больше, чем предел текучести материала дренажной пластины, а торцы колец покрыты слоем материала, из которого изготовлена дренажная пластина. Такая конструкция обеспечивает герметичность уплотнения тонких пленочных мембран, например, трековых. 3 ил.

(11) Номер публикации |
2079348 |
| (516) Номер редакции МПК | 6 |
| (51) Основной индекс МПК | B01D63/06
|
| Название | СЕКЦИЯ БАРОМЕМБРАННЫХ МОДУЛЕЙ |
| (56) Аналоги изобретения | Установка обратноосмотическая УОО-200: Пояснительная записка к техническому проекту ВНИИАМ N 62526ПЗ. Госрегистрация N 01890073231, 1990. |
| (71) Имя заявителя | Всероссийский научно-исследовательский и проектно- конструкторский институт атомного энергетического машиностроения
|
| (72) Имя изобретателя | Карелин Ф.Н.
|
| (72) Имя изобретателя | Ситняковский Ю.А.
|
| (72) Имя изобретателя | Юрчевский Е.Б.
|
| (72) Имя изобретателя | Романов А.Ф.
|
| (72) Имя изобретателя | Конкин В.В.
|
| (73) Имя патентообладателя | Всероссийский научно-исследовательский и проектно- конструкторский институт атомного энергетического машиностроения
|
Изобретение относится к области опреснения и обессоливания природных и сточных вод, в частности к обратноосмотическим и нанофильтрационным установкам. Изобретение позволяет сократить габариты секции, а также материалоемкость и трудоемкость при ее изготовлении за счет того, что в секции баромембранных модулей, состоящей из нескольких трубчатых модулей, оси которых расположены параллельно в одной плоскости, соединение модулей между собой по трактам подвода исходной воды, отвода пермеата и концентрата осуществляется через отверстия в стенках модулей, причем расстояние между осями соединяемых модулей меньше внешнего диаметра корпусов модулей в местах их соединений. При этом отдельные модули или группы модулей могут быть соединены между собой параллельно или последовательно-параллельно. При последовательном соединении модулей по тракту обрабатываемой воды тракт концентрата предыдущих модулей через отверстия в стенках их корпусов соединяется с трактом подачи обрабатываемой воды в последующие модули с одной стороны секции баромембранных модулей, а модули оснащаются стопорами, препятствующими введению баромембранных фильтрующих элементов, выполненных, например, в виде фильтрующих рулонов, в модули против направления потока обрабатываемой воды, и гарантирующими их введение только по направлению потока обрабатываемой воды. Стопор расположен в корпусе у торца модуля со стороны вывода концентрата, установлен в пазу корпуса модуля эксцентрично и выполнен поворачивающимся, причем в свободном состоянии длинное плечо стопора повернуто внутрь модуля поперек внутренней полости корпуса, а короткое плечо выполнено выступающим над внешней стороной корпуса модуля. 3 з.п. ф-лы, 5 ил.

Статус |
прекратил действие |
| (11) Номер публикации | 2077374 |
| (516) Номер редакции МПК | 6 |
| (51) Основной индекс МПК | B01D63/06
|
| Название | МЕМБРАННЫЙ АППАРАТ НЕПРЕРЫВНОГО ДЕЙСТВИЯ |
| (56) Аналоги изобретения | Kennedy T.J. and etl. Jmprovinq permeation flux bu pulsed reverse ismosis,- Lhemical Engineering Science, 1974, v. 29, р . р .1927-1931. |
| (71) Имя заявителя | Санкт-Петербургский технологический институт
|
| (72) Имя изобретателя | Островский Г.М.
|
| (72) Имя изобретателя | Аксенова Е.Г.
|
| (72) Имя изобретателя | Абиев Р.Ш.
|
| (73) Имя патентообладателя | Санкт-Петербургский технологический институт
|
Изобретение относится к мембранной технике и может быть использовано в любой отрасли промышленности для разделения, концентрирования и очистки различных растворов. Мембранный аппарат непрерывного действия содержит штуцеры для подачи исходного раствора и отвода концентрата и пермеата, а также мембранные элементы, которые выполнены из пористых трубчатых каркасов с расположенными на их внутренней поверхности полупроницаемыми мембранами, установлены вертикально и объединены в блоки, верхние части которых снабжены камерами и упругими оболочками. При этом блоки мембранных элементов в нижней части соединены по два в секции, а камера одного из блоков мембранных элементов каждой секции соединена с генератором колебаний. 1 ил.

Сущность изобретения: мембранный аппарат содержит корпус, к торцам которого посредством раструбов присоединены соответственно подающий и отводящий патрубки, расположенные параллельно оси корпуса перегородки, разделяющие объем корпуса на ряд камер, трубчатые мембранные элементы, собранные в блоки посредством трубных решеток, которые установлены в опорных кольцах, закрепленных в шахматном порядке на противоположных стенках корпуса с внешней стороны, компенсационные элементы и крышки с дополнительными подводящими и отводящими патрубками, установленные на торцах опорных колец и прижатые к трубным решеткам и компенсационным элементам. 2 ил.

| (11) Номер публикации | 2066236 |
| (516) Номер редакции МПК | 6 |
| (51) Основной индекс МПК | B01D63/06 |
| (51) Основной индекс МПК | B01D29/72 |
| Название | СПОСОБ РАЗДЕЛЕНИЯ ЖИДКОСТЕЙ И УСТРОЙСТВО ДЛЯ ЕГО ОСУЩЕСТВЛЕНИЯ |
| (56) Аналоги изобретения | Авторское свидетельство СССР N 596268, B 01 D 27/12, 1974. |
| (71) Имя заявителя | Товарищество с ограниченной ответственностью "ЭФАТ" |
| (72) Имя изобретателя | Шульгин А.И. |
| (73) Имя патентообладателя | Товарищество с ограниченной ответственностью "ЭФАТ" |
Способ разделения жидкостей и устройство для его осуществления относятся к мембранной технологии очистки, концентрирования и разделения жидких сред и могут использоваться в машиностроительной, пищевой, химической, фармацевтической и других отраслях промышленности. Устройство для разделения включает два аппарата, раму, два соединенных общим валом вибровозбудителя, штоки которых снабжены двумя поршнями, размещенными, соответственно, в приемной и отводящей камерах. Способ разделения включает регенерацию цилиндрических фильтроэлементов низкочастотными акустическими колебаниями, возбуждаемыми с частотой, равной собственной частоте колебаний системы "приемная камера - полости фильтроэлементов - отводящая камера" в двух параллельных потоках с изменением угла сдвига фаз до 180o . 1

| (11) Номер публикации | 2064820 |
| (516) Номер редакции МПК | 6 |
| (51) Основной индекс МПК | B01D63/06 |
| Название | МЕМБРАННЫЙ АППАРАТ |
| (56) Аналоги изобретения | 1. Авторское свидетельство СССР N 1586758, B 01D 69/04, 1990. |
| (71) Имя заявителя | Российский научный центр "Прикладная химия" |
| (72) Имя изобретателя | Тахистов Ю.В. |
| (72) Имя изобретателя | Маркевич А.В. |
| (72) Имя изобретателя | Леонтьев В.С. |
| (72) Имя изобретателя | Бойко Н.И. |
| (72) Имя изобретателя | Боброва Л.П. |
| (73) Имя патентообладателя | Российский научный центр "Прикладная химия" |
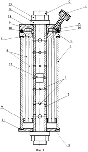
Мембранный аппарат трубчатого типа предназначен для разделения жидких и газовых сред и обеспечивает повышение надежности и упрощение эксплуатации. Мембранный аппарат состоит из цилиндрического корпуса и пучка трубчатых мембранных элементов, одни концы которых закреплены в опорной трубной решетке, а другие (заглушенные) - зафиксированы в распределительной трубной решетке, двух торцевых крышек со штуцерами для подачи разделяемой среды и отвода пермеата и уплотнительных элементов. Обе трубные решетки жестко соединены между собой опорным стержнем, воспринимающим нагрузки, воздействующие на пучок мембранных элементов при сборке (разборке) аппарата и регенерации мембранных элементов вне аппарата. Простота введения в корпус и фиксации в нем пучка мембранных элементов упрощает установку (снятие) мембранных элементов и снижает вероятность повреждения элементов, мест их закрепления в опорной трубной решетке и селективных слоев. Наличие и выполнение соответствующим образом центрального и периферийного обтекателей, а также равномерное расположение каналов для подачи разделяемого потока вокруг каждого мембранного элемента обеспечивает оптимальное распределение потока относительно всех мембранных элементов. Минимальное число уплотнительных элементов и размещение их в замке (пазу) повышает герметичность камер и полостей аппарата. 5 з.п. ф-лы, 3 ил.


| (11) Номер публикации | 1307645 |
| (516) Номер редакции МПК | 6 |
| (51) Основной индекс МПК | B01D63/06 |
| Название | МЕМБРАННЫЙ МОДУЛЬ |
| (56) Аналоги изобретения | Патент США N 3834545, кл. 210-321, 1978. Патент США N 3682318, кл. 210-321, 1972. |
| (71) Имя заявителя | Всесоюзный научно-исследовательский институт синтетических смол |
| (72) Имя изобретателя | Козлов М.П. |
| (72) Имя изобретателя | Гасанов Г.И. |
| (72) Имя изобретателя | Гуляев В.М. |
| (72) Имя изобретателя | Дубяга В.П. |
| (72) Имя изобретателя | Равенский Ю.С. |
| (72) Имя изобретателя | Кулаковский Л.Н. |
Изобретение относится к устройству для осуществления мембранных процессов разделения, может использоваться в любой отрасли промышленности и позволяет упростить конструкцию и повысить надежность работы устройства. Мембранный модуль состоит из пучка несущих дренажных трубок 1, на внутренней поверхности которых расположены полупроницаемые мембраны 2, двух трубных решеток 3 и 4, в которых закреплены трубки 1. Для закрепления концов мембраны на концах дренажных трубок 1 служат узлы 5 и 6 из слоя мембранообразующего материала, монолитно связанные с полупроницаемой мембраной. Мембранообразующий материал расположен на торце и частично на наружной поверхности трубной решетки и представляет собой либо полимер, либо другой материал, образующий динамическую мембрану.
