| Скачать .docx |
Реферат: Зонная плавка германия и кремния
Федеральное Агентство по образованию
Государственное Образовательное Учреждение
Среднего Профессионального Образования
Владимирский Авиамеханический Колледж
РЕФЕРАТ
На тему: "Зонная плавка германия и кремния"
По дисциплине: "Материаловедение"
Выполнил студент
Группы Э-107
Черкунов С.
Проверил
Митина Л.А.
2008 г. Владимир
Германий
Сущность метода зонной плавки заключается в том, что узкая расплавленная зона перемещается вдоль горизонтально расположенного образца, находящегося в графитовой или кварцевой лодочке. Примеси, имеющиеся в образце, оттесняются к концу слитка. Для высококачественной очистки весь процесс повторяют много раз или используют установки более совершенной конструкции, позволяющие создавать вдоль слитка одновременно четыре или пять расплавленных зон.

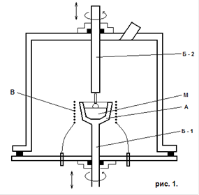
Для получения монокристалла по методу вытягивания из расплава тщательно очищенный от примесей германий расплавляют в установке, схема которой показана на рис.1. Рабочим объемом служит герметическая водоохлаждаемая камера, внутри которой создается вакуум порядка 10-4 Па, или защитная газовая среда (из водорода или аргона высокой чистоты). Материал (М) помещается в тигель (А), насаженный на конец водоохлаждаемого штока (Б-1). Шток Б-1 при помощи электропривода приводится во вращение со строго постоянной скоростью. Кроме того, его можно опускать или поднимать для подбора оптимального положения тигля с расплавом по отношению к нагревательному элементу В. В качестве нагревательного элемента используют обычно печь сопротивления или источник индукционного высокочастотного нагрева. Через верхний фланец камеры соосно с нижним штоком Б-1 вводится верхний шток Б-2, на нижнем конце которого крепится монокристаллическая затравка кристаллизуемого материала. Затравка вводится в расплав и выдерживается в нем, пока не произойдет оплавление поверхности. Когда это произойдет, затравку, вращая, начинают медленно поднимать. За затравкой тянется жидкий столбик расплава, удерживаемый поверхностным натяжением. Попадая в область низких температур над поверхностью тигля, расплав затвердевает, образуя одно целое с затравкой. Этим способом в настоящее время получают монокристаллы германия диаметром до 100 мм, а иногда и более.
Чистый германий обладает металлическим блеском, характеризуется относительно высокой твердостью и хрупкостью. Он кристаллизуется в структуре алмаза, плавится при температуре 937 o С, плотность при 25 °С равна 5.33 г/см3 . В твердом состоянии германий типичный ковалентный кристалл. Кристаллический германий химически устойчив на воздухе при комнатной температуре. Размельченный в порошок германий при нагревании на воздухе до температуры " 700 °С легко образует диоксид германия GeO2. Германий слабо растворим в воде и практически нерастворим в соляной и разбавленной серной кислоте. Активными растворителями германия в нормальных условиях является смесь азотной и плавиковой кислот и раствор перекиси водорода. При нагревании германий интенсивно взаимодействует с галогенами, серой и сернокислыми соединениями.
Германий, применяемый в полупроводниковых приборах, обладает удельным сопротивлением от миллионных долей Ом-м до значений, близких к удельному сопротивлению собственного германия. На электрические свойства германия оказывает сильное влияние термообработка. Так, если образец n-типа нагреть до температуры выше 550 °С, а затем резко охладить (закалить), то изменится тип электропроводности. Аналогичная термообработка германия p - типа приводит к снижению удельного сопротивления, без изменения типа электропроводности. Отжиг закаленных образцов при температуре 500-550° С восстанавливает не только тип электропроводности, но и первоначальное удельное сопротивление. Если германий расплавить, то его удельное сопротивление становится близким к удельному сопротивлению жидких металлов, например ртути
6,5×10-7
Ом-м). Пример маркировки германия - ГДГ 075/05, где первая буква обозначает название материала (Г - германий), вторая - тип электропроводности (Э - электронный, Д - дырочный), третья-название легирующей примеси (в данном случае галлия). Числитель дроби указывает значение удельного сопротивления (0,75 Ом-см), знаменатель - диффузионную длину неосновных носителей заряда (0.5 мм).
Германий применяется для изготовления диодов различных типов, транзисторов, датчиков ЭДС Холла, тензодатчиков. Оптические свойства германия позволяют его использовать для изготовления фотодиодов и фототранзисторов, модуляторов света, оптических фильтров, а также счетчиков ядерных частиц. Рабочий диапазон температур германиевых приборов от - 60 до 4-70 °С.
Кремний
В противоположность германию кремний является одним из самых распространенных элементов в земной коре; его содержание в ней около 29%. Однако в свободном состоянии в природе он не встречается, а имеется только в соединениях в виде окисла и в солях кремниевых кислот. Чистота природной окиси кремния в виде монокристаллов кварца иногда достигает 99,9%; в ряде месторождений чистота песка достигает 99,8-99,9%.
Технический кремний, получаемый восстановлением природного диоксида SiO2 (кремнезем) в электрической дуге между графитовыми электродами, широко применяется в черной металлургии как легирующий элемент (например, трансформаторная сталь) и как раскислитель при производстве стали.
Технический кремний представляет собой мелкокристаллический спек, содержащий около 1% примесей, и как полупроводник использован быть не может. Он является исходным сырьем для производства кремния полупроводниковой чистоты, содержание примесей в котором должно быть менее 10-6% .
Технология получения кремния полупроводниковой чистоты включает в себя следующие операции:
1) превращение технического кремния в легколетучее соединение, которое после очистки может быть легко восстановлено;
2) очистка соединения физическими и химическими методами;
3) восстановление соединения с выделением чистого кремния;
4) конечная очистка кремния методом бестигельной зонной плавки;
5) выращивание монокристаллов.
В полупроводниковом производстве наибольшее распространение получил метод водородного восстановления трихлорсилана SiHCl3 . Его получают обработкой измельченного технического кремния сухим хлористым водородом при температуре 300 - 400 °С:
Si + ЗНСl
SiHCl3
+ H2
.
Трихлорсилан представляет собой жидкость с температурой кипения 32 °С. Поэтому он легко очищается методами экстракции, адсорбции и ректификации.
В отличие от германия основная очистка кремния от примесей осуществляется химическими методами. Кристаллизационные методы имеют цель - превратить полукристаллический кремний, полученный химическим путем, в монокристаллы с определенными электрофизическими свойствами. Объемные кристаллы кремния выращивают методами выращивания из расплава и бестигельной вертикальной зонной плавки. Первый метод применяется, как правило, для получения крупных монокристаллов с относительно небольшим удельным сопротивлением (< 2,5 Ом-м). Второй метод используется для получения высокоомных монокристаллов кремния с малым содержанием остаточных примесей. Следует заметить, что в технологическом отношении кремний - более сложный материал, чем германий, так как он имеет высокую температуру плавления 1412 °С и в расплавленном состоянии химически весьма активен (вступает в реакцию практически со всеми тигельными материалами).
Метод вытягивания из расплава был ранее описан. Существенным недостатком этого метода при использовании его для выращивания монокристаллов кремния является загрязнение кристаллов кислородом. Источником кислорода служит кварцевый тигель, который взаимодействует с расплавом в соответствии с реакцией
SiO2 (TB) +Si ( ж ) → 2SiO.
Растворение кварца в кремний не только приводит к насыщению кислородом, но при этом вводятся и другие примеси, загрязняющие кремний.
Вертикальная бестигельная зонная плавка обеспечивает очистку кристаллов кремния от примесей и возможность выращивания монокристаллов кремния с малым содержанием кислорода. В этом методе узкая расплавленная зона удерживается между твердыми частями слитка за счет сил поверхностного натяжения. Расплавление слитков осуществляется с помощью высокочастотного индуктора (рис.2), работающего на частоте 5 МГц. Высокочастотный нагрев позволяет проводить процесс бестигельной зонной плавки в вакууме и в атмосфере защитной среды.
Методом вертикальной бестигельной плавки в настоящее время получают кристаллы кремния диаметром до 100 мм. Кристаллы кремния n - и p - типов получают путем введения при выращивании соответствующих примесей, среди которых наиболее часто используются фосфор и бор. Такие кристаллы электронного и дырочного кремния маркируются соответственно КЭФ и КДБ.
Кристаллический кремний при комнатных температурах обладает невысокой реакционной способностью; он весьма устойчив на воздухе, покрываясь тонкой пленкой диоксида кремния. Кремний нерастворим в воде, не реагирует со многими кислотами. Хорошо растворяется лишь в смеси азотной и плавиковой кислот и в кипящей щелочи.
Плавление кремния сопровождается некоторым увеличением его плотности (примерно на 8%) и скачкообразным уменьшением удельного сопротивления (примерно в 30 раз). В расплавленном состоянии кремний имеет удельное сопротивление порядка 10-4 Ом-м и ведет себя подобно жидким металлам.
В настоящее время кремний является базовым материалом полупроводниковой электроники. Он используется как для создания интегральных микросхем, так и для изготовления дискретных полупроводниковых приборов. Полупроводниковые интегральные микросхемы, отличающиеся малыми размерами и сложной конфигурацией активных областей, нашли особенно широкое применение в вычислительной технике и радиоэлектронике.
Из кремния изготовляются различные типы полупроводниковых диодов: низкочастотные (высокочастотные), маломощные (мощные), полевые транзисторы; стабилитроны; тиристоры. Широкое применение в технике нашли кремниевые фотопреобразовательные приборы: фотодиоды, фототранзисторы, фотоэлементы солнечных батарей. Подобно германию, кремний используется для изготовления датчиков Холла, тензодатчиков, детекторов ядерных излучений.

1 - монокристалл; 2 - расплавленная зона; 3 - индуктор; 4 – полукристаллический стержень
Благодаря тому что ширина запрещенной зоны кремния больше, чем ширина запрещенной зоны германия, кремниевые приборы могут работать при более высоких температурах, чем германиевые. Верхний температурный предел работы кремниевых приборов достигает 180-200° С.
Источник
1. Учебник "Конструкционные и электротехнические материалы".