| Скачать .docx |
Курсовая работа: Разработка системы управления механизмом подъема мостового крана
Федеральное агентство по образованию
Государственное образовательное учреждение
Высшего профессионального образования
Донской Государственный технический университет
Кафедра «Робототехника и мехатроника»
УТВЕРЖДАЮ
Зав. кафедрой
«______»_____________200 г.
Пояснительная записка
К курсовой работе по дисциплине: «Электромеханические и мехатронные системы»____________________________________________________________________
на тему: " Разработка системы управления механизмом подъема мостового крана "_____
Выполнил студент
Специальность «»_____
Руководитель проекта ___________________ _
Проект защищен ___________________ __________________
Члены комиссии ___________________ __________________
Ростов-на-Дону
200
Содержание
1 Исходные данные для курсового проектирования. 5
2 Расчетно-конструкторская часть. 7
2.1 Расчет мощности двигателя механизма подъема мостового крана. 7
2.4 Расчет широтно-импульсного транзисторного преобразователя. 13
2.5 Расчет основных статических параметров двигателя. 22
2.6 Расчет параметров электропривода. 25
2.7 Динамический расчет электро привода. 29
2.8 Расчет выпрямителя источника питания. 35
2.9 Выбор и расчет сглаживающего фильтра. 37
2.10 Выбор трансформатора источника питания. 39
3. Описание работы системы.. 40
3.3 Широтно-импульсный модулятор (ШИМ). 41
3.4 Ограничение максимального и эффективного тока. 43
3.5 Контроль работы тахогенератора. 44
3.6 Защита от короткого замыкания и превышения допустимого уровня питающего напряжения. 45
3.7 Защита при неисправностей внутренних источников питания «+15В» и «-15В». 45
3.8 Предварительное усиление управляющих сигналов ШИМа………....... ..46
Заключение. 48
Список использованных источников. 49
Введение
Для выполнения машинного технологического цикла (процесса) требуется согласование работы всех механизмов и выходных устройств МС, включая исполнительные, контролирующие и управляющие. Естественно, что в основе управления машинами лежат принципы механики, увязывающие их силовые, энергетические и массовые характеристики. В современных мехатронных системах преобразование движения одного или нескольких тел в требуемые движения других тел осуществляется системой тел (деталей), называемых механизмом. Механизмы входят в состав машин – технических систем (ТС) и предназначены для осуществления механических движений по преобразованию потоков энергии, силовых взаимодействий, необходимых для выполнения различных рабочих процессов. Часто силовой основой в МС является электропривод постоянного или переменного тока, формирующий управляемую электротехническую систему или комплекс. Для электротехнических систем управления характерна тесная взаимосвязь электромеханической части с цепями ее питания и регулирования. Поэтому суммарные характеристики устройств часто определяются всеми функциональными звеньями в равной степени. Управляемые комплексы с электромеханическим приводом (система, состоящая из двигателя и связанных с ним устройств приведения в движение одного или нескольких исполнительных механизмов, входящих в состав МС) получили название электромеханических систем (ЭМС).
1 Исходные данные для курсового проектирования
Разработать систему управления механизмом подъема мостового крана, обеспечивающую следующие проектные технические характеристики: 
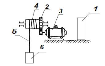
Рисунок 1 – Функциональная схема разрабатываемого устройства.
1-щит управления; 2-редуктор; 3- электродвигатель; 4-барабан; 5-канат;
6-грузозахватное устройства:
Масса груза 14000 кг;
Вес грузозахватного устройства Gо = 4000 Н;
Высота подъёма h = 22 м;
Скорость подъема грузозахватного устройства VП = 0,13 м/с;
Коэффициент полезного действия барабана и передачи h = 0,93;
Время переходного процесса замкнутой системы [tпп]=0,15с;
Перерегулирование [s%]=0,30%.
Диаметр барабана D
= 0,54 м;
Средне суточное время работы механизма t
=9 ч;
Производительность мостового крана Q=56 т/ч;
Число включений в час z=600;
Относительная продолжительность включения t
=0,16;
Заданный режим работы Е3;
Заданная скорость вращения вала рабочего органа кранового механизма
рад/с.
Допустимая статическая погрешность σ=0,18%
В качестве преобразовательного устройства применить ШИП преобразователь с управлением от микро ЭВМ (PIC - контроллера) или другого задающего режим работы программируемого устройства.
| |
2.1 Расчет мощности двигателя механизма подъема крана.

Рисунок 2 - Силы, действующие на кран.
1- электродвигатель; 2-редуктор; 3- грузозахватное устройства; 4-барабан; 5-канат;
Статическая мощность при подъеме номинального груза
(2.1)
![]()
Отношение времени пуска ко времени рабочей операции
(2.2)
Эквивалентная мощность для рабочей части цикла
, (2.3)
где
- переменная зависящая от
/10. рисунок 7/
![]()
Определяем режим работы механизма подъема:
(2.4)
где
![]()
Относим механизм подъема крана к среднему режиму работы (С), режим работы электрооборудования принимаем Е3.
Необходимая номинальная мощность электродвигателя должна быть не менее следующего значения:
, (2.5)
где
- коэффициент, зависящий от конкретного номинального режима.
/1. стр.45/
|
|
|
|
|
|
|
|
| |
| |
2.2 Выбор двигателя.
2.2.1 Выбор двигателя из справочной литературы
Предварительный выбор двигателя обычно производят из справочной литературы, по результатам расчета номинальной мощности. По результатам расчёта номинальной мощности из справочников были выбраны следующие двигатели:
Таблица 2.1– Параметры выбранных двигателей.
| Тип двигателя |
Uном |
nном |
Рн |
Rя |
Iном |
η |
Jдв |
| В |
об/мин |
кВт |
Ом |
А |
--- |
кг·м2 |
|
| 2ПН200М |
220 |
1500 |
22 |
0,196 |
112 |
0,875 |
0,8 |
| 2ПН225М |
220 |
1000 |
22 |
0,261 |
110 |
0,82 |
0,74 |
| 2ПН250М |
220 |
750 |
22 |
0,174 |
109 |
0,81 |
0,7 |
| 2ПН280М |
220 |
530 |
22 |
0,322 |
98 |
0,83 |
0,65 |
Окончательно требуется выбрать только один из четырех двигателей. Для этого необходимо построить энергетические характеристики каждого, а затем
(по необходимым условиям и параметрам) выбрать соответствующий тип двигателя механизма подъема.
2.2.2 Определение характеристик двигателя.
Для построения энергетической характеристики каждого двигателя необходимо рассчитать следующие параметры:
Номинальную угловую скорость двигателя:
,рад/с (2.6)
где n – номинальная частота вращения двигателя.
![]()
![]()
![]()
![]()
Номинальный вращающий момент двигателя:
![]() |
Н·м. (2.7)
.



Так как двигатель постоянного тока допускается перегружать по току в
раза, то значение расчетного крутящего момента можно принять равным
![]()
2.2.3 Построение характеристик выполняется в координатах Ω(М), Рэнерг(М).
![]() |
Рисунок 3 – Энергетические характеристики ДПТ с Рном=22 кВт.
2.2.4. Определение требуемых характеристик механизма подъема.
Требуемый момент для подъема груженого грузозахватного устройства:
, Н·м (2.8)
где Q – вес скипа с грузом, Q=141340Н; Dбар – диаметр барабана, Dбар=0,54м.
Н·м.
Требуемая угловая скорость для подъема грузозахватного устройства:
, рад/с. (2.9)
где Vп – линейная скорость подъема, Vп=0,13 м/с.
.
2.2.5 Определение передаточного числа редуктора.
Расчет ориентировочного значения передаточного числа редуктора.
, (2.10)
![]()
![]()


Определение ожидаемой линейной скорости на выходе редуктора с ориентировочным передаточным числом

, м/с (2.11)
,
,
,
,
Полученные значения удовлетворяют принятому условию:
.
Исходя из массогабаритных параметров, требований, ограничений, связанных с выбором редуктора (максимальная скорость вращения входного вала ограничена 1800 об/мин), выбираем двигатель с номинальной мощностью 22 кВт и частотой вращения 530 об/мин, т. е. двигатель 2ПН280м.
2.2.6 Определение реального передаточного числа и пересчет линейной скорости с учетом редуктора.
Реальное передаточное число выбирается из ряда (для цилиндрических трехступенчатых редукторов): 31.5,40,50,56,63,80,100,125,160,200.
Соответственно выбираем для двигателя 2ПН280м ближайшее наибольшее передаточное число,
.
Пересчитываем линейную скорость
![]() |
, м/с (2.12)
![]()
Полученная скорость удовлетворяет условию:
(2.13)
Выбранное передаточное число удовлетворяет разнице скоростей.
Исходя из ранее перечисленных ограничений и оптимальных параметров системы, выбираем двигатель 2ПН280м со следующими параметрами:
Напряжение Uя ном=220 В;
Номинальная мощность Pном=22000 Вт;
Номинальный ток якоря Iя=98 А;
КПД h=83%;
Момент инерции якоря двигателя Jдв=0,65 кГ·м2;
Сопротивление якорной обмотки Rя ном=0,322 Ом;
2.3 Выбор редуктора.
Выбор редуктора осуществляется по параметрам выбранного двигателя и рассчитанным характеристикам:
,
кВт,
, Н·м.
Выбираем редуктор цилиндрический трехступенчатый типа 1ЦЗН-500 с основными параметрами:
Крутящий момент на тихоходном валу, кН·м:
Min……........…………42000
Max………….......……56000
Передаточное число…………………………………………...........……….100
КПД, %……………….………………………………………...............…….0,97
Номинальная передаваемая мощность, кВт: Min…………....………….39 . Max…………..………….196
Масса, кг………………………..…………………………………..........…2120
Частота вращения быстроходного вала, об/мин, не более……......…….1800
2.4 Расчет широтно-импульсного преобразователя (ШИП).
2.4.1 Исходные данные для расчета.
Рассчитаем транзисторный ШИП для управления двигателем постоянного
тока ДПТ (типа 2ПН280м) по цепи якоря в динамическом режиме.
Данные двигателя:
- номинальное напряжение
В;
- номинальная мощность
Вт;
- номинальный ток якоря
А;
- номинальная частота вращения
об/мин;
- момент инерции якоря двигателя
кг·м2;
- сопротивление якорной обмотки
Ом;
- индуктивность якорной цепи двигателя
![]() |
Гн (2.14)
Для получения линейных характеристик по каналу управления примем для ШИП симметричный закон коммутации силовых ключей
.
С учетом номинального напряжения Uн, потерь на силовых ключах в режиме насыщения ΔUк и необходимости 20-% запаса по напряжению, выбираем источник питания с напряжением
, В (2.15)
где Uk – потери напряжения на насыщенном силовом ключе,
В.
.
Ток якоря двигателя в динамических режимах может превышать Iн в 2,5÷4 раза, поэтому расчетный ток силового транзисторного ключа принимаем
=392, А (2.16)
2.4.2 Выбор силовых полупроводниковых элементов.
Выбираем для транзисторного ключа IGBT-модуль CM400DU-12F (Mitsubishi Electeric)
со следующими параметрами:
- напряжение коллектор-эмиттер, Uкт, В……………………………..........600
- напряжение насыщения коллектор-эмиттер, Uктнас, В………......……...2,2
- максимальный ток коллектора, Iкmax, А...……………………......……...400
- импульсный ток коллектора, Iкн, А...…………………………..................800
- время включения, tвкл, c……………………………………….............0,4·10-6
- время выключения, tвыкл, c………………………………….........…...0,7·10-6
- тепловое сопротивление «переход-корпус», Rтеп, ºС/Вт…..........…..….0,12
- мощность рассеяния на коллекторе, Ррк, Вт….……..………….........….1100
Выбираем диод, шунтирующий IGBT-модуль, например диод Д161-400 со следующими параметрами:
- действующий ток, IVD, А………………………………........…………….400
- пороговое напряжение, U0, В…………………………………..................1,35
- динамическое сопротивление, RVD, Ом………..…………........………..0,002
- сопротивление при типовом охладителе и естественном охлаждении, RVDT, ºС/Вт…..…………....................................................…………….......................0,55
максимальная температура структуры, θpn, ºС………………….........…..140
2.4.3 Определение оптимальной частоты коммутации ШИП.
В связи с применением ненасыщенного ключа коэффициент форсировок на включение и отключение транзистора принимается: К1 = 1, К2 =1.
Длительность фронта и спада коллекторного тока силового ключа в паспортных данных силового модуля:
с;
с;
Определяем оптимальную частоту коммутации ШИП:
![]() |
,Гц (2.16)
где
для ШИП с симметричным законом коммутации;
, (2.17)

![]()
Принимаем частоту коммутации Гц.
2.4.4 Определение постоянных и базовых величин, необходимых для расчетов электромагнитных нагрузок энергетического канала.
Конструктивная постоянная двигателя:
, В·с/рад (2.18)

Базовая скорость:
, рад/с (2.19)

Базовый ток:
, А (2.20)
Базовый момент:
, Н·м (2.21)
![]()
Учитывая, что ШИП с симметричным управлением не искажает естественных механических характеристик двигателя, определяем относительную продолжительность включения в номинально режиме:
, (2.22)

Относительная скорость в номинальном режиме:
![]() |
, рад/с (2.23)
,
Относительная электромагнитная постоянная времени:
. (2.22)
где Т – период коммутации,
с. (2.24)
![]()
На естественной механической характеристике ДПТ для максимального тока двигателя в динамическом режиме (А) определяем частоту вращения:
, рад/с (2.25)

Определим относительное значение этой скорости:
![]() |
, рад/с (2.26)

2.4.5 Среднее значение тока двигателя,
,А (2.27)
![]()
![]()
, А (2.28)
2.4.6 Действующее значение тока двигателя
, (2.29)
где
; ![]()
![]()

,А (2.30)
![]()
2.4.7 Значение среднего тока транзисторного ключа при максимальном токе двигателя составит
, (2.31)
![]()

,А (2.32)
![]()
2.4.8 Действующее значение тока транзисторного ключа.
, (2.33)

, А (2.34)
![]()
2.4.9 Среднее значение тока шунтирующего диода
(2.35)

,А (2.36)
![]()
2.4.10 Значение действующего тока шунтирующего диода
,(2.37)

,А (2.38)
![]()
2.4.11 Определим потери энергии в силовом транзисторном ключе.
, Вт (2.39)
где:
(2.40)
(2.41)
сопротивление насыщенного ключа:
, (2.42)
![]()
Полученная величина потерь меньше допустимой мощности рассеяния на коллекторе силового IGBT-модуля.
, (2.43)
![]()
2.4.12 Определение потерь мощности в шунтирующем диоде.
,Вт (2.44)
![]()
2.4.13 Максимальную температуру структуры диода определяют из условия, что температура окружающей среды не превышает
ºС.
,ºС (2.45)
![]()
Так как
ºС, то требуется дополнительное охлаждение диодов для обеспечения соответствующих температурных режимов.
2.4.14 Расчет суммарных дополнительных потерь в системе ШИП – ДПТ в относительных единицах производится по выражению:
, (2.46)
.
2.4.15 Абсолютные дополнительные потери определяют, как
, Вт (2.47)
![]()
2.4.16 Основные потери в цепи якоря двигателя составляют
, Вт. (2.48)
![]()
2.4.17 Потери мощности в цепи якоря двигателя.
, Вт (2.49)
.
2.5 Расчет основных статических параметров двигателя.
2.5.1 Сопротивление якорной цепи в нагретом состоянии.
, Ом (2.50)
где tном – температура двигателя в номинальном режиме работы, ºС; tхол – температура двигателя в не нагретом состоянии,
ºС; α – температурный коэффициент сопротивления, для медной обмотки . . 1/ºС.
![]()
2.5.2 Жесткость естественной механической характеристики.
![]() |
, Н·м·с (2.51)
![]()
.
где º - угол наклона естественной механической характеристики к оси ω.
2.5.3 Скорость идеального холостого хода для естественной механической характеристики составит:
, Об/мин (2.52)
.
2.5.4 Момент короткого замыкания.
, Н·м. (2.53)
![]()
2.5.5 Ток короткого замыкания.
![]() |
, А (2.54)

Построим естественную электромеханическую и механическую характеристики ДПТ
; (2.55)

![]()
Рисунок 4 – Статическая электромеханическая характеристика ДПТ.
---
-угловая скорость при номинальном моменте
угловая скорость при изменении статического момента

![]()
Рисунок 5 – Статическая механическая характеристика ДПТ.
![]()
- угловая скорость при изменении статического момента
---
угловая скорость при номинальном моменте
2.6 Расчет параметров электропривода.
2.6.1 Основные параметры передаточной функции двигателя.
Задаемся величиной максимального статического тока:
, А (2.56)
![]()
Определим сопротивление насыщенного ключа:
, Ом (2.57)
![]()
Эквивалентное сопротивление якорной цепи:
,Ом (2.58)
![]()
Механическая постоянная времени с учетом приведенного момента инерции:
, с (2.59)
где N![]()
– коэффициент учитывающий изменение момента инерции механической части привода в зависимости от загрузки механизма подъема, N
=2-8. Принимаем N
=3
![]()
Электромагнитную постоянную времени определим, как:
![]() |
,с (2.60)

Относительная постоянная времени
. (2.61)
Коэффициент демпфирования
. (2.62)
2.6.2 Выбор тахогенератора
Условия, необходимые для выбора тахогенератора:
, Вт
Вт;
, рад/с
рад/с;
, кг·м2·10-6
кг·м2·10-6.
Исходя из следующих условий выбираем тахогенератор типа ДПР-42HI-01 со следующими параметрами:
- мощность на валу, Рнтг, Вт……………………...........……………………..4.7
- скорость вращения, Ωнтг, рад/с…………………………..........…………...942
- напряжение питания, Uнтг, В…………………………...........………………27
- ток якоря, Iнтг, А………………………………………..........…………..…0.29
- сопротивление обмотки якоря, Rнтг, Ом………………...........…………….13
- момент инерции, Jнтг, кгм2·10-6……………………….........………..……0.57
- масса, mтг, кг…………………..………………………............……….…….0.15
2.6.3 Определение коэффициентов усиления системы привода.
Определим коэффициент усиления разомкнутой системы
(2.63)
где ΔU – изменение напряжения; D – диапазон регулирования, D = 1000; δ – статическая погрешность,
.
,В (2.64)
![]()

Определение коэффициента передачи двигателя
, (2.65)
.
Определим коэффициент передачи тахогенератора
, (2.66)
где Rн – сопротивление входа усилителя,
Ом.

Определим коэффициент передачи ШИП совместно с широтно-импульсным модулятором
, (2.67)
где Uзт – напряжение управления,
В.
.
2.6.4 Постоянная времени ШИП
Т.к. запаздывание на выходе ШИП в основном определяется частотой коммутации равной fk=2000 Гц, сам по себе ШИП считаем безинерционным, но в реальной САУ на входе ШИП устанавливается апериодический фильтр, поэтому принимаем
ТШИП=0,0005 с.
2.6.5 Настроим контур тока на технический оптимум
Датчик тока: Iшунта=200 А, Uшунта=25·10-3 В.
Коэффициент усиления усилителя датчика тока: Кудт=100.
Примем максимальный ток электродвигателя равным:
|
Imax=2*98=196 А.
|
,В/А
Определим коэффициент усиления усилителя
, (2.70)
.
Определим коэффициент усиления регулятора тока и скорости
, (2.71)
.
2.7 Динамический расчет системы привода.
Рассмотрим динамическую модель разработанной приводной системы:

Рисунок 6 – Динамическая модель приводной системы
Исходные данные для расчета:
|
|
|
Момент инерции нагрузки изменяется, а, следовательно и механическая постоянная характеристического уравнения комплексно-сопряженные и переходные процессы носят колебательный характер. При
корни действительные, что соответствует апериодическим переходным процессам. При
влияние Тя можно пренебречь, переходные процессы близки к экспоненциальным./5/
(2.72)
Передаточная функция двигателя будет представлена:
(2.73)
Передаточные функции звеньев имеют вид:
регулятор скорости
(2.74)
регулятор тока
(2.75)
двигатель
(2.76)
ШИП
(2.77)
тахогенератор
(2.78)
датчик тока
(2.79)
Для определения устойчивости относительно задающего воздействия по критерию Найквиста необходимо разорвать цепь обратной связи и определить передаточную функцию в разомкнутом состоянии./5/
Схема разомкнутой динамической системы привода приведена рисунке

Рисунок 7 – Разомкнутая динамическая приводная система
Передаточная функция разомкнутой системы будет иметь вид:
(2.80)
Построим ЛАЧХ и ЛФЧХ исходной разомкнутой системы, где ![]()

Рисунок 8 – ЛАЧХ и ЛФЧХ исходной системы.
Частота среза wс = 72,6.
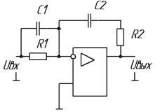
Как видно из ЛАЧХ и ЛФЧХ система не устойчива, поэтому требуется применить корректирующее звено, в данном случае ПИД-регулятор.

Рисунок 9 – Схема ПИД-регулятора.
Передаточная функция корректирующего звена будет иметь вид:
|
где К
- коэффициент усиления корректирующего звена К
=9
R1=1 (кOм);
R2 =9 (кOм);
Т1 – постоянная времени Т1 =0,027
Т2 - постоянная времени Т2 =0,0026
С1 – емкость конденсатора; С1 = 47∙10-6 (Ф);
С2 – емкость конденсатора; С2 = 3,2∙10-7 (Ф).
Корректирующее звено можно реализовать следующим звеном:
(2.82)
Передаточная функция скорректированной системы будет иметь вид:
. (2.83)
Частота среза желаемая
, (2.84)
где b- коэффициент Солодовникова b=2,5,
= 0,15.
=52,3

Рисунок 10 – ЛАЧХ и ЛФЧХ скорректированной системы.
Частота среза
.
Запас устойчивости по фазе на частоте среза:
, гр (2.85)
где минимальный запас: 30-40 гр.
Запас устойчивости по амплитуде на частоте среза:
, дБ (2.86)
где минимальный запас – (8 …10) дб.
В результате применения корректирующего звена система имеет достаточные запасы устойчивости по фазе и по амплитуде
Передаточная функция замкнутой системы.
, (2.87)

Рисунок 11 – График изменения вещественной части переходной характеристик системы.
Для расчета переходного процесса в замкнутой системе анализируем вещественную часть переходной характеристики.
(2.88)

Рисунок 12 - Переходной процесс в замкнутой системе.
Из рисунка видно, что время переходного процесса по точке перехода кривой в трубку установившегося значения составляет 0,023 с и непревышает заданного значения в сравнении с исходными данными для проектирования, tп.п. = 0,15. Время перерегулирования составляет 30% и нее превышает заданное значение.
2.8 Расчет выпрямителя источника питания
2.8.1 Выбор схемы выпрямителя
В качестве схемы выпрямления выбираем однофазную мостовую схему со следующими параметрами:
- число фаз, m………………………………………………....……….………….2
- отношение среднего выпрямленного напряжения к напряжению во
- вторичной обмотке трансформатора, Uд/U2………………..……...………1,11
- отношение обратного напряжения на вентиле к среднему
- выпрямленному напряжению, обр/Uд………………….…………………..1,57
- отношение мощности трансформатора к
- мощности после выпрямителя, Рт/Рд………………..………...……………1,21
- коэффициент использования вентиля по току, KI………......……………..0.78
- частота пульсаций(при fсети=50Гц), fп,………………..………...…..……..100
Для расчета необходимы следующие исходные данные:
- напряжение на выходе выпрямителя, Uд , В……...………………….……..274
- ток нагрузки выпрямителя, Iд , А…………………………....…..…………..400
2.8.2 Определение обратного напряжения на вентиле
Uобр = 1,57·Uд, В (2.89)
Uобр =1,57·274=430 В
|
Iв=0,5·Iд, А
Iв=0,5·400=200
2.8.3 Выбор диодов
По вычисленным Uобр и Iв и заданным температурным параметрам по справочнику выбираем вентиль: диод Д 232-200 со следующими параметрами:
- прямой постоянный ток, Iпр, А…………………...………….……………..200
- наибольшее обратное напряжение, Uобрм, В...……………...………...…1000
- падение напряжения на открытом диоде, Uпр, В………….....…………...1,45
- предельно допустимая рабочая частота, f, кГц……………......…………....0,5
- диапазон допустимых рабочих температур, Т, оС……………...……-60..+190
2.8.4 Определение дифференциального сопротивления вентиля
|
hв=1,2· =0,0087 Ом.
2.8.5 Сопротивление плеча моста
|
hп=2·0,0087=0,0174
2.8.6 Ориентировочное значение активного сопротивления фазы выпрямителя
|
, где К2 – коэффициент схемы выпрямления, К2=4;
Rн – сопротивление нагрузки, Rн=Uд/Iд=2,79 Ом;
N – число стержней трансформатора, N=2;
fc – частота сети питания, fc=50 Гц;
Bm – максимальная индукция в стали сердечника, Bm=0,7 Тл;

2.8.7 Определение индуктивности рассеяния обмоток трансформатора при fc=50 Гц.
|
где КL – коэффициент, зависящий от схемы выпрямления, КL=6,4.

2.8.8 Индуктивное сопротивление обмоток трансформатора
|
xT=2·p·50·0,807=253 Ом.
2.8.9 Расчетное выпрямленное напряжение ненагруженного выпрямителя
|
|
,В
![]()
2.8.10 Фактическое обратное напряжение на вентиле
|
![]()
2.9 Выбор и расчет сглаживающего фильтра
2.9.1 Расчет коэффициента сглаживания
, (2.98)
где
,
- амплитуда основной гармоники пульсаций и постоянная составляющая напряжения на входе фильтра,
=183,6 В,
=274 В.
,
- амплитуда основной гармоники пульсаций и постоянная
составляющая напряжения на выходе фильтра,
=1 В,
=274 В./3/
.
2.9.2 Выбор схемы фильтра
Выбираем Г-образный LC-фильтр.
Определяем произведение Lд · С:
(2.99)
где mn – частота пульсаций выпрямленного напряжения, mn=100 Гц;
с-1
![]()
2.9.3 Определение минимального значения индуктивности дросселя, Lд.мин,Гн
(2.100)
![]()
По расчетному значению Lд.мин выбираем стандартный дроссель фильтра ДПМ 400-1000 со следующими параметрами:
индуктивность дросселя Lд , Мк Гн…………..……………..……1000
номинальный постоянный ток, А……………..…………………….400
2.9.4 Расчет емкости конденсатора фильтра С, Ф
(2.101)
2.9.5 Рабочее напряжение конденсатора
Рабочее напряжение конденсатора больше значения выпрямленного напряжения
|
![]()
По расчетному значению С и рабочему напряжению выбираем конденсатор
К50-78-450В – 220мкФ ± 20%.
2.10 Выбор трансформатора источника питания
2.10.1 Теоретическое значение типовой мощности трансформатора
|
где KT – схемный коэффициент типовой мощности трансформатора;
UН – номинальное напряжение сети;
IД – средний выпрямленный ток.
ST=1,23·220·98=26519
2.10.2 Расчетная типовая мощность трансформатора
|
где Кс – коэффициент запаса, учитывающий возможное снижение напряжения сети.
РТ=1,1·1,23·26519=35880 .
По расчетному значению типовой мощности выбираем силовой трансформатор ТС-40 со следующими параметрами:
типовая номинальная мощность, Sт , кВА…………………………40
напряжение во вторичной обмотке, U2 , В………………………..208
напряжение короткого замыкания, Uкз , %…..…………………….10
2.10.3 Действующее значение первичного тока трансформатора
|
,А
где Кi1 – схемный коэффициент первичного тока;
Ктр – коэффициент трансформации трансформатора.

3 Описание работы системы
Регулятор предназначен для управления работой преобразователя по закону, заданному входным сигналом и защиты.
3.1 Блок регулятора.
Схема электрическая принципиальная блока регулятора приведена на листе 1 графической части курсового проекта. Блок регулятора состоит из дифференциальных усилителей заданного значения частоты вращения и фактического значения частоты вращения, регулятора частоты вращения, охваченного через ограничитель импульсного тока цепью отрицательной обратной связью, регулятора тока, широтно-импульсного модулятора, генератора тактовой частоты, схемы измерения и среднеквадратичного ограничения якорного тока и схемы защиты и контроля.
Регулятор частоты вращения состоит из основных элементов DA2.3,DA4 и VT4.
Заданное значение частоты вращения двигателя (напряжение в пределах от 0 до +/-10В) поступает на ВХОД1 преобразователя и далее на дифференциальный усилитель DA2.2, коэффициент усиления которого равен 1.
Действительное значение частоты вращения двигателя от тахогенератора поступает на ВХОД BR+ и далее через фильтр нижних частот с постоянной времени t»0.5мс на дифференциальный усилитель DA2.1 с коэффициентом усиления 0.35. Выходное напряжение усилителя можно изменять с помощью переменного резистора R30 в 2.5 раза. Таким образом, коэффициент усиления от ВХОДА BR+ до выхода с переменного резистора R30 можно регулировать в пределах от 0.35 до 0.14. Это позволяет нормировать напряжение тахогенератора на 8В задающего напряжения при напряжении самого тахогенератора в пределах от 20 до 30В. Этот предел можно расширить изменением номиналов резисторов R13 и R14.
Разность заданного значения и напряжения тахогенератора поступает на
пропорционально-интегрирующее звено DA2.3,DA4(ПИД-регулятор), напряжение на выходе которого изменяется до тех пор, пока разность напряжений на входе не станет равной нулю. Постоянную времени интегрирования и коэффициент усиления звена с помощью резистора R58 можно регулировать от Т=C17·R26=3мс и К=R52/R26=7.5 до Т=0 и К=1500.
При необходимости параметры регулятора можно изменить. Для этого конденсатор С17, резисторы R50 и R52 расположены на специальных контактах.
Резистор R45 и стабилитрон VD9 служат для ограничения максимального выходного напряжения на уровне +/-(10+/-0.5)В. С помощью резистора R46 можно установить уровень ограничения меньший 10В.
Операционный усилитель DA4 работает в режиме повторителя. Резистор R34 служит для установки 0. /4/
3.2 Регулятор тока (РТ).
Напряжение с выхода DA4, пропорциональное задаваемому току двигателя, поступает на пропорционально интегрирующее звено (ПИД – регулятор) DA5.1, имеющее постоянную времени Т= (R68+R73)·C21=0.65мс и коэффициент усиления К=R80/R68+R73=2.
На регулятор тока поступает также и напряжение, пропорциональное фактическому току двигателя с измерителя тока якоря (R75, L1, DA1.3, DA1.4, VT5-VT7), имеющего постоянную времени 50мкс.
На выходе РТ заданное значение тока сравнивается с фактическим значением тока, разность этих сигналов усиливается РТ./4/
3.3 Широтно-импульсный преобразователь (ШИП).
Так как выходные транзисторы прибора могут принимать только два состояния контактов выключателя – «открыт» или «закрыт», то для получения промежуточных величин выходные транзисторы переключают по переменно в оба состояния с максимально возможной частотой. При этом коэффициент заполнения определяет величину выходного напряжения.
Напряжение с выхода DA5.1 инвертируется DA5.2 и эти напряжения поступают на компараторы DA6.1 и DA6.2,где сравниваются с треугольным
напряжением, поступающим с генератора DA5.3,DA5.4.
Период треугольных импульсов равен (120+/-10) мкс, амплитуда +/-10 В.
При равенстве нулю выходного напряжения регулятора тока импульсы на выходе компараторов DA6.1 и DA6.2 имеют одинаковую длительность и форму меандра (скважность равна 2).Если выходное напряжение регулятора тока не равно нулю, то скважность импульсов на выходе компараторов DA6.1 и DA6.2 изменяется. Эти импульсы далее инвертируются DD3.3 и DD3.5. Неинвертируемые и инвертируемые импульсы с выходов DD3.2, DD3.3, DD3.5,
DD3.6 далее поступают на цепочки задержки положительных импульсов, постоянная времени цепочек для положительного фронта равна 10мкс. На выходе цепочек задержки импульсы имеют положительный фронт в виде экспоненциальной функции с временем нарастания до половины амплитуды около 10мкс. Этот уровень соответствует порогу срабатывания триггеров Шмитта DD4.1 – DD4.4. В результате на выходе (DD5.1 – DD5.4) импульсы, соответствующие каждому из выходов регулятора тока, инверсны друг другу и их передние фронты сдвинуты относительно задних фронтов инверсных импульсов на 10мкс. Эти импульсы в конечном итоге служат для управления силовыми ключами преобразователя.
Каждая инверсная пара импульсов подается на входы двух последовательно включенных силовых ключей. Задержка в 10мкс исключает сквозное короткое замыкание через ключи и выполнена с учетом времени включения транзисторов.
Не смотря на эту задержку переключения, выходной ток, имеющий активно-индуктивный характер, не прерывается, а замыкается через диоды обратного моста, включенные параллельно силовым ключам.
При возрастании входного задающего сигнала скважность на выходах компараторов DA6.1, DA6.2, а соответственно, и на входах силовых ключей изменяется в противофазе, так что на одной половине выходного каскада модулятора напряжение стремится к 0, на другой – к напряжения источника питания. При полном задающем сигнале выходное напряжение устанавливается равным напряжению источника питания. При изменении знака задающего сигнала изменяется и знак выходного напряжения.
3.4 Ограничение максимального и эффективного тока
На цепи измерения и ограничения максимального и эффективного тока якоря двигателя напряжение поступает с датчика тока двигателя. Максимальному току двигателя соответствует напряжение +/-0.375В. Это напряжение поступает на вход дифференциального каскада усиления (VT6, VT7).
Кроме того, на этот каскад поступает синфазное напряжение, величина которого может достигать напряжения питания. Для сохранения баланса каскад во всем диапазоне синфазного напряжения стабилизирован базовый ток с помощью генератора тока VT5 (1мА) и напряжение базы относительно средней точки с помощью стабилитрона VD13. Коэффициент усиления каскада равен 2. Усиленное дифференциальным каскадом напряжение датчика тока двигателя поступает на усилитель DA1.3 и DA1.4 (коэффициент усиления равен 13).
Таким образом, напряжению датчика тока, равному 0.375В, соответствует напряжение 10В на выводе 14 микросхемы DA1.4. это напряжение поступает в качестве отрицательной обратной связи на регулятор тока и на контрольную точку Х2 (IЯ).
С вывода 14 микросхемы DA1.4 напряжение поступает на схему возведения в квадрат. Инвертор DA1.2 и диоды VD4, VD5 превращают напряжение, пропорциональное току двигателя, в однополярное, отрицательное. Это напряжение возводится в квадрат следующим образом. Пока напряжения на катодах стабилитронов VD6, VD7 меньше напряжения стабилизации VD6(3.3В), коэффициент усиления каскада на DA1.1 равен 0.1. При напряжении равном или большем напряжения стабилизации стабилитрона VD6, по коэффициенту усиления каскада начинает расти и становится равным единице. При дальнейшем увеличении входного напряжения до 6.2В и выше пробивается стабилитрон VD7 и коэффициент усиления каскада растет до 2.
Таким образом, выходное напряжение квадратно приближено пропорционально к току якорей. Это напряжение через RC цепочку с постоянной времени t=R33·C14=10с поступает на DA3.4 на вывод 12. На вывод 13 этой микросхемы поступает опорное напряжение с R20.
Если напряжение на выводе 12 меньше опорного напряжения, то диоды VD10, VD11 закрыты соответствующим напряжением с выводов 8 и 14
микросхемы DA3. Как только напряжение на выводе 12 станет близким к опорному напряжению, диоды VD10 и VD11 шунтируют вход микросхемы DA4 для приращения напряжения на ее входе, т.е. ограничивают выходное напряжение регулятора частоты вращения и тем самым ограничивают ток двигателя. Одновременно открывается транзистор VT3, который выдает на выход преобразователя сигнал о наступлении режима ограничения тока.
Максимальный (импульсный) ток регулируется потенциометром R46./4/
3.5 Контроль работы тахогенератора.
Контроль работы тахогенератора осуществляется методом несущей частоты. Напряжение с генератора треугольного напряжения DA5.4 с вывода 14 поступает на удвоитель частоты DA3.1,который работает в режиме двухполупериодного детектора (VD15,VD16). Далее микросхема DA3.2 формирует прямоугольные импульсы, которые через R44 и C1 поступают в цепь тахогенератора. Если тахогенератор подключен к преобразователю и его цепь не нарушена, то эти прямоугольные импульсы, пройдя через якорь тахогенератора, поступают на детектор VD2. Положительное напряжение открывает транзистор VT1 и соответственно закрывает транзистор VT2. Если внутренний источник питания преобразователя исправен, то через резистор R92 на вход инвертора DD1.4 при закрытом транзисторе VT2 поступает логическая единица. Логический ноль с выхода инвертора DD1.4 поступает на микросхему DD6 и через резистор R94 на вывод 3 микросхемы DD2.1.Система разрешения работы и защиты включает в себя триггер DD2.1,DD2.2.Если преобразователь исправен и подключён правильно, то на выводах 2,3,4,5 микросхемы DD2.1 логический ноль. Появление единицы на oдном из этих выводов означает неисправность одной из цепей. Если цепь тахогенератора разомкнута, или неисправен внутренний источник питания преобразователя, то на выводе 9 инвертора DD1.4 логический ноль, а на выводе 3 DD2.1 и на выводе 13 DD2.2-логическая единица. При нормальной работе преобразователя на всех входах микросхемы DD6 должен быть логический ноль, а на выходе логическая единица. В этом случае транзисторы VT4, VT9 закрываются, обеспечивая нормальную работу интеграторов, а микросхема DD4 работает в режиме формирования импульсов. При появлении одной из неисправностей или снятии разрешения работы на выходе DD6 устанавливается логический ноль и работа преобразователя прекращается.
3.6 Защита от короткого замыкания и превышения допустимого уровня
питающего напряжения.
Если ток силовых ключей преобразователя превышает 4-х, 5-и кратное значение номинального тока, то на базы транзисторов VT8, VT10 относительно их эмиттеров поступает напряжение 0.85В. Транзисторы открываются и на вывод 5 микросхемы DD2.1 подается логическая единица. Логическая единица также возникает, если напряжение питания преобразователя превышает порог, заданный стабилитронами VD17 – VD20.
3.7 Защита при неисправностей внутренних источников питания
«+15В» и «-15В».
Если напряжение источника «+15В» опустится ниже 10В, то на выходе инвертора DD1.3 появится логическая единица. Если напряжение «-15В» изменится до –10В, то на выходе DD1.2 появится логическая единица. Эти логические единицы поступают на вывод 3 микросхемы DD6, запрещая работу преобразователя.
3.8 Предварительное усиление управляющих сигналов ШИПа
Для получения минимального времени включения и выключения силовых ключей транзисторы ключей используются только в квазинасыщении, т.е. остаточное напряжение на транзисторе во включенном состоянии регулируется на 2В, обеспечивается четырьмя предварительными усилителями, отдельно каждого силового ключа. Питание предусилителей осуществляется от внутреннего источника питания, который обеспечивает четыре гальванически развязанных напряжения »10В.
Предусилитель состоит из четырех независимых ключевых каскадов, которые, кроме входных усилителей аналогичны друг другу. Рассмотрим каскад, собранный на транзисторах VT1,VT3,VT5,VT6. Он состоит из двухтактного эмиттерного повторителя (VT5,VT6), двухкаскадного усилителя (VT1,VT3), выпрямителя VD5, C7 и выпрямителя VD9,L1,L2,C8.
Питание каскада осуществляется импульсным напряжением, поступающим с вторичной обмотки трансформатора, находящегося на плате источника питания преобразователя. Эта обмотка подключена к клеммам 26 и 27 разъема Х1. Положительная полуволна этого напряжения детектируется амплитудным детектором VD5. На конденсаторе С7 выделяется напряжение 6В.
Диод VD9 шунтирует положительную полуволну питающего напряжения. Отрицательная полуволна шунтируется дросселями L1,L2 и конденсатором C8. На конденсаторе C8 выделяется напряжение 6В.
На контакт 25 относительно 0В (контакты 22В, 11В) с эмиттеров силовых транзисторов ШИПа поступают положительные импульсы частот 8.5 кГц и амплитудой от 45 до 300В. Эти импульсы через контакт 26, обмотку питающего трансформатора, контакт 27, диод VD5 подаются для питания транзисторов VT1,VT3.
На контакт 23А поступают импульсы положительной полярности частот 8.5 кГц и амплитудой 10В.
Соотношение резисторов R1,R3,R7 выбрано таким образом, чтобы обеспечить работу транзистора VT1 в режиме генератора тока. В открытом состоянии его ток равен от 1 до 2мА.
Транзистор VT3 работает в ключевом режиме. Диоды VD1,VD3 обеспечивают ненасыщенный режим работы транзистора VT3.
При нулевом напряжении на контакте 23А транзисторы VT1 и VT3 закрыты и напряжением на базах транзисторов VT5,VT6 относительно их эмиттеров отрицательно. Транзистор VT5 закрыт. Транзистор VT6 находится в активном режиме, и его нагрузкой является диод в проводящем состоянии и резистор 100 Ом, который подключен к контактам 24, 25 разъёма Х1.
При поступлении на контакт 23А положительного импульса транзистор VT1 переходит в активный режим и своим током открывает транзистор VT3. Напряжение на базе транзистора VT5,VT6 относительно их эмиттеров становится положительным. Транзистор VT6 закрыт, транзистор VT5 находится в активном режиме. Его нагрузкой является последовательно соединенные переходы база – эмиттер силовых транзисторов ШИПа.
Конденсаторы C1,C3 повышают помехоустойчивость каскада. Диод VD6 служит для вывода из насыщения силовых транзисторов ШИПа.
В результате выполнения курсовой работы был разработан электропривод механизма подъема с заданными параметрами скорости подъема, а также его система управления. Были исследованы основные характеристики двигателей постоянного тока, что позволило выбрать оптимальный двигатель. Выбранный двигатель был проверен на обеспечение заданных скоростных параметров системы. Был произведен расчет основных параметров и выбор основных элементов широтно-импульсного преобразователя. Элементы ШИП выбраны из современной элементной базы (силовые IGBT-транзисторы), обеспечивающей лучшие технические показатели. Был обеспечен расчетный тепловой баланс схемы ШИП.
Произведен статический и динамический расчет системы. Построены статические характеристики ДПТ, логарифмические частотные и фазовые характеристики системы. Определены запасы устойчивости по частоте и фазе. Для коррекции поведения системы был применен ПИД-регулятор. Построен переходной процесс замкнутой системы. По нему убедились, что система отрабатывает воздействие управления за заданный промежуток времени.
Были выбраны элементы источника питания: трансформатор, выпрямитель, сглаживающий фильтр. Были рассчитаны их основные параметры.
Для управления широтно-импульсным преобразователем разработана схема управления. Были выбраны датчики тока (шунт), скорости (тахогенератор). Определены основные параметры схемы управления ШИП.
Список использованных источников
1 В.М. Рапутов. Электрооборудования кранов металлургических предприятий. 1986г.
2 Карнаухов Н.Ф. Электромеханические модули мехатронных систем. Основы расчета и проектирования: Учебное пособие. – Ростов-на-Дону: Издательский центр ДГТУ, 2001г.
2 Карнаухов Н.Ф. Электромеханические системы. Основы расчета: Учебное пособие: Издательский центр ДГТУ. Ростов-на-Дону 1998г.
4 Карнаухов Н.Ф. Стабилизированный вторичный источник питания систем управления роботов: Метод. указания – Ростов-на-Дону : РИСХМ 1991г.
5 Цифровые электроприводы с транзисторными преобразователями / Герман-Галкин С.Г., Лебедев В.Д., Марков Б.А. – Л.: Энергоатомиздат, 1986г.
6 Солодовников В.В. Основы теории и элементы систем автоматического регулирования : Учеб. Пособие для вузов. – М.: Машиностроение, 1985г.









