| Скачать .docx |
Реферат: Измеритель временных интервалов с цифровой индикацией результатов
Министерство образования и науки Российской Федерации
Новосибирский Государственный Технический Университет
Институт ядерной физики им. Г.И. Будкера СО РАН
Кафедра электрофизических установок и ускорителей
Курсовой проект
по дисциплине
Электронные приборы ядерной физики
Вариант 2-2
Измеритель временных интервалов
с цифровой индикацией результатов.
Факультет: ФТФ
Группа: ФТ–51
Выполнил: Николаев И.В.
Проверил: Куркин Г.Я.
Дата:__________________
Оценка:________________
Подпись:_______________
Новосибирск 2009 г.
Содержание.
1. Задача___________________________________________________ 2
2. Выбор логических микросхем________________________________ 2
3. Блок-схема устройства______________________________________ 3
4. Принципиальная схема устройства ___________________________ 4
5. Расчет номиналов R и C_____________________________________ 6
6. Временные диаграммы______________________________________ 8
7. Обоснование выбора серии применяемых микросхем______________9
8. Требования к источнику питания______________________________9
9. Спецификация_____________________________________________11
10. Список используемой литературы_____________________________ 12
1. Задача
Разработать и спроектировать измеритель временных интервалов с цифровой
индикацией результатов со следующими параметрами:
- Временной интервал 1-10 мксек
- Погрешность измерения 100 нсек
- Частота следования импульсов 50 Гц
- Длительность входных импульсов 500 нсек
- Амплитуда входных импульсов 10 В
- Входное сопротивление 50 Ом
- Индикация состояния десятичная
Предполагаем, что входные импульсы – стартовый и стоповый – передаются по одному кабелю (рис.1).

Рис. 1 Входные импульсы
Т – период следования импульсов,
.
2. Выбор логических микросхем.
По заданию нам нужно обеспечить погрешность не более 50 наносекунд. Поэтому для проектирования выбираем микросхемы на ТТЛ, которые по быстродействию подходят для выполнения задания. Микросхемы ЭСЛ по быстродействию превосходят микросхемы ТТЛ, но имеют повышенное потребление тока и греются, поэтому нужно заботится об охлаждении. Микросхемы КМОП имеют большую задержку, чем микросхемы на ТТЛ. Но при желании можно найти КМОП микросхемы с задержками сравнимыми с ТТЛ. Воспользуемся микросхемами на ТТЛ с диодами Шоттки на входах – они имеют меньшее потребление тока в сравнении с более ранними типами микросхем ТТЛ при том же быстродействии.
3. Блок-схема устройства

Рис. 2 Блок–схема
Предполагаем, что входные импульсы – стартовый и стоповый предаются по одному кабелю. Формирователь временного интервала – делитель на 2 формирует импульс длительности τ, который разрешает счет. По отрицательному фронту этого импульса формируется импульс на первом одновибраторе в системе сброса и периода индикации, который разрешает запись измерения временного интервала в память дешифратора, откуда это измерение отображается на индикаторе. Затем второй одновибратор системы сбрасывает счетчик, запускаясь по отрицательному фронту импульса первого одновибратора. Также по отрицательному фронту импульса первого одновибратора, запускается еще один одновибратор, функция которого – задержать выведенную информацию на 2 секунды, для того, чтобы успеть воспринять ее.
В случае переполнения счетчика, а это возможно, если устройство включено между стартовым и стоповым импульсом, срабатывает JK-триггер. Он сбрасывает делитель на 2 и запрещает запись в память информации со счетчика, а также сбрасывает счетчик.
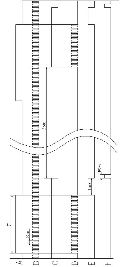
Делитель на 2 – это JK-триггер DD4.1. Первый одновибратор системы сброса и периода индикации – DD7.2, который выдает импульс длительности 1 мкс для записи в память дешифраторов-преобразователей DD6 ,DD9, DD14, DD15 (Е на временной диаграмме) по отрицательному фронту импульса длительности τ на выходе DD4.1. Импульс для записи берется с инвертирующего выхода, это позволяет сперва преобразовать данные (т.е. вывести их на индикаторы HG1, HG2, HG3, HG4), т.к.
в течение длительности импульса, а затем зафиксировать, т.к. при окончании импульса на WR
приходит 1. Т.о. индикаторы будут держать значение полученное последним измерением до прихода новой информации. Второй одновибратор, формирующий импульс сброса счетчика, длительностью 100 нс (F на временной диаграмме ) – это DD12.1. Одновибратор, задерживающий информацию, путем подачи логического 0 в течении 2 секунд (С на временной диаграмме) на 3И DD3.1 – DD7.1. Его корректную работу обеспечивает JK-триггер DD4.2, работающий в режиме установки логической 1, срабатывающий при прохождении положительного фронта сигнала, проходящего через инвертор DD2.1, формируемого одновибратором DD7.2. При переполнении счетчика срабатывает JK-триггер DD5.2, также работающий в режиме установки 1, с инверсного выхода которого, “ступенька” перехода от логической 1 к логическому 0 приходит на одновибратор DD12.1, запускающего импульс, о назначении которого сказано выше. При этом стоит отметить то, что элемент 2ИЛИ DD10.1, позволяет срабатывать одновибратору DD12.1, в обоих случаях независимо.
Чтобы погрешность не превышала 50 нс, используем кварцевый резонатор на мультивибраторе DD1.1, который выдает импульсы, положительные фронты которых повторяются через 50 нс. Таким образом кварцевый резонатор должен иметь собственную частоту 20 МГц.
В силу того, что тактовые импульсы имеют период 50 нс, то младший разряд индикатора должен показывать 5 либо 0. А для этого счетчик младшего разряда должен быть двоичным. В качестве двоичного счетчика используем делитель на 2 – JK-триггер DD5.1. Затем по положительному фронту инвертирующего выхода DD5.1 считает двоично-десятичный счетчик DD8. Максимальное число у нас будет 99.95 мкс, поэтому используем 3 одинаковых счетчика ИЕ6: DD8, DD11, DD13.
Для управления индикаторами HG1 – HG4 используем дешифраторы с памятью DD6, DD9, DD14, DD15 – 514ИД4Б. Запись в память дешифратора происходит при логическом нуле на входе BI.
Компаратор DA1 используется для преобразования логических уровней входных импульсов до уровня логических сигналов ТТЛ.
4. Расчет номиналов R и C
Для обеспечения логических единиц на входах, где это нужно схеме, подключаем их к питанию +5 В через резисторы 1 кОм.
На схеме не показаны развязки по шинам питания и блокирующие емкости. В реальности необходимо будет на каждую микросхему поставить развязывающие емкости номиналом 0.1 мкФ в соответствии с общими рекомендациями, для стабилизации питания, поскольку в моменты переключения состояний на микросхеме возникают скачки потребляемого тока. И отдельно поставить емкости номиналом 1 мкФ для дешифраторов, т.к. они потребляют большую часть тока.
Делитель на R3-R4 должен обеспечивать на инвертирующем входе компаратора DA1 напряжение 0.25 В – по середине уровня входных сигналов. Через делитель должен течь ток минимум в 10 раз больший, чем входной ток компаратора – это получается 0.1 мА. Из этого значения тока делителя и требуемого напряжения вычислим номиналы резисторов.
кОм
кОм
Из стандартного ряда номиналов Е24 выбираем R 3 = 47 кОм и R 4 = 2.4 кОм.
Для стабильности работы компаратора в моменты переключения поставим между резисторами делителя емкость С1, номиналом 0.1 мкФ, в соответствии с общими рекомендациями.
Длительность входного импульса одновибратора 555АГ5 можно вычислить по формуле:
![]()
Для одновибратора 555АГ5 максимальное рекомендуемое значение R τ = 24 кОм. Поэтому выбираем R11, R12, R17 из стандартного ряда номиналов Е24 – 24 кОм. Для выполнения своих функций одновибратор DD7.2 должен формировать импульсы длительностью 1 мкс, поэтому:
пФ
Из стандартного ряда номиналов выбираем 100 пФ. Таким образом С 2 = 100 пФ.
Для выполнения своих функций одновибратор DD12.1 должен формировать импульсы длительностью 100 нс, при этом емкость следует поставить ту же, что и в предыдущем случае, т.о. определим номинал резистора:
Ом
Из стандартного ряда номиналов Е24 выбираем 470 Ом. Таким образом R 16 = 470 Ом.
Одновибратор DD7.1 формирует импульс длительностью 2 секунды, следовательно:
мкФ
Емкость достаточно большая, поэтому стоит использовать объемно-пористый танталовый конденсатор. Выбираем конденсатор К52-1Б, номиналом 150 мкФ.
Номинал R14 выбираем таким образом, чтоб ток через светодиод не превосходил предельный постоянный ток через один сегмент - 25 мА. Зададим 20 мА и вычислим R19. По ВАХ светодиодов индикатора (рис. 3) находим падение напряжения на светодиодах при 20 мА.
По усредненной кривой видно, что падение напряжения при 20 мА составит 2.6 В. Отсюда:
Ом
Стандартный номинал ряда Е24 - 120 Ом.
Рис. 3 ВАХ
сегментов индикатора
5. Временные диаграммы

6. Обоснование выбора серии применяемых микросхем
Основная серия использованная в устройстве - 1533, являет собой компромисс между потреблением тока и быстродействием. Это можно увидеть из характеристик разных серий JK-триггера ТВ15, а так же счетчика ИЕ6.
Одновибраторы выбраны АГ5, т.к. АГ1 и АГ2 имеют или ограничение длительности импульса, или без перезапуска. АГ3 и АГ4 при некоторой комбинации логических 1 и 0 на входах формируют выходной импульс по перепаду на входе сброса. А одновибратор АГ5, не имеющий ограничений на выдаваемые импульсы, имеется только в 555 серии
Мультивибратор DD1 выбран 531ГГ1 т.к. он единственный среди ТТЛ способен генерировать импульсы с частотой 20 МГц.
Дешифратор - преобразователь двоичного кода в код управления семисегментными индикаторами - выбран 514ИД4Б, имеющий внутреннюю память и работающий с индикаторами с общим катодом. Индикаторы выбраны желто-зеленого цвета и высотой знака 7.5 мм - АЛС321А.
Компаратор DA1 - КМ597СА2, имеющий время задержки распространения 12 нс и выходные логические сигналы ТТЛ. Он также имеет функцию стробирования, но в нашем случае она не нужна, поэтому на вход str подаем единицу, т.е. используем его непрерывном режиме.
7. Требования к источнику питания
Требуемые напряжения:
+5 В – питание микросхем
+5 В и –6 В питание компаратора DA1
Посчитаем потребляемые токи:
Таким образом от питания +5 В устройство потребляет не более 610 мА и потребляемая мощность не более 3 Вт.
От источника –6 В потребляемая устройством мощность составит не более 192 мВт.
Серии 555 и 531 требуют питания +5 В с отклонением ±5%. Серия 1533 – с отклонением ±10%. Поэтому требование к источнику питания +5 В – ±5%
8. Спецификация
| Обозначение |
Наименование |
Количество |
|
|
||
| Микросхемы |
||
| DA1 |
597CА2 |
1 |
| DD1 |
531ГГ1 |
1 |
| DD2 |
КР1533ЛН1 |
1 |
| DD3 |
1533ЛИ3 |
1 |
| DD4, DD5 |
1533TВ15 |
2 |
| DD6, DD9, DD14, DD15 |
514ИД4Б |
4 |
| DD7, DD12 |
555АГ5 |
2 |
| DD8, DD11,DD13 |
КР1533ИЕ6 |
3 |
| DD10 |
1533ЛЛ1 |
1 |
| Индикаторы |
||
|
|
||
| HG1-HG4 |
АЛС321А |
4 |
| Резисторы |
||
|
|
||
| R1 |
МЛТ-0.125 51 Ом |
2 |
| R2, R5, R6, R7, R8, R9, R12, R13,R15 |
МЛТ-0.125 1 кОм |
9 |
| R3 |
МЛТ-0.125 47 кОм |
1 |
| R4 |
МЛТ-0.125 2.4 кОм |
1 |
| R10, R11 |
МЛТ-0.125 24 кОм |
2 |
| R14 |
МЛТ-0.125 120 Ом |
1 |
| R16 |
МЛТ-0.125 470 Ом |
1 |
| Конденсаторы |
||
|
|
||
| С1 |
К10-47 Н30 100 нФ |
1 |
| С2,С4 |
КД2 М470 100 пФ±5%; Uн=500 В |
2 |
| С3 |
К52-1Б 150 мкФ |
1 |
9. Список литературы
1. В.Л. Шило «Популярные цифровые микросхемы», Москва «Радио и связь» 1987.
2. Г.Р. Аванесян, В.П. Левшин «Интегральные микросхемы ТТЛ, ТТЛШ; справочник», Москва «Машиностроение» 1993.
3. С. В. Якубовский, Л. И. Ниссельсон и др. Под ред. С. В. Якубовского, «Цифровые и аналоговые интегральные микросхемы: Справочник».
4. Справочник по резисторам и конденсаторам «В помощь радиолюбителю»
Приложение
Таблица состояний JK-триггера 1533ТВ15:

Параметры JK-триггера ТВ15 различных серий, при Т = +25°С:
| Параметр |
К155ТВ15 |
К1533ТВ15 |
| Iпот , мА ≤ |
30 |
4 |
| I0 вх (J,K), мА ≤ |
│-1.6│ |
│-0.2│ |
| I0 вх (C,S), мА ≤ |
│-3.2│ |
│-0.4│ |
| I0 вх (R), мА ≤ |
│-4.8│ |
│-0.4│ |
| I1 вх (J,K), мА ≤ |
0.04 |
0.02 |
| I1 вх (C,S), мА ≤ |
0.08 |
0.04 |
| I1 вх (R), мА ≤ |
0.16 |
0.04 |
| U0 вых , В ≤ |
0.4 |
0.4 |
| U1 вых , В ≥ |
2.4 |
2.5 |
| t1,0 зд.р (S, R-Q), нс ≤ |
35 |
17 |
| t1,0 зд.р (С-Q), нс ≤ |
28 |
20 |
| t0 ,1 зд.р (S, R-Q), нс ≤ |
15 |
15 |
| t0 ,1 зд.р (С-Q), нс ≤ |
16 |
18 |
Параметры двоично-десятичного синхронного реверсивного счетчика ИЕ6 различных серий, при Т = +25°С:
| Параметр |
К155ИЕ6 |
К555ИЕ6 |
КР1533ИЕ6 |
| Iпот , мА ≤ |
102 |
30 |
18 |
| I0 вх , мА ≤ |
│-1.6│ |
│-0.38│ |
│-0.6│ |
| I1 вх , мА ≤ |
0.04 |
0.003 |
0.06 |
| U0 вых , В ≤ |
0.4 |
0.48 |
0.4 |
| U1 вых , В ≥ |
2.4 |
2.9 |
2.5 |
| t1,0 зд.р (L-Q), нс ≤ |
40 |
40 |
28 |
| t1,0 зд.р (CU-Q1), нс ≤ |
47 |
47 |
17 |
| t1,0 зд.р (CU-PU), нс ≤ |
24 |
24 |
18 |
| t0 ,1 зд.р (L-Q), нс ≤ |
40 |
40 |
30 |
Таблица истинности дешифратора-преобразователя 514ИЕ4Б:
|
|
DI |
Выход |
Символ |
|||||||||
| 8 |
4 |
2 |
1 |
A |
B |
C |
D |
E |
F |
G |
||
| 0 |
0 |
0 |
0 |
0 |
1 |
1 |
1 |
1 |
1 |
1 |
0 |
0 |
| 0 |
0 |
0 |
0 |
1 |
0 |
1 |
1 |
0 |
0 |
0 |
0 |
1 |
| 0 |
0 |
0 |
1 |
0 |
1 |
1 |
0 |
1 |
1 |
0 |
1 |
2 |
| 0 |
0 |
0 |
1 |
1 |
1 |
1 |
1 |
1 |
0 |
0 |
1 |
3 |
| 0 |
0 |
1 |
0 |
0 |
0 |
1 |
1 |
0 |
0 |
1 |
1 |
4 |
| 0 |
0 |
1 |
0 |
1 |
1 |
0 |
1 |
1 |
0 |
1 |
1 |
5 |
| 0 |
0 |
1 |
1 |
0 |
1 |
0 |
1 |
1 |
1 |
1 |
1 |
6 |
| 0 |
0 |
1 |
1 |
1 |
1 |
1 |
1 |
0 |
0 |
0 |
0 |
7 |
| 0 |
1 |
0 |
0 |
0 |
1 |
1 |
1 |
1 |
1 |
1 |
1 |
8 |
| 0 |
1 |
0 |
0 |
1 |
1 |
1 |
1 |
1 |
0 |
1 |
1 |
9 |