| Скачать .docx |
Курсовая работа: Автоматизация процесса прокалки кокса в трубчатой вращающейся печи
Иркутский Государственный Технический Университет
Кафедра автоматизации производственных процессов
Курсовой проект
по дисциплине «Информационно-измерительные устройства систем управления.
Тема:
Автоматизация процесса прокалки кокса в трубчатой вращающейся печи.
Выполнил: ст. гр.АТП04-2
Проверил: Лазарева О.В.
Иркутск 2007г.
Содержание Курсового проекта:
· Описание технологии производства.
· Таблицу параметров контроля и управления с указанием точности измерения, места расположения ПП, функций параметра.
· Подробное описание приборов и средств контроля, используемых в проекте.
· Функциональная схема автоматизации.
· Заказная спецификация на приборы и средства автоматизации.
· Электрическая схема питания или схемы подключения БП.
· Структурная схема КТС.
· Таблицы входных и выходных аналоговых и дискретных сигналов.
· Описание управляющего контролера и модулей УСО.
Введение.
Вращающаяся печь (трубчатая печь, барабанная печь), промышленная печь цилиндрической формы с вращательным движением вокруг продольной оси, предназначенная для нагрева сыпучих материалов с целью их физико-химической обработки. В. п. различают: по принципу теплообмена - с противотоком и с параллельным током газов и материала; по способу передачи энергии - с прямым, косвенным (через стенку муфеля) и комбинированным нагревом обрабатываемого материала. По назначению В. п.различают для спекания шихт в производстве глинозёма, получения цементного клинкера, окислительного, восстановительного, хлорирующего обжига, прокалки гидроокиси алюминия, кокса, карбонатов, сульфатов и др., обезвоживания материалов, извлечения цинка и свинца (вельц-печи), получения железа или сплавов цветных металлов их прямым восстановлением из руд в твёрдой фазе (кричные печи), обжига огнеупорного сырья и др.
Основными являются В. п., в которых сжигается пылевидное, твёрдое, жидкое или газообразное топливо непосредственно в рабочем пространстве печи и греющие газы движутся навстречу обрабатываемому материалу.
1. Описание технологии производства.
Металлический барабан 1, футерованный огнеупорным кирпичом, устанавливают под небольшим углом к горизонту на опорные ролики 2. В ряде случаев диаметр барабана делают переменным по длине. Барабан приводят во вращение (1-2 об/мин) электродвигателем через редуктор и открытую зубчатую передачу 3. Шихту загружают со стороны головки 4. Сухую шихту подают механическими питателями, а шихту в виде пульпы - наливом или через форсунки 5. Топливо (10-30% от массы шихты) вводят через горелки (форсунки) 6, помещённые в горячей головке 7. Здесь же выгружают готовый продукт, направляемый в холодильник. Газы из В. п. очищают от пыли (возгонов) в системе 8. Для улучшения условий теплопередачи во В. п. встраивают различные теплообменные устройства 9 - перегребающие лопасти, полки, цепные завесы, насадки и т.д. С этой же целью в ряде случаев футеровку печей выполняют сложной формы, например ячейковой. Основные размеры В. п. варьируются в значительных пределах: длина от 50 до 230м, а диаметр от 3 до 7,5м. Производительность В. п. достигает 150 т/ч (готового продукта). Наблюдается тенденция к соединению В. п. с различными теплообменными аппаратами, что позволяет при повышении технико-экономических показателей работы печей уменьшать их размеры.
Проколочная печь состоит из следующих основных узлов: цилиндрического стального барабана, футерованного изнутри огнеупорным кирпичом, опорных устройств, привода, головок - топочной (горячей) и газоотводящей (холодной) и перегрузочного устройства.
Барабан печи сварен из стальных царг; посредством бандажей он опирается на опорные ролики. Число опор зависит от длины барабана; при длине барабана 40-45м оно не превышает трех. Бандажи изготовлены в виде колец из специальной твердой литой стали. Крайние бандажи за счет температурных изменений длины барабана меняют положение относительно опорных роликов, средний же находится между контрольными роликами, ограничивающими его перемещение в нейтральном сечении барабана. Венцовая шестерня крепится к барабану плоскими стальными пластинами, установленными по касательной к нему. Она закрыта стальным кожухом, предохраняющим ее от попадания посторонних предметов и грязи. Чтобы наклонно расположенный барабан печи не мог сместиться по роликам на величину, большую установленной, опорные ролики смонтированы так, что
их рабочая цилиндрическая поверхность находится под не большим углом к рабочей поверхности бандажа. Во избежание схода барабана с опорных роликов в случае поломки оси контрольного ролика по обе стороны верхнего бандажа установлены неподвижные упоры. Для повышения поперечной жесткости барабана между бандажами смонтированы кольца жесткости с радиальными зазорами между корпусом и кольцом.
В настоящее время наибольшее распространение получили вращающиеся проколочные печи с барабанными холодильниками. Техническая характеристика печи: длина 45 м, диаметр 3,0 м, угол наклона 2,5°, число оборотов в минуту 1,5-2,0, производительность по прокаленному материалу 10-12 т/ч, время пребывания материала в печи 60-80 мин, удельный расход условного топлива 40-50 кг/т. Техническая характеристика холодильника: длина 30 м, диаметр 2,5-3,0 м, угол наклона 2,5-3,5°, число оборотов в минуту 2,5-4,0.
Кокс по всей длине барабана печи распределяется ровным слоем; в поперечном сечении он имеет форму сегмента. Движение материала в печи происходит за счет наклона барабана в горизонтальной плоскости. Скорость движения материала и производительность печи прямо пропорциональны ее диаметру, числу оборотов и углу наклона. Нагрев кокса осуществляется по принципу противотока, т.е. кокс и нагретые газы движутся навстречу друг другу.
Время пребывание материала в печи должно быть достаточным для удаления влаги, летучих и окончания физико-химических превращений в прокаливаемом коксе. Оно зависит от таких факторов, как диаметр и длина печи, число оборотов барабана, угол наклона барабана и коэффициент трения материала о футеровку. Причем диаметр, длина и угол наклона, всегда постоянны. Незначительно в процессе эксплуатации изменяются число оборотов барабана и коэффициент трения материала. При постоянстве основных параметров процесса прокалки время пребывания кокса в печи изменяется незначительно.
Другим фактором, существенно влияющим на производительность, является коэффициент заполнения печи. Коэффициентом заполнения называется отношение площади поперечного сечения потока материала ко всей площади сечения барабана печи. Для печей с диаметром барабана 3,0м коэффициент заполнения составляет 6-8%. Изменяя загрузку барабана коксом, можно производительность печи регулировать в широких пределах. Однако в заводских условиях производительность печи стремятся поддерживать постоянной.
Нагрев кокса осуществляется в основном лучистой энергией горящего факела, а также при непосредственном контакте раскаленных топочных газов с коксом (т.е. конвекцией). Имеет место также лучистый теплообмен между материалом и разогретой футеровкой печи. Значительное количество тепла выделяется за счет горения летучих и самого прокаливаемого материала.
Полное сгорание топлива достигается при достаточном количестве кислорода воздуха, хорошем перемешивании с воздухом и достаточном объеме топочного пространства при температуре не ниже 1000°С. Углерод топлива, соединяясь с кислородом, образует углекислый газ СО2 , а водород - водяные пары Н2 О. Необходимое количество воздуха для полного сгорания 1кг мазута Юм3 .
Вращающиеся печи работают на газообразном или жидком топливе. В качестве жидкого топлива используется мазут (ГОСТ 10585-75).
Для каждого типа печей подбирают оптимальную величину заполнения барабана, чтобы кокс при движении в зоне прокалки максимально подвергался облучению от горящего факела и контактировал с раскаленными газами. При заполнении барабана выше оптимального ухудшаются условия теплообмена кокса с топочными газами, и часть материала в середине потока не соприкасается ни с футеровкой печи, ни с раскаленными газами, т.е. не нагревается ни излучением, ни конвекцией. В этом случае физико-химические процессы в коксе не успевают закончиться. При заниженном коэффициенте заполнения тепловая энергия топочных газов будет использоваться недостаточно полно.
В заводской практике для характеристики температурного режима работы вращающейся печи принято условно делить ее длину на следующие зоны (начиная с холодного конца печи): 1) зона подсушки и нагрева; 2) зона прокалки;3)зона охлаждения.
![]() |
Зона подсушки и нагрева. Кокс, поступающий в холодный конец печи, содержит от 3 до 15 % влаги и от 1 до 10 % летучих веществ. В результате непрерывного перемешивания и контакта с отходящими газами, нагретыми до 400-500°С , влага и летучие вещества интенсивно удаляются. По мере продвижения кокса в зону более высоких температур газовыделение становится более интенсивным. На расстоянии 10-15м от холодного конца печи летучие загораются; температура кокса в районе конца факела форсунки повышается до 1200°С. Здесь условно кончается зона подсушки и подогрева и начинается зона прокалки. Длина зоны подсушки и подогрева 25-30м.
Зона прокалки - область самых высоких температур (до 1400°С); длина зоны 5-10м. Газовыделение и горение летучих в этой зоне практически прекращается, в коксе заканчиваются все основные физико-химические превращения, раскаленный кокс приобретает ослепительно белый цвет.
Особенно четко эта зона просматривается при прокалке пекового кокса с минимальным содержанием летучих.
Зона охлаждения находится между факелом и горячим концом печи. Длина зоны охлаждения определяется конструкцией фурменного устройства и составляет 1,5-2,0 м. Из-за отсутствия подогрева и в результате подсосов воздуха из холодильника температура здесь снижается до 1100-1000°С. Цвет кокса в этой зоне становится более темным, с вишневым оттенком.
Для более надежного управления процессом прокаливания число регулируемых параметров сводится к минимуму. Загрузку печи и число оборотов барабана стремятся поддерживать постоянными и в качестве регулирующих параметров не использовать, так как колебания загрузки вредно отражаются как на качестве прокаленного кокса, так и на стойкости футеровки. Регулирование процесса прокалки сводится к поддержанию заданной температуры, оптимальной длины зоны прокалки и ее положения в печи путем изменения количества топлива, кислорода воздуха и разрежения в печи. При изменении одного из регулируемых параметров необходимо принять меры к соответствующим изменениям и других параметров.
Важную роль в контроле процесса прокалки имеет также визуальное наблюдение. Если, например, цвет пламени факела яркий, соломенно-желтый, а из трубы идет серый дымок (при отсутствии камеры для сжигания летучих и котла-утилизатора), то это значит, что имеется избыток кислорода воздуха, топливо сгорает полностью, а возможно загорелись и летучие вещества в холодном конце печи или в газоходе. Если цвет пламени факела темно-красный с дымными полосами, а из трубы идет черный дым, то происходит неполное сгорание топлива из-за недостатка кислорода, и частицы углерода в виде сажи придают пламени красноватый оттенок с дымными полосами. Короткое пламя факела мазутной горелки указывает на недостаточное количество и давление пара, подаваемого на распыливание мазута.
Если визуальное наблюдение показало, что температура в зоне охлаждения повысилась и почти не отличается от температуры в зоне прокалки, значит, зона прокалки из-за низкого разрежения переместилась в сторону горячего конца печи. Красноватый оттенок факела с дымными полосами и серый, а не черный дым из трубы указывают на избыток вторичного воздуха, поступающего в печь через открытую дверь или через имеющиеся не плотности в горячей головке. Проходя над раскаленным коксом, вторичный воздух смешивается с несгоревшим топливом и летучими, и эта смесь сгорает в зоне подсушки и в газоходе.
Качество прокаленного кокса определяется анализами проб, отбираемых после холодильника. Прокаленный кокс контролируют на процентное содержание серы, золы, летучих и влаги, истинную плотность (г/см3 ) и удельное электросопротивление (ОмПм).
Эти показатели зависят от следующих факторов:
1) положения и длины зоны прокалки;
2) распределения температур по длине зоны прокалки и в зоне подсушки;
3) времени нахождения материала в зоне прокалки.
Перед пуском печи проверяют состояние футеровки, газоходов и труб, крепление венцовых шестерен печи и холодильника, исправность привода, топливопровода и контрольно-измерительных приборов.
Пуск печи осуществляют в следующей последовательности. На расстоянии 3-4м от горячей головки укладывают штабелем дрова, разжигают их, включают дымосос и устанавливают разряжение в задней головке печи 20-30Па. В мазутонасосной станции температуру мазута доводят до 80°С. После того как дрова разгорятся, в форсунку подают пар или воздух и медленно начинаю открывать мазутный вентиль. После воспламенения мазута, изменяя подачу его или воздуха, горение регулируют так, чтобы факел был коротким и чистым. Подачу мазута устанавливают на минимальную. Если форсунка дымит, надо увеличить давление пара или воздуха перед форсункой; если дымление не прекращается, необходимо проверить центровку шпинделя по отношению к корпусу и размер паровой щели.
Продолжительность сушки и разогрева футеровки печи зависит, прежде всего, от вида ремонта футеровки и температуры наружного воздуха (если печь находится вне помещения). При местном ремонте, а также при кладке кирпича насухо в теплое время года продолжительность нагрева до рабочей температуры может составлять всего 12-18 ч. При ремонте футеровки на растворе в холодное время года продолжительность сушки и нагрева футеровки увеличивается до 48-54 ч.
Скорость подъема температуры нагрева футеровки печи в любом случае не должна превышать 100°С/ч. Во избежание прогиба барабана и для обеспечения равномерного прогрева всей кладки печь поворачивают через каждые 2 ч на 1 /3 оборота. По мере подъема температуры печь переводят на малые обороты, а при прогреве футеровки в зоне прокалки до рабочей температуры - на основной привод, после чего включают питатель кокса. В течение 3-4 ч после начала подачи кокса температурный, и газовый режим доводят до рабочего состояния.
Таблица параметров контроля и управления.
| № |
Объект контроля. Параметр |
Единицы измерения |
Значения |
Средства измерения |
Место расположения |
Точность измерения |
Сигнал |
Регул. |
Показания |
Упр. |
|
| Min Max |
|||||||||||
| 1. |
Вес кокса |
т/ч |
0 |
40 |
Бункер кокса |
Дозатор |
- |
+ |
+ |
+ |
|
| 2. |
Температура в течке |
°С |
0 |
00 |
Первичный датчик (П.Д.) |
П.Д. – по месту |
- |
+ |
+ |
- |
|
| 3. |
Разряжение в ХГ |
кПа |
0 |
250 |
Первичный датчик (П.Д.) |
П.Д. – по месту |
- |
+ |
+ |
- |
|
| 4. |
Расход воды на охлажд. подшипн. №1 |
|
0 |
30 |
Первичный датчик (П.Д.) |
П.Д. – по месту |
+ |
+ |
+ |
- |
|
| 5. |
Скорость вращения печи |
Об/мин. |
0 |
2,5 |
- |
- |
- |
+ |
- |
- |
|
| 6. |
Температура воды на сливе |
°С |
0 |
100 |
Первичный датчик (П.Д.) |
П.Д. – по месту |
- |
+ |
+ |
+ |
|
| 8. |
Расход воды на холодильник |
|
0 |
500 |
Первичный датчик (П.Д.) |
П.Д. – по месту |
- |
+ |
+ |
+ |
|
| 9. |
Температура в зоне прокаливания |
°С |
500 |
1400 |
Первичный датчик (П.Д.) |
П.Д. – по месту |
- |
+ |
+ |
- |
|
| 10. |
Давление мазута |
МПа |
1 |
1 |
Первичный датчик (П.Д.) |
П.Д. – по месту |
- |
+ |
+ |
- |
|
| 11. |
Расход мазута |
л/час. |
150 |
800 |
Первичный датчик (П.Д.) Вторичный прибор (В.П.) |
П.Д. – по месту В.П. – на щит |
- |
+ |
+ |
+ |
|
| 12. |
Температура мазута перед форсункой |
°С |
0 |
150 |
Первичный датчик (П.Д.) |
П.Д. – по месту |
- |
+ |
+ |
- |
|
| 13. |
Расход воды на фурму |
|
0.2 |
0.35 |
Первичный датчик (П.Д.) |
П.Д. – по месту |
- |
+ |
+ |
+ |
|
| 14. |
Температура воды на фурму |
°С |
0 |
100 |
Первичный датчик (П.Д.) |
П.Д. – по месту |
- |
+ |
+ |
- |
|
| 15. |
Температура воды на сливе из фурмы |
°С |
0 |
100 |
Первичный датчик (П.Д.) |
П.Д. – по месту |
- |
+ |
+ |
- |
|
| 16. |
Давление пара |
МПа |
0.4 |
0.6 |
Первичный датчик (П.Д.) |
П.Д. – по месту |
- |
+ |
+ |
- |
|
| 17. |
Расход пара |
кг/час. |
200 |
300 |
Первичный датчик (П.Д.) Вторичный прибор (В.П.) |
П.Д. – по месту В.П. – на щит |
- |
+ |
+ |
+ |
|
| 18. |
Расход первичн.возд. |
|
2 |
6 |
Первичный датчик (П.Д.) |
П.Д. – по месту |
- |
+ |
- |
+ |
|
| 19. |
Расход вторичн. возд. |
|
2 |
6 |
Первичный датчик (П.Д.) |
П.Д. – по месту |
- |
+ |
- |
+ |
|
Описание приборов и средств контроля.
1. Датчики температуры.

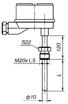
Назначение: преобразователь термоэлектрический ТХА Метран-201. Предназначенный, для измерения температуры жидких и газообразных химически неагрессивных сред, а так же агрессивных, не разрушающих материал Защитной арматуры.
Преобразователь имеет разборную конструкцию, состоящую внутреннего чувствительного элемента, изготовленного на базе кабеля типа КТМС-ХА(ХК) или КТМСп-ХА ХУ 16-505.757-75.
Степень защиты корпуса соединительной головки от воздействия воды и пыли IP65 по ГОСТ 14254.
Гарантийный срок эксплуатации 18 месяцев с момента ввода.
Пример обозначения при заказе.
ТХА Метран-201 – 02 – 160 – 2 – И – 1 – Н10 – У1.1 – ТУ… - П
1. Тип преобразователя
2. Код исполнительной защитной арматуры
3. Длина монтажной части
4. Код класса допуска
5. Вид изоляции рабочего спая
6. Количество чувствительных элементов
7. Код исполнения защитной арматуры по материалам
8. Климатическое исполнение
9. Технические условия
10.Обозначение метрологической поверки
2.

Рис. 1
Назначение: для измерения температуры и разности температур воды в прямом и обратном трубопроводах водяных систем.
![]()
![]()


3.

Назначение: преобразователь термоэлектрический ТСП Метран-205. Предназначенный, для измерения температуры жидких и газообразных химически неагрессивных сред, а так же агрессивных, не разрушающих материал Защитной арматуры.
Степень защиты от воздействия воды и пыли: IP65 по ГОСТ 14254
Пример обозначения при заказе.
ТСП Метран-205 – 03 – 320 – А – 3 – 1 – Н10 – (-50..500) – У1.1 – ТУ… -Г П
1. Тип преобразователя
2. Код исполнительной защитной арматуры
3. Длина монтажной части
4. Код класса допуска
5. Вид изоляции рабочего спая
6. Количество чувствительных элементов
7. Код исполнения защитной арматуры по материалам
7. Климатическое исполнение
9. Технические условия
10.Обозначение метрологической поверки
2. Датчики расхода.





2. Датчики давления.


Монтаж.

![]()
![]()


