| Скачать .docx |
Реферат: Волоконно-оптические гироскопы
Московский ордена Ленина, ордена Октябрьской
Революции и ордена Трудового Красного Знамени
ГОСУДАРСТВЕННЫЙ ТЕХНИЧЕСКИЙ
УНИВЕРСИТЕТ
имени Н.Э.Баумана.
________________________________________________
Факультет РЛ
Кафедра РЛ2
Реферат по теме
"Волоконно-оптические гироскопы"
студентки
Матвеевой Ляны Александровны
Оглавление......................................................................................................................
Введение..........................................................................................................................
Принцип действия оптического гироскопа.................................................................
Структурные схемы оптических гироскопов..............................................................
Кольцевой лазерный гироскоп......................................................................................
Волоконно-оптические гироскопы...............................................................................
Оптический гироскоп с кольцевым резонатором пассивного типа........................
Методы повышения чувствительности......................................................................
Шумовые факторы, методы их устранения................................................................
Основные оптические системы с повышенной стабильностью..............................
Факторы, ограничивающие разрешающую способность.........................................
Характеристики и методы их улучшения..................................................................
Система с фазовой модуляцией...................................................................................
Системы с изменением частоты..................................................................................
Система со световым гетеродинированием...............................................................
Заключение....................................................................................................................
Список литературы.......................................................................................................
Гироскоп выполняет функции детектора угловой скорости в инерциальном пространстве и по праву может называться абсолютным тахометром, являясь структурным элементом инерциальной навигационной системы, обрабатывающей информацию о местонахождении самолета или судна с целью выведения его на курс. В состав этой системы обычно входит три гироскопа — для измерения скорости вращения вокруг трех ортогональных осей, три акселерометра — для определения скорости и расстояния и направлении трех осей и компьютер — для обработки выходных сигналов этих приборов. К самолетным гироскопам предъявляются очень высокие требования: разрешающая способность и дрейф нуля 0,01°/ч, динамический диапазон 6 порядков, высокая стабильность (10-5 ) масштабного коэффициента преобразования угла поворота в выходной сигнал. До сих пор применялись в основном механические гироскопы, работающие на основе эффекта удержания оси вращения тела в одном направлении инерциального пространства (закон сохранения момента количества движения). Это дорогостоящие приборы, поскольку требуется высокая точность формы тела вращения и минимальное возможное трение подшипников. В отличие от механических оптические гироскопы, например, волоконно-оптические, созданные на основе эффекта Саньяка, имеют структуру статического типа, обладающую рядом достоинств, основные из которых: отсутствие подвижных деталей и, следовательно, устойчивость к ускорению; простота конструкции; короткое время запуска; высокая чувствительность; высокая линейность характеристик; низкая потребляемая мощность; высокая надежность.
Кроме того, возможно снижение стоимости волоконно-оптических гироскопов за счет внедрения оптических интегральных схем. Наряду с использованием в самолетах и на судах можно ожидать по мере прогресса в технике гироскопов применения их в автомобилях, роботах и т. д.
Принцип действия оптического гироскопа
Принцип действия оптического гироскопа основан на эффекте Саньяка. По круговому оптическому пути, как показано на рис. 1, благодаря расщепителю луча свет распространяется в двух противоположных направлениях. Если при этом система находится в покое относительно инерциального пространства, оба световых луча распространяются встречно по оптическому пути одинаковой длины. Поэтому при сложении лучей в расщепителе по завершении пути нет фазового сдвига. Однако, когда оптическая система вращается в инерциальном пространстве с угловой скоростью W, между световыми волнами возникает разность фаз. Это явление и называется эффектом Саньяка.
|
Рис.1. Принцип возникновения эффекта Саньяка |
Пусть коэффициент преломления на оптическом пути n=1. При радиусе оптического пути a время достижения расщепителя лучей светом, движущимся по часовой стрелке, выражается как
(1)
|
Рис.2. Эффект Саньяка при оптическом пути произвольной формы |
в противоположном направлении —
(2)
где с — скорость света.
Из формул (1) и (2) разность времени распространения двух световых волн с учетом c>>aW
(3)
Это означает, что появляется разность длины оптических путей
(4)
или, иначе говоря, разность фаз
(5)
Здесь S — площадь, окаймленная оптическим путем; k — волновое число.
Формула (5) вытекает из формулы (3) при допущении, что n=1 и оптический путь имеет круговую форму, но возможно доказать, что формула (5) является основной для эффекта Саньяка. Она не зависит от формы оптического пути, положения центра вращения и коэффициента преломления.
|
Рис.3. Структурные схемы гироскопов на эффекте Саньяка wr и wl - частота генерации света с правым и левым вращением; t - время, необходимое для однократного прохождения светом кольцевого оптического пути; wFSR - полный спектральный диапазон |
Структурные схемы оптических гироскопов
На рис. 3 приведены общие схемы систем, разработанных для повышения точности измерений. Кольцевой лазерный гироскоп (рис. 3, а) отличается высокой частотой световой волны — до нескольких сотен терагерц. Волоконно-оптический гироскоп на рис. 3, б имеет высокую чувствительность, благодаря использованию длинного одномодового оптического волокна с низкими потерями. В оптическом гироскопе пассивного типа с кольцевым резонатором (рис. 3, в) используется острая резонансная характеристика резонатора.
Кольцевой лазерный гироскоп изготовляется подобно газовому лазеру: в кварцевом блоке путем расплавления создается полость (канал) в форме треугольника и заполняется смесью гелия и неона. Длина волны генерируемого лазером излучения 632,8 нм. Обычно частота генерации изменяется в зависимости от длины лазерного резонатора. И в данном случае частоты двух генерируемых световых волн, распространяющихся в противоположных направлениях по треугольному оптическому пути (рис. 3, а), неодинаковы из-за разности оптической длины DL [см. формулу (4)]. Поэтому можно использовать для измерений частоту биений обеих генерируемых световых волн, а именно
(6)
Здесь L — общая длина оптического пути в кольцевом резонаторе; l — длина волны генерации в состоянии покоя.
Иначе говоря, измерив Df, можно определить угловую скорость относительно инерциального пространства. Поскольку частота света составляет несколько сотен терагерц, даже ее незначительные изменения позволяют измерить разность частот. Если выходным сигналом служит частота, пропорциональная угловой скорости, то подсчетом выходных волн можно определить приращение угла поворота в цифровой форме, что обеспечивает высокую точность информации, подаваемой в навигационное вычислительное устройство. Измерение частоты возможно в широком динамическом диапазоне, а следовательно, и динамический диапазон кольцевого лазерного гироскопа вполне можно расширить и сделать достаточным для инерциальной навигационной системы. В этом большое преимущество данных гироскопов.
Исследование кольцевых лазерных гироскопов началось в 60-х годах. К настоящему времени достигнута разрешающая способность и стабильность нулевой точки примерно 0,001°/ч. В последнее время кольцевые лазерные гироскопы применяются в инерциальной системе отсчета не только в самолетах «Боинг» 757/767, но и в аэробусах А310. В Японии опубликованы сообщения об измерении ими угловой скорости 0,01°/ч.
Таким образом, кольцевой лазерный гироскоп достиг уже стадии практического применения, но, тем не менее, остается ряд нерешенных проблем:
1. Нелинейность выходного сигнала при малой угловой скорости (влияние синхронизма).
2. Дрейф выходного сигнала из-за газовых потоков в лазере.
3. Изменение длины оптического пути под воздействием теплового расширения, давления и механических деформаций.
Из этих проблем самой важной является первая. При малых угловых скоростях уменьшается разность частот генерируемых световых волн, а это приводит к синхронизму (Df=0) и невозможности обнаружения вращения. (Типичный порог обнаружения при этом 10°/ч.) Зона нечувствительности, обусловленная синхронизмом, показана на рис. 3, a штриховыми линиями. Указанная выше разрешающая способность обнаружения 0,001°/ч обеспечивается при подавлении явления синхронизма путем приведения всей системы к микроколебаниям (метод Дейза). Но нелинейность при незначительном повороте все же остается, кроме того, это означает, что не используется такое преимущество оптического гироскопа, как его неподвижность.
В кольцевом лазерном гироскопе возникает явление синхронизма, так как это активная конструкция и сама оптическая катушка для обнаружения вращения входит в состав лазерного генератора. Напротив, в интерферометре Саньяка, представленном на рис. 1, вышеупомянутое явление не возникает, поскольку это пассивная конструкция, при которой световой источник находится вне чувствительной петли. Основное внимание здесь уделяется оптическому волокну, снижению потерь в нем.
|
Рис.4. Принципиальная оптическая схема волоконно-оптического гироскопа |
Волоконно-оптические гироскопы.
На рис. 4 приведена оптическая схема волоконно-оптического гироскопа. По сути это интерферометр Саньяка (см. рис. 1), в котором круговой оптический контур заменен на катушку из длинного одномодового оптического волокна. Часть схемы, обведенная штриховой линией, необходима для повышения стабильности нулевой точки. Таким образом, разность фаз между двумя световыми волнами, обусловленная эффектом Саньяка, с учетом формулы (5) выражается как
(7)
где N — число витков в катушке из волокна; L — длина волокна; а — радиус катушки.
Следует обратить внимание на то, что в основные формулы не входит коэффициент преломления света в волокне.
Благодаря совершенствованию технологии производства выпускается волокно с очень низкими потерями. Чтобы не повредить волокно, намотка производится на катушку радиусом несколько сантиметров. При этом не наблюдается сколько-нибудь заметного увеличения потерь. Можно создать сравнительно малогабаритный и высокочувствительный интерферометр Саньяка с катушкой небольшого радиуса (2...5 см), намотав на нее волокно большой длины. Сформировав оптимальную оптическую систему, можно измерять с высокой точностью изменения фазы (в инерциальной навигации — порядка 10-6 `рад), а затем из формулы (7) определять круговую скорость. Все это и составляет принцип работы волоконно-оптического гироскопа.
Поскольку данный волоконно-оптический гироскоп — пассивного типа, в нем отсутствуют такие проблемы, как явление синхронизма.
Пределы обнаружения угловой скорости.
В основной оптической системе на рис. 4 в состоянии оптические пути для света в обоих направлениях обхода будут одинаковы по длине, а поскольку сигнал на выходе светоприемника изменяется пропорционально
, то гироскоп нечувствителен к очень малым поворотам. Считается, что в системе с оптимальной чувствительностью теоретические пределы обнаружения угловой скорости связаны с дробовым шумом светоприемника. Анализ показывает, что для оптического волокна с потерями a существует определенная длина, позволяющая оптимизировать пределы обнаружения при дробовом шуме:
(8)
|
Рис.5, а. Чувствительность волоконно-оптического гироскопа при дробовом шуме светоприемника при оптимальной длине волокна |
|
Рис.5, б. Чувствительность волоконно-оптического гироскопа при дробовом шуме светоприемника при разной длине световой волны |
Результаты расчета при типичных значениях параметров приведены на рис. 5, а. Для оптического волокна с потерями 2 дБ/км пределы обнаружения примерно 10-8 рад/с (0,001°/ч). Это как раз значения, применяемые в инерциальной навигации. На рис. 5, б показано, что благодаря увеличению радиуса катушки с оптическим волокном, а также использованию света с длиной волны 1,55 мкм, на которой потери в оптическом волокне очень низки, возможно создание измерителя оборотов в инерциальном пространстве с чрезвычайно малым дрейфом. Это позволяет применять измеритель не только в навигации, но и в геофизике.
В реальных волоконно-оптических гироскопах возможности ограничены шумовыми факторами.
Оптический гироскоп с кольцевым резонатором пассивного типа
Повысить чувствительность гироскопа на эффекте Саньяка можно с помощью кольцевого оптического резонатора, используя для этого полупрозрачное зеркало с высоким коэффициентом отражения (см. рис. 3, в). Резонатор представляет собой интерферометр Фабри — Перо в форме кольца. При этом выходной сигнал светоприемника резко реагирует на изменение фазы wt при однократном прохождении световой волной кольцевого оптического пути. Следовательно, можно создать высокочувствительный датчик, например, измеряющий смещение резонансного пика, обусловленное поворотом. Другими словами, можно уменьшить длину волокна чувствительного кольца, а если гироскоп среднего класса, то вполне можно использовать даже одновитковое волоконное кольцо, соединенное с оптической интегральной схемой.
В подобной структуре гироскопа для получения острой резонансной характеристики требуется световой источник с высокой когерентностью излучения, в то время как в волоконно-оптическом гироскопе для улучшения характеристик требуется световой источник с низкой когерентностью.
|
Рис.6. Оптическая схема волоконного гироскопа со световым гетеродинированием |
Методы повышения чувствительности
Принципиальная оптическая схема волоконно-оптического гироскопа приведена на рис. 4, но эта схема не обнаруживает малых поворотов гироскопа. Для решения этой проблемы предлагаются различные методы: смещения разности фаз, фазовой модуляции, изменения частоты и светового гетеродинирования.
Рассмотрим только последний метод. Структура оптической системы гироскопа со световым гетеродинированием представлена на рис. 6. Световой луч разделяется с помощью дифракционной решетки на два луча с очень маленьким углом расхождения (около 10 мрад). Эти лучи, пройдя оптическое волокно в противоположных направлениях, подаются на АОМ. Угол дифракции АОМ такой же, как и у дифракционной решетки, вследствие чего АОМ здесь используется не только как частотный сдвигатель, но и как направленный ответвитель, а светоприемное устройство выдает сигнал разностной частоты. В данной оптической системе возможно разделение световых лучей, двигающихся в противоположных направлениях, но вследствие чрезвычайно малого угла дифракции эти лучи взаимодействуют и дрейф, обусловленный колебаниями среды, ослабляется. Кроме того, обычно при разности длины оптических путей возникает дрейф выходного сигнала вследствие частотного отклонения излучения источника, но в данной структуре эта разность очень мала. На рис. 7 приведена электронная схема измерителя фазы выходного сигнала в структуре на рис.6 по нулевому методу. Точная временная задержка Td обеспечивается прибором на зарядовых связях (ПЗС). Для этой схемы справедливо
(9)
|
Рис. 7. Схема измерителя фазы выходного сигнала для волоконно-оптического гироскопа со световым гетеродинированием |
(N — целое число), т. е. здесь получается частотное изменение Df2 электрического сигнала, пропорциональное угловой скорости W, что очень удобно для практической реализации устройства.
Шумовые факторы, методы их устранения
Методы повышения чувствительности еще не обеспечивают высокой стабильности, необходимо учитывать шумовые факторы и принимать меры по их устранению.
Основные оптические системы с повышенной стабильностью
Для достижения высокой стабильности необходимо, чтобы внешние возмущения, воспринимаемые световыми лучами, движущимися в противоположных направлениях, были совершенно одинаковыми.
В основной оптической системе, показанной на рис. 4, при использовании светоприемника 1 свет дважды отражается расщепителем луча и, кроме того, дважды проходит сквозь него. При этом условие одинаковой длины оптического пути выполняется не совсем точно и вследствие температурных колебаний характеристик расщепителя луча на выходе возникает дрейф. При использовании светоприемника 2 происходит то же самое. Чтобы световые лучи, введенные в оптическое волокно и излучаемые волокном, проходили одинаковый оптический путь, объединялись и разъединялись в одной и той же точке расщепителя луча, а также имели бы одинаковую моду, необходимо между расщепителями луча установить пространственный фильтр. В этом фильтре желательно использовать одномодовое оптическое волокно — то же, что и для чувствительной катушки.
Обычно в одномодовом оптическом волокне возможно распространение двух независимых мод с ортогональной поляризацией. Но поскольку оптические волокна обладают не совсем строгой осевой симметрией, фазовые постоянные этих двух мод различны. Однако между модами двух поляризаций происходит обмен энергией, характеристики которого изменяются под внешним воздействием, поэтому излученный волокном свет обычно приобретает круговую поляризацию с неустойчивыми параметрами. Все это приводит к дрейфу выходного сигнала.
Если же на оптическом пути поместить, как это показано в обведенной штриховой линией части на рис. 4, поляризационную пластину, т. е. пустить на оптический путь интерферометра световую волну с единственной поляризацией и в излучаемом свете выделить только составляющую с такой же поляризацией, то передаточная функция кольцевого оптического пути (оптического волокна) для лучей с противоположным направлением движения будет одинакова и, тем самым, проблема решена. Но и в этом случае остаются колебания мощности света, достигшего светоприемника, поэтому необходимо принять еще меры по стабилизации масштабного коэффициента. Одна из таких мер — введение деполяризатора, который компенсирует колебания поляризации в оптическом волокне и делает состояние поляризации произвольным, или введение оптического волокна, сохраняющего поляризацию. В гироскопах со световым гетеродинированием эффективное решение проблемы — нулевой метод.
Для устранения дрейфа, обусловленного колебаниями поляризации в оптическом волокне, требуется поляризатор с очень большим затуханием (около 90 дБ), но это требование смягчается при использовании оптического волокна с сохранением поляризации и источника света с низкой когерентностью. В оптическом волокне с сохранением поляризации из-за разности фазовых постоянных для мод с ортогональной поляризацией возникает разность длины оптического пути для этих мод, поэтому использование источника с низкой когерентностью излучения делает невозможным интерференцию между модами. Аналогичного эффекта можно добиться и при использовании деполяризатора.
Таблица 1. Шумовые факторы в волоконно-оптических гироскопах
| Шумовой фактор |
Рекомендуемые меры по снижению шума |
| Колебания поляризации в оптическом волокне, например, преобразование линейной поляризации в круговую в одномодовом волокне |
Включение на выходе волокна анализатора, для того чтобы выделить составляющую поляризации одного направления |
| Разность длины оптических путей для световых волн, идущих в противоположных направлениях, при динамической нестабильности спектра источника света |
Стабилизация спектра источника света |
| Разность частот волн, идущих по волокну в противоположных направлениях, при колебаниях температуры |
Использование двух акустооптических модуляторов или модуляция прямоугольными импульсами |
| Неравномерность распределения температуры вдоль волокна |
Намотка оптического волокна, при которой распределение температуры симметрично относительно середины катушки |
| Изменение фазы выходного сигнала из-за эффекта Фарадея в волокне под воздействием колебаний магнитного поля Земли |
Магнитное экранирование и использование волокна с сохранением поляризации |
| Колебания (в расщепителе луча) отношения интенсивности прямого и обратного луча вследствие оптического эффекта Керра |
Модуляция излучаемого света прямоугольными импульсами со скважностью 50%; использование широкополосного источника света |
| Интерференция прямого луча и луча обратного рассеяния Рэлея |
Фазовая модуляция световой волны; импульсная частотная модуляция лазерного излучения; использование слабоинтеферирующего источника света |
Факторы, ограничивающие разрешающую способность
|
Рис. 8. Основные шумовые факторы в чувствительном кольце из оптического волокна |
Среди факторов, ограничивающих кратковременную разрешающую способность, наиболее сильное влияние оказывает обратное рассеяние по оптическому пути. Свет отражения Френеля от поверхностей элементов оптической системы или свет обратного рассеяния Рэлея, например, в самом оптическом волокне интерферирует со светом сигнала, что приводит к возникновению множества шумов. Для борьбы с ними предлагаются модуляция фазы световой волны, импульсные методы, а также метод, при котором используется источник света с широким спектром и низкой когерентностью, ухудшающий интерференцию из-за большой разности длины оптического пути для света обратного рассеяния Рэлея и света сигнала. (Таким источником может служить многомодовый полупроводниковый лазер или суперлюминесцентный диод.)
Шумы выходного сигнала гироскопа можно выразить следующей формулой:
|
Рис. 9. Уменьшение шумов рэлеевского рассеяния посредством расширения спектра светового источника |
(10)
где a0 — потери рассеяния Рэлея в оптическом волокне; bR — доля светового рассеяния Рэлея, распространяющаяся в обратном направлении; Dfs — ширина спектра источника света.
На рис. 9 представлены результаты эксперимента, показывающие, как по мере расширения спектра излучения повышается разрешающая способность волоконно-оптического гироскопа. Таким образом, в волоконно-оптических гироскопах уменьшение когерентности источника света эффективно для снижения не только шумов расстояния Рэлея, но и шумов эффекта Керра.
Характеристики и методы их улучшения
В настоящее время разработаны экспериментальные системы, в которых приняты меры по повышению чувствительности и по снижению шумов. В этих системах, работающих по методу фазовой модуляции, изменения частоты и светового гетеродинирования, достигнута разрешающая способность, позволяющая измерять скорости, равные или меньшие скорости собственного вращения Земли (15°/ч=7,3×10-5 рад/с). Особенно велики достижения в системах с фазовой модуляцией, у которых разрешающая способность и дрейф примерно 0,02°/ч, что приемлемо для инерциальной навигации.
Исследуется возможность реализации гироскопов с использованием технологии микрооптики, функциональных волоконных и волноводных элементов. Уже выпускаются волоконно-оптические гироскопы с разрешающей способностью 1°/ч. Кроме того, углубляется изучение систем, пригодных для инерциальной навигации.
|
Рис. 10. Волоконно-оптический гироскоп с фазовой модуляцией, выполненный на волоконных функциональных элементах |
На рис. 10 представлена оптическая система гироскопа, разработанная в Стаффордском университете, на одномодовом оптическом волокне, подвергнутом в некоторых местах специальной обработке, а именно: регулятор поляризационного типа, направленный ответвитель, поляризатор, фазовый модулятор и другие — функциональные элементы на оптическом волокне, полученные путем его обработки. Paдиyc кольца из оптического волокна 7 см, длина волокна 580 м. Таким образом, в гироскопе устранено отражение от поверхностей различных элементов оптической системы. К тому же использование многомодового полупроводникового лазера в качестве источника света снижает когерентность системы и тем самым уменьшает шумы, обусловленные рассеянием Рэлея. Уменьшению этих шумов способствует и то, что система выполнена по принципу фазовой модуляции. В гироскопе, показанном на рис. 10, достигается разрешающая способность 0,022°/ч (рис. 11, а). При этом время интегрирования составляет 1 с. Путем специальной намотки оптического волокна ослабляется влияние температурных колебаний, а с применением магнитного экрана и многомодового полупроводникового лазера снижается дрейф, обусловленный эффектом Керра, и уменьшаются колебания нулевой точки (рис. 11, б, 0,02°/ч, при времени интегрирования 30 с).
|
Рис. 11. Разрешающая способность (а) и характеристика стабилизации нулевой точки (б) волоконно-оптического гироскопа (рис.10) |
Для уменьшения колебаний поляризации предложена фазовая модуляция выходного сигнала с использованием основной волны и второй гармоники, а также метод, при котором измеряются гармоники выходного сигнала светоприемника и составляющая постоянного тока, затем выделяется расчетным путем флюктуационная составляющая масштабного коэффициента. Пробуют также вводить в систему оптическое волокно с сохранением поляризации, выполнять фазовый модулятор с направленными ответвителями, а остальные элементы — в виде волноводных устройств. Эксперименты с такими гироскопами дают разрешающую способность от 0,02 до нескольких градусов в час (время интегрирования 1 с). Для повышения разрешающей способности и уменьшения дрейфа нуля эффективно также использование суперлюминесцентного диода, обладающего низкой когерентностью (ширина волнового спектра когерентности 20 мкм).
|
Рис.12. Гироскоп со световым квазигетеродинированием |
На рис. 12, а представлена система, в которой: сигнал возбуждения фазового модулятора формируется путем интегрирования пилообразного напряжения и на выходе подучается сигнал квазигетеродинирования. На рис. 12, б показано изменение фазы электрического сигнала переменного тока при вращении гироскопа. Имеются и другие попытки реализации квазигетеродинного светового метода на основе фазовой модуляции. Например, система комбинируется со схемой обработки фазы (см. рис. 7), что позволяет расширить динамический диапазон и стабилизировать масштабный коэффициент, т. е. компенсировать недостатки метода фазовой модуляции. В этой системе требуется точная установка параметров формы модулирующего сигнала и трудно добиться технических характеристик, удовлетворяющих инерциальную навигацию. Путем манипуляций с формой модулирующего сигнала практически реализуется нулевой метод, но при этом возникает проблема со стабилизацией нулевой точки.
В любом случае система с фазовой модуляцией превосходит другие системы по разрешающей способности и стабильности нулевой точки и к тому же относительно проста. Поэтому расширяются работы по миниатюризации этой системы путем создания волоконных и волноводных функциональных оптических элементов, приборов интегральной оптики. В частности, западногерманская фирма SEL уже выпускает гироскопы с разрешающей способностью около 15°/ч и линейностью в пределах 1%, где для фазового модулятора используются волноводные оптические элементы. Длина волокна 100 м, радиус чувствительности катушки из оптического волокна около 3,5 см, габариты 80´80´25 мм, масса 200 г.
|
Рис.13, а. Структурная схема волоконно-оптического гироскопа с изменением частоты |
|
Рис.13, б. |
На рис. 13, а представлена структура волоконно-оптического гироскопа с изменением частоты, разработанного западногерманской фирмой SEL, в нем два опорных генератора с частотой fL и fН , с помощью которых устанавливается разность фаз p, которая коммутируется с частотой fс . Все это позволяет увеличить чувствительность. В частности, в стационарном режиме частота f возбуждения AOM1 равна (fL +fН )/2, т. е. при коммутации между fН и fL выходной сигнал интерферометра не изменяется. В режиме c. установившейся частотой f составляющая fc на выходе интерферометра отсутствует, что может быть основой для обратной связи для генератора, управляемого напряжением. При вращении гироскопа частота f отклоняется от значения (fL +fН )/2 и в соответствии с установившейся разностью можно определить по формуле скорость этого вращения:
(11)
В данной системе эффективно снижаются шумы, поскольку частота fс определяется как величина, обратная периоду распространения световой волны по катушке с оптическим волокном, а частота света сигнала и света обратного рассеяния Рэлея обычно различается только как fН - fL . Динамический диапазон, как видно на рис. 13, б, простирается на шесть порядков, что является особенностью метода изменения частоты.
Если расстояние от модуляторов АОМ1 и АОМ2 до расщепителя луча неодинаково, возникает дрейф нуля. Из-за этого стабильность нулевой точки ухудшается до стабильности в системе с фазовой модуляцией. Тем не менее, эти изделия уже выпускаются (с дрейфом около 3°/ч). В них длина оптического волокна 1 км, радиус катушки 5 см. Угловое смещение на каждый отсчет частоты выходного сигнала составляет 2,95 с.
Метод изменения частоты структурно базируется на методе фазовой модуляции. Считается, что он позволяет повысить разрешающую способность и стабильность нулевой точки. При этом основные сложности связаны с частотным сдвигателем. Если в качестве его используется АОМ, то возникают две проблемы — увеличение габаритов оптической системы при росте мощности возбуждения и отраженного света, а также повышение частоты возбуждения. Наряду с АОМ исследуются частотные сдвигатели в виде волоконно-оптических фукциональных элементов и световых волноводов. Кроме того, интегрируются два AOM и объектив на подложке из LiNbО3 . Проектируются также системы с частотным сдвигом, полученным на основе фазового метода.
На рис. 14 представлена общая структура фазовой системы, выполненной на базе интегральной схемы. Фазовый модулятор волноводного типа имеет хорошие частотные характеристики, поэтому возможно возбуждение пилообразным напряжением и реализация фазовой системы. При этом, если амплитуда пилообразного напряжения возбуждения строго соответствует 2p, то высшие гармоники не возникают, и получается идеальный частотный сдвигатель. Для инерциальной навигационной системы это условие должно выполняться очень строго. Французская фирма «Томсон ЦСФ» разработала автоматическую регулировку амплитуды с помощью цифроаналогового преобразователя, который обеспечивает требуемую пилообразную форму напряжения с фронтом из микроступеней. Частота его определяется как Df из формулы (11), и при синхронной с цифроаналоговым преобразователем обратной связи здесь обеспечивается нулевой метод, а изменение тактовой частоты информирует об угловой скорости гироскопа. В этой системе не требуется большого сдвига частоты и можно обойтись лишь одним частотным сдвигателем. Разработан подобный гироскоп с дрейфом нуля 0,3°/ч и динамическим диапазоном в 7 порядков.
|
Рис.14. Волоконно-оптический гироскоп с изменением частоты и сдвигатели фазового типа на интегральной схеме |
Система со световым гетеродинированием
Система на рис. 6 включает в себя катушку радиусом 15 см из оптического одномодового волокна длиной 2000 м, отдельные оптические приборы и одномодовый полупроводниковый лазер. В ней используется прямая частотная модуляция излучения полупроводникового лазера, что приводит к дополнительным шумам. Для снижения когерентности увеличивается ширина спектра излучения. На рис. 15 приведены характеристики шумов. Расширение спектра позволяет повысить разрешающую способность примерно в 20 раз. Поскольку из-за обратного света спектр полупроводникового лазера нестабилен, в систему вводится изолятор.
|
Рис.15, а. Обнаружение вращения волоконным гироскопом со световым гетеродинированием (рис.6, 7) |
|
Рис.15, б. Обнаружение вращения волоконным гироскопом со световым гетеродинированием — характеристика передачи (рис.6, 7) |
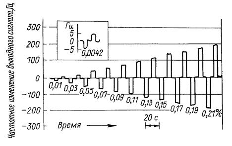
На рис. 15, а поясняется работа данной системы. По вертикальной оси откладывается изменение частоты, которое пропорционально угловой скорости, причем один отсчет соответствуег угловому сдвигу 4" (при 10-кратном усилении 0,4" на 1 отсчет). Скорость вращения земного шара 0,0042°/с, кратковременная разрешающая способность 5°/ч. На рис. 15, б приведена характеристика передачи (вход—выход). Скорость 11°/ч соответствует фазовой разности 180°. Линейность характеристики улучшена благодаря применению нулевого метода. Верхняя граница обнаружения вращения, определяемая электронной схемой, составляет 100°/c, динамический диапазон экспериментальной системы 5 порядков.
Из-за тепловых колебаний скорости звука в АОМ системы возникает заметный дрейф нуля, в связи с чем продолжаются исследования способов отслеживания звуковой скорости в АОМ. Данную систему, используя двухмерные световые волноводы и дифракционные решетки, можно реализовать в виде интегральной схемы.
Рассмотрен принцип действия некоторых оптических гироскопов, в том числе волоконно-оптических. Благодаря методу фазовой модуляции достигнута разрешающая способность и стабильность нулевой точки в соответствии с требованиями инерциальной навигации. С помощью метода изменения частоты и светового гетеродинирования реализован широкий динамический диапазон (от пяти до девяти порядков) и стабильный масштабный коэффициент. Волоконно-оптические гироскопы находят широкое применение. Быстрыми темпами ведется разработка различных приборов на микрооптической технологии, волоконно-оптических функциональных элементах, оптических волноводных элементах. К настоящему времени такие гироскопы среднего класса уже имеются в продаже.
Волоконно-оптические гироскопы отличаются от прежних отсутствием механических систем, что делает их пригодными не только в навигации, но и в других областях, например, для контроля движения бура при бурении нефтяных скважин. Кроме того, если увеличить диаметр кольца из оптического волокна, удлинить интервал интегрирования выходного сигнала, то можно повысить чувствительность, что позволит использовать гироскоп для прогноза погоды, измерения флюктуаций собственного вращения Земли и др.
Волноводы оптической связи, Теумин И.И.
Волоконно-оптические датчики, под ред. Т.Окоси, перевод с япон.
Оптические волноводы, Marcuse D., перевод с англ.
Основы волоконно-оптической связи, под ред. Е.М.Дианова, перевод с англ.

















