| Скачать .docx |
Реферат: Основные проблемы при конструировании бланков
Содержание
ВВЕДЕНИЕ........... .............................................................................................2
ГЛАВА 1 БЛАНК ДОКУМЕНТА....................................................................4
1.1 Немного истории ............................................................................4
1.2 Что такое бланк, его назначение. ...................................................5
ГЛАВА 2 ВИДЫ БЛАНКОВ...............................................................................7
2.1 Основные виды оформления..........................................................7
ГЛАВА 3 КЛАССИФИКАЦИЯ ДОКУМЕНТОВ.........................................10
3.1 Общий бланк..................................................................................10
3.2 Бланк письма..................................................................................13
3.3 Бланк конкретного вида документа.............................................17
3.4 Продольный бланк документа..................................................... 20
3.5 Угловой бланк................................................................................ 22
3.6 Бланк организации..........................................................................24
3.7 Бланк структурного подразделения..............................................25
3.8 Бланк должностного лица..............................................................26
ГЛАВА 4. Основные проблемы при конструировании бланков (на примере конкретного учреждения)..........................................26
4.1 Примеры набора некоторых элементов бланка..........................28
4.2 установка формата бумаги............................................................28
4.3 установка размеров полей.............................................................29
4.4 вставка эмблемы фирмы................................................................30
4.5 набор реквизитов бланка...............................................................31
ЗАКЛЮЧЕНИЕ...................................................................................................35
СПИСОК ИСПОЛЬЗУЕМОЙ ЛИТЕРАТУРЫ.............................................37
ПРИЛОЖЕНИЯ...................................................................................................39
«Бланк документа. Виды бланков. Основные проблемы при конструировании бланков (на примере конкретного учреждения)» - одна из важных и актуальных тем на сегодняшний день.
Актуальность исследования заключается в том, что большинство организационно-распорядительных документов: письма, справки, протоколы, приказы, распоряжения, положения, инструкции и т.д. – должны создаваться на бланках документов.
Понятие бланка в полной мере применимо только к бумажным документам, однако, при автоматизации делопроизводства практикуется создание электронных файлов, содержащих электронные образы бланков, использование или заполнение которых позволяет создавать юридически полноценные документы, соответствующие современным правилам и действующим бумажным формам.
Вопрос о способе изготовления бланков каждая организация вправе решать самостоятельно, то есть бланки могут быть отпечатаны типографским способом, средствами оперативной полиграфии или компьютерной техники непосредственно при изготовлении документа. Исключение составляют бланки с воспроизведением Государственного герба Российской Федерации, которые в соответствии с постановлением Правительства Российской Федерации от 27 декабря 1995 г. № 1268 " Об упорядочении изготовления, использования, хранения и уничтожения печатей и бланков с воспроизведением Государственного герба Российской Федерации" должны изготавливаться только полиграфическими и штемпельно-граверными предприятиями, имеющими лицензии на соответствующий вид деятельности и сертификаты о наличии технических и технологических возможностей для изготовления указанного вида продукции на должном качественном уровне.
При разработке бланков документов и дальнейшем их изготовлении необходимо помнить, что основные требования к бланкам документов устанавливает ГОСТ Р 6.30-2003 "Унифицированные системы документации. Унифицированная система организационно-распорядительной документации. Требования к оформлению документов". Положения данного ГОСТа необходимо соблюдать. Так, например, в соответствии с ГОСТом Р 6.30-2003 бумага, применяемая для изготовления бланков, должна быть белого цвета или, в исключительных случаях, слабо окрашена в светлые тона.
Несмотря на то, что при разработке бланков необходимо соблюдать положения ГОСТа Р 6.30-2003, требования к бланкам документов возможно конкретизировать в распорядительных документах организации, инструкции по делопроизводству и правилах оформления документов. Главное, чтобы эти требования не противоречили стандарту.
Данная тема достаточно подробно освещена в научных трудах следующих авторов:
Актуальность моего исследования определила цель и задачи работы:
Цель исследования – рассмотреть тему « Бланк документа. Виды бланков. Основные проблемы при конструировании бланков (на примере конкретного учреждения)».
Для достижения цели необходимо решить следующие задачи :
1. На основе анализа зарубежной и отечественной литературы, монографических источников изучить понятие бланка документов
2. Провести анализ структуры бланка
3. Рассмотреть виды бланков
4. Выявить и проанализировать особенности изготовления бланков
5. На основе проведенного исследования сделать выводы и дать рекомендации по работе
Для раскрытия поставленной цели и задач определена следующая структура исследования : работа состоит из введения, глав, заключения, списка использованной литературы. Названия глав отображают их содержание.
1. Бланк документа
1.1 Немного истории
Слово "бланк" французского происхождения и переводится как "чистый".
Ещё в прошлых веках люди проявляли чудеса изобретательности, чтобы сократить время на монотонную работу с бумагами, особенно если один и тот же текст должен был повторяться на разных листах. Например, в XVIII веке был изобретен хитрый предмет, который представлял собой перекладину с двумя инструментами для письма на концах. Выглядел он примерно как палка, к концам которой стержнем вниз прикреплены две ручки. Попробуйте написать подобной конструкцией хотя бы одно слово на двух листах и оцените усердие писцов того времени. Мучения прекратились в 1806 году, когда англичанином Ведгвудом была изобретена "угольная бумага" (её ещё называли стилографическим писателем), проще говоря, появилась обычная копирка. Но это сейчас она стала обычной - по тем временам это был настоящий прорыв. Революционное появление печатной машинки в 1814 году сильно облегчило работу писцов, к тому же печатать одну и ту же информацию на бланках с копиркой было гораздо удобнее (получалось то, что сейчас называется фирменным бланком). Но и это не остановило строчащий процесс с использованием копирки, так как многие документы были действительны только при заполнении от руки - иначе они не имели силы. Впрочем, ситуация с подлинностью документов сохранилась и по сей день. НО! У нас есть преимущество перед предками - это самокопирующая бумага. Копирка, конечно, вещь замечательная, но она пачкала все вокруг, в том числе и сами документы. К тому же, не очень удобно каждый раз перекладывать листы копиркой, давить изо всех сил на ручку, чтобы нижний слой был всё-таки различим и следить, чтобы толстая
пачка - бумага-копирка-бумага-копирка-бумага-…- не разъехалась в разные стороны.
Самокопирующая бумага появилась после того, как в 1950 году ученый Барри Грин открыл свойство микрокапсуляции. Обычная на первый взгляд бумага была непростой: она содержала покрытие из микрокапсул, которые разрывались при письме, окрашивая строчками нижний лист. Так свершилась революция в области письменного дела.
Самокопирующиеся бланки используются в работе практически повсеместно - это квитанции, счет-фактуры, товарные и транспортные накладные, товарные чеки, бланки, требующие дублирования, страховые полисы, туристические ваучеры, официантские счета, расписки, билеты, пропуска и т. п.
1.2 Что такое бланк, его назначение
Бланк — представляет собой вид полиграфической продукции, представленный в виде стандартного бумажного листа формата А4, с воспроизведенной на нем постоянной информацией документа и местом, отведенным для переменной информации. Бланк предназначен для последующего заполнения, с этой целью на нем имеются пустые места, для последующего внесения туда информации (вручную, на печатной машине, на компьютере). На бланках оформляется большая часть документов любого предприятия. Существуют так называемые бланки строгой отчетности, содержащие номер (иногда серию), зарегистрированные одним из установленных способов, имеющие специальный режим использования.
По ГОСТу 6.39 — 72 установлено два основных вида бланков: общий бланк (для оформления приказов, протоколов, актов и др.) и бланк писем.
Фирменный бланк — бланк с фирменной атрибутикой организации, который является визитной карточкой предприятия. Обычный формат фирменного бланка — А4, но в отдельных случаях изготавливаются фирменные бланки меньших или больших форматов.
Фирменный бланк - это бумажный лист, как правило, формата А4 и менее, содержащий элементы фирменного стиля или информацию постоянного характера (например, накладные). Любой бланк предназначен для последующего заполнения и, как правило, направляется вовне. Это обязывает фирму отнестись к бланкам как к представительской продукции. Получается, что бланк - это своего рода визитка Вашей компании. Безвкусно оформленный бланк может создать негативное впечатление о вашей компании, поэтому его создание лучше доверить дизайнеру.
Фирменный бланк, дизайн которого выполнен профессионалами, способен не только содержать текст и предоставлять контактную информацию, но и отражать вид деятельности компании и ее жизненное кредо, а также обеспечивать узнаваемость компании и ее продукции при последующих рекламных контактах с потребителем. Он должен создавать у потребителя положительный образ Вашей компании. Визуальное впечатление, производимое на клиента компании безвкусным фирменным бланком, может быть сильнее, чем впечатление от телефонного разговора с менеджером. Добиться отрицательного впечатления можно при неумелом использовании следующих составляющих: фирменная верстка, использование графических элементов фирменного стиля, фирменные цвета. Однако при помощи этих же компонентов вместе с созданием фирменных шрифтов, подбором специальных сортов бумаги и удобной подачей информации, грамотные дизайнеры помогут Вам произвести впечатление с точностью до наоборот.
Бланки представительского класса. Бланк содержит элементы фирменного стиля, например логотип, корпоративные шрифты, и другую информацию постоянного характера, такую как: название Компании, реквизиты, контактную информацию. Фирменный бланк предназначен для последующего заполнения, именно поэтому, как правило имеет стандартный размер – А4 или А5.
Бланки печатаются на офсетной, мелованной или специальной бланочной бумаге.
Печать фирменных бланков возможна с любой красочностью, от черно-белых, до полноцветных, а так же с эффектом «водяного знака». Благодаря предоставляемой услуге по персонализации рекламно-полиграфической продукции, возможно изготовление бланков с нумерацией.
2. Виды бланков
Бланки бывают следующих видов:
Перевозочная документация
Учетная документация
Счета, счета-фактуры
Товарно-транспортные накладные
Путевые листы
Платежные поручения
Таможенные декларации
Товарные чеки
Многослойные бланки (в том числе строгой отчетности)
Бирки
Карточки
Страховые полиса, извещения о ДТП
Страховые ваучеры
Полисы отъезжающих за рубеж
Авиационные билеты
Ж/д билеты
Грузовые авианакладные и другие многослойные документы
Бланки разрешительных лиценций
Бланки типовых договоров
Специальные талоны с тонкой графикой и микропечатью
Деловые формуляры на самокопирующей бумаге
(производство немецких фирм Koehler, Zanders)
Квитанции формы А7
Акты осмотра, доп.соглашения, бланки
Общий бланк в зависимости от учредительных документов организации включает в себя реквизиты:
01 - Государственный герб Российской Федерации (02 - герб субъекта Российской Федерации (02 - герб субъекта Российской Федерации или 03 - эмблема организации или товарный знак (знак обслуживания));
08 - наименование организации;
14 - место составления или издания документа.[i]
В зависимости от расположения реквизитов устанавливают два варианта бланков:
угловой

Рис. 1. Расположение реквизитов (угловой вариант) общего бланка (размеры указаны в миллиметрах)
продольный

Рис. 2. Расположение реквизитов (продольный вариант) общего бланка (размеры указаны в миллиметрах)
В зависимости от автора документа бланки документов подразделяются на:
бланк организации;
бланк структурного подразделения;
бланк должностного лица.
В зависимости от вида документа бланки подразделяются на:3
общий бланк;
бланк письма;
бланк конкретного вида документа (кроме письма)
Общий бланк организационно-распорядительного документа может изготавливаться для организации, структурного подразделения и должностного лица.
3. Классификация бланков
3.1 Общий бланк
Общий бланк используют для изготовления любых видов документов, кроме письма.1
Общий бланк в зависимости от учредительных документов организации включает в себя реквизиты:
01 - Государственный герб Российской Федерации (02 - герб субъекта Российской Федерации (02 - герб субъекта Российской Федерации или 03 - эмблема организации или товарный знак (знак обслуживания));
08- наименование организации;
14 - место составления или издания документа.2
Примечание: в пункте 4.7 ГОСТа 6.30-2003 допущена ошибка: реквизит "Дата документа" ошибочно назван в числе реквизитов общего бланка, в то время как на бланке обозначаются лишь отметки для проставления даты.
[1] Также на общем бланке необходимо ставить ограничительные отметки для реквизита "Регистрационный номер документа".
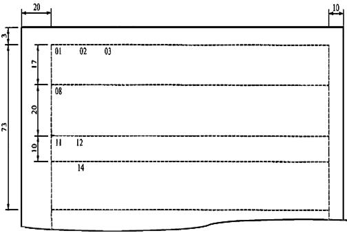
Общий бланк организационно-распорядительного документа может изготавливаться на основе продольного или углового расположения реквизитов.3

Рис. 1. Расположение реквизитов
(угловой
вариант)
общего бланка (размеры указаны в миллиметрах)
01 - Государственный герб Российской Федерации; 02 - герб субъекта Российской Федерации;
03 - эмблема организации или товарный знак (знак обслуживания);
08 - наименование организации; 11 - дата документа;
12 - регистрационный номер документа;
14 - место составления или издания документа
Рис. 2. Расположение реквизитов
(продольный вариант)
общего бланка (размеры указаны в миллиметрах)
01 - Государственный герб Российской Федерации; 02 - герб субъекта Российской Федерации;
03 - эмблема организации или товарный знак (знак обслуживания);
08 - наименование организации; 11 - дата документа;
12 - регистрационный номер документа;
14 - место составления или издания документа
Общий бланк организационно-распорядительного документа может изготавливаться для организации, структурного подразделения и должностного лица. Образцы общего бланка документа также приводятся в следующих документах:
- ГОСТ Р 6.30-2003 "Унифицированные системы документации. Унифицированная система организационно-распорядительной документации. Требования к оформлению документов" (приложение Б, рисунок Б.1);
- Типовая инструкция по делопроизводству в федеральных органах исполнительной власти, утвержденная приказом Министерства культуры и массовых коммуникаций Российской Федерации от 8 ноября 2005 г. № 536 (приложения № 11 и 12).
3.2 Бланк письма
Бланк письма в зависимости от учредительных документов организации включает в себя реквизиты:
01 - Государственный герб Российской Федерации (02 - герб субъекта Российской Федерации или 03 - эмблема организации или товарный знак (знак обслуживания));
04 - код организации;
05 - основной государственный регистрационный номер (ОГРН) юридического лица;
06 - идентификационный номер налогоплательщика/код причины постановки на учет (ИНН/КПП);
08 - наименование организации";
09 - справочные данные об организации,
а также ограничительные отметки для реквизитов:
11 - дата документа;
12 - регистрационный номер документа;
13 - ссылка на регистрационный номер и дату документа.
И, при необходимости, ограничительные отметки для верхних границ зон расположения реквизитов.
Бланк письма может изготавливаться на основе продольного или углового расположения реквизитов.

Рис. 1. Расположение реквизитов (угловой вариант) бланка письма (размеры указаны в миллиметрах)
01 - Государственный герб Российской Федерации; 02 - герб субъекта Российской Федерации;
03 - эмблема организации или товарный знак (знак обслуживания); 04 - код организации;
05 - основной государственный регистрационный номер (ОГРН) юридического лица;
06 - идентификационный номер налогоплательщика/код причины постановки на учет (ИНН/КПП);
08 - наименование организации; 09 - справочные данные об организации;
11 - дата документа; 12 - регистрационный номер документа;
13 - ссылка на регистрационный номер и дату документа;
15 - адресат; 18 - заголовок к тексту;
19 - отметка о контроле; 20 - текст документа

Рис. 2. Расположение реквизитов (продольный вариант) бланка письма (размеры указаны в миллиметрах)
01 - Государственный герб Российской Федерации; 02 - герб субъекта Российской Федерации;
03 - эмблема организации или товарный знак (знак обслуживания); 04 - код организации;
05 - основной государственный регистрационный номер (ОГРН) юридического лица;
06 - идентификационный номер налогоплательщика/код причины постановки на учет (ИНН/КПП);
08 - наименование организации; 09 - справочные данные об организации;
11 - дата документа; 12 - регистрационный номер документа;
13 - ссылка на регистрационный номер и дату документа;
15 - адресат; 18 - заголовок к тексту;
19 - отметка о контроле; 20 - текст документа
Использование продольного бланка письма целесообразно в случаях, когда наименование организации содержит большое количество печатных знаков, например, может быть в случае, когда реквизиты бланка даются на двух и более языках. При этом слева следует печатать реквизиты на русском языке, а справа - на национальном, на одном уровне. Если количество используемых национальных языков более одного, сверху следует указывать реквизиты на русском, а ниже - на национальном языке, продлевая строку до границы правого поля.
Бланк письма может изготавливаться для организации, структурного подразделения и должностного лица.
Образцы общего бланка документа также приводятся в следующих документах:
- ГОСТ Р 6.30-2003 "Унифицированные системы документации. Унифицированная система организационно-распорядительной документации. Требования к оформлению документов" (приложение Б, рисунки Б.2, Б.3, Б.4);
- Типовая инструкция по делопроизводству в федеральных органах исполнительной власти, утвержденная приказом Министерства культуры и массовых коммуникаций Российской Федерации от 8 ноября 2005 г. № 536 (приложения № 13, 14, 15, 16, 17, 18).
3.3 Бланк конкретного вида документа
Бланк конкретного вида документа, кроме письма (для письма существует специальный вид бланка), в зависимости от учредительных документов организации включает в себя реквизиты:
01 - Государственный герб Российской Федерации (02 - герб субъекта Российской Федерации или 03 - эмблема организации или товарный знак (знак обслуживания));
08 - наименование организации";
10 - наименование вида документа;
14 - место составления или издания документа,
а также ограничительные отметки для реквизитов:
11 - дата документа;
12 - регистрационный номер документа.
И, при необходимости, ограничительные отметки для верхних границ зон расположения реквизитов.
18 - заголовок к тексту;
19 - отметка о контроле.
Бланк конкретного вида документа может изготавливаться на основе продольного или углового расположения реквизитов.
Продольные бланки на практике используют преимущественно для подготовки нормативных правовых актов.

Рис. 1. Расположение реквизитов
(угловой
вариант) бланка конкретного вида документа
(размеры указаны в миллиметрах)
01 - Государственный герб Российской Федерации; 02 - герб субъекта Российской Федерации;
03 - эмблема организации или товарный знак (знак обслуживания);
08 - наименование организации; 10 - наименование вида документа;
11 - дата документа; 12 - регистрационный номер документа;
13 - ссылка на регистрационный номер и дату документа;
14 - место составления или издания документа; 18 - заголовок к тексту;
19 - отметка о контроле

Рис. 2. Расположение реквизитов
(продольный
вариант) бланка конкретного вида документа
(размеры указаны в миллиметрах)
01 - Государственный герб Российской Федерации; 02 - герб субъекта Российской Федерации;
03 - эмблема организации или товарный знак (знак обслуживания);
08 - наименование организации; 10 - наименование вида документа;
11 - дата документа; 12 - регистрационный номер документа;
14 - место составления или издания документа; 18 - заголовок к тексту;
19 - отметка о контроле
Бланк конкретного вида документа может изготавливаться для организации, структурного подразделения и должностного лица.
Бланки тех или иных конкретных документов целесообразно применять при издании в организации большого количеств данных видов документов. Остальные документы оформляются на общем бланке.
3.4 Продольный бланк документа
Бланки документов могут изготовляться на основе продольного или углового расположения реквизитов, идентифицирующих организацию, и других реквизитов оформления документов, дополняющих сведения об организации. Использование углового или продольного бланка не влияет на юридическую силу документа или его правовой статус.
При продольном расположении (продольные бланки) реквизиты "Наименование организации", "Вид документа" и другие необходимые реквизиты на бланке размещаются вдоль верхнего поля и центруются (центрируются).

Рис. 1. Продольное расположение реквизитов на бланке
Продольные бланки на практике используются преимущественно для подготовки нормативных правовых актов.
Использование продольного бланка письма целесообразно применять в случаях, когда наименование организации содержит большое количество печатных знаков, например, может быть в случае, когда реквизиты бланка даются на двух и более языках. При этом слева следует печатать реквизиты на русском языке, а справа - на национальном, на одном уровне. Если количество используемых национальных языков более одного, сверху следует указывать реквизиты на русском, а ниже - на национальном языке, продлевая строку до границы правого поля.
При использовании в бланке наименования организации на иностранном языке рекомендуется также пользоваться стандартными требованиями.
Продольные бланки писем используются в рекламных целях, когда не стоит вопрос об экономии бумаги, рациональном размещении необходимого количества реквизитов и т.п.

Рис. 2. Продольный бланк письма
Примеры оформления продольного бланка также приводятся в следующих пунктах "Энциклопедии делопроизводства": общий бланк, бланк письма и бланк конкретного вида документа, – а также в документах:
- ГОСТ Р 6.30-2003 "Унифицированные системы документации. Унифицированная система организационно-распорядительной документации. Требования к оформлению документов" (приложение Б, рисунки Б.1, Б.3, Б.4, Б.5);
- Типовая инструкция по делопроизводству в федеральных органах исполнительной власти, утвержденная приказом Министерства культуры и массовых коммуникаций Российской Федерации от 8 ноября 2005 г. № 536 (приложения № 11, 15, 16).
3.5 Угловой бланк
В зависимости от расположения реквизитов устанавливают два варианта бланков - угловой и продольный.
При угловом расположении (угловые бланки) реквизиты "Наименование организации", "Вид документа" и другие необходимые реквизиты на бланке размещаются в верхнем левом угле.
На угловом бланке реквизиты "Наименование организации" (08), "Справочные данные об организации" (09), "Наименование вида документа" (10), "Место составления или издания документа" (14), ограничительные отметки для реквизитов "Дата документа" (11), "Регистрационный номер документа" (12), "Ссылка на регистрационный номер и дату документа" (13) в пределах границ зон расположения реквизитов размещают одним из способов:
- центрированным (начало и конец каждой строки реквизитов равно удалены от границ зоны расположения реквизитов);
- флаговым (каждая строка реквизитов начинается от левой границы зоны расположения реквизитов).

Рис. 1. Центрированный способ расположения реквизитов

Рис. 2. Флаговый способ расположения реквизитов
Угловой бланк является наиболее удобным для обработки и экономичным с точки зрения использования площади листа. В этом случае правая сторона верхней части листа может быть использована для размещения реквизитов "Адресат" и "Гриф утверждения документа", резолюций, отметок о рассылке и др.
Примеры оформления углового бланка также приводятся в следующих пунктах "Энциклопедии делопроизводства": общий бланк, бланк письма и бланк конкретного вида документа, – а также в документах:
- ГОСТ Р 6.30-2003 "Унифицированные системы документации. Унифицированная система организационно-распорядительной документации. Требования к оформлению документов" (приложение Б, рисунок Б.2);
- Типовая инструкция по делопроизводству в федеральных органах исполнительной власти, утвержденная приказом Министерства культуры и массовых коммуникаций Российской Федерации от 8 ноября 2005 г. № 536 (приложения № 12, 13, 14, 17, 18).
3.6 Бланк организации
Бланки организационно-распорядительных документов могут разрабатываться для организации, для структурного подразделения и для должностного лица.
На бланке организации не воспроизводятся в качестве авторов документа структурное подразделение или должностное лицо.
Образцы бланка организации приводятся в приложении Б к ГОСТу Р 6.30-2003 "Унифицированные системы документации. Унифицированная система организационно-распорядительной документации. Требования к оформлению документов" (рисунки Б.1, Б.2, Б.3, Б.5)), а также в
приложениях № 11, 12, 13, 14, 15, 16 к Типовой инструкции по делопроизводству в федеральных органах исполнительной власти, утвержденной приказом Министерства культуры и массовых коммуникаций Российской Федерации от 8 ноября 2005 г. № 536.
Примеры оформления бланка организации также приводятся в следующих пунктах "Энциклопедии делопроизводства": общий бланк, бланк письма и бланк конкретного вида документа.
3.7 Бланк структурного подразделения
Бланки организационно-распорядительных документов могут разрабатываться для организации, для структурного подразделения и для должностного лица.
Бланк для структурного подразделения создается в том случае, если руководитель данного подразделения имеет право подписи.
На бланке структурного подразделения под наименованием организации должно указываться наименование данного подразделения.

Рис. 1. Бланк письма структурного подразделения
Примеры оформления бланка структурного подразделения приводятся в следующих пунктах "Энциклопедии делопроизводства": общий бланк, бланк письма и бланк конкретного вида документа.
3.8 Бланк должностного лица
Бланки организационно-распорядительных документов могут разрабатываться для организации, для структурного подразделения и для должностного лица.
4. Основные проблемы при конструировании бланков (на примере конкретного учреждения)
Согласно терминологическому стандарту, бланк документа - это "набор реквизитов, идентифицирующих автора официального письменного документа." Бланк даёт сведения об авторе документа, позволяющие его идентифицировать как создателя официального письменного документа.
При получении документа в организации (учреждении, фирме) основное внимание естественно уделяется существу содержащейся в нем информации, однако неизбежно запоминается и внешний вид документа - качество бумаги, использованные цвета, дизайн логотипа, начертание шрифтов, композиция надписей бланка. По этим признакам складывается впечатление о корреспонденте, степени его солидности, престижности.
Бланки создает любое учреждение, организация или предприятие, пользующееся правами юридического лица. Разрабатывая бланк, стремятся к созданию благоприятного впечатления об организации, к созданию запоминающегося бланка, отражающего не только определенную информацию о фирме, но ее стиль.
Требования к бланкам организационно-распорядительных документов установлены стандартом ГОСТ Р 6.30-2003. Многие требования к бланкам документов с введением этого стандарта существенно изменяются. Необходимость изменений объясняется тем, что при создании бланков современных российских коммерческих организаций требования старого государственного стандарта часто не соблюдались, что привело к созданию бланков, информация которых не только воспринимается с затруднением, но и не позволяет идентифицировать автора документа, так как содержит неполные или искаженные сведения о нем. Однако следует заметить, что использовать требования стандарта имеет смысл по ряду соображений - стандарт создавался с учетом отечественной практики оформления документов, он включает наиболее оптимальный набор реквизитов, необходимых и достаточных для характеристики организации - автора документа, придания документам необходимой официальности. Кроме того, стандартом рекомендована рациональная и продуманная композиция расположения отдельных реквизитов документа, отвечающая удобству обработки документов в делопроизводстве и традициям отечественного документирования.
Анализ бланков современных организаций различных форм собственности позволяет сделать вывод о значительной и зачастую неоправданной многовариантности создания и оформления бланков. При этом они не всегда составлены удачно как по составу информации, часто противоречащей законодательным нормам, так и по общей композиции, которая определяется субъективным вкусом, а не рациональностью или традицией. Бланк является своеобразной визитной карточкой организации, а такие просчеты наносят ущерб фирме, т.к. прежде всего, вызывают недоверие к документу из-за невозможности идентификации организации-автора, недостатка справочной информации.
Наиболее часто оформление бланков коммерческих организаций характеризуется следующими ошибками:
- указывается только сокращенное наименование организации - автора документа, не сообщается ведомственная принадлежность, отсутствует определение организационно-правовой формы;
4.1 Примеры набора некоторых элементов бланка
Рассмотрим, как ведется конструирование бланков на «Можайском Полиграфкомбинате»
Конструирование электронного бланка предполагает ряд последовательных операций:
4.2 установка формата бумаги;
У нас в стране используются для служебных документов форматы ряда А, принятые Международной организацией по стандартизации.
В зависимости от формата бумаги устанавливаются и поля (расстояние от границы текста до края листа бумаги).
В компьютерных программах, даже локализованных (на русском языке), в качестве установок по умолчанию форматы бумаги и размеры полей, не соответствующие отечественным стандартам.
Для установки размеров бумаги и размеров полей в MS Word необходимо в диалоговом окне Параметры страницы выполнить следующие действия:
Меню Сервис
Команда Параметры
Вкладка Общие (выберите из списка единицу измерения Сантиметры)
Меню Файл
Команда Параметры страницы
Вкладка Размер бумаги (установить размер А4 210 х 297 мм)
Нажать ОК
4.3 установка размеров полей;
Установив формат бумаги, надо определиться с полями документов, вызвав диалоговое окно Параметры страницы:
Меню Файл
Команда Параметры страницы
Вкладка Поля – устанавливаем следующие размеры полей:
левое поле – 3,5 см
правое поле – 1 см
верхнее – 2 см
нижнее – 2 см Нажать ОК
Нажатием кнопки “По умолчанию” данные параметры страницы закрепляются за всеми создаваемыми в дальнейшем документами, если пользователем не будут непосредственно заданы иные параметры.
4.4 вставка эмблемы фирмы;
Учреждения, организации, фирмы часто размещают на бланке свою эмблему. Как правило, это символическое графическое изображение, отражающее направление деятельности организации, предприятия, фирмы. Эмблема улучшает эстетический вид бланка, но не заменяет наименование организации.
Изображение эмблемы помещается на верхнем поле бланка (в области колонтитула) над серединой наименования организации (при продольном бланке эмблема размещается в середине верхнего поля, а при угловом – центрируется по отношению к названию организации).
Для вставки эмблемы выполним следующее действе:
Меню Вставка
Команда Рисунок Картинки
Нажать Вставить
Для указания точного размера рисунка воспользуемся диалоговым окном Формат рисунка, вызванного контекстным меню:
Команда Формат рисунка
Вкладка Размер
Поле Масштаб:
сохранить пропорции – снять флажок
относительно исходного размера – снять флажок Поле Размер и поворот:
высота –1,5 см
ширина –1,5 см Нажать ОК
Для центровки эмблемы также вызываем контекстным меню диалоговое окно Формат рисунка, устанавливаем следующие показатели:
Команда Формат рисунка
Вкладка Положение
Поле Положение на странице:
по горизонтали – от Поля 3 см (бланк с угл. шт.)
по горизонтали – от Поля 7,5 см (бланк с прод. шт.)
по вертикали – от Страницы 0,57 см (для всех бланков) Поле Поверх текста – флажок оставить
Нажать ОК
4.5 набор реквизитов бланка.
Бланки с угловым штампом могут быть с центрованным и флаговым расположением реквизитов.
Для создания бланка с угловым штампом потребуется дополнительная панель инструментов Формы:
Меню Вид
Команда Панели инструментов
Выбрать панель инструментов Формы - установить флажок
Набор реквизитов ведем от левого поля.
Особое внимание уделим набору трафаретных частей бланка для писем.
Элементы трафаретных частей выполняются с помощью расположенной на панели Форматирования, а также возможен вариант с клавиатуры с использованием ![]()
Трафаретная часть для даты и номера исходящего документа:
Устанавливаем на горизонтальной линейке положение табулятора – 2,5 см и 7 см (щелчком по левой кнопке мыши)
На панели форматирования нажимаем
или ![]()
Выполняем табулирование клавишей Таб.
На панели форматирования отключаем
или ![]()
Пробел
Ставим знак № (комбинация клавиш ![]()
Пробел
На панели форматирования нажимаем
или ![]()
Пробел
Выполняем табулирование клавишей Таб.
На панели форматирования отключаем
или ![]()
Трафаретная часть ссылки для даты и номера ответного документа:
Устанавливаем на горизонтальной линейке положение табулятора - 4 см и 7 см (щелчком по левой кнопке мыши)
Пишем На №
Пробел
На панели форматирования нажимаем
или ![]()
Пробел
Выполняем табулирование клавишей Таб.
На панели форматирования отключаем
или ![]()
Пробел
Пишем от
Пробел
На панели форматирования нажимаем
или ![]()
Пробел
Выполняем табулирование клавишей Таб.
На панели форматирования отключаем
или ![]()
Познакомившись с данным вариантом набора трафаретных частей бланка для писем, в дальнейшем можно будет пользоваться вариантом набора от левого поля, с последующей растяжкой при установке курсора в начале или конце каждой части, и нужной табуляционной установкой на горизонтальной линейке.
Выделив набранные реквизиты штампа, введем в рамку. На панели инструментов Формы выберем пиктограмму Вставить рамку. Введенные реквизиты, в рамке примут следующий вид.
Установим параметры рамки: (см. 1.2.4.5. Шаг 2*0*) Меню Формат или контекстное меню Формат рамки
Поле Обтекание текста – вокруг
Поле Размер:
ширина – Точно 7,3 см
высота – Авто Поле по горизонтали:
положение – 3,5 относительно Страницы
расстояние от текста – 0,7 см Поле по вертикали:
положение – 2 см относительно Страницы
расстояние от текста – 0 см
Поле установить привязку – поставить флажок
Нажать ОК
Чтобы рамка не была видна при печати, снимаем обрамление:
Меню Формат или контекстное меню Формат рамки
Команда Границы и заливка
Вкладка Граница
Поле Применить к – рамке
Поле Тип – нет
Нажать ОК
Бланк придает информации официальный характер. Применение бланков значительно ускоряет процесс создания документа (за счет наличия постоянной информации), сокращает трудозатраты на составление, упрощает восприятие информации и повышает культуру управленческого труда.
На бланках изготавливают только первую страницу документа, для изготовления всех следующих страниц используют стандартные листы бумаги.
Если документ подлежит рассылке в несколько адресов, то на бланке создают каждый экземпляр документа.
Стандарт допускает изготовление бланков типографским способом, с помощью средств оперативной полиграфии или же использование формы бланка, созданной компьютером.( для бланков с гербом РФ – обязательно) Наиболее старым и распространенным способом изготовления бланков является, как уже отмечалось, типографский. Распространившаяся в последнее время практика распечатки бланков с компьютера рациональна для небольших организаций, где не создается большое количество документов. Компьютерная форма бланка может быть легко изменена при изменении справочных данных об организации (адреса, телефона, факса, счета в банке и др.). Этот способ использования бланка экономичен, так как не возникает ситуаций, когда надо уничтожать готовый тираж бланков. Но следует помнить, что воспроизвести такой бланк (т.е. подделать документ) достаточно просто.
Бланк, содержащий реквизиты, характеризующие организацию-автора (ее наименование, дату и место создания, регистрационный номер), оказал влияние и на оформление внутренних документов организации. Для их оформления стали использовать те же реквизиты, повторяя их состав и порядок расположения даже в тех случаях, когда документ создается рукописным способом (заявление, объяснительная записка).
Назначение бланка состоит в подтверждении официальности документа, который на нем создан, и характеристике организации-автора. Соблюдение при этом общепринятых норм, закрепленных в отечественных или международных стандартах, не только облегчает проектирование бланка, но и обеспечивает представительские функции, характеризуя организацию своим корреспондентам
В данной работе была рассмотрена тема «Бланк документа. Виды бланков. Основные проблемы при конструировании бланков (на примере конкретного учереждения)». В своей работе я постарался дать характеристику печатной продукции типа «Бланк». Показать какие бывают бланки, типы их оформления и структуру их создания на примере предприятия «Можайский Полиграфкомбинат».
Большинство организационно-распорядительных документов: письма, справки, протоколы, приказы, распоряжения, положения, инструкции и т.д. – должны создаваться на бланках документов.
Понятие бланка в полной мере применимо только к бумажным документам, однако, при автоматизации делопроизводства практикуется создание электронных файлов, содержащих электронные образы бланков, использование или заполнение которых позволяет создавать юридически полноценные документы, соответствующие современным правилам и действующим бумажным формам.
Вопрос о способе изготовления бланков каждая организация вправе решать самостоятельно, то есть бланки могут быть отпечатаны типографским способом, средствами оперативной полиграфии или компьютерной техники непосредственно при изготовлении документа. Исключение составляют бланки с воспроизведением Государственного герба Российской Федерации, которые в соответствии с постановлением Правительства Российской Федерации от 27 декабря 1995 г. № 1268 " Об упорядочении изготовления, использования, хранения и уничтожения печатей и бланков с воспроизведением Государственного герба Российской Федерации" должны изготавливаться только полиграфическими и штемпельно-граверными предприятиями, имеющими лицензии на соответствующий вид деятельности и сертификаты о наличии технических и технологических возможностей для изготовления указанного вида продукции на должном качественном уровне.
Список литературы
1. ГОСТ Р 6.30-2003. Унифицированные системы документации. Унифицированная система организационно-распорядительной документации. Требования к оформлению документов. – Введ. 2003-07-01. – М.: Госстандарт России: Изд-во стандартов, 2003. – Пункт 4.7.
2. ГОСТ Р 6.30-2003. Унифицированные системы документации. Унифицированная система организационно-распорядительной документации. Требования к оформлению документов. – Введ. 2003-07-01. – М.: Госстандарт России: Изд-во стандартов, 2003. – Пункт 4.7.
3. ГОСТ Р 6.30-2003. Унифицированные системы документации. Унифицированная система организационно-распорядительной документации. Требования к оформлению документов. – Введ. 2003-07-01. – М.: Госстандарт России: Изд-во стандартов, 2003. – Пункт 4.6.
4. ГОСТ Р 6.30-2003. Унифицированные системы документации. Унифицированная система организационно-распорядительной документации. Требования к оформлению документов. – Введ. 2003-07-01. – М.: Госстандарт России: Изд-во стандартов, 2003. – Пункт 4.6.
5. Организационно-распорядительная документация. Требования к оформлению документов: Методические рекомендации по внедрению ГОСТ Р 6.30-2003. / Росархив; ВНИИДАД; Сост.: М.Л.Гавлин, А.С.Красавин, Л.В.Кузнецов и др.; Общ. ред. М.В.Ларин, А.Н.Сокова. – М., 2003. – 90 с.
6. Организация работы с документами. Учебник для вузов. Под ред. В.А.Кудряева. – М., 2005.
7. Рогожин М.Ю. Настольная книга секретаря. С учетом новых правил ведения трудовых книжек и ГОСТ Р 6.30-1-2003. Проспект 2004.
8. Чуковенков А.Ю. Янковская В.Ф. Правила оформления документов. Комментарий к ГОСТ Р 6.30-2003. «Унифицированные системы документации. Унифицированная система организационно-распорядительной документации (ОРД). Требования к оформлению документов». М., «Проспект». 2004.
Примеры оформления общего бланка:

Рис. 1. Общий бланк с продольным расположением реквизитов

Рис. 2. Общий бланк организации с угловым (центрированным)
расположением реквизитов

Рис. 3. Общий бланк организации с угловым (флаговым) расположением реквизитов

Рис. 4. Общий бланк структурного подразделения
с продольным расположением реквизитов

Рис. 5. Общий бланк структурного подразделения с угловым (центрированным) расположением реквизитов

Рис. 6. Общий бланк структурного подразделения с угловым (флаговым) расположением реквизитов
Примеры оформления бланка письма:
Рис. 3. Бланк письма организации с угловым (центрированным) расположением реквизитов

Рис. 4. Бланк письма организации с угловым (флаговым) расположением реквизитов

Рис. 5. Бланк письма организации с продольным расположением реквизитов

Рис. 6. Бланк письма структурного подразделения с угловым (центрированным) расположением реквизитов

Рис. 7. Бланк структурного подразделения с угловым (флаговым) расположением реквизитов

Рис. 8. Бланк письма структурного подразделения с продольным расположением реквизитов

Рис. 9. Бланк письма должностного лица с угловым (центрированным) расположением реквизитов

Рис. 10. Бланк письма должностного лица с угловым (флаговым) расположением реквизитов
Рис. 11. Бланк письма должностного лица с продольным расположением реквизитов
Примеры оформления бланка конкретного вида документа:

Рис. 12. Бланк приказа с продольным расположением реквизитов

Рис. 13. Бланк акта с угловым (центрированным) расположением реквизитов

Рис. 14. Бланк акта с угловым (флаговым) расположением реквизитов

Рис. 15. Бланк справки структурного подразделения с продольным расположением реквизитов

Рис. 16. Бланк справки структурного подразделения с угловым (центрированным) расположением реквизитов

Рис. 17. Бланк справки структурного подразделения с угловым (флаговым) расположением реквизитов
1
ГОСТ Р 6.30-2003. Унифицированные системы документации. Унифицированная система организационно-распорядительной документации. Требования к оформлению документов. – Введ. 2003-07-01. – М.: Госстандарт России: Изд-во стандартов, 2003. – Пункт 4.4.
2
Там же. – Пункт 4.6.
3
Там же. – Пункт 4.6.