| Скачать .docx |
Реферат: Проектирование технологического процесса механической обработки детали и специального станочного
Федеральное агентство по образованию
Государственное образовательное учреждение
высшего профессионального образования
САМАРСКИЙ ГОСУДАРСТВЕННЫЙ
АЭРОКОСМИЧЕСКИЙ УНИВЕРСИТЕТ
имени академика С.П. КОРОЛЕВА
Факультет летательных аппаратов
Кафедра производства летательных аппаратов и управления качеством в машиностроении
Проектирование технологического процесса механической обработки детали и специального станочного приспособления.
Курсовой проект
Выполнил: студент гр.142 (Д.Е.Башмаков)
Проверил: (О.В. Ломовской )
Самара, 2009
Введение
Механическая обработка детали - широко распространённый технологический процесс современного машиностроения.
Механическая обработка находит широкое применение в различных областях машиностроения благодаря возможности получения деталей различной формы и конфигурации с заданными технологическими показателями. Данным методом обрабатывается до 70% всех изготовляемых деталей.
В целях обеспечения высокой эффективности производства и создания качественной продукции необходима разработка таких технологических процессов, которые позволяют с наименьшими трудовыми и материальными затратами обеспечить изготовление продукции с требуемыми параметрами, характеристиками и свойствами.
Уже на стадии проектирования технологического процесса закладывается качество будущей продукции, её себестоимость и эффективность производства, поэтому очень важно правильное, разумное и рациональное проектирование технологического процесса.
Эффективность того или иного технологического процесса зависит от того, насколько обоснованно был произведён выбор основного инструмента, оборудования, оснастки. А также от методов получения заготовки и режимов обработки.
В данном курсовом проекте разработан и обоснован технологический процесс изготовления заданной детали с учётом обеспечения высокого качества её получения методами механической обработки на реальном оборудовании и спроектировано сборочное приспособление для расточки отверстия в заданной детали.
Реферат
Курсовой проект
Пояснительная записка: 29 с., 17 табл., 3 рис.
МЕХАНИЧЕСКАЯ ОБРАБОТКА, ПРИСПОСОБЛЕНИЕ, ОБОРУДОВАНИЕ, ИНСТРУМЕНТ, РЕЖИМЫ РЕЗАНИЯ, ЗАГОТОВКА, ДЕТАЛЬ.
Целью данного курсового проекта является разработка экономически целесообразного технологического процесса изготовления качественной детали в соответствии с чертежом.
Объектом исследования является фланец.
В курсовом проекте описано назначение и краткое описание детали, проведён её конструктивно технологический анализ, выбран вид и размеры заготовки, разработан маршрутный технологический процесс обработки детали и операционный технологический процесс, выбрано оборудование и режущий инструмент, проведён расчёт режима резания, нормирование, спроектировано специальное станочное приспособление, определена схема базирования детали в приспособлении, разработана конструктивная схема приспособления для сверления одного отверстия в соответствии с ГОСТами, определены усилия закрепления детали.
Содержание
2 Назначение и краткое описание детали . 2
3 Конструктивно технологический анализ детали . 2
4 Выбор вида и определение размеров заготовки . 2
5 Разработка маршрутного технологического процесса обработки детали . 2
6 Разработка операционного технологического процесса . 2
6.2 Выбор режущего инструмента. 2
6.3 Расчёт режимов обработки. 2
7. Проектирование специального станочного приспособления . 2
7.1 Выбор схемы базирования детали в приспособлении.2
7.2 Разработка конструктивной схемы приспособления. 2
7.3 Определение усилий закрепления детали. 2
7.4 Основные указания по изготовлению, монтажу и безопасной эксплуатации приспособления.2
7.5 Обеспечение конструкторской и технической документации в соответствии с ЕСКД и ЕСД.2
Список использованных источников . 2
1 Свойства материала
АЛ-8 ГОСТ 1583-93 – сплав повышенной прочности.
Таблица 1
Химический состав в % (ГОСТ 2685-75)
| Al | Mg | Fe | Si | Cu | Mn | Zn | Ti | Be | Zr | Сумма примесей |
| З, О, В, К | З, О, В, К | |||||||||
| Не более | ||||||||||
| Основа | 9,3 - 10,0 | 0,3 | 0,3 | 0,1 | 0,1 | 0,1 | 0,07 | 0,07 | 0,2 | 1,0 |
Таблица 2
Механические свойства (по ГОСТ)
| Вид полуфабриката | ГОСТ | Способ литья | Состояние | σВ кгс/мм2 |
δ5 , % | НВ кгс/мм2 |
| Не менее | ||||||
| Образцы отдельно отлитые диаметром 12 мм | ГОСТ 2685-75 | З, О, В, К | Термически обработанные по режиму Т4 | 29 | 9 | 60 |
Плотность 2550 кг/м2
Таблица 3
Температурный коэффициент линейного расширения
| Температура, °С | 20 – 100 | 20 – 200 | 20 – 300 | 100 – 200 | 200 – 300 |
| α·106 1/град | 24,5 | 25,6 | 27,3 | 26,7 | 30,7 |
Таблица 4
Коэффициент теплопроводности
| Температура, °С | 25 | 100 | 200 | 300 | 400 |
| λ Вт/м·град | 92,2 | 96,4 | 101 | 109 | 113 |
Таблица 5
| Температура, °С | 100 | 200 | 300 | 350 |
| с, кДЖ/кг·град | 1,05 | 1,05 | 1,09 | 1,13 |
Технологические данные
Сплав обладает удовлетворительными литейными свойствами, пониженной герметичностью (в образцах обнаруживается течь при давлении 60 аТ), склонен к образованию горячих трещин (при технологической пробе первая трещина образуется при отливке кольца шириной 22,5 мм).
Сплав склонен к окислению и образованию микрорыхлот (черный излом). Для повышения качества отливок плавку следует проводить под слоем покровно-рафинирующего флюса (60% карналлита + 40% плавикового шпата), в облицовочную формовочную землю добавлять 3% борной кислоты.
Сплав подвергается термической обработке по режиму Т4; хорошо обрабатывается резанием и полируется.
Сплав обладает высокой коррозионной стойкостью (С. 124) |7|.
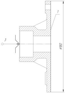
2 Назначение и краткое описание детали
Данная деталь (далее- ”фланец”) является одной из частей редуктора. Фланец предназначен для размещения в нём подшипника и правильная ориентация вала.
Подшипник устанавливается в отверстие
52 мм, а вал – в отверстие
32 мм. Фланец имеет основание
180 мм, втулку, приливы с отверстиями для крепления к корпусу и ребра жесткости.
В фланце после установки просверливаются два штифтовых отверстия
6 мм и забиваются шпильки. Они служат для точной установки детали при последующей установки фланца, после снятия.
3 Конструктивно технологический анализ детали
Целью конструктивно-технологического анализа является выявление недостатков данной конструкции по сведениям, содержащимся в чертежах и технологических требованиях, а также возможное улучшение технологичности рассматриваемой конструкции.
Технологичность детали – это совокупность свойств конструкции детали, проявляемых в возможности оптимальных затрат труда, средств, материала и времени при технической подготовке ее производства, изготовлении, эксплуатации, ремонте и обеспечении технологичности сборочной единицы, в состав которой она входит.
Чертеж детали содержит все необходимые сведения, дающие полное представление о детали, то есть все проекции, совершенно четко объясняющие ее конфигурацию, и возможные способы получения заготовки. Разрезы и сечения показывать на чертеже не требуется, так как конструкция детали полностью понятна из трех стандартных видов. На чертеже указаны все размеры с необходимыми отклонениями, требуемая шероховатость обрабатываемых поверхностей.
Заданная деталь высоко технологична, так как содержит стандартные конструкторские элементы, такие как диск, отверстие, расточку, отверстия по радиусу и т. д. Деталь имеет экономически и конструктивно обоснованную точность и шероховатость для точной увязки детали в сборке. Точность и шероховатость также обеспечивают точность обработки и контроля.
Получение детали литьём- самый рациональный способ изготовления детали при объёме выпуска 6000 шт..
Метод изготовления детали по выплавляемым моделям. Этот способ выбран из-за точности изготовления, который составляет 2 класс. Кроме того данный способ изготовления заготовок значительно сокращает время на изготовление, т.к. можно лить несколько заготовок одновременно.
Конструкция детали подразумевает возможность применения типовых и стандартных технологических процессов ее изготовления.
Так как в задание на курсовое проектирование используется одна деталь, то в качестве количественных показателей технологичности могут рассматриваться такие параметры, как масса детали, коэффициент использования материала.
Коэффициент использования материала определяется по формуле:
, где
кг – масса детали.
кг – масса материала заготовки.
Масса детали указывается в основной надписи чертежа детали;
масса заготовки определяется с учетом припусков на обработку заготовки.
.

4 Выбор вида и определение размеров заготовки
Вид заготовки (литье), из которой должна изготавливаться заданная деталь, указана в рабочем чертеже детали.
Заготовка выбрана таким образом, что ее конфигурация в наибольшей мере соответствует форме заданной детали, что позволяет снизить отходы материала и сократить время обработки. Сокращение времени обработки увеличивает производительность, с учетом большого объема выпуска изделий.
В заготовке учтены припуски на механическую обработку. Для выбранного класса точности (Лт2) по наибольшему габаритному размеру (
180) припуски на одну сторону будут составлять 0,7 мм (Таблица 11) |8|. Припуски следует делать только на точные размеры, то есть точность выполнения которых будет влиять на установку данной детали в соответствующую сборку. Так называемые свободные размеры не требуют учета припусков в заготовке, так как не подвергаются механической обработке.
Общий вид и размеры заготовки приведены на чертеже 108ПК.01 . На общем виде показаны размеры с учетом припусков на механическую обработку. В скобках указаны размеры, которые должны получиться после проведения механической обработки.
5 Разработка маршрутного технологического процесса обработки детал и
Маршрутный технологический процесс – это план обработки детали. Разработку будем вести для составленного ранее технологического процесса. На основе маршрутного технологического процесса разрабатывается маршрутная карта и операционная карта для каждой операции. При определении последовательности операций следует руководствоваться общими правилами:
1) в первую очередь надо обрабатывать поверхности детали, которые являются базами для дальнейшей обработки;
2) затем следует обрабатывать поверхности, с которых снимается наибольший слой материала;
3) операции, при которых существует вероятность брака из-за дефектов в материале или сложности механической обработки;
4) далее последовательность операций устанавливается в зависимости от требований точности поверхности, чем точнее должна быть поверхность, тем позднее она обрабатывается;
5) поверхности, которые должны быть наиболее точными и чистыми, обрабатываются последними.
Таблица 6
Маршрутно-технологический процесс
№ операции, Операционный эскиз |
Наименование операции, Содержание переходов |
Оборудование, приспособления | Инструмент |
005
|
Токарная 1. Установить и закрепить 2. Подрезать торец на проход. (1) 3. Снять деталь и уложить деталь в тару |
Токарно-винторезный станок с ЧПУ 16К20Ф3. 3-хкулачковый патрон. |
Подрезной отогнутый резец (с пластинами из быстрорежущей стали) ГОСТ 18871-73 |
010
|
Фрезерная 1. установить и закрепить 2. фрезеровать поверхность (1), выдерживая размер 11 3. фрезеровать торец (2), выдерживая 4. снять деталь и уложить деталь в тару |
Вертикально-фрезерный станок 6520Ф3. Специальное фрезерное приспособление |
Концевая фреза с цилиндрическим хвостиком ГОСТ 17025-71 |
015
|
Сверлильная 1. установить и закрепить 2. сверлить 5 отверстий Ø11 (1) 3. Цековать 5 отверстий выдерживая размер 11 (2) 4. снять деталь и уложить деталь в тару |
Радиально-сверлильный станок 2554. Специальное сверлильное приспособление |
Сверло спиральное с цилиндрическим хвостиком Ø11 ГОСТ 4010-77. Цековка ГОСТ 26258-87. |
020
|
Токарная 1. установить и закрепить 2. подрезать торец на проход (1) 3. расточить отверстие Ø 32 на длину 35,7 (2) 4. расточить отверстие Ø52 на длину 28 (3) 5. проточить фаску 1×45° (4) 6. снять деталь и уложить деталь в тару |
Токарно-винторезный станок с ЧПУ 16К20Ф3. Приспособление |
Токарно-подрезной отогнутый резец (с пластинами из быстрорежущей стали) ГОСТ 18871-73. Токарный расточной резец с углом в плане φ=95° ГОСТ 18883-73 (исп.2). Токарный проходной прямой резец ГОСТ 18869-73. |
025 |
Слесарная Острые кромки притупить радиусом 0,3 мм или фаской 2×45° |
Верстак | Напильник ГОСТ 1465-80 |
6 Разработка операционного технологического процесса
6.1 Выбор оборудования
В предыдущем разделе данного курсового проекта были установлены план и методы обработки детали. Одновременно с этим необходимо указать на каком станке будет выполняться та или иная операция технологического процесса изготовления детали.
Выбор типа станка прежде всего определяется его возможностью обеспечить выполнение технических требований, предъявляемых к обрабатываемой детали в отношении точности ее размеров, формы и класса шероховатости поверхностей. Если по характеру обработки эти требования можно выполнить на различных станках, выбирают станок, наиболее полно отвечающий следующим требованиям:
1) Соответствие основных размеров обрабатываемой детали габаритам рабочего стола станка.
2) Возможно более полное использование станка по мощности и по времени.
3) Наименьшие затраты времени на обработку.
Токарно-винторезный станок с ЧПУ 16К20ФЗ (С. 16) |6|.
Таблица 7
| Характеристики | Параметры |
Неибольший диаметр обрабатываемой заготовки: над станиной над суппортом |
400 мм 220 мм |
| Наибольший диаметр прутка, проходящего через отверстие шпинделя | 53 мм |
| Наибольшая длинна, обрабатываемой заготовки | 1000 мм |
| Шаг нарезаемой резьбы (метрической) | до 20 |
| Частота вращения шпинделя | 12,5 – 2000 об/мин |
| Число скоростей шпинделя | 22 |
Наибольшее перемещение суппорта поперечное |
900 мм 250 мм |
| Мощность электродвигателя главного привода | 10 кВт |
Габаритные размеры (без ЧПУ): длина ширина высота |
3360 мм 1710 мм 1750 мм |
| Масса | 4000 кг |
Вертикально-фрезерный станок с крестовым столом 6520Ф3.(С. 52) |6|
Таблица 8
| Характеристики | Параметры |
| Размеры рабочей поверхности стола | 250×630 мм |
Наибольшее перемещение стола: продольное поперечное шпиндельной бабки |
500 мм 250 мм 350 мм |
| Расстояние от торца шпинделя до поверхности стола | 100-450 мм |
| Внутренний конус шпинделя | 45 мм |
| Число скоростей шпинделя | 18 мм |
| Частота вращения шпинделя | 31,5 – 1600 об/мин |
| Подача стола (продольная и поперечная) | 5 – 1500 мм/мин |
| Скорость быстрого перемещения стола (продольного и поперечного) | 5000 мм/мин |
| Мощность электродвигателя привода главного движения | 4 кВт |
Габаритные размеры длина ширина высота |
3050 мм 2150 мм 2185 мм |
| Масса (без выносного оборудования) | 3700 кг |
Радиально-сверлильный станок 2554.(С. 21) |6|
Таблица 9
| Характеристики | Параметры |
| Наибольший условный диаметр сверления в стали | 50 мм |
| Расстояние от оси шпинделя до образующей колонны | 375-1600 мм |
| Расстояние от нижнего торца шпинделя до рабочей поверхности плиты | 450-1600 мм |
Наибольшее перемещение: Вертикальное Горизонтальное |
750 мм 1225 мм |
| Конус Морзе отверстия шпинделя | 5 |
| Число скоростей шпинделя | 21 |
| Частота вращения шпинделя | 20 – 2000 об/мин |
| Число подач шпинделя | 12 |
| Подача шпинделя | 0,056 – 2,5 мм/об |
| Наибольшая сила подачи | 20 МН |
| Мощность электродвигателя привода главного движения | 5,5 кВт |
Габаритные размеры Длина Ширина Высота |
2665 мм 1020 мм 3430 мм |
| Масса | 4700 кг |
6.2 Выбор режущего инструмента
Режущие инструменты работают в условиях больших нагрузок, высоких температур, трения и износа, поэтому инструментальные материалы должны удовлетворять особым эксплуатационным требованиям. Материал рабочей части иметь достаточную твердость и высокие допускаемые напряжения на изгиб, растяжение, сжатие и кручение.
Высокие прочностные свойства необходимы, чтобы инструмент обладал сопротивляемостью соответствующим деформациям в процессе резанья, а достаточная вязкость инструмента позволяла воспринимать ударную динамическую нагрузку. Важнейшей характеристикой является износостойкость. Чем выше износостойкость, тем медленнее изнашивается выше его стойкость по выдерживанию размеров. Это значит, что детали, последовательно обработанные одним и тем же инструментом, будут иметь минимальный разброс размеров.
Все виды режущего инструмента состоят из двух основных частей - рабочей части, содержащей лезвия и выглаживатели, и крепежной части, предназначенной для установки и крепления режущего инструмента в технологическом оборудовании или приспособлении.
Токарный отрезной резец из быстрорежущей стали, ГОСТ 18874-73 (С. 121) |6|
Таблица 10
| L, мм | l, мм | H | B, мм | a, мм | r, мм | D, мм |
| 170 | 60 | 20 | 6 | 0,8 | 60 |
Токарно-расточной резец с углом в плане φ = 95°, ГОСТ 18883-73 (С. 123) |6|
Таблица 11
| h, мм | b, мм | L, мм | P, мм | n, мм | l, мм | R, мм |
| 32 | 25 | 280 | 160 | 12 | 25 | 1 |
Токарный проходной прямой резец с пластинами из быстрорежущей стали, ГОСТ 18869-73 (С. 119) |6|
Таблица 12
| L, мм | l, мм | H | B, мм | φ, |
r, мм | m |
| 60 | 30 | 10 | 75 | 0,5 | 3 |
Сверло спиральное с цилиндрическим хвостиком, ГОСТ 4010-77 (С. 145) |6|
Таблица 13
| L, мм | l, мм | |
| 95 | 47 | 11 |
Концевая фреза с цилиндрическим хвостиком, ГОСТ 17025-71 (С. 174) |6|
Таблица 14
| d, мм | L, мм | l, мм | Число зубьев |
| 28 | 121 | 45 | 4 |
6 .3 Расчёт режимов обработки
Расчёт режимов резанья для одной операции.
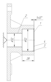
Опишем один переход токарной операции 020 – расточить отверстие Ø52 на длину 28 (С. 265) |6|.
Глубина резания . При чистовом точении припуск срезается за 2 прохода. На втором проходе назначим меньшую глубину резания, чем на первом. При параметре шероховатости Ra = 2,5 (то есть Ra ≥ 0,8) примем:
мм – глубина резания на первом проходе; протачиваем отверстие Ø51,2 мм,
мм – глубина резания на втором проходе; протачиваем отверстие Ø52 мм.
Подача S . При черновом точении принимается максимально допустимой по мощности оборудования, жесткости системы СПИД, прочности режущей пластины и прочности державки. При заданных диаметре круглого сечения резца и глубине резания определим подачу при черновом точении: S = 0,1– 0,2. Примем S = 0,2 мм/об (С. 267 Таблица 12) |6|.
Подачу при чистовом точении выберем в зависимости от требуемых параметров шероховатости обработанной поверхности и радиуса при вершине резца. При r = 0,8 и Ra2,5 подача S = 0,2 мм/об (С. 268 Таблица 14) |6|.
Таким образом, при проведении чернового и чистового точения величину подачи менять не требуется, то есть S = 0,2 мм/об.
Скорость резания υ . При растачивании рассчитывают по формуле:
.
Т = 30 – 60 мин. Принимаем Т = 50 мин – среднее значение стойкости при одноинструментной обработке.
Материал режущей части резца Р18 (без охлаждения).
При подаче S ≤ 0,20:
Таблица 15
![]() |
x | y | m |
| 485 | 0,12 | 0,25 | 0,28 |
Данные коэффициенты приведены для наружного продольного точения. При растачивании принимаем скорость резания, равную скорости резания для наружной обработки с введением поправочного коэффициента 0,9. Окончательно:
,
,
,
(С. 270 Таблица 17) |6|.
Коэффициент
является произведением коэффициентов, учитывающих влияние материала заготовки
, состояния поверхности
, материала инструмента
.
.
- для алюминиевых сплавов (С. 263 Таблица 4) |6|,
- для алюминиевых сплавов (С. 263 Таблица 4) |6|,
- для марки инструментального материала Р18 (С. 263 Таблица 4) |6|.
Окончательно:
.
Тогда скорость резания
при черновом точении:
м/мин.
Переведем
из м/мин в об/мин, используя формулу:
об/мин.
Частота вращения шпинделя токарного станка (ближайшая меньшая):
об/мин.
Рассчитаем фактическую скорость резания по формуле:
м/мин.
С четом паспортных данных станка принимаем
м/мин.
Скорость резания при чистовом точении:
м/мин.
Переведем
из м/мин в об/мин, используя формулу:
об/мин.
Частота вращения шпинделя токарного станка (ближайшая большая):
об/мин.
Рассчитаем фактическую скорость резания по формуле:
м/мин.
С четом паспортных данных станка принимаем
м/мин.
Таким образом, и при черновом и при чистовом точении скорость резания будет равна
м/мин.
Сила резания.
Силу резания Н принято раскладывать на составные силы, направленные по осям координат станка (тангенциальную
, радиальную
и осевую
). При растачивании эти составляющие рассчитывают по формуле:
.
Постоянная
и показатели степени yи n для конкретных условий обработки для каждой из составляющих силы резания (С. 274 Таблица 22) |6|:
Таблица 16
![]() |
![]() |
![]() |
|
| 40 | - | - | |
| y | 0,75 | - | - |
| n | 0 | - | - |
Поправочный коэффициент представляет собой произведение ряда коэффициентов (), учитывающих фактические условия резания (С. 275 Таблица 33) |6.
Таблица 17
![]() |
![]() |
![]() |
|
| 1,08 | 0,44 | 1,82 | |
![]() |
1,1 | 1,4 | 1,4 |
![]() |
1,0 | 1,0 | 1,0 |
![]() |
0,93 | 0,82 | 1,0 |
(С. 265 Таблица 10) |6.
Для тангенциальной составляющей
:
.
Для радиальной составляющей
:
.
Для осевой составляющей
:
.
Так как постоянная
и показатели степени yи n для радиальной и осевой сил отсутствуют, рассчитаем только тангенциальную силу резания:
Н.
Мощность резания . Рассматривают по формуле:
кВт.
Мощность электродвигателя главного привода – 10 кВт. Следовательно, обработку данной детали можно сделать на выбранном станке.
6.4 Нормирование
Проведем нормирование для токарной операции, рассмотренной выше.
Технической нормой времени называется время, необходимое для выполнения технологической операции. Различают нормы штучного и штучно-калькуляционного времени. В условиях, когда станок не переналаживается для других операций или когда переналадка выполняется во внерабочее время, основной расчетной единицей является штучное время, то есть время на обработку одной заготовки |3|.
Состав штучного времени:
, где
- основное (технологическое) время,
- вспомогательное время,
– время обслуживания рабочего места,
- время перерывов на отдых и т. д.
Основное время вычисляется на основании принятых режимов резания в зависимости от размеров обрабатываемых поверхностей. При токарной обработке:
, где
– длина детали (длина рассчитываемого отверстия),
и
- врезание и пробег резца соответственно,
S – подача, n – частота вращения детали, i – число проходов для снятия припуска.
.
Вспомогательное время – время на установку, закрепление и снятие заготовки, управление станком, измерение детали. Элементы вспомогательного времени определяют по отраслевым или заводским нормативам. В нашем случае вспомогательное время при креплении детали тремя болтами без выверки:
мин (С. 38) |5|,
мин (С.70) |5|,
от оперативного времени = 0,175 мин (С.70) |5|.
Для упрощения подсчета штучного времени воспользуемся формулой:
, где
- оперативное время, α, β и γ – коэффициенты, которые принимаются по отраслевым или заводским нормативам и имеют значения в пределах:
%,
%,
%.
Принимаем:
%,
%,
%.
мин.
Тогда штучное время:
мм.
Расчет заработной платы, входящей в себестоимость продукции, производится на основании штучно-калькуляционного времени, которое определяется по формуле:
, где
- штучное время в мин, - подготовительно-заключительное время на партию деталей в мин, n – количество деталей в партии.
Подготовительно-заключительное время - это время, затрачиваемое рабочим на ознакомление с заданием и чертежом, подготовку рабочего места, наладку оборудования, установку и снятие приспособления. Элементы принимают по нормативам в зависимости от выполняемых работ, типа станка и т.д.
мин (С. 64) |5|.
Количество деталей в партии можно определить исходя из годовой программы выпуска данных деталей N, запаса деталей в днях (сутках)
и числа рабочих дней в году
:
.
Время
в условиях работы серийных заводов примем
дней.
Число рабочих дней в году
дней.
Тогда количество деталей в партии:
штук.
Штучно-калькуляционное время:
мин.
Полученные из нормативов и в результате расчетов значения
,
,
(
) и внесем в соответствующие графы маршрутной и операционной карт.
7. Проектирование специального станочного приспособления
Станочное приспособление - это не имеющее формообразующих средств вспомогательное орудие производства, предназначенное для установления в нем заготовок с целью изготовления детали на механическом оборудовании.
7.1 Выбор схемы базирования детали в приспособлении.
Для обеспечения требуемой точности обработки заготовке должно быть предано строго определенное положение относительно режущего инструмента. Наиболее часто установку выполняют, осуществляя плотный контакт базовых поверхностей заготовки с установочными элементами приспособления, которые жестко закреплены в его корпусе. Это обеспечивает приложение к заготовке соответствующих зажимных сил.
Как и любое твердое тело, заготовка обладает шестью степенями свободы в пространстве линейными перемещениями по трем взаимно перпендикулярным осям и вращения относительно этих осей. На этой основе сформулировано «правило шести точек», которым следует руководствоваться при разработке схемы установки и закрепления заготовки в приспособлении. «Правило шести точек» формулируется так: для устойчивого положения заготовки в приспособлении необходимо иметь шесть жестких опорных точек: три - в основной установочной плоскости, две - в направляющей плоскости и одну - в упорной (Рисунок 1).

Рис.1 - Схема базирования заготовки по плоским поверхностям.
Руководствуясь этим правилом, необходимо выбрать схему базирования детали для операции сверления отверстия. Анализируя различные варианты базирования детали, была выбрана следующая схема, представленная на рисунке 2.
Специализированное наладочное приспособление для растачивания центрального отверстия различных диаметров.

Рис. 2– Специализированное наладочное приспособление для растачивания центрального отверстия
7.2 Разработка конструктивной схемы приспособления
Выбирая схему приспособления нужно учитывать следующее:
1) Максимальное использование нормативных сборочных единиц и конструкций;
2)Обеспечение наименьшей величины времени на установку и закрепление обрабатываемых деталей при достижении требуемой точности обработки.
Выбранная схема приспособления обеспечивает точное и надежное крепление заготовки в приспособлении. Детали, входящие в состав приспособления, достаточно просты в изготовлении.
Чертеж приспособления с условным положением обрабатываемой детали в нем приведён на чертеже 108.ПК.01
7.3 Определение усилий закрепления детали
Зажимные механизмы (ЗМ) предупреждают перемещение заготовок относительно опор станочного приспособления. Силу закрепления Рз определяют из условия равновесия силовых факторов, действующих на заготовку.
Рассмотрим закрепление заготовки. Заготовка cдиаметром базы
установлена с гарантированным зазором на цилиндрическую оправку и закреплена по торцам. Заготовка нагружена крутящим моментом. Расчетная схема для вычисления сил закрепления приведена на рисунке 3.

Рис. 3 -Расчётная схема
Сила закрепления в данном случае определяется по формуле (С. 81) |6|:
, где
Коэффициент запаса К вводят в формулы при вычислении силы Рз для обеспечении надежного закрепления заготовки:
.
Коэффициент гарантированного запаса
.
Коэффициент
учитывает увеличение сил резания из-за случайных неровностей на обрабатываемых поверхностях.
при чистовой обработке.
Коэффициент
характеризует увеличение сил резания вследствие затупления режущего инструмента.
при чистовом растачивании.
Коэффициент
учитывает увеличение сил резания при прерывистом резании.
.
Коэффициент
характеризует постоянство силы закрепления в ЗМ.
.
Коэффициент
характеризует эргономику ручных ЗМ. При удобном расположении и малом угле поворота рукоятки
.
Коэффициент
при установке на опорные пластины
.
.
Коэффициент f определяется из условия трения.
.
R = 131,6 – сила резания.
Крутящий момент
Н·м.
Н.
7.4 Основные указания по изготовлению, монтажу и безопасной эксплуатации приспособления.
1) Наружные элементы конструкций станочного приспособления не должны иметь поверхностей с неровностями (острые кромки, углы и др.), представляющими источник опасности, если их наличие не вызывает функционального назначения. Радиусы округлений, размеры фасок наружных поверхностей должны быть не менее 1 мм (если они не оговорены особо).
2) Параметры шероховатостей наружных поверхностей вращения патронов, оправок, планшайб и других приспособлений не должны превышать Ra=1,25 по ГОСТ 2789-73.
3) Способ соединения станочного приспособления со станком и со сменными наладками должны исключать возможность самопроизвольного ослабления крепления, а так же смещения станочного приспособления и сменных наладок в процессе эксплуатации.
4) Конструкция станочного приспособления должна обеспечивать свободное удаление СОЖ и стружки, а так же загрязненного воздуха из зоны обработки, если в рабочей зоне возможно появление вредных аэрозолей, газов, концентрация которых превышает норму, установленную ГОСТ 12.1.05-76.
5) Должны обеспечиваться безопасность установки и снятие заготовок, устраняющая возможность их самопроизвольного падения на опоры.
6) Станочное приспособление массой до 16 кг должны иметь конструктивные элементы для безопасной и удобной их установки и снятия вручную.
7) В станочном приспособлении должно предусматриваться возможность периодического смазывания всех трущихся поверхностей с помощью смазочных каналов.
8) Не допускается уплотнение краской, лаком и подобными средствами устройств, которые периодически вскрываются при регулировании и наладке.
9)
Требования к зажимным механизмам приспособлений:
1) Усилия закрепления заготовок (если они не установлены стандартами) берутся с коэффициентами запаса k= 0,25.
2) Зажимы рукоятки не должны создавать опасности при работе станка. Перемещения рукояток немеханизированных зажимных механизмов не должны быть направлены в зону обработки.
7.5 Обеспечение конструкторской и технической документации в соответствии с ЕСКД и ЕСД.
Стандарты ЕСКД и ЕСТД обеспечивают наиболее рациональное распределение информации в конструкторской документации, необходимой для производства изделия.
Под технологической документацией понимают комплект документов, предназначенных для разработки технологических процессов и операций, обеспечивающих описание всех выполняемых действий в технологической последовательности с указанием необходимых действий в технологической последовательности с указанием необходимых данных по применяемым материалам, средствам технологического оснащения, трудозатратам, технологическим режимам, по настройке и наладке оборудования и другой информации.
Технологическая информация и документация подразделяются на документы общего и специального назначения.
К документам специального назначения относятся документы, применяемые для разработки технологических (операций), специализированных по технологическим методам изготовления, например операционная карта и д.р.
Маршрутная карта – это документ, предназначенный для указания сводных данных по составу применяемых операций, оборудованию, технологической документации и по трудозатратам на технологический процесс.
Маршрутная карта является унифицированным и обязательным документом в комплекте документов на процесс, позволяющем его применять и для описания операций в маршрутном или маршрутно-операционном изложении.
Операционная карта – документ, предназначенный для операционного описания единичных технологических операций. Входит в состав комплекта документов на технологические процессы.
К конструкторским документам относят графические и текстовые документы, которые в отдельности или совокупности определяют состав и устройство изделия и содержат необходимые данные для его разработки или изготовления, контроля, приемки, эксплуатации и ремонта.
В данном курсовом проекте применяются следующие виды конструкторских документов:
1) чертеж детали – документ, содержащий изображение детали и другие данные, необходимые для ее изготовления и контроля;
2) пояснительная записка – документ, содержащий описание устройства, принципа действия разрабатываемого объекта, а так же обоснование принятых при его разработке технических и технико-экономических решений.
Заключение
В данной курсовой работе первая часть была посвящена разработке и обоснованию технологического процесса изготовления заданной детали с учетом обеспечения высокого качества ее получения методами механической обработки на реальном оборудовании.
Вторая часть курсовой работы была посвящена разработке специального станочного приспособления, обеспечивающего возможность механизации технологического процесса изготовления заданной детали.
Список использованных источников
1. Проектирование технологических процессов механической обработки деталей летательных аппаратов. Учебное пособие. / А.Д. Комаров, А.С. Беляев, М.Д. Рудман, И.Н. Желтов. СГАУ, Куйбышев, 1985, 48 с.
2. Проектирование специальных станочных приспособлений. Учебное пособие. / А.Д. Комаров, И.Н. Желтов, М.Д. Рудман, В.К. Моисеев. СГАУ, Самара, 1994, 59 с.
3. Обработка деталей на металлорежущих станках в авиастроении. Учебное пособие. / А. Д. Комаров, А. С. Беляев, В. К. Моисеев, В. В. Шалавин. СГАУ, Самара, 1998, 88с.
4. Станочные приспособления: Справочник: в 2 т. /Под ред. Б.Н. Вордашкина, В.В. Данилевского.- М.: Машиностроение, 1984, 656с.
5. Общемашиностроительные нормативы времени. Серийное производство. Издание второе, уточненное и дополненное. М.: Машиностроение, 1974, 424 с.
6. Справочник технолога-машиностроителя. Том 2. А.Г. Косилова и Р.К. Мещерикова. -М.: Машиностроение, 1985. 648 с.
7. Авиационные материалы. Справочник в 9 томах. Т. 2 / под ред. Р. Е. Шалина, М., 1986.
8. Допуски и припуски на отливки из цветных сплавов (ПЛА).








