| Скачать .docx |
Реферат: Обработка материалов давлением
Лабораторная работа №8
Обработка материалов давлением
Цель работы
Ознакомиться с назначением, областями применения и основными технологическими показателями процессов обработки металлов (материалов) давлением. Получить представление о важнейших закономерностях, применяемом оборудовании и технологических особенностях различных видов обработки.
ОБЩИЕ ПОЛОЖЕНИЯ
Студенты должны изучить методический материал лабораторной работы. Ознакомиться с физическими основами обработки материалов давлением, назначением и особенностями этих технологий. Получить представление о существующем оборудовании.
Теоретическая справка
Обработкой материалов давлением называется процесс воздействия на них внешних сил, под влиянием которых материал (металл) в результате остаточных деформаций меняет свою форму в желаемом направлении без разрушения. Одновременно происходит изменение структуры материала и его механических и физических свойств.
Такое необратимое изменение формы называется пластической деформацией.
На пластичность металлов оказывает влияние: температура, химический состав, структура, скорость деформации и другие факторы.
Температура. Деформация металла при температурах ниже 0,3 абсолютной температуры плавления называется холодной, а при температурах 0,65 – 0,75 абсолютной температуры плавления – горячей.
При деформировании в холодном состоянии механические и физико-химические свойства металла непрерывно изменяются: твердость, прочность и хрупкость его непрерывно увеличиваются, а пластичность, вязкость, коррозионная стойкость и электропроводность уменьшаются. Это изменение свойств, связанное с деформацией в холодном состоянии, называют наклепом, а металл с деформированной в процессе обработки давлением микроструктурой называют наклепанным.
При нагревании металл постепенно переходит из неустойчивого состояния наклепа в устойчивое равновесное состояние, причем этот процесс сопровождается изменением в структуре и свойствах металла. В начале нагревания в наклепанном слое уменьшаются твердость и прочность, возрастает пластичность. Этот процесс называют возвратом металла. При дальнейшем нагреве из обломков деформированных зерен возникают новые зерна, имеющие неискаженную кристаллическую решетку. Процесс образования новых зерен называют рекристаллизацией.
Химический состав. С увеличением в стали содержания углерода, фосфора и серы, марганца и кремния пластичность уменьшается, а при увеличении в ней никеля и ванадия – увеличивается. Различную пластичность имеют и различные металлы.
Скорость деформации. С увеличением скорости деформации сопротивление металла деформированию увеличивается. При скоростях деформации больше предельно допустимых происходит разрушение деформируемого металла.
Температурные интервалы. Для каждого металла и сплава температура горячей обработки имеет свой верхний и нижний пределы, образующие область нагрева, называемую температурным интервалом обработки. При температуре выше верхнего предела происходит пережог металла, он становится годен только на переплавку; при температурах ниже нижнего предела имеет место наклеп.
Нагревательные устройства. Нагрев металла для горячей обработки производится в горнах, пламенных и электрических печах с помощью контактных и индукционных нагревателей.
Горн является простейшим нагревательным устройством и применяется главным образом при ручной ковке.
В зависимости от характера температур в рабочем пространстве печи делятся на камерные и методические. В камерных печах температура одинакова на всем рабочем пространстве. В методических печах нагрев заготовок осуществляется постепенно, по заданному режиму.
Прокатка, волочение, прессование, ковка, штамповка представляют собой различные виды обработки металлов давлением в пластическом состоянии.
Прокатка металлов
Прокаткой называется вид обработки давлением, при котором процесс деформации металла осуществляется сдавливанием его между вращающимися цилиндрами (валками). При прокатке сдавливаемый металл вытягивается в продольном направлении, сжимаясь в вертикальном и уширяясь в поперечном направлении. Окончательный размер и форма поперечного сечения, полученного прокаткой изделия, определяются профилем отверстия между сжимающими металл валками. Существуют три основных способа прокатки: продольная, поперечная и поперечно-винтовая (косая).
Прокаткой обрабатывается сталь, цветные металлы и их сплавы.
При продольной прокатке деформирование заготовки осуществляется между вращающимися в разные стороны валками (рис.1).
Непрерывное втягивание металла в щель между вращающимися валками и изменение размеров полосы обеспечивается наличием контактного трения между обрабатываемой полосой и рабочей поверхностью валков.
Рис.1. Схема процесса продольной прокатки
1,3 – валки; 2 – заготовка.
Из простейшей схемы поперечной прокатки видно, что оси прокатных валков 1 и 3 обрабатываемой заготовки 2 параллельны (или пересекаются под небольшим углом) (рис.2). Оба валка вращаются в одном направлении, а заготовка круглого сечения – в противоположном.
Обжатие заготовки по диаметру и придание ей требуемой формы сечения обеспечиваются соответствующей профилировкой валков и изменением расстояния между ними. Данным способом производят изделия, представляющие собой тела вращения (шары, оси, шестерни и др.).

Рис.2. Схема процесса поперечной прокатки
1,3 – валки; 2 – заготовка
Поперечно-винтовая или косая прокатка выполняется во вращающихся в одном направлении валках, установленных в прокатной клети под некоторым углом друг к другу (рис.3). Способ используется при производстве труб, главным образом для прошивки слитка или заготовки в гильзу. В момент соприкосновения металла с вращающимися валками, имеющими наклон к оси заготовки, возникают силы, направленные вдоль оси заготовки, и силы, направленные по касательной к ее поперечному сечению. Совместное действие этих сил обеспечивает вращение, втягивание обрабатываемой заготовки в суживающуюся щель и деформирование.

Рис.3. Схема процесса косой прокатки
Прокатка производится на специальных машинах – прокатных станах, устройство которых зависит от вида прокатываемых изделий и их размеров. Прокатные станы классифицируются:
- по числу валков ( два валка – дуостаны; три валка – триостаны и т.д.);
- по направлению вращения валков (постоянное или переменное);
- по конструкции валков ( гладкие или ручьевые);
- по назначению (обжимные, черновые, сортовые, листовые и др.);
- по размеру (мелкосортные, средне и крупносортные).
Прокатные станы по характеру выпускаемой продукции разделяются на обжимные, сортовые, листопрокатные, трубопрокатные, периодического проката, определенного назначения.
Обжимные станы служат для подготовки слитков к последующей их обработке давлением. Эти станы разделяются на блюминги и слябинги . Первые – это реверсивные мощные двухвалковые или трехвалковые станы, служащие для подготовки из слитков стальных заготовок (блюмов) для последующего проката сортовых материалов. В процессе прокатки кусок металла должен переворачиваться.
Слябинги служат для проката из слитков стали листовых заготовок (слябов) толщиной 75 – 300 мм и шириной 400 – 1600 мм.
Сортовые станы служат для получения металлических полос, прутков и балок с различными профилями поперечных сечений.
Холодная прокатка и волочение.
Холодную прокатку применяют для получения тонких изделий: листов малой толщины, стальных полос и др. Холодную прокатку обычно производят на реверсивных и непрерывных станах, валки которых должны быть закаленными, а поверхность совершенно гладкой. В процессе прокатки металл наклепывается; для устранения наклепа металл подвергается отжигу.
Волочением называется особый вид обработки металлов давлением, при котором обрабатываемый металл, обычно в холодном состоянии, протягивается через отверстие волочильной доски - глазок специального инструмента (рис.4). Если глазки выполнены вставными, то они называются фильерами. Сечение отверстия меньше сечения протягиваемой заготовки. Волочением получают проволоку с минимальным диаметром 0,002 мм, прутки диаметром до 100 мм, причем не только круглого сечения, трубы (обычно небольшого диаметра и с тонкой стенкой). Изделия, получаемые волочением, обладают высоким качеством поверхности и точностью размеров поперечного сечения. Если изделию требуется придать в основном эти характеристики, то такой вид обработки называют калибровкой.
Рис.4. Схема процесса волочения
Прессование металла.
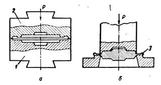
Процесс прессования представляет собой выдавливание металла, помещенного в замкнутую полость контейнера, через отверстие матрицы (Рис.5).

Рис. 5. Схема прессования деталей прямым (а) и обратным (б) способом
1 – матрица; 2 – приемник.
Прессование выполняется в условиях наиболее благоприятной схемы напряженного состояния – неравномерного трехосного сжатия. Поэтому данным способом обрабатывают металлы, деформирование которых другими способами из-за низких природных пластических свойств не представляется возможным. Однако прессованием получают изделия и из металлов с высокими пластическими свойствами, что объясняется рядом преимуществ данного вида обработки.
Основным признаком разновидностей процесса прессования является наличие или отсутствие поступательного перемещения металла относительно стенок приемника.
Техосное сжатие, имеющее место при прессовании, вызывает необходимость значительных усилий при обработке, и, как следствие, повышенный расход энергии на единицу объема деформируемого тела.
Разнообразие металлов и сплавов, обрабатываемых прессованием, и богатый сортамент изделий требует наличия таких машин-орудий, которые позволяли бы в широких пределах регулировать условия обработки. Наибольшее распространение получили прессы с гидравлическим приводом (обычно горизонтальные).
Достоинства процесса прессования – высокая точность и большая производительность; недостатки – сильный износ матриц, а следовательно, их большой расход.
Ковка и штамповка.
Пластическая обработка металлов прерывистым воздействием универсального инструмента или соответствующей рабочей частью универсального инструмента (штампа) для придания телу заданной формы и размеров называется в первом случае ковкой, а во втором – штамповкой .
Для процессов ковки исходными материалами являются слитки, масса которых может составлять от 1-2 кг до 250-350 т, и прокатные заготовки. Для горячей штамповки используют кованные, прокатанные и прессованные заготовки, жидкий металл. При листовой штамповке исходный материал – это горяче- и холоднокатанные листы и ленты из различных металлов, сплавов и других материалов.
Для получения изделий ковкой исходный продукт обрабатывают многократным прерывистым воздействием универсального инструмента – молота или пресса. Смещаемый объем деформируемого тела по высоте свободно перемещается по контактной поверхности инструмента. Ковка находит применение при единичном и мелкосерийном производстве и выполнении ремонтных работ.
Основные операции ковки.
1) Осадка – процесс уменьшения высоты заготовки с одновременным увеличением площади ее поперечного сечения (Рис.6,а). Осадку производят для устранения литой структуры, получения поковок с относительно малой высотой и как предварительную операцию перед прошивкой при изготовлении барабанов, колец и др. Осадка не всей, а только части заготовки называется высадкой (Рис.6,б).
2) Вытяжка – это удлинение заготовки или ее части за счет уменьшения площади поперечного сечения (Рис.6,в). Протяжку и ее разнообразные варианты используют при производстве гладких, ступенчатых, коленчатых валов и др. изделий.
3) Гибку и кручение (Рис.6,г,ж). Производят с помощью специальных приспособлений. Заготовки нагреваются частично в местах, подлежащих деформации.

Рис.6. Схема основных операций свободной ковки
а – осадка; б – высадка; в – вытяжка; г – кручение; д – рубка; е – прошивка; ж – гибка; з – сварка.
4) Рубка –это отделение части заготовки в нагретом или холодном состоянии с помощью зубила или кузнечного топора (Рис.6,д).
5) Прошивка – операция получения полостей в заготовке за счет вытеснения металла (Рис.6, е). Она может выполняться сплошным прошиванием на молотах или прессах, при этом прошиваемая поковка поворачивается на 180о .
6) Сварка – соединение двух концов заготовки или двух заготовок (Рис.6, з). Сварка применяется обычно при ремонтных работах.
В настоящее время применяют главным образом механическую ковку на молотах и прессах. В первом случае нужную деформацию металла производят резкими ударами падающих частей молотов. Во втором случае эта деформация осуществляется медленным давлением на прессе.
Ковочные молоты разделяются по способу подъема бойка на приводные (механические), пневматические и паровоздушные. Мощность молотов характеризуется весом их падающих частей.
Более распространены для изготовления поковок весом 20 – 200 кг пневматические и паровоздушные молоты.
Штамповку выполняют с использованием специального инструмента – штампа, который состоит из двух частей и более. Полости штампа называют ручьями . Заготовка, деформируясь в ручьях, заполняет полости и принимает форму поковки. Течение металла при штамповке принудительно ограничивается поверхностями инструмента, что вызывает перераспределение объема заготовки. Точность размеров штампованных поковок примерно вдвое выше точности размеров кованых поковок. Поверхности получаются более чистыми и ровными.
Штамповка бывает горячей и холодной, объемной и листовой.
Горячей штамповкой называется процесс получения с помощью специальных штампов из нагретых заготовок изделий, называемых штампованными поковками. Горячую штамповку выполняют двумя методами: облойным ( с заусенцем) в открытых штампах и безоблойным ( при отсутствии заусенца) в закрытых штампах. Сущность облойного метода заключается в том, что поковка по месту разъема штампа вследствие избытка металла получается с заусенцем (Рис.7).

Рис.7. Схемы штамповки (а) и обрезки заготовки (б).
1- матрица; 2- пуансон; 3- заусенец (облой).
Штамп состоит из двух частей: нижняя часть (матрица) 1 прикрепляется к наковальне, а верхняя часть ( пуансон) 2 – к верхнему бойку. Заготовка помещается в ручей нижней части штампа и при ударах металл заполняет ручей (рис.7,а). Так как трудно подготовить заготовку для штамповки объемом, точно соответствующим объему ручья, то для уверенности в том, что ручей будет заполнен полностью, объем заготовки должен быть несколько больше объема ручья штампа. Излишек металла выдавливается из ручья в особые выемки, устроенные в поверхностях разъема частей штампа. При этом у поковки образуется заусенец (облой) 3, который в дальнейшем обрезается в обрезном штампе (рис.7,б) в холодном или горячем состоянии поковки.
Штамповку производят на молотах, прессах, горизонтально-ковочных машинах, электровысадочных машинах и гибочных машинах, а также такими способами, как раскатка, ротационная ковка и пр.
Штамповка на молотах. При штамповке на молотах можно быстро и многократно деформировать заготовку в каждом ручье, осуществлять чрезвычайно трудоемкие операции и большие суммарные деформации. По этим причинам парк штамповочных молотов занимает ведущее положение.
Существуют различные виды молотов: паровоздушные молоты, фрикционные молоты с доской и др.
Штамповка на прессах. Штамповчно-кривошипные прессы по сравнению с молотами имеют более высокий КПД, отличаются быстроходностью, жесткостью всей конструкции и наличием мощных механических выталкивателей, используемых для удаления поковок из ручьев штампа при обратном ходе ползуна. Преимущества способа по сравнению со штамповкой на молотах заключаются в более высоком качестве поковок, экономии металла, более высокой производительности и низких эксплуатационных расходах.
Штамповка на горизонтально-ковочных машинах. Данные машины представляют собой кривошипные прессы с перемещением главного и зажимного ползунов в горизонтальной плоскости. Способ применяют при значительных программах изготовления поковок, имеющих вид колец, втулок и дисков с отверстиями, а также для высадки фланцев и других утолщений в деталях с цилиндрическим стержнем.
Достоинством штамповки на горизонтально-ковочных машинах является, помимо высокой производительности, - возможность получать точные поковки почти без заусенцев и без штамповочных уклонов на внешних поверхностях поковки.
Листовая штамповка . Листовая штамповка (ЛШ) предназначается для получения изделий из листового, полосового металла и других металлов без значительного изменения толщины заготовки. Изделия, получаемые ЛШ, широко применяют в транспортном и с/х машиностроении, авиационной промышленности, приборостроении и др.
ЛШ обеспечивает производство деталей с достаточно высокой точностью, хорошим качеством поверхности, что позволяет во многих случаях применять их непосредственно в изделиях.
В качестве исходных материалов при ЛШ используют все способные деформироваться технические металлы и их сплавы в виде лент, листов, полос. Штамповке подвергают также картон, кожу, пластмассы и другие материалы.
ЛШ бывает горячая и холодная. Холодная ЛШ бывает разделительная и формоизменяющая. При разделительной штамповке выполняется отрезка, вырубка, надрезка и зачистка; при формоизменяющей – гибка, вытяжка, обжим отбортовка и др. операции.
Холодная штамповка. Холодной штамповкой (ХШ) называется процесс получения изделий в штампах без предварительного нагрева металла.
ХШ изготавливают разнообразные металлические детали при массовом их производстве (детали самолетов, автотракторные детали).
Широкое внедрение ХШ объясняется высокой производительностью процесса, низкой стоимостью изготовления деталей, их точностью и взаимозаменяемостью.
Различают наиболее характерные виды ХШ:
1) Холодная штамповка и выдавливание из калиброванных прутков и проволоки от 0,6 до 40 мм винтов, гаек, болтов, колец и других мелких металлических изделий из низкоуглеродистой стали, цветных металлов и их сплавов. Производится главным образом на холодновысадочных и универсальных автоматах.
2) Вырезка из листа, полосы и ленты плоских деталей различного контура, которые в большинстве случаев являются заготовками для последующих операций. Штамп для вырезки имеет пуансон и матрицу, рабочие кромки которых производят срезание листового материала.
3) Вальцовка – получение из листовых заготовок волнистой поверхности и других различных выступов
4) Вытяжка – это процесс превращения плоской заготовки в полую деталь.
5) Штамповка взрывом применяется при малых программах выпуска деталей различных форм и значительных размеров, изготавливаемых из цветных сплавов, стали и трудно деформируемых материалов.
Штамповка радиальным обжатием (ротационная ковка).
Обжатием на ротационно – и радиально-обжимных машинах обрабатывают осесимметричные изделия с вытянутой осью, с нагревом исходной заготовки или в холодном состоянии и с широким диапазоном размеров.
Схема действия ротационно-обжимных и радиально-обжимных машин показана на рис.8.

Рис.8. Схема действия машин: ротационно-обжимных (а), радиально-обжимных (б)
1 – боек; 2 – заготовка; Е – регулируемый эксцентрик.
Обработка производится способами раздельного (на машинах с постоянной степенью сжатия) и профильного обжатия (на машинах с переменной степенью обжатия). Форма и точность поковки обеспечиваются при первом способе формой и размерами ручья бойков в закрытом состоянии, при втором – периодическим изменением закрытой высоты между бойками и величины подачи заготовки.
Точность обработки при горячем обжатии соответствует 9…12-му квалитету, а при холодном – 3 … 5-му квалитету. Шероховатость поверхности достигает при горячем обжатии Ra = 6,3…2,5 мкм, при холодном - Ra = 0,63…0,32 мкм.
На легких ротационно-обжимных машинах обрабатывают швейные иглы диаметром до 0,3 мм, а на тяжелых – стальные трубы диаметром до 320 мм и сплошные ступенчатые валы диаметром до 250 мм.
Контрольные вопросы
1) Что такое обработка металлов давлением? Какие физические явления лежат в ее основе?
2) Какие факторы влияют на пластичность при обработке давлением?
3) Что такое температурные интервалы горячей обработки и какие нагревательные устройства Вы знаете?
4) Что такое прокатка металла? Какие виды прокатки Вы знаете?
5) Что такое волочение металлов? Какое оборудование для этого применяется?
6) Что такое прессование металла, где оно применяется и какие схемы прессования Вы знаете?
7) Ковка и штамповка, чем различаются эти операции, их назначение. Каковы характеристики исходных материалов для ковки и штамповки?
8) Дайте характеристику основным технологическим операциям ковки (штамповки). Нарисуйте схему обработки.
и) Что такое ротационная ковка? Для чего она применяется и каковы ее основные схемы?
Литература.
1. Технология прокатного производства, кн.2. /Беняковский М.А., Богоявленский К.Н., Виткин А.И. и др. М.: Металлургия, 1991, 423 с.
2. Сторожев М.В. Ковка и объемная штамповка стали, Т.2. М.: Машиностроение, 1968. 429 с.
3. Паничев М.Г., Мурадян С.В. Организация и технология отрасли. – Ростов н/Д: Феникс, 2001. – 448 с.
