| Скачать .docx |
Курсовая работа: Курсовая работа: Расчет и обоснование привода
1. Кинематический и силовой расчет привода
1.1 Выбор электродвигателя
Общий коэффициент полезного действия привода
![]()
где h общ – общий КПД привода
h м1 – КПД упругой муфты, h м1 = 0,99 ;
– КПД конической передачи, h
кон
= 0,97
h цп – КПД зубчатой цилиндрической передачи, h цп = 0,975 ;
h м2 – КПД упругой муфты, h м2 = 0,99 ;
h оп – КПД подшипников качения, h оп = 0,99
![]()
Примечание: значение КПД см. [Журнал лабораторных работ, табл. 2]
Мощность на рабочем органе
![]()
![]()
Частота вращения рабочего органа
![]()
Потребная частота вала электродвигателя
где: uТ =3 – значение передаточного числа тихоходной ступени цилиндрической передачи;
uБ =5 – значение передаточного числа быстроходной ступени ступени цилиндрической передачи.
1.2 Определение общего передаточного числа привода и разбивка его по ступеням, из условия получения минимальных габаритов
Общее передаточное число привода
![]()
Передаточное число редуктора
![]()
т. к. отсутствуют ременная и цепная передачи
Передаточное число тихоходной ступени редуктора
![]()
Передаточное число быстроходной ступени редуктора
![]()
Принятое передаточное число редуктора
Принимаем стандартные значения Uб =3.55 и Uт =5 [Журнал лабораторных работ, табл. 6]
![]()
Относительная погрешность передаточного числа редуктора

2.1 Тихоходная ступень
Выбор материала и термической обработки
Принимаем:
Колесо – Ст 45 улучшение;
HB4
240…285; ![]()
![]()
Шестерня – Ст 40Х улучшение; HB3
260…280; ![]()
![]()
Примечание: марки материалов и рекомендуемые твёрдости см. [Журнал лабораторных работ, табл10]
Допускаемые контактные напряжения при расчете на контактную выносливость
Эквивалентное время работы

Эквивалентное число циклов нагружения
для колеса ![]()
для шестерни ![]()
Базовое число циклов нагружения
для колеса ![]()
для шестерни ![]()
Коэффициенты долговечности:
для колеса
, ![]()
для шестерни 
![]()
Базовый предел контактной выносливости
для колеса ![]()
для шестерени ![]()
Смотри [Журнал лабораторных работ, табл 11]
Допускаемые контактные напряжения
для колеса ![]()
для шестерни ![]()
SH =1.1 коэффициент безопасности, см. [Журнал лабораторных работ, табл. 11]
Расчетное допускаемое напряжение
т. к.
, то ![]()
Допускаемые напряжения изгиба при расчете на изгибную выносливость (усталость)
Эквивалентное время работы
при HBср <350

Эквивалентное число циклов нагружения
для колеса ![]()
для шестерни ![]()
Коэффициенты долговечности:
для колеса
, ![]()
для шестерни
т. к. ![]()
Базовый предел изгибной выносливости
для колеса ![]()
для шестерни ![]()
Примечание: см. [Журнал лабораторных работ, табл. 11]
Допускаемые напряжения изгиба при расчете на усталость
для колеса 
для шестерни 
SF =1.75-коэффициент безопасности, см. [Журнал лабораторных работ, табл. 11]
где KFC =1 – коэффициент реверсивности.
Допускаемые напряжения для проверки прочности зубьев при перегрузках
Допускаемые контактные напряжения при перегрузках моментом Тmax .
для колеса ![]()
для шестерни![]()
Допускаемые напряжения изгиба при перегрузках моментом Тmax .
для колеса ![]()
для шестерни![]()
Межосевое расстояние
Межосевое расстояние косозубой тихоходной ступени из условия контактной выносливости

![]()
см. [Балдин, Галевко; стр. 37; табл 2.3]
см. [Балдин, Галевко; стр. 30; рис 2,11]
Округляем до стандартного значения aω =160 мм., См. [Журнал лабораторных работ, табл. 9]
Нормальный модуль
См. [Журнал лабораторных работ, табл. 9]
Принимаем по ГОСТу m=2,5.
Число зубьев для косозубой передачи тихоходной ступени

Принимаем:
![]()

Уточняем угол наклона зубьев: ![]()
β=arccosβ=10° 8' 30.46»
Действительное передаточное число
![]()
Относительная погрешность
![]()
![]()
Делительные диаметры шестерни и колес
![]()
![]()
Диаметр окружности выступов
для шестерни ![]()
для колеса ![]()
Диаметры окружности впадин
для шестерни ![]()
для колеса ![]()
Ширина зубчатых колес
для колеса ![]()
для шестерни ![]()
Определение слабого элемента при расчете на изгибную выносливость.
Эквивалентное число зубьев:
![]()
![]()
Коэффициент формы зуба:
![]()
![]()
Приложение: См. [Балдин, Галевко; стр. 43; рис 2.13]
Сравниваем: ![]()
![]()
Вывод: слабым элементом является зуб колеса, т.е. расчет на изгибную выносливость необходимо вести по колесу, [σF ]4 =257,14 МПа.
Определение расчетной нагрузки.
Удельная нагрузка на единицу длины зуба:
![]()
см. [Балдин, Галевко; стр. 33; Табл 2.2]
![]()
![]()
Примечание: см. [Балдин, Галевко; Стр. 30,32; рис 2.11, Табл 2.1]
Определение действующих напряжений изгиба для зуба колеса.
МПа
yβ =cosβ – коэффициент, учитывающий наклон зуба;
Коэффициент, учитывающий перекрытие зубьев:
![]()
![]()
Вывод:
следовательно работоспособность по изгибной выносливости обеспечена.
Проверочный расчет зубьев на контактную выносливость.
Определение окружной скорости в зацеплении и степени точности передачи
![]()
Принимаем 9 степень точности.
Определение расчетной нагрузки при расчете на контактную выносливость.
![]()
– коэффициент распределения между зубьями.
см. [Балдин, Галевко; стр. 33; Табл 2.2]
![]()
– коэффициент динамической нагрузки.
Примечание: см. [Балдин, Галевко; Стр. 30,32; рис 2.11, Табл 2.1]
Определение действующих контактных напряжений.
![]()
Коэффициент, учитывающий геометрию передачи – ZH
=
Zм
=275 МПа – коэффициент, учитывающий свойства материала.
Коэффициент, учитывающий суммарную длину контактных линий, где: Кε =0,95

Вывод: σH =438,69 МПа ≤ [σH ]=448,6 МПа, работоспособность зубчатой передачи по контактной выносливости обеспечена.
Проверочный расчет зубьев при перегрузках
Расчет ведется по Tmax в момент пуска, Tmax /Tном =2,4 из характеристики двигателя.
Контактные напряжения в момент пуска:

Вывод: σHmax =694,99 МПа ≤ [σH ]max 3 =1624 МПа, контактная прочность рабочей поверхности зуба при перегрузках обеспечена.
Напряжения изгиба в период пуска:
![]()
Вывод: σFmax =176,88 МПа ≤ [σF ]max 3 =685 МПа, изгибная прочность зуба при перегрузках обеспечена.
2.2 Расчёт конической быстроходной передачи
Принимаем для конической передачи на быстроходной ступени передачу с круговым зубом при β=30⁰ и проводим проектировочный расчет, определяя делительный диаметр шестерни в среднем сечении при коэффициентах Кd =600; ZM =275 МПа; КbL =b/RL =0.285, θн =1.25 коэффициент нагрузки при круговом зубе.

![]()
=1.07 см. [Балдин, Галевко; стр. 66; рис 3,7]
![]()
Число зубьев шестерни Z1 =19 и Z2 =19*3,55=67
Приложение: см. [Балдин, Галевко; стр. 68; рис 3,8]
Определим модуль в среднем сечении
![]()
Принимаем стандартное значение mnm =2, тогда новые значения составляют
dm1 =mnm *Z1/cosβ1 =2*19/0.867=43,83 мм
dm2 =mnm *Z2/cosβ1 =2*67/0.867=154,56 мм
mte =mnm /(cos β1 *(1–0.5*KbL ))=2/(0.886*(1–0.5*0.285))=2.69 мм
диаметры делительных конусов на внешнем торце конической ступени
de1 =2.69*19=51.11 мм
de2 =2.69*67=180,23 мм
da1 =de1 +2mte =51.11+2*2.69=56.49 мм
da 2 =de 2 +2mte =180.23+2*2.69=185.61 мм
Проверим отсутствие пересечения вала III с колесом Z2 при межосевом расстоянии aw =160 мм. Минимальный диаметр вала III
d=(Тш 1000/(0,2 [τкр ])0.33 =(1000*544/(0.2*25))0.33 =47.7
da 2 /2+47.7/2=185.61/2+24=116.80<160 т.е. колесо Z2 не пересекает вал III
Конусное расстояниеRl =0.5mte *(Z1 2 +Z2 2 )0.5 =0.5*2*(192 +672 )0.5 =69.64 мм
Ширина колеса bw =Rl *Kbl =69.64*0.285=19.85 мм→20 мм
Угол делительного конуса шестерни δ1 =arctg (Z1/Z2)=arctg (19/67)=15⁰49`
δ2 =90 – δ1 =74⁰10`
2.3 Проверочный расчёт на изгибную выносливость быстроходной ступени
Определение слабого элемента контактирующих колёс
ИмеемZ1 =19, cosβ=0.867, Z2 =67
Эквивалентное число зубьев:
Zv 1 =Z1 /(cos3 β*cosδ1 )=19/(0.8673 *0.97)=30.06
Коэффициент формы зубаYf 4 =3.95 при X=0
Приложение см. [Балдин, Галево; стр. 43; рис 2,13]
ПриZ2 =67 эквивалентное число зубьев
Zv 2 =Z2 /(cos3 β*cosδ2 )=67/(0.8673 *0,243)=423,07
Коэффициент формы зуба Yf 4 =3.79 при Х=0
Сравним [σF ]1 /YF 1 и [σF ]2 /YF 2 ; 278/3,95=70,4>259/3.79=68.3
Вывод: слабым элементом является зуб колеса, поэтому расчёт изгибной выносливости ведём по зубу колеса [σF ]2 =259 МПа
Определение расчётной нагрузки при расчёте на изгибную выносливость
![]()
νF =0.94+0.08*Uб =0,94+0,08*3.55=1.224 коэффициент нагрузочной способности для конических передач с круговым зубом;
KFβ =1.103 приΨbl =0.590
KFV = 1,11 приHB<350, V=3.83 м/с, и 8 ой степени точности
KFα =1.22
![]()
Определение действующих напряжений изгиба для зуба колеса.
МПа
yβ =cosβ – коэффициент, учитывающий наклон зуба;
Коэффициент, учитывающий перекрытие зубьев:
![]()
Определение коэффициента торцевого перекрытия.
![]()
Вывод: σF 2 =81.39 МПа ≤ [σH ]=259 МПа, работоспособность зубчатой передачи по изгибной выносливости обеспечена.
Проверочный расчет зубьев при перегрузках.
Расчет ведется по Tmax в момент пуска, Tmax /Tном =2,4 из характеристики двигателя.
Контактные напряжения в момент пуска:

Вывод: σHmax =848 МПа ≤ [σH ]max 3 =1260 МПа, контактная прочность рабочей поверхности зуба при перегрузках обеспечена.
Напряжения изгиба в период пуска:
![]()
Вывод: σFmax =195.3 МПа ≤ [σF ]max 3 =685 МПа, изгибная прочность зуба при перегрузках обеспечена.
2.4 Расчёт конической передачи на контактную выносливость
Удельное окружное усилие
![]()
KHβ =1.07 см. [Балдин, Галевко; стр. 66; рис 3.7]
KHV = 1,04 приHB<350, V=3.83 м/с, и 8 ой степени точности
KHα =1.07

Коэффициент сопряжения формы поверхности зуба

Для αw =20⁰
ZH =1.76*cosβ=1,76*0,867=1,52
Zм =275 МПа, для стальных колёс
![]()
Вывод: σH =431,3 МПа ≤ [σH ]=448,6 МПа, работоспособность зубчатой передачи по контактной выносливости обеспечена.
3. Расчёт валов на кручение. Предварительный выбор подшипников
3.1 Условия прочности на кручение
τкр =Tкр /Wp <[τкр ]=0.25*360=90 МПа для стали 45 (IIIвал)
валы I и II сталь 40Х σт =640 МПа не учитывая действие изгибающих моментов, принимаем для валов [τкр ]=(20…25) МПа,
dв I ≥(Т1 *103 /(0,2*[τкр ]))0.33 =(24,99*103 /(0,2*20))0,33 =17,89 мм
принимаем с учётом диаметра вала двигателя d=28 мм, и с дообработкой МУВП-25
диаметр входного участка ведущего вала под полумуфту dв1 =25 мм, тогда участок вала под крышку подшипника для упора полумуфты 25+6=32 мм. Под подшипник I вала принимаем диаметр dв1п =35 мм.
dв II ≥(Т2 *103 /(0,2*[τкр ])0.33 =(85,61*103 /(0,2*20))0,33 =26,86 мм
Принимаем диаметр промежуточного вала под подшипником dв2 =35 мм
dв III ≥(Т3 *103 /(0,2*[τкр ])0.33 =(417,28*103 /(0,2*20))0,33 =45.3 мм
Принимаем диаметр тихоходного вала под подшипником dв3 =50 мм
Усилия в зацеплении на быстроходной ступени
Окружное усилие Pt12 =2*TII *103 /dm 2 =2*85.61*1000/154.56=1107 H
Радиальное усилие Pr1 =Pt12 /cosβ1 *(tgα*cosδ1 -sinβ1 *sinδ1 )=273 H
Осевое усилие Pa1 =Pt12 / cosβ1 *(tgα*cosδ1 +sinβ1 *sinδ1 )=622 H
Усилия в зацеплении на тихоходной ступени
Угол наклона линии зацепления α=20⁰
Угол наклона зуба β3,4 =10⁰8`30``, Z3-левый зуб
Окружное усилие Pt34 =2*TII *103 /d3 =2*85.61*1000/53.35=3209 H
Радиальное усилие Pr34 =Pt34 *tgα/cosβ3 =1186 H
Осевое усилие Pa34 =Pt34 *tgβ3 =573 H
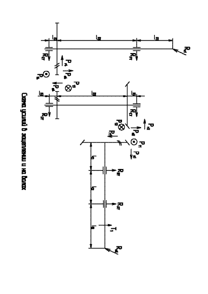
4. Схема сил и усилий в зацеплении
Rm 1 =2940*0.100=294.0 [H]
Rm 2 =2*31.25/0.210=297.6 [H]
l11 =91 [мм] l21 =50 [мм] l31 =51 [мм]
l12 =48 [мм] l22 =95 [мм] l32 =137 [мм]
l13 =19 [мм] l23 =30 [мм] l33 =80 [мм]
d1 =43.83 [мм]; d2 =154.86 [мм]; d3 =53,35 [мм]; d4 =277,67 [мм]

5. Расчёт быстроходного вала

Марка стали тихоходного вала – Сталь 40ХН.
Проверку статической прочности выполняют в целях предупреждения пластических деформаций в период действия кратковременных перегрузок.
В расчете используется коэффициент перегрузки
Кп = Тmax /Т,
где Тmax - максимальный кратковременно действующий вращающий момент (момент перегрузки),
Т – номинальный (расчетный) вращающий момент.
Для выбранного ранее двигателя Кп = 2,2.
По рассчитанным ранее реакциям в опорах и известных силах, действующих на валах строим эпюры изгибающих моментов в вертикальной и горизонтальной плоскостях, и эпюру крутящего момента. Данные эпюры были приведены ранее, при определении реакций в опорах подшипников.
В расчете определяют нормальные s и касательные t напряжения в рассматриваемом сечении вала при действии максимальных нагрузок:
При анализе эпюры изгибающих моментов, приходим к выводу, что нас интересуют 2 сечения, представляющих опасность, оценку их значимости будем производить по величинам нормальных и касательных напряжений, т. к. имеем разные моменты сопротивления.
В расчете определяют нормальные s и касательные t напряжения в рассматриваемом сечении вала при действии максимальных нагрузок:
s= 103 *Mmax / W + Fmax / A,
t = 103 *Mkmax /Wk ,
где Mmax = Кп *Мк = 30,08*2,2 = 66,19 Нм.
Fmax = Кп *Fa = 2,2*1179 = 2594 Н.
W = p*d3 /32 = 4209 мм3 ,
Wk = 2*W = 8418 мм3 .
А = p*d2 /4 = 962,1 мм2 .
s = 103 *66,19/4209 + 2594/962,1 = 8,42 МПа,
s = 8,42 МПа.
Мkmax = Кп *Т = 2,2*23 = 50,6 Нм.
t = 103 *50,6/8418 = 6 МПа.
t = 6 МПа.
Рассчитаем частные коэффициенты запаса прочности по нормальным и касательным напряжениям:
Sт s = sт /s, sт = 640 МПа.
Sт t = tт /t, tт = 380 МПа.
Sт s = 640/8,42 = 76
Sт t = 380/6 = 63,22
Общий коэффициент запаса прочности по пределу текучести при совместном действии нормальных и касательных напряжений:
Sт = Sт s *Sт t /(Sт s 2 + Sт t 2 )1/2 ³ [Sт ] = 1,3…2
Sт = Sт s *Sт t /(Sт s 2 + Sт t 2 )1/2 = 48,6
Получили, что
Sт = 48,6 ³ [Sт ] = 1,3…2
5.1 Расчёт тихоходного вала

s= 103 *Mmax / W + Fmax / A,
t = 103 *Mkmax /Wk ,
где M1max = Кп *М = 108,5*2,2 = 238,7 Нм.
F1max = Кп *Fa = 2,2*484,5 = 1066 Н.
W = p*D3 /32, – сечение круглое для контактной поверхности колеса и вала.
где D1 = 40 мм,
W1 = 6283,2 мм3
W1k = 2*W = 12566,4 мм3 .
А = p*d2 /4,
A1 = 1256,6 мм2
s1 = 38,8 МПа.
Мkmax = Кп *Т = 2,2*184,9 = 407 Нм.
t 1= 32,4 МПа.
Переходим к рассмотрению следующего сечения:
где M2max = Кп *М2 = 229 Нм.
F2max = Кп *F2a = 1066 Н.
W = p*D3 /32, – сечение круглое для контактной поверхности колеса и вала.
где D2 = 35 мм,
W2 = 4209,25 мм3
W2k = 2*W = 8418,5 мм3 .
А = p*d2 /4,
A2 = 962,1 мм2
s1 = 55,5 МПа.
Мkmax = Кп *Т = 2,2*184,9 = 407 Нм.
t 2= 48,3 МПа.
Оценивая нагруженность участков, приходим к выводу, что наиболее нагружен участок вала под первой опорой подшипника.
Рассчитаем частные коэффициенты запаса прочности по нормальным и касательным напряжениям:
Sт s = sт /s, sт = 540 МПа.
Sт t = tт /t, tт = 290 МПа.
Sт s = 540/55,5 = 9,7
Sт t = 290/48,3 = 6
Общий коэффициент запаса прочности по пределу текучести при совместном действии нормальных и касательных напряжений:
Sт = Sт s *Sт t /(Sт s 2 + Sт t 2 )1/2 ³ [Sт ] = 1,3…2
Sт = Sт s *Sт t /(Sт s 2 + Sт t 2 )1/2 = 9,7*6/(9,72 + 36)1/2 = 5,11
Получили, что
Sт = 5,11 ³ [Sт ] = 1,3…2
6. Предварительный расчёт подшипников тихоходного вала
Наиболее нагруженная опора тихоходного вала имеет Re =2257.8 [Н], Ра =573 [Н], n=80.56 об/мин
Проверим шарикоподшипник №207
Динамическая грузоподъёмность Cr =34000 [H]
Статическая грузоподъёмность C0 =25600 [H]
![]()
V=1 т. к. вращается внутреннее кольцо
![]()
Х=0,56, Y=2.53
Вычислим эквивалентную динамическую радиальную нагрузку
Pe=(V*X*Fr +Y*Pa) Kб *Kт =(1*0.56*2257.88+2.53*573)*1.25*1=4634.5 [H]
Кт=1, Коэффициент учитывающий рабочую температуру редуктора, у нас она <100 C0
Kб =1.25 Коэффициент безопасности
Требуемая динамическая грузоподъёмность
L10 h =2844.6 [Н] долговечность подшипника
n – частота вращения тихоходного вала
Cтр=<Cr, следовательно подшипник пригоден.
7. Расчёт упругой муфты с торообразной оболочкой
При передаче момента в оболочке возникают касательные напряжения крутильного сдвига, которые достигают большего значения в сечении диаметра D1=204 мм
![]()
![]()
Тк – момент передаваемый муфтой
![]()
![]()
![]()
![]()